9.3. Редукторы
Передний распределительный редуктор. Передний " распределительный редуктор (рис. 99) предназначен для привода вентилятора охлаждения тяговых электродвигателей передней тележки, двухма-іинно о агре а та, вентилятора охлаждения тягового генератора и подвозбудителя. Он представляет собой цилиндрический редуктор с косозубыми зубчатыми колесами, расположенными в один ряд. В литом чугунном корпусе редуктора на шарикоподшипниках установлены пять валов. Направление вращения ведущего вала (если смотреть со стороны дизеля) по часовой стрелке. Корпус-редуктора состоит из верхнего / и нижнего 2 картеров, соединенных между собой шпильками, которые ввернуты в приливы на внутренней стороне стенок нижнего картера. Аналогичные приливы с отверстиями имеются и на верхнем картере. Гайки на шпильках затягивают через два люка, расположенных сверху верхнего картера. Люки закрывают крышками с прокладками и крепят шпильками. Для фиксации взаимного расположения картеров служат четыре иризонных болта по краям редуктора. В плоскости разъема картеры уплотнены шелковой нитью толщиной 0,1 мм. В картерах имеется пять расточек под валы, в которые установлены гнезда подшипников. Гнезда подшипников ведущего вала 26 и вала 23


привода двухмашинного агрегата устанавливают с зазором О— 0,067 мм, остальных валов — с зазором 0—0,058 мм.
Редуктор имеет картерную систему смазки. Масло разбрызгивается двумя наибольшими по диаметру зубчатыми колесами 4 и 9. Для уменьшения вспенивания масла зубчатые колеса отделены от всего обьема, занимаемого маслом, поддоном 3, который прикреплен болтами к приливам нижнего картера. Масло из картера поступает в поддон через два отверстия диаме ром 5 мм. Над каждой расточкой иод валы выполнены корытообразные выступы, об-1 разующие ванночки для сбора масла, разбрызгиваемого зубчатыми колесами. Через отверстие в нижней части ванночки масло поступает к подшипнику. В нижнем картере имеется прилив для установки масломерного щупа.
Редуктор опирается на флндамент четырьмя лапами, расположенными на нижнем картере, и крепится четырьмя болтами. В расточки картеров устанавливают валы в сборе с напрессованными на них зубчатыми колесами, втулками, лабиринтными кольцами, шарикоподшипниками и фланцами. Детали, насаживаемые с натягом при сборке, нагревают до температуры 200 °С, а подшипники — до 90 -100 °С.
Зубчатое колесо 4 ведущего вала имеет 59 зубьев; зубчатые колеса 15 и 9 валов приводов вентилятора охлаждения тягового генератора и двухмашинного агрегата соответственно 34 и 49 зубьев; зубчатые колеса 10 и 32 промежуточного вала и вала привода вентилятора охлаждения тяговых электродвигателей передней тележки — но 40 зубьев. Все зубчатые колеса напрессованы на валы с натягом 0,045 0,105 мм.
Ведущий вал опирается со стороны фланца на шарикоподшипник № 312, а с противоположной стороны на шарикоподшипник № 512; вал привода двухмашинного агрегата — на шарикоподшипники № 312; остальные валы — на шарикоподшипники № 36210. Внутренние кольца шарикоподшипников насаживают на валы с натягом 0,003—0,038 мм, наружные устанавливают в гнезда с зазором до 0.058 мм.
Все насаживаемые на валы детали напрессовывают до упора в бурты валов или в торцы сопрягаемых деталей. Гнезда 7 и 25 имеют бурты, в которые упираются наружные кольца подшипников; с другой стороны эти кольца зажаты торцами крышек. Все остальные гнезда подшипников буртов не имеют, а крышки закреплены так, что между их торцами и наружными кольцами подшипников имеется зазор 0,5—1.5 мм, обеспечивающий необходимый осевой разбег зубчатых колес. Зазор регулируют паронитовыми прокладками, устанавливаемыми между фланцами гнезд подшипников и крышек. При установке крышек со стороны приводов кольцевые канавки в них заполняют консистентной смазкой. Хвостовики валов имеют конусность 1:50. Перед напрессовкой на них фланцев и шкива проверяют осевой натяг (в холодном состоянии), который должен составлять для фланцев ведущего вала и вала привода двухмашинного агрегата 3—7 мм, для остальных фланцев и шкива -2,5—6,5 мм. Для обеспечения указанных натягов допускается под-шлифовка торцов фланцев и шкива Кроме того, эти детали про веряют на прилегание сопрягаемых поверхностей по краске. Пятно контакта должно располагаться равномерно по поверхности и занимать не менее 85% поверхности сопряжения. На каждом валу со стороны привода установлено лабиринтное уплотнение, состоя
щее из кольца лабиринта и насаженной на вал втулки. Лабиринтное кольцо и втулка на наружной поверхности имеют винтовую маслосгонную канавку. Для демонтажа зубчатых колес, шкива и фланцев при помощи гидравлического съемника в торцах валов выполнены канаты, соединенные с цилиндрическими канавками на посадочных поверхностях. Необходимое для распрессовки давление масла должно быть 100—200 МПа (1000—2000 кгс/см2).
Валы устанавливают в корпус редуктора так, чтобы пазы для слива масла в гнездах подшипников и крышках совпадали между собой и были направлены вниз, а пазы для смазки подшипников — вверх и совпадали со смазочными отверстиями в корпусе. После сборки редуктора проверяют вращение валов, которое должно быть свободным, без рывков и заклиниваний в зубьях и подшипниках. Боковой зазор между зубьями новых зубчатых колес должен находиться в претелах 0,105 0,30 мм при разности зазоров в паре сопряженных колес не более 0,08 мм. Для обеспечения этого зазора допускается подбор зубчатых колес. Прилегание зубьев кол~" контролируют по краске. Отпечаток по краске должен занима участок не менее 60% высоты зуба и не менее 70% его длины. На 10% зубьев допускается отпечаток не менее 50% длины.
Окончательно собранный редуктор обкатывают на стенде при частоте вращения ведущего вала (1500±50) об/мин на холостом ходу в течение 0,5 ч и под нагрузкой 51,5 кВт (69 л. с.) в течение 2 ч. При этом не должно быть ненормальных стуков, прерывистого шума, ударов, течей смазки. Перед обкаткой редуктор заправляют маслом, применяемым для смазки дизеля. Температура масла в редукторе при обкатке не должна превышать 90 °С
Техническая характеристика переднего распределительного редуктора
Частота вращения валов (при 750 об мин ко енча ого вала дизеля), об/мин:
ведущего ......... .1500
привода двухмашинного агрегата . . . 1800
» вентилятора охлаждения тягового генератора . 2200
» вентилятора охлаждения тяговых двигателей . 2600 Мощность, передаваемая валами. кВт (л. с):
вед> ним .............. 51 5(69)
привода двухмашинного агрегата...... 27(37)
» вентилятора охлаждения тягового генератора 9(12)
вентилятора охлаждения тяговых двигателей 12.5(17)
Масса редуктора, кг . ...... 292,5
Задний распределительный редуктор. Задний распределительный редуктор (рис. 100) предназначен для привода вентилятора охлаждения тяговых электродвигателей задней тележки и гидропривода вентилятора холодильной камеры. В литом чугунном корпусе редуктора установлены три вала: ведущий 8 и два ведомых //, 17 соответственно привода гидромуфты и привода вентилятора. Валы 8 и 11 опираются на шарикоподшипники № 312, вал 17— на шарикоподшипники № 36210. Направление вращения ведущего вала (если смотреть со стороны привода) по часовой стрелке. Корпус редуктора, состоящий из верхнего 2 и нижнего / картеров, имеет три расточки, оси которых параллельны между собой, ось верхней расточки лежит в плоскости разъема картеров. Каждая из двух нижних расточек имеет диаметр больший, чем наружный диаметр соответствующего зубчатого колеса, что позволяет извле кать из нижнего картера валы в сборе с зубчатыми колесами.
Колеса цилиндрические, косозубые расположены вертикально. Зубчатое колесо 7, напрессованное на ведущий вал, имеет 99 зубьев,

коїесо 10 на налу привода гидромуфты 37 зубьев, колесо 15 на валу привода вентилятора охлаждения тяговых двигателей, входящее в зацепление с колесом 10,—28 зубьев. Зубчатые колеса осматривают через закрываемый крышкой люк в верхнем картере. В крышке люка имеется клапан-сапун. После установки валов
проверяют боковой зазор между зубьями, который для новых зубчатых колес должен быть в пределах 0,1—0,4 мм при разности зазоров в паре сопрягаемых колес не более 0,05 мм. Для обеспечения этих зазоров допускается подбор зубчатых колес. Вращение валов редуктора должно быть свободным, без рывков и заклиниваний в зубьях и подшипниковых узлах.
Смазка редуктора принудительная. Масло подается из масляной системы тепловоза под давлением 0,04 0,07 МПа (0,4— 0,7 кгс/см2) в ороситель, который представляет собой штуиер с трубкой, имеющей отверстия. Оро-Рис. 101. Лопастный насос: ситель установлен на нижнем кар-
' фллнец. 2. 11 лоичети. ■? штифт 4 — *г
корпус: 5 крышка. 6 пробка; 7 прокладка: ТЄре ТЭК, ЧТО СТО Трубка ПрОХОДИТ
«- валик: 9. 12- втулки: 10-пружина: А вблИЗИ КОЛЄС 10 И 7. МаСЛО ИЗ
агнетателыыл полость

отверстий попадает на зубья колес и разбрызгивается ими внутри корпуса редуктора. При этом часть масла попадает в корытообразные выступы над подшипниками и из них по отверстиям поступает иа смазку подшипников. Масло, собирающееся на дне картера, отсасывается лопастным насосом 3 через сетчатый фильтр и по трубке направляется в общую сливную трубу масляной системы тепловоза. Масляный лопастный насос закреплен шпильками на нижнем картере; его фланец служит крышкой подшипника вала привода гидромуфты. Насос приводится от вала привода гидромуфты, в отверстие торца которого впрессована втулка, застопоренная штифтами. В эту втулку входит с зазором четырехгранный хвостовик вала насоса.
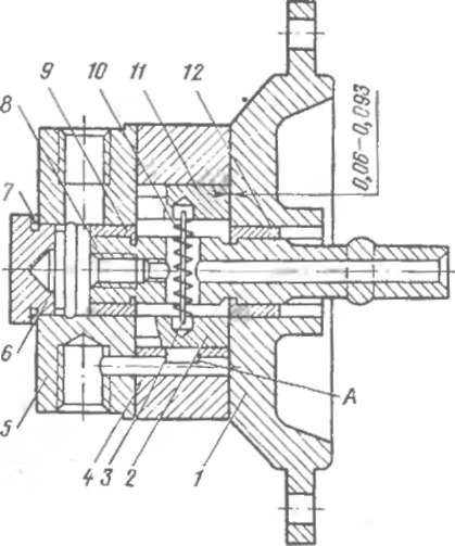
Насос (рис. 101) состоит из трех основных частей: корпуса 4 и пришабренных и притертых к нему фланца / и крышки 5. Взаимное положение корпуса, крышки и фланца, скрепленных между собой четырьмя шпильками, фиксируется штифтами. Валик <9 насоса вращается в двух бронзовых втулках 9, 12 (зазор 0,025 0,130 мм), запрессованных в крышку и фланец (натяг 0,012 0,05 мм). Па утолщенной части вачика имеются два паза, в которые входят лопасти 2, 11 (зазор 0,016—0,069 мм). Для направления лопастей служит проходящий через канал в валике штифт 3 с надетой на него пружиной 10, которая прижимает лопасти к корпусу насоса. Лопасти вращаются в цилиндрической расточке корпуса (осевой зазор 0.06 0,093 мм), имеющей две серповидные полости (всасывающую и нагнетательную), расположенные под утлом 90е друг к другу. Для обеспечения большей плотности прилегания лопастей к корпусу в рабочей зоне ось вращения валика 3 смещена относительно оси цилиндрической расточки корпуса в сторону серповидных полостей.
При вращении валика 8 против часовой стрелки (сети смотреть со стороны привода редуктора) полость А будет наїнегатель-ной. Обе полости через каналы и штуцера соединены с соответствующими трубками. Когда одна из лопастей пересекает срезы всасывающей полости, за сбегающей кромкой лопасти образуется разрежение, вызывающее засасывание масла: набегающей кромкой другой лопасти это масло выдавливается в нагнетательную полость А. После сборки насоса валик 8 должен легко проворачиваться от руки без заклиниваний и заеданий. Насос испытывают а тсн е при частоте вращения валика 2000 об/мин. при этом подача насоса должна быть не менее 14 л/мин (при температуре масла 50 60 "С), а высота всасывания — не менее 300 мм.
После установки насоса на редуктор замеряют люфт между квадратным хвостовиком ваіика насоса и гранями втулки, запрес совапной в вал редуктора Замеры делают при четырех диаметрально противоположных положениях вала редуктора. Для проверки люфта вывертывают пробку 6 из крышки насоса и в отверстие валика ввертывают болт, к которому крепят рычаг длиной 180 мм. Люфт должен быть не менее 10 мм на плече 180 мм. Для обеспечения этого люфта допускается подбор насоса.
Окончательно собранный редуктор обкатывают на стенде при частоте вращения ведущего вала 750 об/мин на холостом ходу в течение 0,5 ч и под нагрузкой 71,7 кВт (97,5 л. с.) в течение 1 ч. При обкатке для смазки редуктора используют масло, применяемое для смазки дизеля. Масло, подаваемое в редуктор, должно
иметь давление 0,04—0,07 МП а (0,4—0,7 кгс/см2) и температуру не выше 90 ' С.
Техническая характеристика заднего распределительного редуктора
Частота вращения валов (при 750 об/мин коленчатого
вала дизеля), об/мин:
ведущего ....... ..... 750
привода гидромуфты...... ... 2010
» вентилятора охлаждения тяговых двигателей . 2650
Мощность, передаваемая валами. кВт (л. е.):
ведущим . . ........... . 71,7(97,5)
привода гидромуфты............ 60.0(81,5)
» вентилятора охлаждения тяговых двигателей . 11,8(16)
Масса редуктора, кг ........ 227,3
⇐Приводы вспомогательных механизмов, требования к установке вспомогательного оборудования тепловоза 2м62 Оглавление Вентиляторы охлаждения тягового генератора и тяговых электродвигателей тепловоза 2м62⇒










