9.2. Приводы вспомогательных механизмов, требования к установке вспомогательного оборудования
На тепловозе применены три разновидности приводов вспомогательных механизмов: полужесткие пластинчатые муфты, кардан-'' ные валы, клиноременная передача. Исходя из этого соответствующие требования предъявляются к установке механизмов.
Полужесткие пластинчатые муфты. Соединение валов при помощи полужестких пластинчатых муфт использовано в приводах переднего распределительного редуктора, двухмашинного агрегата, компрессора, вентилятора охлаждения тяговых электродвигателей задней тележки, гидромуфты переменного наполнения. Все пластинчатые муфты, применяемые на тепловозе, аналогичны но конструкции (рис. 93 и 94). Для пакета дисков 2 из стали ЗОХГСА толщиной 0,5 мм соединены при помощи трех болтов с одной стороны с фланцами / и 8, напрессованными на валы механизмов, с другой — с фланцами промежуточного звена (траверсы) 3. Для повышения компенсирующих свойств муфты в болтовых соединениях используются специальные шайбы 5 и 6, установленные своими сферическими поверхностями в сторону пакетов дисков. Диски выполняются трех диаметров: 285 мм — для муфт компрессора и переднего редуктора; 220 мм — для муфты гидропривода вентилятора; 167 мм — для муфт привода двухмашинного агрегата и
вентилятора охлаждения тяговых электродвигателей. В комплекты муфт с дисками диаметрами 285 и 220 мм входит до 44 диска (22 в каждом пакете), с диаметром 167 мм — по 36 дисков (18 в каждом пакете).
Рис. ')3. Плмсгин'шган муфта прниоца нереинего распределительного редуктора:
Рис. 94. Пластинчатая муфта гидропривода вентилятора холодильной камеры:
/ - фланец редуктора. 2 — диски 3 траверс*- 4 лйма. Л. Ь - цщнбы, 7 бо. т: Д — ф.*ніи гидропривода
Фланцы /, в посажены на валы с натягом. Посадочные поверхности проверяют на прилегание друг к другу по окраске. Пятна прилегания должны равномерно располагаться по площади и занимать суммарно не менее 75% сопрягаемых поверхностей.
При установке и центровке механизмов, соединяемых полужесткими пластинчатыми чуфтаг* и, должны обеспечиваться соосность валов соединяемых механизмов, постоянство расстояния между наружными Дисками противоположных пакетов, надежность затяжки резьбовых соединений.
Существует три вида песоосности: смешение геометрических осей соединяемых механизмов, излом осей (геометрические оси расположены под углом друг к другу), смешение и налом однов с-менно. Проверку соосности валов производя! с помощью специальных приспособлений (стрелок), устанавливаемых на проверяемых валах. Замеры делают в четырех диаметрально противоположных точках за полный оборот соединяемых валов. Разность замеров Б определяет смещение осей соединяемых валов, разность замеров В излом осей. Для переднего распределительного редуктора, двухмашинного агрегата, заднего распределительного редуктора допускается разность замеров Б и Б не более 0.2 мм на радиус 180 190 мм; для компрессора н гидропривода — не более 0,3 мм на радиус 150 160 мм.
Требуемая точность центровки обеспечивается постановкой под лапы механизмов регулировочных прокладок, количество кото рых не должно превышать б шт., а толщина пакета для всех механизмов, кроме компрессора и двухмашинного агрегата, должна быть не ботее 10 мм (дли компрессора — 5 мм, для двухмашин мого агрегата— 15 мм). Если толщина пакета регулировочных прокладок не обеспечивает заданную точность центровки, допускается приварка платиков толщиной 5—12 мм на фундамент ком ирессора и до 10 мм — иод фундаменты вспомогательных механизмов, расположенных со стороны холодильной камеры. Центровку механизмов, размешенных на тяговом генераторе, начинают с переднего распределительного редуктора; со стороны холодильном
камеры — с заднего распределительного редуктора, центруемого относительно вентилятора охлаждения тяговых электродвигателей задней тележки.
Постоянство расстояния между наружными дисками противоположных пакетов (размер /1) обеспечивается соответствующей толщиной шайб, устанавливаемых между пакетами дисков и фланцами. Допускается разность замеров /1 не более 1 мм.
Затяжку резьбовых соединений пластинчатых муфт необходимо периодически контролировать в процессе эксплуатации. Ослабление затяжки является причиной выработки отверстий во фланцах, поломки дисков.
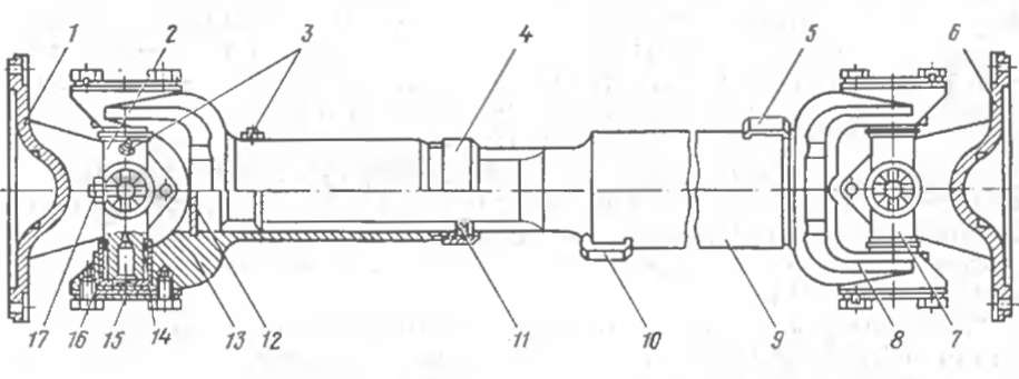
Карданные валы. Карданные валы, применяемые на тепловозе, имеют одинаковую конструкцию, но отличаются размерами. Два малых карданных вала используются для привода вентиляторов охлаждения тягового генератора и электродвигателей передней тележки, два больших—для привода заднего распределительного редуктора и вентилятора холодильной камеры.
Карданный вал (рис. 95) представляет собой две шарнирные муфты, соединенные между собой трубой. Для компенсации осевых перемещений соединение трубы с вилкой муфты выполнено скользящим шлицевым. Основными частями карданного вала являются: скользящая вилка 13, приварная вилка 8, крестовины 2. 7, труба карданного вала 9 с приварным шлицевым хвостовиком, фланцы /. 6, игольчатые подшипники 16, удерживаемые крышками 15 Для предохранения подшипников от грязи служат уплотнения 14. У малых карданных валов игольчатые подшипники стопорятся кольцами. Подшипники, а также шлицевое соединение смазываются консистентной смазкой через пресс-масленки 3. Смазку в полости подшипников запрессовывают до начала ее выдавливания через предохранительный клапан 17 в больших валах или через уплотнения 14 в малых. Для удобства обслуживания масленки крестовин и шлицевого соединения должны располагаться в одной плоскости и по одну сторону от оси вала. Ушки скользящей и приварной вилок также должны располагаться в одной плоскости. Для защиты шлицевого соединения от загрязнения на вилку 13 навернута обойма 4 с уплотнением //.
Полностью собранные карданные валы подвергают динамической балансировке с целью уменьшения воздействия неуравновешенных масс на подшипники, валы, крестовины и шлицевые соединения. Для больших карданных валов допускаемся дисбаланс
Рис. 95. Карданный нал:
/. 6 — флэниы; 2. 7 крестовины; 3 - iiprre-часленка: 4 — обойма: 5. Ю балансировочные грч'зм: * рн m іі.ія и ка -V— тр\6.і карданного вяла; //. N уплотнения: /2 заглушка; Ні - скользящая вилкт; 15 к; ь ні .і и п ш ш ка; /6" — игольчатый подшипник: /7 — мрі-,іох|шннтсльні їй клліган
126

не более 1.2-10 2 Н-\і (120 гс-ем), для малых до 0.45-10 'Н-м (45 гс-см). Балансировку осуществляют приваркой балансировоч пых грузов -.5 и 10, а также поворотом скотьзящсй вилки па 180°. Биение трубы карданного вала при э or, не должно превышать 1 мм для больших и 0,6 мм для малых палов. Взаимное положение вилок сбалансированного карданного вала определяется стрелками, выбиваемыми на скользящей вилке и шлицевом хвостовике в одной плоскости, проходящей через ось карданного вала. Помимо выбитых стрелок, на вал после его окраски наносят белые эмалевые стрелки.
Установка карданных валов па тепловозе (рис. 96 и 97) должна обеспечивать: параллельность фтанцев соединяемых механизмов (допускаемая непараллельность не более 1,5 мм на диаметре 205 им); смещение осей соединяемых механизмов друг относительно друга на 3—7° с целью повышения срока службы карданных валов.
Оси фланцев ведущего вала заднего распределительного редуктора и приводного вала дизеля смещены на 55.5Ім мм; оси вертикального вала гидропривода и вала подпятника вентилятора -на 60Іfо (см. рис. 97); оси вала переднего распределительного редуктора и вала вентилятора охлаждения тяговых электродвигателей передней тележки — на 61 мм (в іоризон а.тьной плоскости); оси вала переднего распределительного редуктора и вала вентилятора охлаждения тягового генератора — па 57 мм в вертикальной плоскости (см рис. 96).
При длительной эксплуатации карданных валов па передающих усилия контактных поверхностях (шипах крестовин и стаканах подшипников) могут образовываться вмятины с шагом, соответствующим расстоянию между иглами подшипников (бринеллиро-ваиис).
Рис. 98. Схема проверки натяжени: клинового ремня
Для увеличения срока служ-1 бы карданов в этих оучаях можно развернуть крестовину на 90° относительно оси вращения вала, а стаканы подшипников — на 180° вокруг своей оси и в та-1 ком положении осуществить сборку вала.
Клиноременная передача. Кли-норемснная передача используется на тепловозе для привода синхронного подвозбудителя. Шкивы, укрепленные на валах переднего распределительного редуктора и подвозбудителя, имеют ручьи для установки двух ремней А-1320Ш. Торцы шкивов редуктора и подвозбудителя должны находиться в одной плоскости; допускается отклонение не более I мм. Ремни подбирают одинаковыми по длине. Разность длин ремней в комплекте допускается не более 3 мм, поэтому их замена должна производиться комплектно. Невыполнение этого условия приводит к неравномерному распределению нагрузки на ремни и преждевременному выходу их из строя. Для нормальной работы клинорсменной передачи ремни должны иметь определенное натяжение, которое регулируют смещением подвозбудителя. Натяжение ремней проверяют динамометром. При усилии, равном 9.8 Н (I кгс). приложенном к середине одного ремня, прогиб а (рис. 98) должен составлять 5 6 мм ового ремня (первые 48 ч работы) и 4—9 мм — для ремня, бывшего в работе.
⇐Общая компоновка вспомогательных механизмов и их кинематическая схема тепловоза 2м62 Оглавление Редукторы тепловоза 2м62⇒










