4. Конструкция основных сборочных единиц
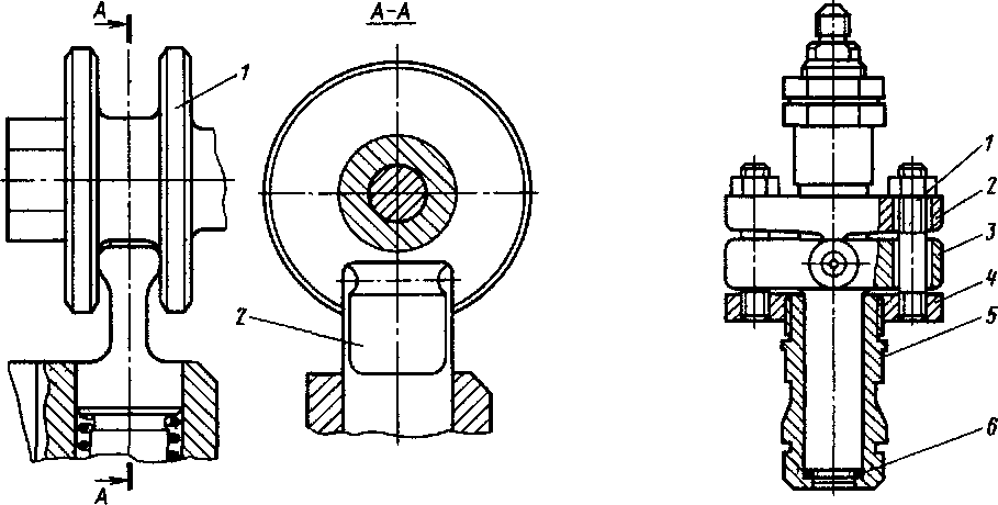
Коленчатые валы. На дизеле 10Д100 установлены два коленчатых вала — верхний и нижний, которые служат для преобразования возвратнр-поступа-тельного движения поршней во вращательное Кривошипы валов расположены через 36 ° в соответствии с порядком чередования вспышек в цилиндрах. От коленчатого вала через шестерни и торсионный вал получают вращение механизмы и узлы, обеспечивающие работу дизеля Как нижний, так и верхний валы (рис 9) одинаковы по своим размерам, а также конструкции шатунных и коренных шеек Верхний коленчатый вал в своей передней части имеет посадочное место для креплений шестерни 3 привода распределительных валов, а в противоположной — фланец 4 для крепления шли цевой втулки, передающей вращение нагнетателю воздуха второй ступени
Передний конец нижнего коленчатого вала имеет посадочное место под антивибратор, предназначенный для гашения крутильных колебаний, а противоположный фланец для крепления пластинчатой муфты, соединяющей вал дизеля с валом генератора К фланцам нижнего и верхнего валов болтами прикреплены конические шестерни, входящие в зацепление с шестернями вертикальной передачи и воспринимающие вращающий момент, передаваемый через вертикальную передачу от верхнего коленчатого вала Как на верхнем, так и на нижнем коленчатых валах находится одиннадцать опорных, одна опорно-упорная и десять шатунных шеек Все шейки коленчатых валов обработаны с большой точностью. Овальность и конусность шеек вала не должны превышать 0,02 мм у новых валов, а в эксплуатации — не более 0,09 мм. Биение коренных шеек в новых валах допускается не более 0,05 мм. Галтели шеек всех коленчатых валов накатывают роликом усилием до 29 кН, что повышает усталостную прочность металла в 1,6— 1,8 раза. Валы проходят динамическую балансировку. Дисбаланс не должен превышать 0,6 Н • м.
Рис 9 Коленчатые валы о—верхний, б—нижний, 1—шпилька, 2—гайка 3—шестерня, 4 5 6—фланцы, 7—направляющее кольцо, С—каналы
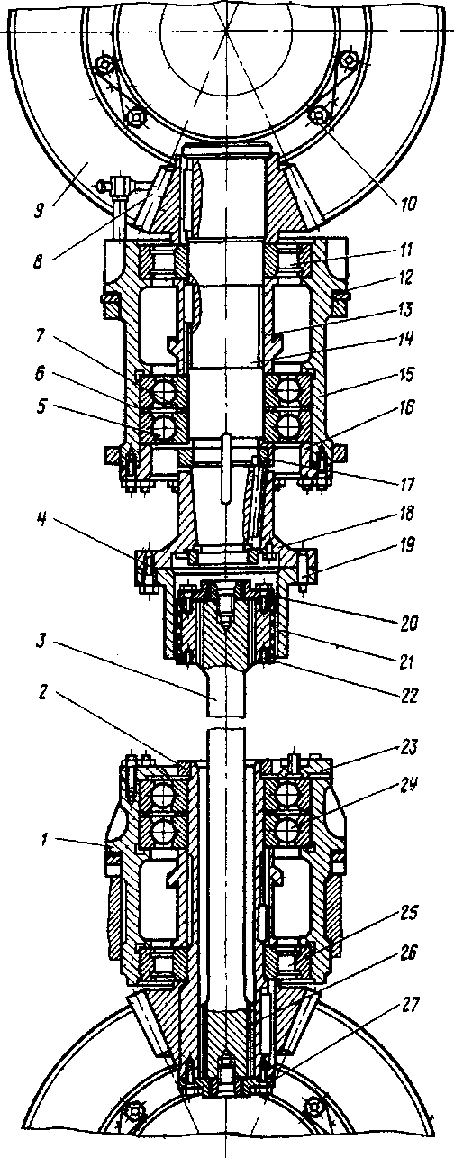
Рис 10 Вертикальная передача 1—нижний корпус, 2, 17, 20 и 27—гайки, 3— торсионный вал, 4, 10—болты, 5 и 24—радиаль-но-упорные шариковые подшипники, 6—проста-вочное кольцо, 7—регулировочное кольцо, 8— малая коническая шестерня, 9—большая коническая шестерня, 12—регулировочная прокладка, //, 25—роликовые подшипники, 13—распорная втулка, 14—верхний вал, 15—верхний корпус, 16, 23—нажимные фланцы, 18—ступица, 19— конический штифт, 21—шлнцевая муфта, 22— шлнцевая втулка, 26—нижний вал
К коренным шейкам валов масло поступает через коренные подшипники, к которым оно подводится по трубкам от основной масляной магистрали дизеля. На шатунные шейки масло подается от коренных подшипников по двум косым каналам, чтобы обеспечить непрерывную подачу масла через шатун для охлаждения поршня.
В передней части нижнего коленчатого вала на специальном хвостовике смонтирован антивибратор и закреплен на валу при помощи шпильки / и гайки 2, а на фланце противоположного конца вала — муфта привода генератора. От двух косых маслоподводящих каналов в 1-й коренной шейке нижнего коленчатого вала через каналы С масло подводится для смазывания антивибратора. На хвостовик заднего конца нижнего вала напрессовано стальное цементированное направляющее кольцо 7, по которому центрируется вал генератора.
Вертикальная передача. Вертикальная передача (рис. 10) состоит из двух малых конических шестерен 8 и двух больших конических шестерен 9 со спиральными зубьями, двух вертикальных валов 14 и 26, вращающихся в подшипниках нижнего / и верхнего 15 корпусов, и торсионного вала 3, связывающего вертикальные валы. Большие шестерни прикреплены призонными болтами к фланцам коленчатых валов. Каждая большая шестерня со своей парной малой составляет комплект, имеющий один номер; замена одной шестерни из пары не допускается.
Малые конические шестерни посажены на шпонках на нижний и верхний вертикальные валы. Нижний вертикальный вал выполнен пустотелым и вращается в роликовом 25 и двух радиально-упорных шариковых подшипниках 24. Верхний вертикальный вал 14 вращается в таких же подшипниках 5 и //, Наружные кольца шариковых подшипников зажимаются фланцами 16 и 23. До установки в корпус проверяют зазор между наружными кольцами шариковых подшипников, необходимый для создания натяга. Зазор регулируют шлифованием колец 7. Между наружными кольцами шариковых подшипников устанавливают проставочные кольца 6. Внутренние кольца роликовых и шариковых подшипников через распорные втулки 13 зажаты гайками 2 и 17.
Под фланцы крепления корпусов 1 и 15 к блоку двигателя ставят стальные прокладки 12 для регулировки бокового зазора между зубьями шестерен. Торсионный вал 3 своими нижним и верхним концами соединен со шлицевыми частями нижнего вала и верхней шлицевой втулкой 22 вертикального вала. В свою очередь шлицевая муфта 21 болтами присоединена к ступице 18, посаженной на шпонке на конусную часть верхнего вертикального вала и закрепленной на нем гайкой со стопорной планкой. Осевое перемещение торсионного вала ограничено гайками 20 и 27. Для предотвращения ослабления гайки 20 она контрится четырьмя болтами, проходящими через канал в шлицевой втулке 22. К шариковым подшипникам нижнего вертикального вала масло из масляной магистрали дизеля подводится через угольник, ввернутый во фланец 23. К роликовым подшипникам 25 поступает масло, стекающее из шариковых подшипников. Нижняя пара шестерен смазывается струями масла, выходящего из сопел с калиброванными отверстиями. Сопла трубки соединены с нижним масляным коллектором двигателя. Верхняя пара шестерен смазывается струями масла из сопел, которые маслопроводом соединены с верхним масляным коллектором двигателя. Для осмотра вертикальной передачи предусмотрены крышки боковых люков с обеих сторон отсека вертикальной передачи блока.
Техническое состояние вертикальной передачи в значительной степени определяет работу дизеля. Опыт эксплуатации показал, что в период гарантийной работы дизеля вертикальная передача, как правило, работает надежно. Чтобы предупредить выход из строя деталей вертикальной передачи, необходимо соблюдать условия ее эксплуатации
Предупредить появление высоких динамических нагрузок на детали можно, если не допускать длительной работы дизеля с отключенными топливными насосами, особенно двух в одном цилиндре либо по одному в двух цилиндрах, обеспечивать равномерную подачу- топлива в цнлнндры всеми топливными насосами, следить за системой фильтрации топлива, исключая случаи заклинивания плунжерных пар Для предупреждения гидравлических ударов нли резких хлопков прн пуске дизеля необходимо обеспечить строгое выполнение требований правил эксплуатации по обяза тельному провороту коленчатого вала дизеля на несколько оборотов после каждой его остановки На каждом техническом обслуживании проверять крепление корпусов вертикальной передачи к платнкам блока При текущих ремонтах следить, чтобы разность максимального давления газов в цилиндрах не была сверх заданных пределов и обеспечивать требуемую равномерность подачи топлива топливными насосами, обеспечивать установку размера «1, 4» (от осн форсуночных отверстий до головки нижнего поршня в положении в м т) с разбросом не более 0,2—0,3 мм (на тепловозах последних выпусков «3, 4»), осматривать состояние деталей вертикальной передачи и прн необходимости ремонтировать их, особое вннмайие обращать на выполнение требований по состоянию распорной втулки, качества ее стопорення, правильности регулировки комплекта радиально-опорных подшипников и качества центровки шлнцевой втулки относительно осн вращения верхнего вала Прн обнаружении ослабления затяжки гайки крепления внутренних колец подшипников илн осевом разбеге валов необходимо передачу разобрать н отремонтировать ее Нельзя допускать устранения этого дефекта дополнительной затяжкой гайкн Ослабленная гайка — признак проворота распорной втулки, износа ее опорных торцов н разрегулировки опорно-упорного узла Прн ремонте следует обратить особое внимание на параллельность опорных торцовых поверхностей распорной втулки При ее восстановлении необходимо обеспечить непараллельность ие более 0,03 мм При проверке центровки шлнцевой втулки биеине зубьев по делительной окружности не должно превышать 0,08 мм
Шатуны. Нижний и верхний шатуны дизеля одинаковы по конструкции и отличаются только длиной стержня: нижний шатун длиннее верхнего. Шатуны изготовлены из стали 40ХФА Стержень 1 шатуна (рис 11) двутаврового сечения. В средней его части для прохода масла от нижней головки к верхней просверлены продольный и два косых канала. В верхнюю головку шатуна запрессована втулка 8, состоящая из двух неразъемных частей — наружной стальной и внутренней бронзовой. На наружной поверхности бронзовой втулки для подвода масла к поршневому пальцу имеется кольцевая канавка и восемь радиальных отверстий.
Для улучшения распределения масла внутренняя поверхность бронзовой втулки имеет по всей опорной поверхности винтовые канавки. Шаровая поверхность верхней головки шатуна притерта совместно с ползушкой поршня. Нижняя головка шатуна разъемная. Крышка 5 прикреплена двумя шатунными болтами 3 с корончатыми гайками 2. Шатунные болты из стали 20ХНЗА имеют в средней части пояски для центровки шатуна и крышки. На цилиндрической поверхности головки шатунного болта имеется лыска, препятствующая проворачиванию болта при затяжке гайки. Нижняя головка шатуна растачивается вместе с крышкой. В нижней головке шатуна установлены бронзовые вкладыши б и 7, залитые баббитом. Нерабочая половинка подшипника имеет в середине канавку. Рабочая половинка вкладыша выполнена бесканавочной, чтобы в зоне максимальных нагрузок подшипник не был ослаблен канавкой. Для подвода масла к верхней головке шатуна и охлаждения поршня с обеих сторон вкладыша имеются канавки и косые каналы, совпадающие с соответствующими косыми каналами в шатуне. Штифт 4 на нерабочей половинке вкладыша служит для фиксации его от проворачивания.
Поршень. Основная часть поршня — стакан 1 (рис. 12) представляет собой отливку из специального чугуна. Он имеет донышко чечевичной формы.
На внутренней поверхности имеются концентричные незамкнутые кольцевые ребра, образующие каналы для прохода охлаждающего масла. Этими ребрами поршень опирается на вставку. Наружное кольцевое ребро соединено с цилиндрической частью поршня восемью радиальными ребрами жесткости.
На внутренней поверхности поршня выполнены расточки для центровки опорных плит и вставки, а также кольцевая канавка для установки стопорного кольца. На наружной поверхности поршня в верхней части (со стороны головки) выполнены четыре канавки, а в нижней части три канавки для установки уплотнительных и маслогонных поршневых колец.
Наружная поверхность поршня имеет специальный профиль, состоящий из цилиндрической части и двух конических поверхностей (с различными углами конуса). Такая форма поршня в сочетании с антифрикционным покрытием (кадмием) обеспечивает хорошую приработку его к зеркалу цилиндровой втулки. Верхняя часть поршня — головка' (выше первого кольца) имеет жаростойкое хромовое покрытие. Поршень торцовыми поверхностями кольцевых ребер опирается на стальную опорную плиту 13, которая в свою очередь лежит на вставке.
Вставка 9 отлита из чугуна. Центрируется в поглине по двум поясам: вверху — по расточке в верхней опорной плите, внизу — в нижней расточке поршня. В выполненных отверстиях перпендикулярно оси поршня запрессовываются бронзовые втулки 7, являющиеся опорой для поршневого пальца 8. В вертикальной расточке вставки установлена ползушка 10 с пружиной 11. Вставка в сборе с плитами 5 и 13 и регулировочными прокладками вставлена'в поршень и зафиксирована стопорным кольцом 4. Верхняя плита 13 крепится к вставке винтами 14 и имеет запрессованный ступенчатый штифт 15, который фиксирует поршень, плиту и вставку в определенном положении. Под верхней плитой установлены прокладки 16 для регулировки величины камеры сжатия. Нижняя плита 5 крепится к вставке двумя болтами 18, а для регулировки зазоров между плитой и стопорным кольцом 4 применяют прокладки 6.
Поршневой палец — стальной, цементированный, пустотелый, плавающего типа — установлен с зазорами во втулках, во время работы проворачивается. Осевое смещение пальца ограничивается специальными приливами на внутренней поверхности юбки.
В канавках верхней части поршня установлены четыре уплотнительных кольца, из которых два 12— первое (сверху) и третье — изготовлены из высокопрочного чугуна с хромированием наружной цилиндрической поверхности. На этой поверхности выполнены маслоудержийающие канавки и поверхность имеет медь-дисульфидмолибденовое приработочное покрытие. Два других уплотнительных кольца 17 (второе и четвертое) изготовлены из специального антифрикционного чугуна, имеют запрессованные из фосфористой бронзы вставки и покрыты оловом для улучшения приработки. В канавках нижней части поршня установлены три маслосгонных кольца 2 и 3, которые, как и уплотнительные кольца 17, изготовлены из специального антифрикционного чугуна, имеют также покрытие оловом для лучшей приработки. Первое (со стороны головки поршня) маслосгонное кольцо 3 не имеет прорезей, а остальные два маслосгонных кольца 2 имею? прорези для прохода масла. Масло стекает через отверстия в канавках.
Поршень и его головку охлаждают маслом для снижения температурного напряжения. Масло в поршень поступает по каналам в шатуне через ползуш-ку, которая уплотняет сочленение поршень — верхняя головка шатуна. Затем масло попадает в полость между головкой поршня и верхней плитой, охлаждая донышко поршня и зону уплотнительных колец.
Масло из каналов масляного охлаждения выходит через вырез в плите и во вставке, попадает в полость между поршнем и вставкой, обеспечивая
смазывание подшипников поршневого пальца. Затем масло стекает в картер из нижнего поршня через два отверстия во вставке, из верхнего поршня масло выбрасывается инерционными силами через сливной канал во вставке и в нижней плите. По конструктивному исполнению верхний и нижний поршни принципиально одинаковы, однако не взаимозаменяемы. Они отличаются зеркальным расположением камеры сгорания в днище и наличием на нижнем поршне местных удлинений юбки. Кроме того, на верхних поршнях установлено только по одному хромированному уплотнительному кольцу в первой канавке поршня. Остальные три уплотнительных кольца — с бронзовыми вставками.
Втулка цилиндра. Внутренняя поверхность втулки 4 (рис. 13), отлитой из чугуна, хонингована, а затем для предохранения от коррозии и улучшения приработки поршневых колец фосфатирована. Втулка опирается на лапы, расположенные в ее верхней части, и крепится к листу блока дизеля. Верхняя часть втулки, имеющая продувочные окна А, расположена внутри продувочного ресивера и уплотнена в нем резиновыми кольцами 3 и 5. Продувочные окна Л (16 окон) расположены равномерно по окружности втулки и направлены так, что продувочный воздух, поступающий в цилиндр, получает вращательное вихревое движение, что способствует улучшению процесса смесеобразования. Средняя часть втулки с наружной стороны имеет продольные ребра, придающие ей жесткость, и три отверстия — два В для адаптеров 2 форсунок и одно для адаптера индикаторного крана. На среднюю часть посажена рубашка 7, уплотненная резиновыми кольцами 6 в верхней и 8 в нижней частях. Рубашка 7 образует совместно со средней частью втулки полость, через которую циркулирует охлаждающая вода. Вода поступает через отверстие Г, а отводится через отверстие Б. Стальная рубашка напрессована на втулку цилиндра слатягом 0,02—0,05 мм для того, чтобы в процессе работы дизеля она воспринимала нагрузки, вызываемые давлением газов в цилиндре дизеля, разгружая втулку. В рубашке также имеются три отверстия для адаптеров форсунок и индикаторного крана.
Втулка цилиндра и рубашка испытывают большие усилия, так как в них возникают высокие циклические напряжения от давления газов при работе дизеля. При этом необходимо еще учесть, что во внутренней полости между рубашкой и цилиндровой втулкой циркулирует вода, обладающая коррозионным действием. Таким образом, рубашка цилиндра особенно в месте расположения адаптерных отверстий, являющихся местом концентрации напряжений, подвергается циклически повторяющимся переменным нагрузкам и одновременно коррозионному воздействию охлаждающей воды. Опытами было установлено, что при этих условиях усталостная прочность рубашки резко падает и в зоне адаптерных отверстий возникают трещины.
Чтобы повысить усталостную прочность, внутреннюю и наружную поверхности рубашки в средней ее части обкатывают роликами. Такую же обработку выполняют на цилиндрических поверхностях и сопрягаемых радиусах отверстий в рубашке под адаптеры. Для уменьшения коррозионного воздействия воды зону вокруг адаптерных отверстий покрывают специальным составом (трехслойное покрытие). В эксплуатации и при ремонтах необходимо следить за качеством покрытия и в случае нарушения восстанавливать его. На коррозионное воздействие основное влияние оказывает качество охлаждающей воды, которая должна содержать антикоррозионные присадки и приготавливаться строго в соответствии с руководством по эксплуатации.
На дизелях последних выпусков устанавливают цилиндровые втулки улучшенной конструкции, отличающиеся от ранее выпускаемых следующим: бонки под адаптерные отверстия усилены дополнительными ребрами и приливами; в адаптере индикаторного крана увеличена поверхность охлаждения в зоне резинового кольца; нижний пояс уплотнения рубашки с втулкой цилиндра вместо натяга имеет зазор 0,14—0,216 мм; рубашка цилиндра при запрессовке на втулку установлена на клее ГЭН-1,50.
Все эти изменения привели к повышению предела выносливости в зоне! адаптерного отверстия, улучшению охлаждения адаптера и резинового уплотнения его, уменьшению задирообразования на зеркале втулки, повышению надежности уплотнения между втулкой и рубашкой цилиндра.
В нижней части втулки имеются выпускные окна Д, находящиеся на диаметрально противоположных сторонах (по пять окон на каждой стороне). Отработавшие газы отводятся через окна Д в выпускную коробку /. Между втулкой и выпускной коробкой поставлены уплотнительные кольца 9, 10.и //. Во внутренней полости выпускной коробки также циркулирует вода, одновременно охлаждающая (через стенку выпускной коробки) и нижнюю часть втулки. При работе дизеля внутренняя поверхность втулки смазывается масляным туманом, образующимся при разбрызгивании масла вращающимися частями дизеля.
Нарушение герметичности. В практике эксплуатации тепловозных дизелей 10Д100 отмечены случаи потери герметичности и, как следствие, попадание воды в масло системы смазывания дизеля через: места подвода охлаждающей жидкости от выпускного коллектора к втулкам цилиндров из-за неправильной установки переходников Д 100.21. 116сб-1, а также из-за применения уплотиительных колец, изготавливаемых заводами резинотехнических изделий из резины низкого качества; уплотнение между втулкой и рубашкой из-за некачественного состояния резиновых уплотиительных колец либо неправильного их монтажа (резиновые кольца прн монтаже скручены); уплотнение между корпусами адаптеров и рубашкой втулки цилиндра.
дизель 10Д100" width="491" height="468">
Дизели 10Д100 первых выпусков имели адаптерный узел с наружным уплотнн-тельным кольцом, которое работало вполне удовлетворительно, хотя обладало и недостатком — сила затяжки резинового кольца не ограничивалась и при затяжке его сверх допустимых для резины норм происходила деформация кольца, интенсивное старение резины с последующим образованием течн.
Чтобы повысить герметичность водяной системы дизеля по местам подвода охлаждающей жидкости к втулке цилиндров, введено улучшенное уплотнение (рнс. 14), которое в отличие от ранее применявшегося менее чувствительно к несоосности переходных патрубков с отверстиями для подвода воды в рубашках втулок цилиндров. Это достигается тем, что в новой конструкции вместо жесткого крепления патрубка к фланцу коллектора введено гибкое (телескопическое) соединение, позволяющее выставлять патрубок сооснос отверстием в рубашке, а соединение рубашки с переходным патрубком представляет собой бронзовый сферический наконечник, прижимаемый фланцем к конической поверхности рубашки втулки.
В уплотнении между рубашкой и втулкой цилиндров изменено качество применяемой резины. Для резины 9831 допускаемая температура деталей, соприкасающихся с ней, должна быть ие выше 130 "С. Учитывая, что в месте соединения рубашки с втулкой над выпускными окнами рубашка может иметь и более высокую температуру, все резиновые кольца уплотнения между рубашкой и втулкой изготавливают из более темиературостойкой резины ИРП-1287, допускающей работу с соприкасающимися деталями, имеющими температуру до 200 °С. В эксплуатации при перепрессовке рубашек необходимо следить за качеством сборки резиновых колец, нельзя допускать их скручивания в канавках, что приводит к течам.
Разработана конструкция и ведутся работы по внедрению нового адаптерного уплотнения (рис. 15), которое выполнено с наружным уплотнительным кольцом. Но в отличие от адаптеров, ранее выпускавшихся с наружным кольцом, оно имеет ряд совершенствований: фланец выполнен из теплостойкого пластика — пресс-материала АГ-4С вместо стали (температура в месте контакта с резиной снижена примерно на 35—40 °С); ограничена сила затяжки резинового уплотнительиого кольца, что повышает срок службы резины; резиновое уплотнительное кольцо выполнено из теплостойкой резины ИРП-1287. Эти мероприятия обеспечат надежную работу адаптерного уплотнительиого узла.
Предупреждение задиров поршней и цилиндровых втулок. Цилиндровая мощность дизеля 1 ОД 100 в полтора раза больше, чем дизеля 2Д100. Вследствие этого силы, действующие иа детали цилиндро-порщневой группы, и их температурное состояние выше, чем у дизеля 2Д100. Эти обстоятельства накладывают более жесткие требования к качеству регулировки дизеля 1 ОД 100, его ремонту и обслуживанию, качеству деталей, устанавливаемых на дизель в процессе эксплуатации и ремонта. Если эти факторы не соблюдаются, в условиях эксплуатации могут возникнуть неисправности деталей цилиндро-поршневой группы и в первую очередь задиры поршней и втулок.
Поршни, имеющие повреждения оловянного (кадмиевого) покрытия иа юбке и третьей перемычке, необходимо заново покрыть слоем олова (кадмия) толщиной 0,02—0,03 мм гальваническим способом, предварительно зачистив и заполировав места повреждений. Следует помнить, что поршни без оловянного (кадмиевого) покрытия не могут обеспечить надежной работы дизеля.
Рис. 15. Адаптер с наружным уплотнительным кольцом / — адаптер форсунки, 2 — фланец нажимной, 3 — кольцо уплотнительное, 4 — прокладка
Очистка наружной поверхности юбки поршня и перемычек между канавками колец косточковой крошкой недопустима, так как при таком способе слой оловянного покрытия разрыхляется или вовсе снимается и теряет сцепление с чугунной основой поршня. Наружную поверхность поршня очищают волосяными щетками после его проварки в ванне. При установке на двигатель поршней контролируют шероховатость обработки поверхности юбки. Поршни с видимыми кольцевыми рисками от механической обработки на двигатель не ставят.
У компрессионных поршневых колец проверяют по всей окружности высоту выступания бронзового пояска. Если бронзовый поясок не выступает над поверхностью, кольцо бракуют. Хромированные кольца бронзовых поясков не имеют, и пригодность их к постановке определяется отсутствием поперечных видимых рисок.
Чтобы предупредить появление задиров поршней и цилиндровых втулок, необходимо ие допускать обезличенного ремонта деталей цилиндро-поршневой группы. До плановой выемки поршней при первом ТР-2 пробег тепловоза равен примерно 200 тыс. км. При этом пробеге детали цилиндро-поршневой группы имеют наилучшую взаимную приработку. Поэтому поршни, их вставки, поршневые пальцы и шатуны, пригодные для дальнейшей эксплуатации, после очистки и ремонта должны устанавливаться в те же цилиндры и на те же места, где они работали раньше. Втулки цилиндров следует ставить в блок на прежние места.
При демонтаже втулок цилиндров во время ремонта прежде всего необходимо контрольно установить их без уплотнительных резиновых колец. Втулка должна свободно устанавливаться в блок под действием собственного веса. А если она не устанавливается на место, то это свидетельствует о нарушении геометрии сопрягаемых поверхностей. Поэтому необходимо проверить диаметры втулки, блока и выпускной коробки по посадочным местам и соосность установки выпускной коробки и выпускного коллектора относительно расточек в блоке. Установка втулки с усилием не допускается.
Если необходимо подтянуть болт крепления выпускных коллекторов и выпускных коробок при демонтаже втулки, эту операцию выполняют до проверки ее установки. Когда затяжку болтов крепления выпускных коробок и коллекторов контролируют в цилиндрах, втулки которых не подлежат демонтажу, следует замерить диаметр нижней части зеркала втулки до и после затяжки болтов. При этом изменение размеров зеркала в одних и тех же местах не должно быть более 0,02 мм, что и свидетельствует об отсутствии деформации втулки.
Чтобы не допустить повреждения боковых поверхностей поршня инструментом, снимающим нагар при очистке выпускных и продувочных окон на техническом обслуживании и текущем ремонте, поршни должны находиться в наружных мертвых точках При этом принимают меры, предупреждающие попадание нагара внутрь цилиндра. При текущих ремонтах после очистки окон от нагара рекомендуется кромки окон втулок цилиндров со стороны зеркала полировать войлочным кругом. При установке в двигатель ранее работавших втулок осматривают состояние зеркала. При незначительных рисках и натирах поврежденные места полируют войлочным кругом Не следует выпускать из ремонтов двигатели с втулками, имеющими износ более 0,5 мм и овальность свыше 0,3 мм. Кольца на поршень надевают только приспособлением, обеспечивающим развод замка не более 55 мм. Если на двигателе заменен поршень или втулка, производится его обкатка согласно Правилам деповского ремонта тепловозов типа ТЭ10.
При реостатных испытаниях тщательно проверяют регулировку дизеля При этом температура выпускных газов не должна превышать 400 °С при температуре окружающего воздуха+ 20 °С и не более 430 °С при +40 °С.
Поршневые кольца и поршни осматривают через лючки выпускного коллектора: после реостатных испытаний двигателя при текущих ремонтах; после обкатки двигателя; на первом техническом обслуживании после очередного текущего ремонта либо после замены поршня или втулки.
Нижние поршни, на которых при осмотре через лючки выявлено повреждение юбки или третьей перемычки (местное отсутствие оловянного покрытия, отслаивание его от чугунной основы, грубые риски и забоины), снимают с двигателя, зачищают места повреждений и вновь покрывают оловом, а затем устанавливают на свои места Поршни, у которых компрессионные кольца имеют неудовлетворительную приработку или повреждение, также подлежат выемке для замены колец.
Наряду с изложенным одной из важнейших причин возникновения задиров поршней и втулок является нарушение температурного состояния деталей цилиндро-поршневой группы, особенно перегрев втулки цилиндра в зоне расположения перемычек выпускных окон, что приводит к деформации втулки (над перемычками), выгоранию слоя смазки В связи с этим необходимо не допускать: температуры выпускных газов свыше допустимой, перегрева охлаждающей воды свыше 92—95 °С, масла — свыше 85 °С; работы дизеля под нагрузкой при температуре воды и масла ниже 4-40 °С, резкой остановки дизеля (кроме аварийных случаев), так как в этом случае происходит быстрый рост температуры воды (до кипячения) Перед остановкой необходимо проработать на холостом ходу, пока температура воды и масла снизится до 50—60 °С Правильная регулировка дизеля, исправиое состояние топливной аппаратуры, обеспечение нормальных температур охлаждающей воды в сочетании с перечисленными рекомендациями по ремонту являются определяющими факторами по обеспечению надежной работы деталей цилиндро-поршне-вой группы
Нагнетатель второй ступени с редуктором. Нагнетатель и редуктор (рис. 16) представляют собой единый агрегат. Редуктор смонтирован в алюминиевом корпусе 30 и состоит из двух пар цилиндрических шестерен с общим передаточным отношением, равным 10, т. е. на номинальном режиме рабочее колесо нагнетателя имеет частоту вращения 8500 об/мин. Муфта верхнего вала (полый вал) // торсионным валом 8 соединена с носком верхнего коленчатого вала дизеля и вращается в двух подшипниках — роликовом и шариковом радиально-упорном. К фланцу полого вала болтами прикреплена упругая шестерня 10, состоящая из зубчатого венца и упругой пружинной муфты, смягчающей ударные нагрузки, передаваемые от верхнего коленчатого вала. Шестерня 10 входит в зацепление с шестерней 6, изготовленной за одно целое с промежуточным валом, вращающимся в радиально-упорном и опорном роликовых подшипниках. Рядом с шестерней 6 на промежуточный вал на шпонке посажена ведущая шестерня 18 второй пары шестерен.
Рис 16 Нагнетатель второй ступени с редуктором / — трубопровод, 2 — регулировочные прокладки, 3 — упорно-опорный подшипник, 4, 24—гайки, 5 — пята, 6 — промежуточный вал с шестерней, 7—сопло торсиона, 8—торсионный вал, 9—верхняя крышка редуктора, 10—упругая шестерня, И—муфта верхнего вала, 12—торцовая крышка, 13—кольцо стопорное, 14, 15—втулки, 16—стопорная планка, 17, 23—болты, 18—шестерня, /9—отбойник, 20— скоба подъемная, 21—крышка корпуса, 22—опорный подшипник. 25—воздухо подводящий патрубок, 26—корпус нагнетателя, 27—колесо нагнетателя, 28—лопаточный диффузор, 29—кольцо уплотнительное, 30—корпус редуктора, 31—нижний вал шестерня
Вращение от промежуточного вала передается на вал-шестерню 31, опорами которого являются подшипники скольжения. Упорно-опорный подшипник состоит из алюминиевого подшипника и стальной упорной пяты 5. Пята крепится на валу гайкой, стопорящейся болтами. Опорным подшипником вала служит алюминиевый подшипник 22. Зубья шестерен 18 и 31 и шейки валов под подшипники шлифованные, цементированные и закаленные. Масло для смазывания редуктора поступает из верхнего масляного коллектора дизеля по трубопроводу У и по подсоединенным к нему трубкам идет к подшипникам и шестерням редуктора.
Алюминиевое рабочее колесо нагнетателя полуоткрытого типа с помощью запрессованной в него стальной втулки посажено консольно на шлицевый хвостовик вала-шестерни 31 и закреплено гайкой. Алюминиевый корпус нагнетателя 26 крепится к корпусу редуктора и закрыт алюминиевой крышкой 21. Улиточная часть корпуса нагнетателя соединена с охладителем наддувочного воздуха. Воздух из первой ступени наддува поступает на лопатки рабочего колеса через двухрожковый подводящий патрубок 25, надетый на крышку 21. К задней стенке корпуса нагнетателя прикреплен лопаточный диффузор 28.
Чтобы воздух из полости нагнетания не попадал в картер, предусмотрено специальное беззазорное уплотнение, состоящее из четырнадцати тонких колец, расположенных попарно в пазах, образуемых проставочными кольцами. Проставочные кольца охватывают втулку с малым зазором (—0,03, + 0,09 мм). Между опорным подшипником 22 и уплотнением установлен вращающийся отбойник 19.
Следует иметь в виду, что стыковые поверхности лопаточного диффузора и крышки 21 тщательно подогнаны друг к другу, площадь их прилегания не должна быть менее 80%. Вал-шестерня 31 в сборе со всеми вращающимися деталями динамически балансируется; на крлесе и валу клеймят общий номер. Для осмотра шестерен имеются два лючка в нижней части корпуса редуктора и один люк в верхней крышке редуктора.
Топливный насос. Топливный насос обеспечивает впрыскивание топлива под большим давлением в установленный момент (в соответствии с принятым углом опережения подачи топлива до в. м. т.). На каждом цилиндре (с левой и правой стороны) поставлено по два топливных насоса. В корпусе 15 насоса (рис. 17) установлены гильза 12, нагнетательный клапан 11 и шестерня 14 с плунжером 13. Корпус насоса соединен с корпусом толкателя. Между буртом и торцовой плоскостью толкателя имеются регулировочные прокладки, набор которых при установке насоса на дизель определяется размером В. Это расстояние между опорными торцами плунжера и корпуса насоса при первоначальном положении плунжера указано на насосе.
К корпусу насоса двумя болтами прикреплен пустотелый фланец. Из него топливо поступает в полость А, заполняя внутри гильзы подплунжерное пространство. Рабочий ход плунжера определяется профилем кулачка распределительного вала. При вращении вала кулачок через ролик перемещает толкатель. Толкатель, сжимая пружину 17, заставляет перемещаться плунжер насоса. Пружину предварительно затягивают с помощью тарелки 18 и стопорного кольца 19. Тарелка имеет прорезь и надета на верхнюю часть хвостовика плунжера. Глубина расточки в тарелке должна быть большей, чтобы между торцом плунжера и торцом тарелки имелся зазор 0,12— 0,28 мм. При перемещении плунжера вначале вытесняется топливо через отверстие в гильзе в полость А низкого давления. После того как отверстие перекроется плунжером, давление возрастает и топливо, преодолев усилие пружины 7 нагнетательного клапана, поступает под давлением через трубку высокого давления в форсунку. Нагнетание топлива происходит до тех пор, пока винтовая кромка плунжера не откроет окно в гильзе и давление топлива резко упадет. Вследствие падения давления топлива нагнетательный клапан 11 под действием пружины 7 опускается на седло. Топливо, оставшееся в нагнетательном трубопроводе между форсункой и клапаном насоса, имеет остаточное давление. Клапан с седлом, а также плунжер и гильза представляют добой прецизионные пары. Замена одной из деталей пары не допускается. От плотности нагнетательного клапана зависит равномерность подачи топлива, так как при пропуске топлива клапаном давление в нагнетательном трубопроводе упадет и уменьшится подача. При обратном движении плунжера объем в гильзе заполняется топливом.
Рис. 17. Топливный насос: /—регулировочный болт, 2—рейка, 3—болт; 4—стрелка, 5, 22—прокладки, 6—фланец; 7—пружина клапана, 8—нажимной штуцер, 9—прокладка клапана; 10—седло клапана, //—нагнетательный клапан, 12—гнльза плунжера, 13—плунжер, 14—шестерня плунжера; 15—корпус насоса; 16—кольцо пружины, 17—пружина плунжера; 18—тарелка пружины, 19—стопорное кольцо; 20—уплотнительное кольцо, 21—стопорной вннт
Гильза плунжера вставлена в корпус насоса со стороны нагнетательного клапана. Торец ее через корпус нагнетательного клапана, прокладку клапана 9 и нажимной штуцер 8 прижат фланцем 6 к корпусу насоса. Для фиксации гильзы в определенном положении служит стопорный винт 21. Плунжер в средней части имеет три продольных выступа (шлицы). На эти шлицы надета шестерня 14, имеющая соответствующие пазы.
Шестерня плунжера находится в зацеплении с зубчатой пустотелой рейкой 2. Через нее проходит регулировочный болт /, фиксируемый гайкой. С помощью регулированного болта устанавливается выход рейки, контролируемый указательной стрелкой 4 по делениям на рейке. При регулировке дизеля на стенде выдерживают необходимое расстояние от плоскости кольцевого бурта (размер* Б) до контрольной плоскости на корпусе насоса. В случае замены насоса регулировочным болтом устанавливают выход рейки так, чтобы указательная стрелка совпала с тем же делением, какое было на рейке замененного насоса. Зубчатая рейка 2 с помощью шестерни 14 поворачивает плунжер, имеющий спиральную отсечную кромку. При этом изменяется момент конца подачи топлива, а следовательно, и его количество.
Рейки через систему управления соединены с серводвигателем регулятора, управляющего количеством подаваемого в цилиндры топлива. Чтобы предотвратить разжижение масла топливом в дизеле, топливные насосы распределяются по подаче на Три группы: I группа — 70—80 г, II группа — 81—90 г, III группа — 91 —105 г. На один дизель устанавливают насосы только одной группы.
Устранение заклинивания плунжерных пар топливных насосов. Заклинивание плунжерных пар из-за деформации корпусов при их установке на двигатель устраняют установкой резинового кольца для уплотнения фланца топливного коллектора вместо фибровой прокладки (рис. 18). Введено уплотнение резиновым кольцом по направляющему диаметру топливного насоса (рис. 19). На пальце ободка тяги управления сделан хвостовик с цилиндрической головкой вместо плоского хвостовика (рис. 20). Для выявления деформации проверяют плунжерную пару в крайнем нижнем положении плунжера. Эти мероприятия уменьшают деформацию корпуса насоса и исключают необходимость разворота насоса при соединении пальца поводка с поводковой втулкой. Обеспечивается прилегание фланца коллектора к насосу и уплотнение этого соединения со сравнительно небольшой затяжкой, устраняющей деформацию плунжерной пары.
Чтобы уменьшить деформацию корпусов топливных насосов при их установке на двигатель (в случае замены или перестановки), проверяют легкость хода реек топливных насосов в крайнем нижнем положении плунжера. При этом крепление насосов и проверку легкости хода реек производят в следующем порядке:
предварительно завертывают до упора гайки крепления насоса так, чтобы можно было развернуть насос на болтах до прилегания фланцев коллектора и насоса без перекоса;
предварительно завертывают до упора болты крепления фланца топливного коллектора, чем обеспечивается прилегание фланца коллектора к плоскости насоса;
окончательно крепят топливной насос. Гайки затягивают равномерно и поочередно не более чем по 1/2 грани за прием ключом с длиной рукоятки 350 мм усилием одной руки; окончательно закрепляют фланец топливного коллектора на насосе. Для коллектора с уплотнением резиновым кольцом болты затягивают равномерно ключом с длиной рукоятки не более 150 мм. Чрезмерная затяжка гаек крепления насоса и болтов коллектора может привести к деформации корпуса насоса и прихватыванию плунжерной, пары;
Рис. 19. Уплотнение топливного насоса рези-лектора резиновым кольцом: новым кольцом: /-топливный коллектор, 2-топливиый насос, 3— /—кольцо уплотнительиое, 2—топливный насос, кольцо уплотнительиое " толкатель
проверяют легкость хода рейки при крайнем нижнем положении плунжера. Для этого нижний коленчатый вал устанавливают по ходу вращения так, чтобы для насосов проверяемого цилиндра указательная стрелка совпала с делением на ведущем диске муфты:
Порядок работы цилиндров ... 1 6 10 2495378 Деление на ведущем диске муфты . 31 67 103 139 175 211 247 283 319 355
На одно деление допускается отклонение ±2.
В этом положении проверяют легкость хода реек обоих насосов цилиндра при отсоединенном поводке тяги управления. При обнаружении тугого хода рейки необходимо ослабить затяжку насоса и коллектора. В случае неустранения тугого перемещения рейки меняют насос. Проверку легкости хода реек рекомендуется производить также после длительной стоянки двигателя.
Форсунка. На каждый цилиндр двигателя в средней части цилиндровой втулки установлены по две расположенные диаметрально форсунки, крепление (рис. 21) каждой из которых осуществляется двумя шпильками через фланец, обеспечивающий центральное нажатие на корпус. Такое крепление устраняет деформацию корпуса и не создает нарушений в работе после ее установки на дизеле.
Форсунка (рис. 22) состоит из корпуса 6, имеющего бурт крепления соплового наконечника 3, толкателя 9, щелевого фильтра 6", пружины 12 и распылителя. Распылитель имеет корпус 4, иглу 5 и ограничитель 7 подъема иглы. Сопловой наконечник 3 изготовлен из легированной стали. В нем просверлены три отверстия диаметром 0,56 мм, через которые впрыскивается топливо. Отверстия расположены с таким расчетом, чтобы впрыскивание происходило под некоторым углом к оси форсунки, что улучшает процесс смесеобразования и отдаляет факел от поверхности головки поршня. С одной стороны наконечника для фиксации его положения в корпусе форсунки сделан срез. Сопловой наконечник 3 уплотнен прокладкой 2 из отожженной красной меди. Игла 5 изготовлена из высокопрочной стали. Конусная часть иглы притерта к посадочному пояску корпуса распылителя 4.

Рис. 20. Хвостовик с цилиндрической головкой: Рис. 21. Крепление форсунки:
/—втулка поводковая; 2—палец поводка /—шпилька, 2—фланец нажимной; 3—форсунка; 4— фланец; 5—адаптер; 6—кольцо уплот-ннтельное
Игла и распылитель устанавливаются только комплектно. Игла 5 прижата к уплотнительному конусу корпуса распылителя пружиной 12, передающей нажатие через тарелку 14, толкатель 9 и ограничитель 7 подъема иглы. Нажатие пружины 2,1+0,1 кН регулируется пробкой 10 с фиксацией контргайкой //.
От топливного насоса высокого давления через трубку и штуцер А корпуса 6 топливо подводится к форсунке, попадает в кольцевую проточку а щелевого фильтра 8, откуда поступает в канавки, прорезанные на цилиндрической поверхности фильтра. Одна половина канавок соединена только с кольцевой проточкой а щелевого фильтра, другая — с кольцевой проточкой б корпуса распылителя. При этом топливо, поступая из одних канавок в другие через зазор 0,05— 0,105 мм, очищается от возможных загрязнений, предохраняя распылитель от повреждения. Затем по продольным пазам и радиальным отверстиям в корпусе 4 топливо проходит в полость в и давит на кольцевой поясок иглы 5. Когда давление превысит усилие нажатия пружины 12, игла 5 приподнимается, топливо начинает поступать в канал соплового наконечника и через сопловые отверстия впрыскивается в цилиндр. Подъем иглы 5 определяется зазором между ограничителем 7 подъема иглы и щелевым фильтром 8. Топливо, просачивающееся через зазоры между сопрягаемыми деталями, отводится по штуцеру Б регулировочной пробки 10.
На форсунках последних выпусков для повышения их надежности и долговечности введен ряд изменений. Подвод топлива к запирающему кoнvcy (полость в) осуществляется по кольцевому зазору между корпусом форсунки И корпусом распылителя вместо фрезерованных канавок или лысок. Это мероприятие повышает жесткость корпуса распылителя, уменьшает его деформацию от монтажных усилий при сборке форсунки и при креплении ее в адаптере. Кроме этого, ограничитель подъема иглы выполнен со сферической поверхностью со стороны хвостовика иглы. Со стороны толкателя форсунки ограничитель подъема имеет плоскость. Такое сопряжение деталей обеспечивает центральное положение ограничителя подъема иглы, исключая трение его боковой поверхности в расточке корпуса распылителя.
Турбокомпрессор. В качестве первой ступени системы наддува дизеля 10Д100 применяются два турбокомпрессора (рис. 23), отличающиеся друг от друга поворотом корпусов. Отработавшие газы из цилиндров двигателя по выпускным коллекторам поступают в каналы газоприемного корпуса 13, затем в сопловой аппарат 12, где они расширяются, приобретая высокую скорость и необходимое направление. Поступая на лопатки рабочего колеса турбины 9, газы приводят во вращение ротор, на котором посажено колесо компрессора. Воздух по входным каналам корпуса компрессора засасывается из атмосферы. Попадая в колесо компрессора 2, воздуху сообщается кинетическая энергия и за счет центробежных сил происходит повышение его давления. Проходя затем диффузор 4, воздух попадает в улитку корпуса / компрессора. В диффузоре и улитке кинетическая энергия воздуха превращается в потенциальную: за счет уменьшения скорости происходит дальнейшее повышение давления. После компрессора воздух по трубопроводу попадает в нагнетатель второй ступени. Турбокомпрессор состоит из осевой одноступенчатой газовой турбины и центробежного одноступенчатого компрессора. Он имеет остов, ротор 7, сопловой аппарат, лопаточный диффузор, подшипники ротора и уплотнения. Остов турбокомпрессора состоит из трех корпусов: самого компрессора /, выпускного 10 и газоприемного 13, отлитых из алюминиевого сплава и скрепленных шпильками. Выпускной и газоприемный корпуса, омываемые выпускными газами, имеют полости для циркуляции воды из системы охлаждения дизеля. Турбокомпрессоры прикреплены к дизелю с помощью кронштейнов 20.
Рис 22 Турбокомпрессор ТК-34Н /, 2—уплотнительные прокладки, З-1— соп ловой наконечник, 4—корпус распылителя, 5—игла, 6—корпус, 7—ограничитель подъема иглы, 8—щелевой фильтр, 9— толкатель, 10—регулировочная пробка, 11—контргайка, 12—пружина, 13—стакан пружины, 14—тарелка, 15—уплотнитель иое кольцо
Рис. 23. Турбокомпрессор ТК-34Н (продольный разрез): 1—корпус компрессора; 2—рабочее колесо компрессора; 3—вставка; 4—диффузор; 5—резиновое кольцо; 6—кожух теплоизоляционный, 7—ротор; 8—кожух соплового аппарата; 9—рабочее колесо турбины; 10—корпус выпускной; 11—проушина, 12—сопловой аппарат, 13—корпус газоприемный, 14—подшипник со стороны турбины (опорный), 15—крышка подшипника; 16—штуцер; 17—патрубок; 18—экран; 19—кожух ротора; 20—кронштейн, 21—штифт; 22—компенсатор; 23—подшипник со стороны компрессора (опорно-упорный); 24—дроссель
Ротор 7 представляет собой два пустотелых полувала, между которыми вварен диск турбины. Рабочие лопатки колеса турбины 9 прикреплены к диску при помощи замков елочного типа, которые позволяют заменять отдельные лопатки в случае их повреждения. Диск и лопатки колеса турбины изготовлены из специальных жаропрочных сталей. Колесо компрессора 2 изготовлено из алюминиевого сплава, соединено с валом с помощью шлицев и для обеспечения центровки посажено на гладкую шейку вала с натягом. Проточная часть колеса компрессора ограничена вставкой 3, прикрепленной винтами к корпусу компрессора. На тыльной стороне колеса имеются гребешки, которые с небольшим зазором подходят к гребешкам на неподвижном диске и образуют таким образом лабиринтное уплотнение, препятствующее проникновению сжатого воздуха в полость выпускного корпуса. Ротор 7 турбокомпрессора после сборки проходит динамическую балансировку. Перед рабочими лопатками турбины установлен сопловой аппарат 12, лопатки которого изготовлены из жаростойкой стали и заключены между внутренним и наружным кольцами. По внутреннему кольцу сопловой аппарат специальными болтами крепится к газоприемному корпусу. Такими же болтами к газоприемному корпусу прикреплен и чугунный кожух 8 соплового аппарата. Лопаточный диффузор 4 компрессора выполнен в виде диска с лопатками, образующими решетку, и закрыт вставкой. С противоположной стороны диффузор уплотнен резиновым кольцом 5 и зафиксирован штифтом 21. Благодаря решетке траектория движения частиц воздуха от колеса компрессора значительно сокращается, что приводит к уменьшению потерь на трение, поэтому компрессор с лопаточным диффузором обладает высоким к. п. д.
Ротор турбокомпрессора вращается в двух подшипниках скольжения. Опорный подшипник расположен со стороны турбины, а упорно-опорный — со стороны компрессора. Стальной корпус опорного подшипника шпильками прикреплен к газоприемному корпусу 13 и к запрессованной в него втулке из высокооловянистой бронзы. Втулка фиксирована винтом. Опорно-упорный подшипник также имеет стальной корпус 6 (рис. 24).
Упорная часть подшипника представляет собой отдельный плоский подпятник 8 из высокооловянистой бронзы со смазочными канавками на рабочем торце, зафиксированный от проворачивания штифтом. Подпятник имеет упругий элемент, состоящий из набора металлических пластин и слоя масла между ними, который служит для компенсации перекосов упорного торца, возникающих при монтаже и работе узла. При монтаже подшипники устанавливаются так, чтобы сливные каналы располагались снизу. Масло к подшипникам подводится из системы смазывания дизеля. Полости, в которых расположены подшипники, отделены от внутренних полостей агрегата уплотнениями.
Попаданию масла из полости упорно-опорного подшипника в компрессор препятствует уплотнение, состоящее из двух упругих колец типа поршневых и лабиринтов, образуемых завальцованными в вал гребенками и стальной втулкой 2 (запрессованной в корпус компрессора). Для повышения эффективности уплотнения в полость между кольцами и лабиринтом подводится воздух из ресивера дизеля. Уплотнение со стороны турбины служит для предотвращения попадания горячих газов в полость опорного подшипника и масла на нагретую часть вала. Это уплотнение состоит из двух упругих колец и двух групп лабиринтов. Между ними по каналам в выпускном и газоприемном корпусах, а также по отверстию в стальной втулке подводится сжатый воздух из компрессора первой ступени. Просочившийся воздух и газы из лабиринта удаляются через отверстие во втулке и далее по каналу в дренажную трубку, выведенную на крышу тепловоза.
Рис 24 Подшипник опорно-упорный и уплотнение со стороны компрессора 1—винт стопорный, 2—втулка подшипника, 3—шайба, 4—гайка, 5—пластина замочная, 6— корпус подшипника, 7—пластина, 8—подпятник, 9—кольцо стопорное, 10—пята, 1—импеллер, 12—лабирнит, 13—кольцо
В условиях эксплуатации на дизелях 10Д100 в отдельных случаях возможен пом-паж турбокомпрессоров. Внешне помпаж проявляется в виде пульсаций воздушного потока, сопровождающихся периодическим выбросом воздуха обратно во всасывающие патрубки дизеля и воздухоочистители. Иногда помпаж сопровождается характерными громкими хлопками Помпаж возникает при уменьшении подачи центробежного компрессора (уменьшении расхода воздуха в единицу времени) ниже определенного критического значения, в результате чего происходит срыв потока воздуха с лопаток воздушного колеса или лопаточного диффузора компрессора, нарушается устойчивая его работа. Эксплуатировать дизель, у которого турбокомпрессоры работают неустойчиво, нельзя. Длительный помпаж может вызвать разрушение колеса компрессора и деталей всасывающего тракта.
Особенностью системы газотурбинного наддува дизеля 10Д100 является параллельно-последовательная работа компрессоров первой и второй ступеней наддува. Первая ступень наддува — два турбокомпрессора, работающих параллельно на вторую ступень — приводной центробежный нагнетатель, который, суммируя расходы компрессоров первой ступени наддува и дополнительно повышая давление воздуха, направляет его через воздухоохладители в воздушной ресивер дизеля. Выпускные газы к левой турбине подводятся от левого выпускного коллектора, к правой газ подводится от правого выпускного коллектора. На входе газов в газоподводящие патрубки турбин установлены компенсаторы с защитными решетками.
Центробежный компрессор обладает свойством резко снижать подачу с ростом гидравлического сопротивления газовоздушного тракта. Поэтому в условиях длительной эксплуатации дизелей 10Д100, оборудованных центробежными нагнетателями, с возрастанием сопротивления воздушного тракта может происходить уменьшение расхода воздуха через дизель, в результате чего возникает помпаж. Сопротивление воздухоочистителя увеличивается из-за загрязнения в летнее время или оледенения входных устройств тепловоза (жалюзи) в зимнее, закоксовывания выпускных и продувочных окон втулок цилиндров, защитных решеток перед турбокомпрессорами, а также лопаточного аппарата турбин.
Кроме увеличения сопротивления газовоздушного тракта, уменьшение расхода воздуха, а следовательно, и помпаж могут происходить и вследствие роста температуры наддувочного воздуха из-за ухудшения работы охладителей наддувочного воздуха дизеля и холодильника тепловоза Одной из причин, способствующих возникновению помпажа у дизеля 1 ОД 100, является повреждение рабочих лопаток турбины и соплового аппарата обломками поршневых колец, частицами кокса или другими предметами из-за отсутствия защитных решеток перед турбокомпрессорами или их неисправного состояния. На возникновение помпажа оказывает также влияние повышение температуры выпускных газов перед турбиной, являющееся следствием уменьшения расхода воздуха по перечисленным выше причинам, а также плохой работы топливной аппаратуры дизеля.
Кроме отмеченных причин, связанных с возрастанием сопротивления газовоздушного тракта дизеля, помпаж может появляться из-за несинхронности параллельно работающих турбокомпрессоров. В этом случае помпаж возникает у одного из них потому, что второй турбокомпрессор, получая увеличенную энергию, развивает повышенное число оборотов, дает больше воздуха и тем самым уменьшается подача первого, приближая его к условиям возникновения помпажа.
Основная причина несинхронной работы двух турбокомпрессоров — разница в размерах проточных частей турбин и главным образом различие в площадях сечения сопловых аппаратов, которое может явиться следствием низкого качества изготовления турбокомпрессоров или повреждения лопаток.
Для предупреждения помпажа и устранения его в случае возникновения рекомендуется:
систематически очищать выпускные, продувочные окна и защитные решетки на входе газов в турбокомпрессоры от нагара;
регулярно следить за исправностью и загрязненностью кассет и колеса воздушных фильтров особенно в зимнее время, не допуская оледенения жалюзи;
проверять, чтобы охладители наддувочного воздуха не были загрязнены и не создавали большого сопротивления проходу воздуха;
контролировать температуру выпускных газов, которая при отрегулированном дизеле, очищенных окнах, исправной топливной аппаратуре должна быть не более 400 °С при нормальных атмосферных условиях и не более 430 °С при температуре окружающего воздуха +40 °С;
поддерживать температуру воздуха в ресивере, чтобы она не превышала 65— 70 °С при нормальных атмосферных условиях и 90 °С при температуре окружающего воздуха +40 °С. Это обеспечивается исправным состоянием холодильника тепловоза, вентилятора и охладителей наддувочного воздуха.
Если при соблюдении этих требований помпаж не прекращается, необходимо снять турбокомпрессоры с дизеля, проверить состояние лопаток турбины и суммарную площадь сечения соплового аппарата. Обнаруженные повреждения лопаток устранить.
Суммарная площадь сечения соплового аппарата турбокомпрессоров выпуска до 1971 г. (ТК-34Н-11С) не более 129 см2 и не менее 126 см , а турбокомпрессоров выпуска после сентября 1971 г. (ТК-34Н-04С) — не менее 117 см и не более 120 см2. Она определяется с помощью шаблонов. При обнаружении отклонений от требуемого значения подгибают лопатки.
Устранение помпажа путем изменения зазора между колесом компрессора и вставкой не допускается, так как при этом не выявляется и не устраняется истинная причина неисправности, но в то же время резко снижается к. п. д. компрессора, что в свою очередь неизбежно приводит к ухудшению работы дизеля в целом. Недостаточно квалифицированное выполнение работ при перерегулировке зазора может привести к выходу из строя турбокомпрессора.
Защита проточной части турбины от повреждения посторонними предметами. Чтобы предупредить случаи попадания с выпускными газами в проточную часть турбин посторонних предметов (обломками поршневых колец и др.), с марта 1965 г.
Рис. 25. Установка компенсаторов с защитными решетками: 1—риски на фланцах, 2—стержни решетки, 3—продольная ось двигателя
Рис. 26. Стержни защитной решетки: 1—стержин; 2—кольцо решетки, 3—связь
Компенсатор с решеткой ставят на дизеле так, чтобы стержни располагались вдоль продольной оси двигателя. Это соответствует положению риски на нижнем фланце компенсатора в том же направлении (рис. 25). При каждом текущем ремонте ТР-1 компенсаторы снимают с двигателя. Осматривают состояние решеток, а стержни очищают от нагара. Искривленные стержни выравнивают. На каждом ТО-3 снимают с правого и левого выпускных коллекторов по одной первой крышке и коллектор очищают от посторонных предметов.
В процессе эксплуатации дизеля 10Д100 наблюдаются случаи искривления стержней решеток. Одной из причин этого является термическое расширение стержней и наличие нагара в зазорах между стержнями и кольцом. При осмотре решеток двигателей на очередном ТР-1 проверяют термические зазоры стержней и очищают их от нагара. Для этого необходимо вынуть решетку из компенсатора, очистить решетку от нагара и замерить размеры бив (рис. 26). Размеры бив должны быть не менее 1,5 мм с каждой стороны стержней.
Если размеры бив меньше 1,5 мм:
стержни вынимают из кольца решетки, предварительно освободив их от двух связей;
подгоняют длины и уступы стержней так, чтобы размеры бив были не меньше 1,5 мм (при этом размер а должен быть не менее 5 мм на обоих концах каждого стержня); решетку собирают. При сборке нельзя забивать стержни в пазы кольца решетки, а следует только зачищать концы стержней.
Начиная с 1971 г. на дизелях устанавливают новую защитную решетку конусного типа, обладающую меньшим сопротивлением прохождению выпускных газов, что в конечном счете уменьшает расход топлива.
Следует также отметить, что тепловой компенсирующий элемент выпускных патрубков перед турбокомпрессорами, который устанавливался на дизелях первых выпусков, заменен на компенсатор сильфонного типа. Это значительно снизило воздействие нагрузок на корпус газовых турбин, возникающих от тепловых расширений и вибрации дизеля.










