3. Устройство, техническая характеристика и установка на тепловозе
Устройство, принцип работы. Установленный на тепловозе дизель создан на базе дизеля 2Д100. По конструкции примерно 80% деталей и сборочных единиц дизеля 10Д100 аналогичны деталям и сборочным единицам дизеля 2Д100 Мощность дизеля увеличена до 2206 кВт путем повышения давления наддувочного воздуха с 0,03 до 0,13 МПа, его промежуточного охлаждения и увеличения цикловой подачи топлива
дизель 10Д100— двухтактный, однорядный со встречно движущимися поршнями, непосредственным впрыскиванием топлива, прямоточной продувкой. Блок цилиндров 9 (рис. 3) установлен на поддизельной раме 25 В верхней части блок закрыт крышкой 10 со смотровыми люками и маслоотделителями 6" с обеих сторон дизеля. Блок является остовом, где размещены и смонтированы все механизмы и узлы, обеспечивающие работу дизеля. В передней части блока расположен механизм управления, от которого считают номера цилиндров Стороны дизеля (левая и правая) определяются, если смотреть на него со стороны генератора.
В блоке дизеля вертикально в ряд установлены десять втулок цилиндров 34. В каждой из них расположено по два встречно движущихся поршня — верхний 33 и нижний 36. В верхней части втулки цилиндра имеются впускные окна, через которые воздух поступает в цилиндр, в нижней части расположены выпускные окна, через которые отработавшие в цилиндре газы поступают в выпускной коллектор, в три отверстия в средней части втулки установлены с помощью соответствующих адаптеров — две форсунки 13 и индикаторный кран В верхней части блока в коренных подшипниках 31 уложен верхний коленчатый вал 15, а в коренных подшипниках 37 — нижний коленчатый вал 23. Коленчатые валы между собой связаны вертикальной передачей 16. Нижний вал при вращении опережает верхний коленчатый вал на 12 ° Эта связь, кроме синхронизации движения поршней, позволяет передавать до 30% мощности от верхнего коленчатого вала нижнему Установленное опережение нижнего вала обеспечивает соответствующее запаздывание закрытия впускных окон относительно выпускных, чем достигается «дозарядка» дизеля свежим воздухом. От нижнего коленчатого вала вся мощность дизеля передается генератору. В нижней части блока по обе стороны расположены герметично закрывающиеся смотровые люки 28, причем пять левых люков и люк закрытия отсека вертикальной передачи имеют предохранительные клапаны, которые в случае повышения давления в картере свыше 0,05 МПа открываются. В передней верхней части блока дизеля на специальном кронштейне установлены два турбокомпрессора 7, к которым от выпускных коллекторов через выпускные патрубки 4 и компенсаторы 6 направляются выпускные газы. Отработавшие в турбокомпрессорах газы удаляются через выпускные трубы тепловоза.
Воздух через воздушные фильтры с правой и левой стороны тепловоза поступает к всасывающим патрубкам турбокомпрессоров. Сжатый в первой ступени нагнетания, он поступает в расположенные по обе стороны верхней части дизеля воздушные трубопроводы //. Отсюда воздух проходит в нагнетатель второй ступени 18, представляющий собой центробежный нагнетатель, приводимый во вращение через редуктор от верхнего коленчатого вала. Редуктор соединен с коленчатым валом торсионом. После дополнительного сжатия в нагнетателе второй ступени и прохождения через воздухоохладители 19, расположенные по обеим сторонам двигателя, воздух поступает в воздушные ресиверы 10 (рис. 4) и далее в цилиндры дизеля.
дизель 10Д100" width="705" height="386">
Рис 3 дизель 10Д100, продольный разрез и поперечный по десятому цилиндру 1, 17—валы отбора мощности, 2—масляный насос, 3—регулятор частоты вращения, 4—выпускной патрубок, 5—тахометр, 6—компенсатор, 7—турбокомпрессор, 8—маслоотделитель, 9—блок цилиндров, 10—крышка блока, //—трубопровод воздушный, 12—топливный иасос, 13—форсунка, 14—верхний шатун, 15—верхний коленчатый вал, 16—вертикальная передача, 18—нагнетатель второй ступени, 19— воз духоохладитель, 20—валоповоротиый механизм, 2/—генератор, 22— муфта привода генератора, 23— нижний коленчатый вал, 24—нижний шатун, 25—поддизельиая рама, 26—аитивибратор, 27—привод масляного насоса и регулятора, 28, 29—смотровые люки, 30—маслопровод, 31, 37—коренные подшипники, 32—распределительный вал, 33, 36— поршни верхний и нижний, 34—втулка цилиндра, 35—водяной патрубок, 38—сетка
Для осмотра поршневых колец, очистки ресивера и продувочных окон втулок цилиндров в воздушном ресивере предусмотрены крышки, три из которых имеют предохранительные клапаны, срабатывающие при повышении давления свыше 0,15 МПа. Поршневые кольца нижнего поршня осматривают, очищают от нагара коллекторы и выпускные окна втулок цилиндров и выпускных коллекторов через круглые люки с крышками, установленными на асбостальных прокладках. В передней части дизеля от нижнего коленчатого вала выведен вал отбора мощности / (см. рис. 3) для привода вспомогательных механизмов тепловоза (вентилятора холодильной камеры, масляного насоса центробежного фильтра, вентилятора охлаждения тяговых электродвигателей). С этой же стороны на нижнем коленчатом валу установлен антивибратор 26, гасящий крутильные колебания. В нижней части переднего торца блока расположен корпус приводов. В нем установлен масляный иасос 2 системы дизеля и тепловоза. На нагнетательном патрубке масляного иасоса имеется штуцер, через который часть масла подается к фильтрам 3 (см. рис.4), а оттуда идет на смазку деталей турбокомпрессоров. Ниже оси вала отбора мощности слева н справа от него в корпусе приводов расположены водяные насосы / и 5, осуществляющие циркуляцию воды дизеля и охлаждающей воды контура охладителей наддувочного воздуха.
дизель 10Д100" width="499" height="351">
а—вид со стороны турбокомпрессора, б—разрез по отсеку управления, 1—водяной насос системы охлаждения дизеля, 2—центробежный фильтр масла, 3—масляный фильтр, 4—водяной коллектор, 5—водяной иасос системы охлаждения наддувочного воздуха, 6—топливопровод, 7—рукоятка повторного включения механизма предельной частоты вращения, 8—привод валов топливных насосов, 9—механизм управления частотой вращения коленчатого вала дизеля, 10—воздушный ресивер, //—выпускной коллектор
С левой стороны дизеля над корпусом приводов установлен регулятор частоты вращения 3 (см. рис. 3) и тахометр 5 с кнопкой для его включения. Такое расположение регулятора удобно при регулировке и ремонте, а периодические включения тахометра увеличивают срок его службы. Регулятор частоты вращения обеспечивает поддержание заданной частоты вращения коленчатого вала независимо от нагрузки. Привод регулятора и тахометра осуществляется через специальную передачу от нижнего коленчатого вала. С левой стороны блока ниже воздушного ресивера вдоль всего дизеля расположен водяной коллектор, отводящий нагретую воду от всех цилиндров и направляющий ее в водяную систему тепловоза для охлаждения.
В каждом цилиндре дизеля установлено по две форсунки, работающие от своего топливного насоса 12. Топливные насосы прикреплены к нижней части воздушного ресивера по обе стороны каждого цилиндра. Толкатели топливных насосов проходят- через воздушный ресивер и своими роликами упираются в кулачки распределительных валов 32. дизель оборудован двумя распределительными валами для правого и левого рядов топливных насосов. Они приводятся во вращение от верхнего коленчатого вала через две паразитные шестерни привода валов. Подачу топлива устанавливает регулятор частоты вращения при помощи системы тяг, расположенных в отсеке управления, и продольных тяг, соединенных с рейками топливных насосов. Механизм управления имеет серводвигатель, связанный с электропневматическим вентилем для отключения десяти либо пятнадцати топливных насосов при работе на холостом ходу.
С правой стороны дизеля на кронштейне крепления турбокомпрессора расположен фильтр тонкой очистки топлива, откуда топливо поступает в топливный коллектор, а затем к каждому топливному насосу высокого давления. На выходе топлива из коллектора установлен клапан, поддерживающий давление в системе 0,15—0,25 МПа. На правой передней части дизеля расположены кнопка аварийной остановки дизеля и рукоятка повторного включения механизма предельной частоты вращения, связанные с механизмом управления дизеля.
Поддизельная рама или картер — это основание для крепления дизеля. Рама представляет собой жесткую сварную конструкцию, состоящую из продольных листов с поперечным оребрением. Внутренняя часть рамы является резервуаром для дизельного масла и имеет уклон в сторону генератора, заканчивающийся отстойником. К нижней части отстойника приварен фланец для сливной трубы. Масло, сливающееся из блока дизеля, перед тем как поступить в картер, проходит через сетки 38, предохраняющие масляный насос от попадания посторонних частиц. Сетки гасят пену, а также предотвращают унос масла из ванны при движении шатунов. В самой нижней части маслозаборного устройства установлена дополнительная сетка. При осмотрах и промывке картера предохранительные сетки легко снимают и удаляют через смотровые люки 28. Для замера уровня масла в поддизельной раме с правой стороны имеется щуп.
Нижний коленчатый вал соединен с валом якоря генератора муфтой 22. На ведущем^диске муфты нанесена градуировка, определяющая положение внутренних и наружных мертвых точек поршней. С зубчатым венцом муфтЫ при проворачивании дизеля вручную находится в зацеплении червяк вало-поворотного механизма 20. Для предотвращения пуска дизеля с включенным валоповоротным механизмом установлен блокирующий концевой выключатель, разрывающий цепь пуска, если механизм включен.
С левой задней стороны дизеля для контроля давления масла в конце верхнего масляного коллектора имеются два датчика электроманометра. В этом же месте расположены два реле давления масла, одно из которых предназначено для сброса нагрузки, а второе — для остановки двигателя при понижении давления масла ниже допустимого. Сброс (резкое уменьшение) нагрузки происходит, если давление масла ниже 0,1—0,11 МПа (при положении контроллера от 12-й позиции и выше). дизель останавливается при давлении масла меньше 0,05—0,06 МПа. С правой стороны передней части дизеля установлен центробежный фильтр масла 2 (см. рис. 4), работающий при давлении масла 0,8—1,05 МПа Масло в фильтр поступает от специального насоса, установленного на заднем распределительном редукторе тепловоза.
дизель охлаждается водой, циркулирующей при работе водяного насоса /. Водяной насос забирает охлажденную воду из системы тепловоза и подает ее через два выпускных патрубка в выпускной коллектор //, откуда она по патрубкам, расположенным с обеих сторон цилиндровой втулки, поступает в пространство между рубашкой и цилиндровой втулкой. Горячая вода отводится через специальные патрубки в коллектор 4 и далее — в водяную систему тепловоза для охлаждения Для охлаждения наддувочного воздуха предусмотрен второй замкнутый контур, состоящий из водяного насоса 5, обеспечивающего циркуляцию воды через водовоздушные охладители и секции холодильной камеры тепловоза.
Кинематическая связь приводимых в движение узлов и механизмов дизеля 10Д100 показана на рис. 5
В двухтактных дизелях полный рабочий цикл (наполнение цилиндра чистым воздухом, его сжатие, сгорание поступившего топлива в цилиндр и расширение газов, а также очистка цилиндра от отработавших газов) происходит за один оборот коленчатого вала. Коленчатый вал дизеля на номинальном режиме имеет частоту вращения 850 об/мин. Следовательно, в каждом цилиндре происходит 850 полных циклов в 1 мин. Каждый цикл в цилиндре протекает следующим образом: в цилиндровой втулке 2 (рис. 6) во взаимно противоположных направлениях движутся нижний 8 и верхний 5 поршии, которые при помощи шатунов lull соединены соответственно с верхним и нижним коленчатыми валами. Между собой они связаны вертикальной передачей.
дизеля 10Д100" width="506" height="306">
Рис 5 Кинематическая схема дизеля 10Д100 /—предельный регулятор, 2 33—правый и левый ряды топливных насосов, 3, 34—распределительные валы правый и левый, 4, 18—коленчатые валы верхний и нижний, 5, 13—торсионные валы, 6, 21—пружинные муфты, 7—вал пружинной муфты, 8—вал центробежно фрикционной муфты, 9—фрикционная муфта, 10— вал нагнетателя, //—рабочее колесо нагнетателя, 12, 14—валы верхний и нижний, 15—валоповоротный механизм, 16—соединительная муфта, 17—тяговый генератор, 19—антивнбратор, 20, 23—водяные насосы левый н правый, 22—вал отбора мощности, 24—масляный насос, 25—привод тахометра, 26—муфта разобщительная, 27—тахометр, 28—регулятор частоты вращения, 29, 32—шатуны нижний и верхний, 30, 31—поршни нижний н верхний
дизеля 10Д100" width="481" height="399">
Рис. 6. Схема работы шатунио-кривошипиого механизма и поршней дизеля 10Д100: /—шатун верхний, 2—втулка цилиндра; 3—воздушный ресивер; 4—продувочные окна, 5—поршень верхний; 6—камера сгорании; 7—форсунка; 8—поршень нижний; 9—выпускные окна; 10—выпускная коробка; //—шатун нижний
При сгорании топлива, поступившего через форсунку 7, в камере сгорания 6, образованной днищами двух поршней и стенками цилиндровой втулки (положение а), повышается давление до 9,5—10,5 МПа. Под действием давления газов поршни начинают расходиться и через шатуны вращают коленчатые валы. Через 124 ° от внутренней мертвой точки (в. м. т.) поворота нижнего коленчатого вала (положение б) поршень кромкой днища открывает выпускные окна 9. К этому времени энергия газов передана коленчатым валам дизеля. Отработавшие газы под давлением, превышающим атмосферное, через выпускные окна 9 устремляются по двум отверстиям выпускной коробки 10 в выпускные коллекторы и далее к турбинам (положение б — выпуск).
Через 140 ° поворота нижнего коленчатого вала от в. м. т. верхний поршень открывает продувочные окна 4. К этому времени давление газов в цилиндре равно или меньше давления наддувочного воздуха. Кроме того, создавшееся движение выпускных газов устанавливает направленный в выпускные окна 9 инерционный поток струи. Таким образом, воздух, поступая из воздушного ресивера 3, вытесняет отработавшие газы и заполняет свежим воздушным зарядом объем цилиндра (положение в — продувка цилиндров).
Процесс продувки и заполнения цилиндра воздухом происходит за очень малый промежуток времени. Поэтому для создания условий наиболее полного удаления отработавших газов и заполнения цилиндра свежим воздушным зарядом (продувка) продувочные 4 и выпускные 9 окна выполнены со специальным наклоном в горизонтальном (тангенциальном) и вертикальном направлениях. Через 236 ° поворота коленчатого вала нижний поршень закрывает полностью выпускные окна, тогда как продувочные еще открыты, (положение г). Установившийся ранее поток обеспечивает дальнейшее поступление (дозаряд) свежего воздуха в цилиндр до закрытия верхним поршнем продувочных окон. Воздушный вихрь, образованный при продувке, сохраняется и в момент впрыскивания топлива, что обеспечивает хорошее перемешивание воздуха с топливом и полное его сгорание. Полному смесеобразованию способствует и чечевицеобразная форма камеры сгорания поршней, приспособленная для периферийной подачи топлива. За 10 ° до в. м. т. нижнего поршня через форсунки 7 начинается впрыскивание топлива в камеру сгорания. Благодаря высокому давлению топлива в процессе впрыскивания (свыше 20 МПа) и малому диаметру (0,56 мм) отверстий в наконечнике распылителя форсунки топливо распыливается на мелкие ту-манообразные частицы и смешивается с воздухом. К моменту впрыскивания воздух в камере сгорания имеет температуру, достаточную для самовоспламенения топлива. Постепенное его сгорание обеспечивает плавное повышение давления в цилиндре, что благоприятно сказывается на динамике шатун-но-кривошипного механизма. Максимальное давление сгорания приходится в момент, когда поршни перешли в. м. т. и начинают двигаться к наружной мертвой точке. В это время давление газов от сгоревшего топлива передается на днища поршней и далее через шатуны к коленчатым валам (рабочий ход). Таким образом, за один оборот коленчатого вала происходит полный рабочий цикл. Диаграмма фаз газораспределения изображена на рис. 7.
Эффективной мерой повышения мощности одного цилиндра является увеличение массового заряда воздуха в цилиндре за счет повышения давления наддувочного воздуха. В двухтактных дизелях из-за большего расхода воздуха для продувки цилиндров это осуществить значительно сложнее, чем у четырехтактных. В дизелях 2Д100 давление наддувочного воздуха составляет примерно 0,03 МПа и создается за счет сжатия воздуха в нагнетателе второй ступени с механическим приводом от коленчатого вала дизеля. Следовательно, часть полезной мощности, полученной коленчатым валом, идет на сжатие воздуха.
В отработавших газах дизеля 10Д100 содержится свыше 30% общего количества тепла, введенного с топливом. Энергия отработавших газов, не используемая на 2Д100, у дизеля 1 ОД 100 используется в двух турбокомпрессорах первой ступени наддува. В турбокомпрессоре на одном валу смонтированы турбинное и насосное колеса. Энергия расширения выпускных газов, реализуемая турбинным колесом, превращается в механическую энергию вращения центробежного насосного колеса компрессора, которая сжимает воздух, поступающий от воздухоочистителей. Вторая ступень наддува дизеля — нагнетатель второй ступени, установленный с противоположной стороны дизеля над генератором и приводимый во вращение через повышающий редуктор от верхнего коленчатого вала. Отбираемая мощность от коленчатого вала нагнетателем второй ступени составляет примерно 26 % общей мощности, необходимой для создания давления 0,105—0,13 МПа при подаче воздуха 5,7—5,8 кг/с.
При сжатии воздуха в обоих компрессорах (первой и второй ступенях системы наддува) температура воздуха повышается примерно до 130 °С. Такое повышение температуры уменьшает массовый заряд воздуха в цилиндре и ухудшает работу поршневой группы. Для устранения этого явления после компрессора второй ступени установлены охладители наддувочного воздуха, обеспечивающие снижение температуры воздуха в ресивере до 65 °С. Этим увеличивается масса воздушного заряда цилиндра, коэффициент избытка воздуха, снижается температура деталей поршневой группы. Благодаря увеличению коэффициента избытка воздуха улучшается эффективность рабочего процесса и снижается удельный расход топлива. Вследствие этого удельный расход топлива дизеля 10Д100 на номинальном режиме ниже, чем у своего прототипа 2Д100, и составляет 222 вместо 240 г/(кВт«ч). Охлаждение наддувочного воздуха и увеличение коэффициента избытка воздуха у дизеля 10Д100 обеспечили умеренную тепловую напряженность деталей цштиндро-поршне-вой группы.
дизеля 10Д100" width="292" height="345">
Рис. 7. Диаграмма фаз газораспределения дизеля 10Д100
Техническая характеристика дизеля
- Обозначение по ГОСТ 4393—82 ...... 10ДН 20,7/2 X25,4
- Марка..............10Д100
- Тактность.............2
- Расположение цилиндров........однорядное, вертикальное
- Число цилиндров...........10
- Диаметр цилиндра, мм........207
- Ход поршня, мм...........2x254
- Частота вращения коленчатого вала на номинальном режиме, об/мин.......850
- Полная мощность при нормальных атмосферных условиях, разрежении на впуске ие более 2,94 кПа, противодавлении на выпуске не более 0,98 кПа, температуре воды на входе в охладитель наддувочного воздуха (45°С), кВт. 2206
- Минимальная устойчивая частота вращения коленчатого вала на холостом ходу, об/мин . . 400 ± 15
- Порядок работы цилиндров.......1—6—10—2—4—9—5—3—7—8
- Порядок нумерации цилиндров......со стороны, противоположной генератору
- Направление вращения нижнего коленчатого вала..............по часовой стрелке, если смотреть со стороны генератора
- Рабочий объем цилиндров, м3(л)..... 0,1709(170,9)
- Степень сжатия действительная.....13,7
- Средняя скорость поршия, м/с......7,2
- Максимальное давление сгорания не более, МПа..............10,5
- Среднее эффективное давление, МПа .... 0,93
- Температура выпускных газов по цилиндрам на полной мощности не более, °С......420
- длина, мм...........6015
- ширина, мм...........2610
- высота от оси нижнего коленчатого вала, мм...............2255
- Ресурс дизеля до первого капитального (заводского) ремонта, тыс. ч (тыс. км пробега) . . 36 (800)
- Ресурс дизеля до первой переборки, тыс. ч.(тыс. км пробега).......... 8,0 ( 200)
- Удельная подача топлива при полной мощности и низшей теплотворной способности топлива 10 200 кДж/кг, г/(кВт • ч)......217+12
- Топливо..............дизельное (ГОСТ 305—82)
- >Угол опережения подачи топлива (геометрический), град поворота коленчатого вала . 11±1° до в. м. т.
- Тип................шестеренный с внутренним зацеплением зубьев
- Подача топлива при 1350 об/мин, давлении нагнетания 0,35 МПа, разрежении на всасывании 13,3 кПа, м3/ч.........1,62
- Давление топлива, МПа........0,15—0,25
- Привод..............электрический
- Тип...............плунжерный с постоянным ходом и регулировкой подачи топлива перепуском в конце нагнетания
- Диаметр плунжера, мм.........13
- Ход плунжера, мм...........15,8
- Число насосов............20 (по два на каждый цилиндр)
- Тип..............закрытый
- Давление начала впрыскивания, МПа .... 21
- Число форсунок...........20 (по две на каждый цилиндр)
- Тип................всережимный центробежный непрямого действия с гидравлическим серводвигателем, изо-дромной обратной связью и автоматическим регулированием мощности
- Управление частотой вращения (числом оборотов) коленчатого вала дизеля......электрогидравлическое
- Число ступеней рабочей частоты вращения . . 14 Тип регулятора предельной частоты вращения ...............центробежный, выключает подачу топлива при 940—980 об/мин
- Фильтр предварительной очистки топлива . щелевой с проволочной навивкой, щель 0,07 мм (сетчатый) Фильтр тонкой очистки топлива......с бумажными элементами ФЭТО
- Тип ................ циркуляционная тгод давлением
- Удельный расход масла:
- на угар.............0,8% номинального расхода топлива
- суммарный...........1,7% номинального расхода топлива
- Масло..............моторное М14В2 по ТУ 38-101-421-73 или М14Б по ТУ 38-101-264-72
- Масляный насос...........шестеренный
- Максимальная подача масла насосом при 1510 об/мин, не менее, м3/ч........120
- среднеэксплуатационная.......60—80
- максимальная .......... 86
- Маслопрокачивающий агрегат......насос шестеренный с приводом от электродвигателя постоянного тока П-41
- тонкой очистки..........бумажный
- грубой очистки..........щелевой пластинчатый, щель 0,15 мм
- центробежный..........с гидравлическим приводом, частота вращения ротора 5000— 6000 об/мин
- Тип ................ водяная, принудительная
- Водяной насос............центробежный
- Подача воды насосом при 2060 об/мин и противодавлении 0,23 МПа не менее, м3/ч ... 150
- среднеэксплуатационная ......65—80
- максимальная .......... 96
- Система охлаждения наддувочного воздуха Тнп ............... водяная, принудительная
- Водяной насос............центробежный
- Подача воды насосом при 1965 об/мин и противодавлении 0,18 МПа, м3/ч......100
- Тип охладителя наддувочного воздуха .... водовоздушный круглот'рубчатый с проволочной навивкой трубки со стороны воздуха
- Количество охладителей на один дизель ... 2
- >Подача охлаждающей воды на охладитель, м3/ч..............50
- Температура охлаждающей воды на входе в охладитель при температуре окружающего воздуха +20 °С, ............45
- Первая ступень...........два параллельно работающих турбокомпрессора ТК-34С, подача воздуха одним турбокомпрессором 3 кг/с, частота вращения ротора 18 000 об/мин
- Вторая ступень...........нагнетатель второй ступени, с приводом через редуктор от верхнего коленчатого вала, частота вращения ротора на номинальном режиме 8500 об/мин
Габаритные размеры дизеля:
Система подачи топлива
Топливоподкачивающий насос
Топливный насос
Форсунка
Регулятор частоты вращения
Система смазывания
Температура масла на выходе из дизеля, °С:
Фильтры масляные:
Система охлаждения
Температура воды на выходе из дизеля, °С:
Система наддува дизеля
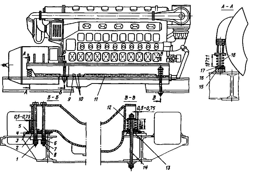
Установка и крепление дизель-генератора. дизель-генератор установлен на четыре опорных платика, приваренных к раме тепловоза. Опорные поверхности платиков рамы тепловоза, как правило, лежат в одной плоскости (допускается взаимное западание и выстуггание до 2 мм), поэтому необходима подгонка опорных поверхностей. Подшлифовкой добиваются такого положения, чтобы в пределах одного платика между ним и рамой дизеля не проходил щуп толщиной 0,05 мм. Для выполнения этого требования при
установленном на опорные поверхности платиков дизель-генераторе замеряют зазоры между платинами и рамой дизеля и по результатам замеров подбирают наборы регулировочных прокладок. Толщина прокладок и их число могут быть:
Толщина, мм............ 0,05 0,15 0,30 0,50 1,0
Число, шт. . ........... 2 1 1 1 4
Набор регулировочных прокладок устанавливают не более чем под две опоры и толщина его не должна превышать 4 мм.
После подгонки дизель-генератора по платикам и определения числа регулировочных прокладок его окончательно устанавливают и крепят. дизель-генератор крепят четырьмя болтами / (рис. 8) и со стороны нагнетателя — двумя шпильками 14 с пружинами 12. Крепление концевой опоры шпильками с пружинами исключает передачу дополнительных напряжений, связанных с возникновением тепловых деформаций дизеля, а также динамических и статических деформаций рамы тепловоза. Пружины затягивают до высоты 182+1 мм. Каждая из них обеспечивает нажатие по 49 кН. После затяжки болтов и шпилек их шплинтуют. Под опоры генератора установлены пружины 18, затянутые до высоты 187+1 мм путем установки регулировочных прокладок 16 толщиной 1, 2, 3 и 15 мм. Прокладки приваривают к нажимной шайбе 17 и платику 15. Разгружающее усилие пружины равно 39 кН.
Закрепив дизель-генератор, приваривают продольные и поперечные упоры, предотвращающие его смещение от различных сил, возникающих при работе тепловоза. Продольные упоры 10 приваривают в вырезе нижнего листа рамы дизеля вплотную к листам на специальных платиках рамы тепловоза. Для плотного прилегания между нижним листом рамы дизеля и упором забивают регулировочные прокладки 5 и 9, которые по бокам приваривают к упору электросваркой. Поперечные упоры устанавливают на опорных платиках с зазором между нижним листом рамы дизеля и упором 0,1—0,5 мм Зазор необходим для того, чтобы во время теплового расширения дизеля не срезало упоры Зазоры, получающиеся между нижним листом рамы дизель-генератора и настильными листами рамы, закрывают заделкой //
дизель-генератора" width="491" height="335">
Рис. 8. Установка дизель-генератора: — болт, 2, 5, 9, 13, 16 — прокладки регулировочные; 3 — упор поперечный, 4 — распорная планка; 6 — айба, 7 — гайка, 8 — шплинт; 10 — упор продольный; // — заделка, 12, 18 — пружины, 14 ->- шпилька; 15 — платик, 17 — шайба нажимная










