5 Регулятор частоты вращения и мощности
Назначение и принцип работы. дизель 1 ОД 100 имеет всережимный изодромный регулятор частоты вращения и нагрузки (мощности) центробежного типа с автономной масляной системой, а также дополнительными устройствами, обеспечивающими дистанционное управление изменением частоты вращения вала. Назначение регулятора — регулировать количество топлива, подаваемого в цилиндры дизеля, и возбуждение генератора таким образом, чтобы поддерживать заданную частоту вращения коленчатого вала и определенную мощность дизеля на каждом заданном положении контроллера.
Регулятор выполняет следующие функции:
управляет подачей топлива, изменяя положение реек топливных насосов через рычажную передачу, и возбуждением генератора, изменяя положение якоря индуктивного датчика, включенного в цепь управления возбуждением возбудителя тягового генератора;
обеспечивает возможность использования полной мощности дизеля и ограничивает его перегрузку при различных условиях движения тепловоза, а также при включении и выключении вспомогательных агрегатов тепловоза;
автоматически отключающим устройством устанавливает якорь индуктивного датчика в положение минимального возбуждения при трогании тепловоза и его боксовании. После прекращения боксования устройство обеспечивает плавное увеличение возбуждения тягового генератора;
автоматически с помощью корректоров по давлению наддува, встроенных в регулятор, ограничивает подачу топлива и возбуждение тягового генератора при падении давления наддувочного воздуха;
обеспечивает с помощью электрогидравлического устройства дистанционное и ручное управление частотой вращения коленчатого вала дизеля путем изменения затяжки всережимной пружины регулятора.
Регулятор частоты вращения (рис. 27) состоит из: регулятора частоты вращения (скорости); регулятора нагрузки (мощности); электрогидравлического управления частотой вращения (скоростью); корректоров ограничения нагрузки и подачи топлива.
К регулятору скорости относятся: чувствительный элемент (измеритель частоты вращения); серводвигатель, который под воздействием чувствительного элемента изменяет подачу топлива в цилиндры дизеля; обратная связь,, обеспечивающая устойчивость процесса регулирования.
Измеритель частоты вращения центробежного типа состоит из двух грузов 8, вращающихся с траверсой, и всережимной пружины 9. Центробежная сила вращающихся грузов уравновешивается усилием всережимной пружины, имеющей определенную затяжку. Грузы регулятора выполнены в виде угловых рычагов, а ось всережимной пружины совпадает с осью вращения, что дает возможность на ходу менять затяжку пружины и тем самым устанавливать требуемую частоту вращения вала дизеля. При изменении нагрузки частота вращения вала дизеля, а следовательно, и центробежная сила грузов изменяются. При этом равновесие между всережимной пружиной и грузами нарушается; грузы расходятся или сходятся, и золотник 31, связанный с измерителем частоты вращения, перемещается вверх или вниз. Золотник 31 управляет движением поршня серводвигателя 27. Шток поршня 27 серводвигателя через рычажную передачу связан с рейками топливных насосов. Движение поршня вверх (на увеличение подачи топлива) совершается под действием давления масла, а вниз (на уменьшение подачи топлива) — под действием пружины 34. Серводвигатель обеспечивает усилие, необходимое для перемещения реек топливных насосов.
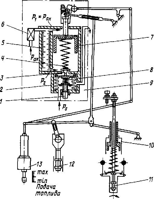
Рис 27 Принципиальная схема объединенного регулятора 1—треугольная пластина, 2, 18, 31—золотники, 3, 17, 32—золотниковые втулки, 4, 16, 34—пружины, 5—аккумуляторы масла, 6—масляный насос, 7—буферный поршень, 8—грузы, 9—всережимная пру жина, 10—тяга, 11, 13—рычаги, 12—гайка, 14—упор минимальной частоты вращения, 15—серводвигатель управления, 19, 27—поршни серводвигателя, 20—коромысло, 21—игольчатые клапаны, 22—верхний шток, 23—серводвигатель регулятора, 24—серводвигатель индуктивного датчика, 25— индуктивный датчик, 26—золотник остановки, 28—игла, 29—выключающее устройство, 30—шестерня, 33—масляная ванна, 35—клапан
К изодромной обратной связи относится буферный поршень 7 с пружинами, игла 28 и компенсационный поясок Д золотника 31. При изменении нагрузки дизеля под действием измерителя частоты вращения поршень 27 начинает перемещаться и вызывает изменение подачи топлива. Это изменение продолжалось бы до восстановления частоты вращения при изменившейся нагрузке, однако частота вращения вала дизеля не может изменяться так же быстро, как регулятор изменяет подачу топлива, и поэтому необходимо ограничить перемещение поршня 27 и тем самым избежать излишней или недостаточной подачи топлива в цилиндры дизеля. Это ограничение движения поршня 27 в соответствии с изменением нагрузки осуществляется изодромной обратной связью путем воздействия на поясок Д золотника 31. При перемещении золотника 31 вниз или вверх поршень буфера перемещается влево или вправо, сжимая одну из его пружин и разжимая другую, при этом появляется перепад давлений масла на обеих сторонах поршня с более высоким давлением на стороне, противоположной сжатой пружине. Этот перепад (промежуточное давление) пропорционален перемещению поршня буфера. Перепад передается в полости над и под пояском Д золотника, создавая направленную вверх или вниз силу, действующую на золотник измерителя частоты вращения. В результате действия обратной связи золотник возвращается в среднее положение, при этом поршень серводвигателя остановится в положении, соответствующем измененной нагрузке на дизель, и частота вращения вала восстановится.
Поршень 7 возвращается в среднее положение под действием своих пружин, при этом масло перетекает из одной полости поршня буфера в другую через иглу 28. Величина открытия иглы определяет скорость выравнивания давлений в полостях над и под пояском Д золотника и должна быть отрегулирована так, чтобы скорость выравнивания давлений соответствовала скорости изменения частоты вращения вала дизеля.
На схеме показано взаимодействие частей регулятора при работе дизеля на установившемся режиме. Усилие пружины 9 через тарелку и шариковый подшипник воспринимается концами угловых рычагов грузов 8; золотниковая втулка 32 вместе с шестернями масляного насоса 6, траверсой и грузами 8 приводится во вращение от привода регулятора. Масляный насос нагнетает масло в аккумуляторы, служащие для создания запаса масла постоянного давления, что обеспечивается переливом избыточного масла в масляную ванну 33. Из аккумулятора масло поступает в пространство между дисками золотника. Золотник 31 имеет компенсационный поясок Д и может перемещаться в золотниковой втулке 32.
Регулирующий поясок Е золотника 31 перекрывает подвод масла к поршню 7 буфера, находящемуся в среднем положении под действием своих пружин. Полости буфера А и Б соединены каналами с полостями соответственно под и над пояском Д. Полость Б соединена с полостью под поршнем 27 серводвигателя. Игла 28 регулирует проходное сечение отверстия, соединяющего полости А и Б справа и слева от поршня 7.
При неизменной нагрузке усилие всережимной пружины уравновешивается центробежной силой вращающихся грузов. Золотник 31 своим пояском Е перекрывает окно в золотниковой втулке 32, закрывая доступ масла из аккумулятора к поршню 7. Поршень 7 находится в среднем положении под действием своих пружин, давление масла под поршнем 27 серводвигателя и в полостях А и Б равно. Шток серводвигателя находится в таком положении, при котором подача топлива соответствует определенной нагрузке дизеля.
При увеличении нагрузки на дизель частота вращения его вала уменьшается, грузы сходятся к оси вращения, золотник 31 передвигается вниз, открывая доступ масла из аккумулятора 5 в полость А. Поршень 7 под действием давления масла смещается в сторону серводвигателя, сжимая левую пружину и расслабляя правую. При этом поршень 7 вытесняет соответствующий объем масла под поршень 27 серводвигателя, перемещая его вверх и увеличивая подачу топлива в цилиндры дизеля. При движении поршня 7 в направлении потока масла к серводвигателю создается промежуточное давление масла в полости А, которое больше давления масла в полости Б на величину, пропорциональную смещению поршня 7. При движении поршней 7 и 27 перепад давления масла на обеих сторонах поршня 7 передается в полости над пояском Д золотника и под ним с более высоким давлением под пояском Д.
Давление на поясок Д снизу возрастает до тех пор, пока оно вместе с подъемной силой расходящихся грузов не преодолеет усилие пружины измерителя и не поднимет золотник 31 до перекрытия регулирующего окна в золотниковой втулке 32. Как только регулирующее окно закроется, поршень 27 серводвигателя остановится в положении увеличенной подачи топлива, необходимой для работы дизеля при увеличенной нагрузке. Поршень 7 возвращается в среднее положение под действием своих пружин, так как давление масла в полостях А и Б выравнивается иглой 28. Выравнива ниє давлений должно быть приведено в соответствии со скоростью восстановления частоты вращения вала.
При уменьшении нагрузки на дизель частота вращения его вала увеличивается, грузы расходятся, поднимая регулирующий золотник вверх и открывая регулирующее окно пояском £. Регулирующее окно соединяет полость А со сливом, давая возможность поршню серводвигателя под действием пружины 34 опуститься вниз в направлении уменьшения подачи топлива в цилиндры дизеля.
При опускании поршня 27 поршень 7 под действием давления масла смещается вправо, сжимая правую пружину и расслабляя левую. При движении поршня 7 в направлении потока масла от поршня 27 к золотнику создается промежуточное давление масла в полости Б, которое больше давления масла в полости А на величину, пропорциональную смещению поршня 7. При движении поршней 7 к 27 перепад давлений масла на обеих сторонах поршня 7 передается в полости над пояском Л золотника и под ним с более высоким по величине давлением над пояском Д. Давление на компенсационный поясок сверху возрастает до тех пор, пока вместе с действующей вниз силой пружины 9 не уравновесит силу грузов и не опустит золотник 31 до перекрытия регулирующего окна во втулке золотника. Как только регулирующее окно закроется, поршень 27 серводвигателя остановится в положении, соответствующем уменьшенной подаче топлива, необходимой для работы дизеля при уменьшенной нагрузке. Поршень 7 возвращается в среднее положение под действием своих пружин.
При больших изменениях нагрузки дизеля поршень 7 перемещается в крайнее положение, при этом полости А и Б, кроме иглы, сообщаются между собой непосредственно, что улучшает переходные процессы.
При пуске дизеля. Всережимная пружина имеет предварительную затяжку, соответствующую минимальной частоте вращения холостого хода вала дизеля. Поэтому при неработающем дизеле грузы регулятора сведены и золотник находится в крайнем нижнем положении. Поршень 27 серводвигателя находится в крайнем нижнем положении, соответствующем выключенной подаче топлива. При пусковой частоте вращения масло под давлением из масляного насоса 6 поступает в полость А, смещает поршень 7, который вытесняет некоторый объем масла под поршень серводвигателя. Поршень 27 преодолевает усилие пружины 34 и поднимается вверх, перемещая рейки топливных насосов в положение подачи топлива; дизель пускается и устанавливается минимальная частота вращения, соответствующая предварительной затяжке пружины 9.
Регулятор мощности. Нагрузка тяговых электродвигателей, а следовательно, потребляемый ими ток изменяются в зависимости от профиля пути и скорости движения тепловоза. При постоянном напряжении тягового генератора это привело бы к изменению его мощности и мощности дизеля. Для обеспечения постоянства мощности генератора необходимо изменять его напряжение так, чтобы произведение тока на напряжение оставалось постоянным. Такое изменение напряжения достигается воздействием индуктивного датчика регулятора мощности на возбуждение генератора; при этом работа генератора поддерживается по характеристике, близкой к характеристике постоянной мощности, что позволяет использовать полную мощность дизеля при различных условиях движения тепловоза, либо снимать перегрузку дизеля.
Регулятор мощности состоит из золотникового устройства (измерительный орган), обратной связи и серводвигателя с индуктивным датчиком. Шток 22 (см. рис. 27) серводвигателя 23 с помощью коромысла 20 соединен с механизмом управления частотой вращения. С коромыслом 20 тягой соединен золотник 18, установленный в золотниковой втулке 17, которая фиксируется пружинами 16 в среднем положении; золотниковое устройство управляет подачей масла в серводвигатель 24, соединенный с индуктивным датчиком 25. Верхняя и нижняя полости золотникового устройства соединены каналами с масляной ванной.
Для обеспечения устойчивости регулирования скорость перемещения поршня серводвигателя на увеличение и уменьшение возбуждения генератора регулируется иглами (игольчатыми клапанами) 21.
На установившемся режиме золотник 18 своими дисками перекрывает отверстия в золотниковой втулке 17, при этом поршень серводвигателя 27 находится в положении, соответствующем определенной нагрузке при данной частоте вращения вала дизеля.
При уменьшении нагрузки на дизель регулятор частоты вращения уменьшает подачу топлива, при этом шток 22 опускается вниз. Тем самым будет опускаться левый конец коромысла 20, которое опустит вниз золотник 18, при этом масло перепускается в полость В серводвигателя 24 и сливается из полости Г. Поршень серводвигателя переместит якорь индуктивного датчика в сторону увеличения возбуждения генератора. Масло из полости Г вытекает через верхний игольчатый клапан в масляную ванну. Давление масла в верхней полости над золотниковой втулкой заставляет ее двигаться вниз, сжимая нижнюю пружину и закрывая перепускное отверстие в золотниковой втулке, через которое масло поступало в полость В серводвигателя.
Величина открытия игольчатого клапана определяет скорость движения поршня серводвигателя. После того как нагрузка дизеля увеличится (так как нагрузка на генератор увеличится), регулятор скорости увеличивает подачу топлива, золотник и золотниковая втулка 17 возвращаются в среднее положение, прекращая движение серводвигателя. В результате поршень серводвигателя индуктивного датчика займет новое положение, при котором увеличится нагрузка на генератор, что приведет к восстановлению нагрузки на дизель.
При увеличении нагрузки действие элементов регулятора мощности будет противоположно описанному. Увеличение затяжки пружины (увеличение частоты вращения) вызывает такое же действие регулятора мощности, как и уменьшение нагрузки, и наоборот. Это происходит потому, что при увеличении затяжки пружины 9 опускается поршень 19 серводвигателя 15, что вызывает движение золотника нагрузки вниз.
Дальнейшие процессы, происходящие в регуляторе, аналогичны вышеописанным. Так как на установившемся режиме золотник 18 своими дисками находится в положении перекрытия отверстий золотниковой втулки, то каждому положению правого конца коромысла (заданию частоты) будет соответствовать определенное положение левого конца коромысла (подача топлива). Таким образом, каждому скоростному режиму дизеля будет соответствовать определенная мощность, зависящая от выбора точки подвеса золотника. При смещении точки подвеса золотника в сторону серводвигателя 23 мощность увеличивается, а при смещении в сторону пружины 9 уменьшается. От выбора точки подвеса золотника зависит работа дизеля на экономических режимах, а следовательно, среднеэксплуатационный расход топлива.
Для возможности автоматической установки индуктивного датчика в положение минимального возбуждения при пуске дизеля, а также при трогании тепловоза и при его боксовании в регуляторе мощности имеется выключающее устройство 29. Установка индуктивного датчика в положение минимального возбуждения достигается включением электромагнита МР5. При этом улучшается пуск дизеля и обеспечивается плавное трогание тепловоза и выведение его из режима боксования. После прекращения боксования устройство обеспечивает плавное увеличение возбуждения тягового генератора.
Управление частотой вращения вала дизель-генератора. Регулятор имеет электрогидравлическую систему управления частотой вращения коленчатого вала с пятнадцатью фиксированными положениями. Электрогидравлическое управление состоит из следующих элементов (см. рис. 27) :
электромагнитов MPI, МР2, МРЗ, МР4, которые включаются контроллером в определенной последовательности и изменяют положение золотникового устройства;
золотникового устройства, управляющего подачей масла под давлением в серводвигатель управления 15;
гидравлического серводвигателя управления 15, который изменяет затяжку всережимной пружины регулятора;
жесткой обратной связи (тяга и рычаги 10, 11, 13), обеспечивающей устойчивость процесса задания частоты вращения.
Как видно из принципиальной схемы регулятора, три электромагнита МР2, MPI, МРЗ действуют на вершины треугольной пластины 1, поддерживаемой пружиной в верхнем положении. Перемещение треугольной пластины / через рычаг // передается золотнику 2, управляющему подачей масла в серводвигатель 15. Включением электромагнитов в определенной последовательности достигается семь различных ступеней частоты вращения. Четвертый электромагнит МР4 действует на золотниковую втулку 3. Результат его перемещения противоположен результату перемещения электромагнитов MPI, МР2, МРЗ.
При включении электромагнита МР4 золотниковая втулка движется вниз, открывая регулирующее отверстие в ней на слив, что ведет к уменьшению частоты вращения вала дизеля, при этом обратная связь перемещает золотник вниз, перекрывая отверстие в золотниковой втулке диском золотника. При выключении электромагнита МР4 золотниковая втулка движется вверх под действием пружины, расположенной под ней, открывая подвод масла к поршню 19, что ведет к увеличению частоты вращения вала. Использование электромагнита МР4 в комбинации с тремя электромагнитами MPI, МР2 и МРЗ удваивает число ступеней скорости.
Равновесное положение. На установившемся режиме золотник 2 своим диском перекрывает отверстие в золотниковой втулке 3, благодаря чему масло запирается в пространстве под поршнем 19 и обеспечивает его фиксирование при заданной частоте вращения.
Увеличение частоты вращения вала. При переводе контроллера с низших позиций на высшие включается один или комбинация электромагнитов MPI, МР2, МРЗ, МР4. Электромагнит или электромагниты перемещают вниз треугольную пластину /, которая через рычаг перемещает золотник 2 вниз. При этом диск золотника 2 открывает доступ масла под давлением из аккумулятора через регулирующее отверстие (определяющее скорость затяжки пружины 9) во вращающейся золотниковой втулке 3 к поршню 19 серводвигателя управления 15. Поршень 19 опускается, сжимая пружину 9 и вызывая схождение грузов; при этом регулятор перемещает рейки топливных насосов на увеличение подачи топлива. Одновременно жесткая обратная связь (тяга 10, рычаги 11, 13) возвращает золотник 2 в среднее положение, а диском золотника закрывает отверстие золотниковой втулки 3 и тем самым поршень устанавливается в положении, соответствующем включенным электромагнитам.
Уменьшение частоты вращения вала дизеля. При переводе контроллера с высших позиций на низшие один или комбинация электромагнитов MPI, МР2, МРЗ, МР4 обесточивается, и золотник 2 перемещается вверх пружиной 4, расположенной под ним. Полость под поршнем сообщается со сливом, что вызывает перемещение поршня 19 под действием пружины вверх и уменьшение затяжки пружины 9, при этом регулятор перемещает рейки топливных насосов на уменьшение подачи топлива. При движении поршня 19 вверх золотник 2 с помощью рычагов обратной связи возвращается в среднее положение, а поршень 19 займет новое положение, соответствующее включенным электромагнитам. Этот процесс снижения частоты вращения вала происходит в случае перевода рукоятки контроллера на две или более позиции. При этом масло свободно проходит над нижним сливным диском золотника в выпускное окно, чем достигается быстрое снижение частоты вращения.
При переводе рукоятки контроллера на одну позицию частота вращения вала дизеля снижается плавно, так как масло из серводвигателя перетекает в ванну регулятора через зазор между нижним диском золотника и золотниковой втулкой 3 (положительное перекрытие).
Корректоры регулятора. Регуляторы последних выпусков оборудованы корректорами ограничения нагрузки и подачи топлива в зависимости от давления наддувочного воздуха.
Принципиальная схема корректоров ограничения нагрузки и подачи топлива приведена на рис. 28. Корректоры состоят из датчика давления и системы рычагов, связанных с золотниками регулятора скорости и регулятора нагрузки.
Датчик давления наддувочного воздуха состоит из трех основных элементов: чувствительного, или измерителя давления наддувочного воздуха; серводвигателя, поршень которого под воздействием чувствительного элемента изменяет свое положение; дросселя, обеспечивающего определенный перепад давления масла между полостями над н под поршнем 7 серводвигателя.
Измеритель давления наддувочного воздуха состоит из сильфона 2 и конической пружины 4. Давление наддувочного воздуха уравновешивается усилием от деформации сильфона и конической пружины. При изменении давления наддувочного воздуха нарушается равновесие сил, клапан 3 открывается или закрывается, давление под поршнем увеличивается или падает, заставляя поршень перемещаться.
Серводвигатель состоит из дифференциального поршня, движущегося в цилиндре. Шток поршня через кулачок и систему рычагов связан с золотниками регулятора скорости и нагрузки.
В полость над поршнем 7 серводвигателя подводится под постоянным давлением рх = рак масло из аккумулятора регулятора через специальный фильтр 6. Под поршень масло поступает через дроссель 5 (набор шайб с калиброванными отверстиями) под давлением р2, меньшим, чем р,. Если давление наддува р8 не изменяется, усилие от сильфона уравновешивается усилием пружины 4, поэтому нормально клапан 3 находится в равновесном («подвешенном») состоянии и непрерывно пропускает масло на слив. Давление масла р2 в полости под поршнем меньше давления масла над поршнем р, = рак на величину падения давления масла в дросселе 5.
Рис. 28. Корректоры нагрузки и подачи топлива:
1—винт регулировочный, 2—сильфон, 3—клапан, 4, 8—пружины, 5—дроссель, 6—фильтр, 7—поршень, 9—датчик давления наддувочного возду ха, 10—серводвигатель управления, //—золот ник регулятора частоты вращения, 12—золотник регулятора нагрузки, 13—силовой серводвигатель
При увеличении давления наддува усилие от сильфона превышает усилие пружины, поэтому клапан 3 открывается на большую величину, количество вытекающего масла увеличивается и давление р2 масла под поршнем падает. Масло под давлением рх над поршнем смещает поршень вниз, увеличивая затяжку пружины 4 до появления равновесия между усилием от сильфона 2 и пружины 4. Клапан 3 при этом возвращается в равновесное состояние. Поршень 7 устанавливается в новом положении, соответствующем новому давлению наддувочного воздуха.
При уменьшении давления наддува усилие со стороны сильфона уменьшается и пружина 4 прижимает клапан 3 к седлу. Давление р2 масла под поршнем увеличивается и вызывает перемещение поршня 7 вверх. Пружина 4 распускается и ее усилие на сильфон уменьшается. Перемещение поршня вверх происходит до появления равновесия между усилиями от сильфона 2 и пружины 4. Клапан 3 возвращается в равновесное состояние. Поршень устанавливается в новом положении, соответствующем новому давлению наддувочного воздуха. Таким образом, каждому давлению наддувочного воздуха соответствует определенное положение поршня датчика.
Корректор ограничения нагрузки по давлению наддува (рис. 29) состоит из датчика давления наддувочного воздуха, рычага 4, тяги 5 и рычага /, связанного с золотником регулятора нагрузки.
Рис. 29. Корректор ограничения нагрузки: 1—рычаг; 2—поршень; 3—винт регулировочный; 4—рычаг; 5—тяга; 6—датчик давления наддувочного воздуха; 7—серводвигатель управления, 8—золотинк регулятора частоты вращения; 9— золотник системы регулирования нагрузки, 10— ролик; //—силовой серво шигатель
Рис. 30. Корректор ограничения подачи топлива:
1—рычаг, 2—поршень; 3—кулачок; 4—винт регулировочный; 5—рычаг; 6—тяга; 7—вннт регулировочный; 8—траверса; 9—струна; 10—серводвигатель управлення; //—золотник регулятора частоты вращения, 12—силовой серводвигатель; а, б—зазоры
Корректор ограничения подачи топлива (рис. 30) состоит из датчика давления наддува и рычагов. На штоке поршня 2 датчика закреплен на оси регулируемый кулачок 3. Изменение профиля кулачка выполняется регулировочным винтом 4. С кулачком 3 в постоянном контакте находится рычаг 5, тягой 6 и рычагом / соединенный со штоком силового серводвигателя регулятора. На струне 9, связанной с золотником 11 регулятора скорости, закреплена траверса 8 с регулировочным винтом 7.
Корректоры работают независимо друг от друга, используя сигнал от датчика давления наддува, положение поршня которого изменяется пропорционально изменению давления наддувочного воздуха в ресивере дизеля.
Работа корректора ограничения нагрузки при установившемся режиме. При установившемся режиме подача топлива соответствует нагрузке дизеля, давление наддува не изменяется. Поршень 2 (см. рис. 29) датчика неподвижен, его положение соответствует данному давлению. Между тягой 5 и роликом 10 установлен зазор а. Золотник регулятора нагрузки находится в положении перекрытия.
При уменьшении давления наддува поршень датчика перемещается вверх в положение, соответствующее уменьшенному давлению наддува. Рычаг 4 поворачивается и поднимает тягу 5, которая через рычаг 1 поднимает золотник регулятора нагрузки вверх от положения перекрытия на уменьшение возбуждения. Нагрузка на дизель уменьшается, и его частота вращения увеличивается. Вступает в работу регулятор скорости и уменьшает подачу топлива. Шток силового серводвигателя занимает новое положение, несколько ниже прежнего, рычаг 1 опускается с сохранением зазора, при этом золотник регулятора нагрузки возвращается в положение перекрытия. Устанавливается более низкий уровень возбуждения генератора и уменьшается подача топлива соответственно уменьшению давления наддувочного воздуха в ресивере дизеля.
С повышением давления наддувочного воздуха поршень 2 датчика перемещается вниз в положение, соответствующее увеличению давления наддува. Рычаг 4 и тяга 5 опускаются, между торцом поршня 2 датчика и регулировочным винтом 3 появляется зазор. Положение золотника регулятора нагрузки в этом случае определяется только положением штока силового серводвигателя и поршня серводвигателя управления, как в регуляторе 10Д100. 36С6 (без корректора). При неизменной нагрузке давление наддувочного воздуха не меняется; шток поршня 2 датчика занимает определенное положение, система рычагов неподвижна, между тягой 5 и роликом 10 сохраняется зазор а.
Работа корректора ограничения подачи топлива при изменении скоростного режима. При увеличении скоростного режима (переводе рукоятки контроллера) поршень серводвигателя управления (см. рис. 30) опускается вниз, увеличивая затяжку всережимной пружины. Грузы измерителя сходятся и золотник опускается, открывая окно на подвод масла к силовому серводвигателю. Золотник // и связанная с ним струна 9 могут опуститься вниз только на зазор а между рычагом 1 и винтом 7. Поршень силового серводвигателя перемещается вверх на увеличение подачи топлива и поднимает одновременно рычаг 1. Увеличение подачи топлива происходит до тех пор, пока рычаг 1, упираясь в винт 7, закрепленный на траверсе 8, не поднимет струну 9 и связанный с ней золотник 11 в положение перекрытия.
Увеличение подачи топлива приводит к увеличению давления наддувочного воздуха. Поршень датчика опускается вниз, рычаг 5 поворачивается по часовой стрелке (так отрегулирован кулачок 3), тяга 6 и рычаг 1 опускаются до появления зазора а. Процесс продолжается до установления заданного скоростного режима. После установления режима между рычагом / и винтом 7 вновь устанавливается зазор а.
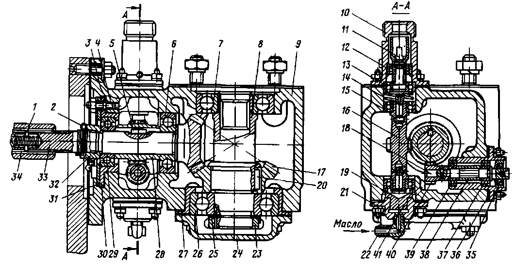
Рис 31 Регулятор частоти вращения (общий вид) 1, 51 — колпаки, 2 — верхний корпус, 3 — маслоуказатель, 4, 5, 6, 63 — пробки, 7 — корпус новки, // — поршень серводвигателя, 12 — корпус серводвигателя, 13 — корпус стоп-16, 42, 78 — золотники, 17 — верхний шток, 19 — стакан, 20, 29, 56, 62, 73 — поршнн, 22 — серводвигателя управления, ЗО, 39 — рычаги, 31 — шпилька, 32 — гайка, 33 — болт откидной, 38—штепсельный разъем, 40 — опора золотника, 41 — золотниковая втулка, 45 — шестерня, 50 — приводной вал, 52 — поводок, 53, 57 — крышки, 54 — шток, 55, 77 — корпуса, 58 —тре уплотнительные, 65, 67 — игольчатые клапаны (нглы), 69 — прокладка, 70 — плнта, 71 —
Работа корректора ограничения подачи топлива при увеличении давления наддувочного воздуха. В данном случае поршень 2 смещается вниз, рычаг 5 поворачивается по часовой стрелке, тяга 6 и рычаг 1 опускаются, зазор а увеличивается.
регулятора, 8, 49—нижние корпуса, 9— серводвигатель регулятора, 10— золотник оста-устройства, 14, 18, 21, 27, 43, 44, 61, 74, 75, 76 — пружины, 15 — золотниковая втулка, тарелка, 23 — корпус выключателя, 24 — эксцентрик, 25 — вннт, 26 — траверса, 28 — корпус 34 — тяга, 35 — электромагнит, 36—пружина измерителя, 37 — плита электромагнитов, 46 — корпус регулятора, 47 — золотниковая часть регулятора, 48 — ведущая шестерня насоса, угольная пластина, 59—пластинчатая пружина, 60—проставка, 64, 66, 68 — кольца стопорное кольцо, 72 — заглушка
При уменьшении давления наддувочного воздуха зазор а уменьшается. При пуске серводвигатель управления установлен в положение минимальной затяжки всережимнои пружины, соответствующей минимальной частоте вращения холостого хода, поршень силового серводвигателя находится в крайнем нижнем положении, а поршень 2 датчика — в крайнем верхнем положении. Между рычагом / и винтом 7 образован зазор б (больший а).
В момент пуска поршень силового серводвигателя поднимается вверх на увеличение подачи топлива до тех пор, пока рычаг /, дойдя до винта 7, не вернет золотник 11 в положение перекрытия. дизель пускается, и поршень силового серводвигателя устанавливается в положение подачи топлива холостого хода. Между рычагом / и винтом 7 устанавливается зазор а. Таким образом, при пуске происходит ограничение подачи топлива и снижение дымности.
Конструкция регулятора частоты вращения. Нижний корпус 49 с приводом (рис. 31) образует основание регулятора и своим фланцем устанавливается на корпус привода регулятора. В расточке корпуса помещены приводной вал 50, подшипник и сальник. В верхнем фланце имеется косой канал, через который подводится масло для смазывания шарикового подшипника вала привода.
Корпус регулятора 7 крепится к фланцу нижнего корпуса 49. В корпусе помещена золотниковая часть регулятора, приводимая во вращение приводным валом 50. В нижней части корпуса имеется расточка, в которой на оси помещена ведомая шестерня, составляющая вместе с ведущей шестерней масляный насос регулятора. В корпусе регулятора размещены два соединенных вместе аккумулятора масла. Аккумуляторы состоят из двух цилиндров, в каждом из которых находится поршень 73, нагруженный пружинами. Поршни расположены в нижней части корпуса.
На боковой стороне корпуса имеется расточка, в которой помещены буферный поршень 62 с пружинами 61, проставка 60 и пробка 63 с уплотни-тельным кольцом 64. В корпус регулятора ввернуты: маслоуказатель 3, пробка 4 для выпуска воздуха из масляных полостей обратной связи, пробка 5 для замера давления масла в аккумуляторе, пробка 6 для выпуска масла из регулятора, обратный клапан и штуцер для подсоединения пускового серводвигателя.
Золотниковая часть регулятора (рис. 32) состоит из буксы 1, золотника 18, траверсы 3 с грузами 4, тарелки 10, пружины всережимнои 5. Золотниковая часть вращается в центральном отверстии корпуса регулятора. Букса / по всей длине имеет ряд проточек с отверстиями в них, служащих для сообщения каналов корпуса регулятора с полостями золотника 18. В нижнюю часть буксы 1 запрессована золотниковая втулка 17. В средней
Рис. 32. Золотниковая часть: 1—букса, 2—шестерня (корпус демпфера), 3— траверса, 4—груз измерителя, 5—-пружина в'се-режимиая, 6—струна, 7—опора, 8—гайка, 9—пру жииа, 10—тарелка, //—подшипник, 12—муфта, 13—уплотнительное кольцо, 14—пружниио-гид-равлический демпфер, 15—подшипник, 16—втулка, 17—втулка золотниковая, 18—золотник части золотниковой втулки имеются регулировочные отверстия, которые перекрываются пояском золотника при работе на установившемся режиме. В нижней части золотниковой втулки выполнены шлицы, соединяющиеся со шлицами ведущей шестерни масляного насоса. В верхней части буксы / установлена направляющая втулка 16, закрепленная стопорным кольцом.
На верхней плоскости траверсы закреплен фланец, служащий для ограничения поворота грузов. Внутри буксы установлен золотник 18, имеющий компенсационный поясок и регулировочный поясок, высота которого равна диаметру регулировочных отверстий в золотниковой втулке 17. На верхней части золотника выполнены шлицы, на которых установлена тарелка 10 с подшипником 11, закрепленная гайкой 8. Под тарелкой 10 установлена шайба-, на которую опирается пружина, обеспечивающая контактирование тарелки с гайкой 8. На тарелке 10 закреплена пружина всережимная 5, опирающаяся вверху на опору 7.
Шестерня (корпус демпфера) 2 напрессована на буксу 1 и несет на себе траверсу 3, рычаги с грузами и их ограничители. Грузы качаются на осях на игольчатых подшипниках. На осях установлены прокладки, обеспечивающие осевой люфт грузов. Положение золотника 18 относительно золотниковой втулки 17 регулируется гайкой 8 так, чтобы при верхнем крайнем положении золотника (грузы разведены) и нижнем крайнем положении золотника (грузы сведены) поясок золотника открывал отверстия в золотниковой втулке на одинаковую величину.
Серводвигатель регулятора (см. рис. 31) прикреплен к боковой поверхности корпуса 46. Шток уплотнен в крышке сальником и имеет серьгу для соединения с рычажной системой привода реек топливных насосов. На верхнем штоке имеется винт 25 для регулировки уровня мощности, поддерживаемого регулятором. В корпусе серводвигателя установлена игла 65 для регулирования устойчивости системы. Игла уплотнена в корпусе резиновым кольцом 66. Верхний корпус прикреплен к корпусу регулятора четырьмя болтами. В верхнем корпусе 2 расположены узлы регулирования мощности и узлы электрогидравлической системы управления частотой вращения. На задней стенке верхнего корпуса 2 установлена плита 70.
Система каналов, выполненная в плите 70 и в корпусе 2, соответствует приведенной на принципиальной схеме. В отверстии верхнего корпуса со стороны серводвигателя размещено золотниковое устройство регулятора мощности, состоящее из золотника 16, золотниковой втулки 15 и пружины 14, фиксирующих золотниковую втулку в среднем положении. В приливы корпуса ввернуты две иглы 67, которыми регулируется быстродействие регулятора мощности. Иглы уплотнены в корпусе резиновыми кольцами 68.
В верхнем корпусе имеется отключающее устройство для установки индуктивного датчика в положение наименьшего возбуждения при боксова-нии тепловоза, а также при его трогании. Поршень 20 свободно перемещается в корпусе 23, полость под поршнем 20 сообщается с золотником 78. При включении электромагнита МР5 его шток перемещает золотник 78 вниз, открывая доступ масла из аккумулятора к поршню 20, который перемещает золотник 16 вверх, при этом якорь индуктивного датчика устанавливается в положение наименьшего возбуждения (якорь вдвинут в катушку). На золотнике 16 установлен эксцентрик 24, которым регулируется положение золотника по высоте. Точка подвески золотника 16 к рычажной системе может изменяться с помощью регулировочного винта.
К верхнему корпусу 2 крепится серводвигатель с индуктивным датчиком. В корпусе 55 серводвигателя помещен поршень 56 со штоком 54. Шток уплотнен сальниками, расположенными в крышке 53. Индуктивный датчик закреплен на корпусе 55 серводвигателя. На крышке 53 установлен колпак 51.
Плита с электромагнитами прикреплена к верхней плоскости верхнего корпуса 2. Электромагниты ввинчены в плиту. Ход якоря электромагнита регулируется пробкой, установленной в верхней части электромагнита. Якоря трех электромагнитов MPI, МР2 и МРЗ действуют на вершины треугольной пластины, а якорь четвертого электромагнита МР4 — на золотниковую втулку 41. На плите установлен кронштейн, на котором крепится штепсельный разъем для подвода питания к электромагнитам.
Треугольная пластина 58 фиксируется двумя пластинчатыми пружинами, концы которых зажаты винтами крепления корпуса серводвигателя управления 28, треугольная пластина 58 прижимается пружиной вверх и удерживает якоря трех электромагнитов MPI, МР2 и МРЗ (при обесточенном состоянии) в верхнем положении
Золотниковая часть управления (см. рис. 31) размещена в приливе верхнего корпуса и состоит из золотника 42 и золотниковой втулки 41 с шестерней 45, приводимой во вращение от шестерни 2 (см. рис. 32). С помощью пружины 43 золотниковая втулка 41 (см. рис. 31) прижимается вверх и удерживает якорь электромагнита МР4 (при его обесточенном состоянии) в верхнем положении. Пружина 44 золотника 42 обеспечивает контакт рычага 39 с треугольной пластиной 58.
Серводвигатель управления прикреплен к верхней плоскости верхнего корпуса. В корпус серводвигателя ввернут винт, служащий для установки минимальной частоты вращения. Рычажная система 30, 34, 39 связывает золотник 42 с поршнем и представляет собой жесткую обратную связь. Для ручного управления частотой вращения вала дизеля в случае неисправности электрогидравлической системы управления предусмотрен специальный винт, установленный в колпаке / регулятора. При ручном управлении колпак / снимают. Для перехода на ручное управление необходимо снять с регулятора фишку штепсельного разъема, вывернуть винт из колпака 1 и пробку, расположенную над шпилькой 31, навернуть винт на шпильку 31. При навертывании винта на шпильку 31 шток с поршнем 29 перемещается вниз, увеличивая затяжку пружины 27.
Золотник остановки предназначен как для автоматической остановки дизель-генератора в случае падения давления масла в системе смазки ниже допускаемого значения, так и для дистанционной остановки. Золотник корпусом крепится к серводвигателю регулятора.
Конструктивные отличия регуляторов, выпускаемых со встроенными корректорами. Конструкция регулятора 1 ОД 100. 36сб-1 с корректорами отличается от регулятора 10Д100. 36С6 измененными узлами: верхним корпусом; колпаком; серводвигателем регулятора нагрузки с торцовым индуктивным датчиком; плитой каналов с фильтром, датчиком давления с системой рычагов; треугольной пластиной, имеющей биметаллический компенсатор.
Верхний корпус 1 (рис. 33) отличается от верхнего корпуса регулятора 10Д100. 36С6 конфигурацией в плане, расположением и конфигурацией отверстий для подвода масла к серводвигателю регулятора нагрузки 9, креплением колпака, расточкой под пружину колпака 5-го электромагнита (МР5), наличием угольника 11м штуцера 12 для подвода наддувочного воздуха от ресивера к датчику.
Колпак отличается конфигурацией в плане и наличием отверстий для четырех болтов крепления колпака к верхнему корпусу.
Серводвигатель регулятора нагрузки отличается конструкцией. Корпус серводвигателя крепится к верхнему корпусу регулятора четырьмя шпильками. На корпус установлена крышка 20, внутри которой имеется уплотняющая манжета 19, манжетодержатель 18 и запорное кольцо 17. Шток 16 поршня 15 является одновременно сердечником торцового индуктивного датчика 10 (электрические характеристики сохранены). Индуктивный датчик прикреплен к крышке 20 четырьмя болтами. Плита 14 имеет прилив для размещения фильтра 13 и масляные каналы.
Фильтр предохраняет от засорения дроссель датчика давления. Состоит фильтр из сетки 23, свернутой вокруг каркаса (пружины) 24 и припаянной к корпусу фильтра 21. Для слива отстоя масла в плиту 14 ввернута пробка 25.
Рис 33 Регулятор со встроенным корректором 1—корпус верхний, 2—колпак, 3—датчик давления наддува, 4—рычажная система, 5—тяга, 6— струна, 7—траверса, 8—рычаг, 9—серводвигатель регулятора нагрузки, 10—индуктивный датчик, 11—угольник, 12—штуцер, 13—фильтр, 14—плита, 15—поршень, 16—шток, 17—кольцо запорное, 18—манжетодержатель, 19—манжета, 20—крышка, 21—корпус фильтра, 22—кольцо уплотннтельное, 23—сетка, 24—каркас (пружина), 25—пробка
Датчик давления с системой рычагов. Датчик давления (рис. 34) установлен иа верхнем корпусе регулятора. В корпусе датчика размещены детали серводвигателя выключения золотника регулятора нагрузки с добавлением деталей датчика. Собственно датчик состоит из сильфона 24, который измеряет давление наддувочного воздуха. Внутри сильфона расположена пружина /. На дно сильфона опирается клапан 23 с конической пружиной 22. В корпусе датчика установлена гильза 20 и дифференциальный поршень 21 с опорой и регулируемым кулачком 14. Масло от насоса регулятора поступает к дифференциальному поршню через обратный клапан 11 и дроссель 7 (набор шайб с калиброванными отверстиями). На корпус крепится кронштейн, на котором подвешены рычаги 16 и 17 на подшипниках. Поршень 21 через рычаги 16 и 17, тягу 5 (см. рис. 33) и рычаг 8 связан с рычажной системой 4 и струной 6.
Привод регулятора и тахометра. Привод (рис. 35) представляет собой редуктор, состоящий из конической и двух винтовых зубчатых передач, помещенных в специальном корпусе 9, который установлен на плите насосов. Вал 33 привода шлицевой муфты связан с винтовой шестерней узла привода масляного насоса и лежит в двух шариковых подшипниках 6 и 29. Для восприятия осевых усилий наружное кольцо подшипника 29 зажато фланцем 31 в стакане 30. За одно целое с валом 33 выполнена и коническая шестерня, входящая в зацепление с шестерней 17, закрепленной шпонкой 20 на валу 8. В средней части вала 33 на шпонке 5 посажена винтовая шестерня 28, находящаяся в зацеплении с шестерней вала 16 и шестерней 40, зафиксированной штифтом на валу 18. Внутренние кольца шариковых подшипников 6 и 29 с шестерней 28 зафиксированы на валу 33 гайкой 32, удерживаемой от отвертывания шплинтом 2. Боковой зазор между зубьями конических шестерен регулируется изменением толщины пакета прокладок 3, установленных между корпусом привода и стаканом 30. Пустотелый вал 8 вращается в двух шариковых подшипниках 7 и 26. Внутреннее кольцо шарикового подшипника 26 зажато гайкой 23 со стопорной шайбой 25. Наружное кольцо подшипника установлено в стакане 27 и зажато крышкой 24 подшипника. Этот подшипник является радиально-упорным. На внутренней поверхности вала 8 нарезаны шлицы.
Вал 16 вращается в двух шариковых подшипниках 15 и 41, которые перемещаются в осевом направлении. В отверстиях вала 16 с обеих сторон установлены тарелки, крепящие внутренние кольца подшипников 15 и 41. Сами тарелки на валу 16 закреплены штифтами. Вал // привода тахометра вращается в двух шариковых подшипниках 12 и 13, нижняя часть его имеет тарельчатую форму. Своей верхней частью вал // соединен с гибким валиком механического тахометра двигателя.
Рис 34 Датчик давления наддувочного воздуха
1, 9—пружины, 2—корпус сильфона, 3—кольцо уплотиительное, 4, 15—винты регулировочные, 5—штуцер, 6, 20—гильзы, 7—дроссель, 8— корпус дросселя, 10—фильтр с клапаном, 11, 23—клапаны, 12, 18—стопорные кольца, 13— шток, 14—кулачок, 16, 17—рычаги, 19—тарелка, 21—поршень, 22—пружина датчика, 24—снльфон
Рис. 35. Привод регулятора и тахометра: 1, 14—пружины; 2—шплинт, 3—набор прокладок, 4—шпилька, 5, 20—шпонки, 6, 7, 12, 13, 15, 26, 29, 37, 39, 41—шариковые подшипники, 8—вал приводной, 9—корпус, 10—штуцер, 11—вал привода тахометра, 16, 33—валы, 17—коническая шестерня, 18—вал ручного замера, 19—поршень, 21—крышка, 22—угольник, 23—стопорная гайка, 24—крышка подшипника, 25—стопорная шайба, 27, 30, 36— стаканы, 28, 40—шестерни, 31—фланец, 32—гайка; 34—вал соединительный, 35—сальник, 38—втулка
Чтобы включить тахометр, необходимо нажать кнопку, обеспечив доступ воздуха к приводу. При нажатой кнопке масло под давлением воздуха через угольник 22, завернутый в крышку 21, заполняет пространство под поршнем 19. Перемещаясь вверх, под давлением масла поршень 19 через шариковый подшипник 41 перемещает вместе с шариковым подшипником 15 вращающийся вал 16, сжимая пружину 14 до тех пор, пока не будет выбран зазор между тарелками валов 11 и 16. За счет трения между тарелками вращение от вала 16 будет передаваться через вал 11 гибкому валику тахометра. При отпускании кнопки прекращается доступ воздуха, в результате чего падает давление масла. Пружина 14 раздвигает тарелки валов 11 и 16, механический тахометр выключается.
Вал 18 служит для ручного замера частоты вращения коленчатого вала дизеля. Он вращается в двух шариковых подшипниках 37 и 39. Их наружные кольца расположены в стакане 36, а между внутренними установлена втулка 38. Хвостовик вала 18, уплотненный в стакане 36 сальником 35, имеет отверстие с конусом, к поверхности которого во время замера частоты вращения вала дизеля прижимается наконечник ручного тахометра. Боковой зазор в зацеплениях винтовых шестерен обеспечивается методом подбора в процессе сборки. Все детали привода смазываются разбрызгиванием масла, заливаемого через штуцер 10 перед установкой привода на дизель и в процессе эксплуатации в количестве 0,5 кг.










