PLASTWIL

PLASTWIL - Rail Plastics Processing Plant



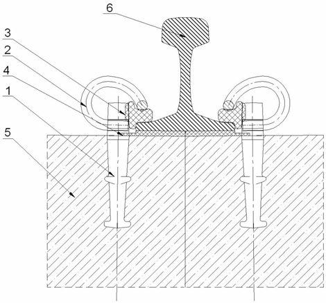
Elastic rail-fastening system

The SB-W1 elastic rail-fastening system consists of an SB3/3 cast iron anchor, SB4 spring clip for rails, WKW60 electro-insulating hold-down pad, PWE shaped cushion, concrete sleeper and a rail.

  • Elastic rail-fastening system
  • PWE cushions
  • Electro-insulating pad
  • The dowel
  • Ballast track structure
  •  

| 1 | 2 | 3 | 4 | 5 |


Send an Enquiry to this Company


The details you provide will not be used to send unsolicited emails.
For further information please read our Privacy Policy.




Home
New On This Site
Products & Services
Company A-Z
Industry Projects
Features
White Papers
Jobs & Careers
Industry News
Gallery
Events & Exhibitions
Newsletter Sign-Up
Advertise With Us
About Us
Client Area


RSS What is RSS
The website for the railway industry