СЦБИСТ - железнодорожный форум, блоги, фотогалерея, социальная сеть
Вернуться   СЦБИСТ - железнодорожный форум, блоги, фотогалерея, социальная сеть > Локомотивный комплекс > Машинисты
Машинисты Подфорум машинистов для общения и обмена опытом. Смотрите также: документация, книги, инструкции, видео.
#ВЛ80, #ВЛ80С, #ВЛ80Т, #ВЛ60, #ВЛ85, #ВЛ11, #ЭП1, #ЭП200, #Э5К, #2ЭС5К/3ЭС5К/4ЭС5К, #2ЭС5, #ЧС6, #ЧС7, #ЧС200, #ВЛ15, #ЭП2К, #2ЭС4К, #2ЭС6, #2ЭС10, #ВЛ82, #ЭП20, #ТЭМ2, #ТЭМ9H, #ТЭП70/ТЭП75, #ТЭП80, #ТЭП150, #ТЭМ7/ТЭМ9, #ТЭМ14, #ТЭМ-ТМХ, #ЧМЭ3, #ЧМЭ5, #2ТЭ25А/К/КМ, #2ТЭ116/3ТЭ116, #ТГМ, #Сапсан, #Ласточка
Закладки ДневникиПоддержка Сообщество Комментарии к фото Сообщения за день
Ответить в этой теме   Перейти в раздел этой темы   Translate to English    
 
Translate to English В мои закладки Подписка на тему по электронной почте Отправить другу по электронной почте Опции темы Поиск в этой теме
Старый 01.07.2012, 15:10   #1 (ссылка)
Banned
 
Аватар для Анонимный

Регистрация: 07.05.2009
Сообщений: 6,489
Поблагодарил: 0 раз(а)
Поблагодарили 261 раз(а)
Фотоальбомы: не добавлял
Репутация: -28

Тема: Чертеж МОП ЭД118Б


Доброго времени! Кто-нибудь может помочь с рабочим чертежом МОПа ЭД-118Б? Токарь сменился, а половина чертежей пропало после сокращения/развала техотдела. Помогите!
Анонимный вне форума   Цитировать 0
Старый 19.01.2013, 14:28   #2 (ссылка)
V.I.P.
 
Аватар для Каганович

Регистрация: 25.08.2012
Адрес: Украина
Возраст: 45
Сообщений: 173
Поблагодарил: 3 раз(а)
Поблагодарили 17 раз(а)
Фотоальбомы: не добавлял
Репутация: 5
зайди на сайт-портал донецкой дороги.Там много книг,скачиваются без проблем
Каганович вне форума   Цитировать 0
Старый 19.01.2013, 15:43   #3 (ссылка)
Crow indian
 
Аватар для Admin

Регистрация: 21.02.2009
Возраст: 40
Сообщений: 29,997
Поблагодарил: 398 раз(а)
Поблагодарили 5988 раз(а)
Фотоальбомы: 2576 фото
Записей в дневнике: 698
Репутация: 126089
чертежа этого двигателя в интернете нет

Admin добавил 19.01.2013 в 16:43


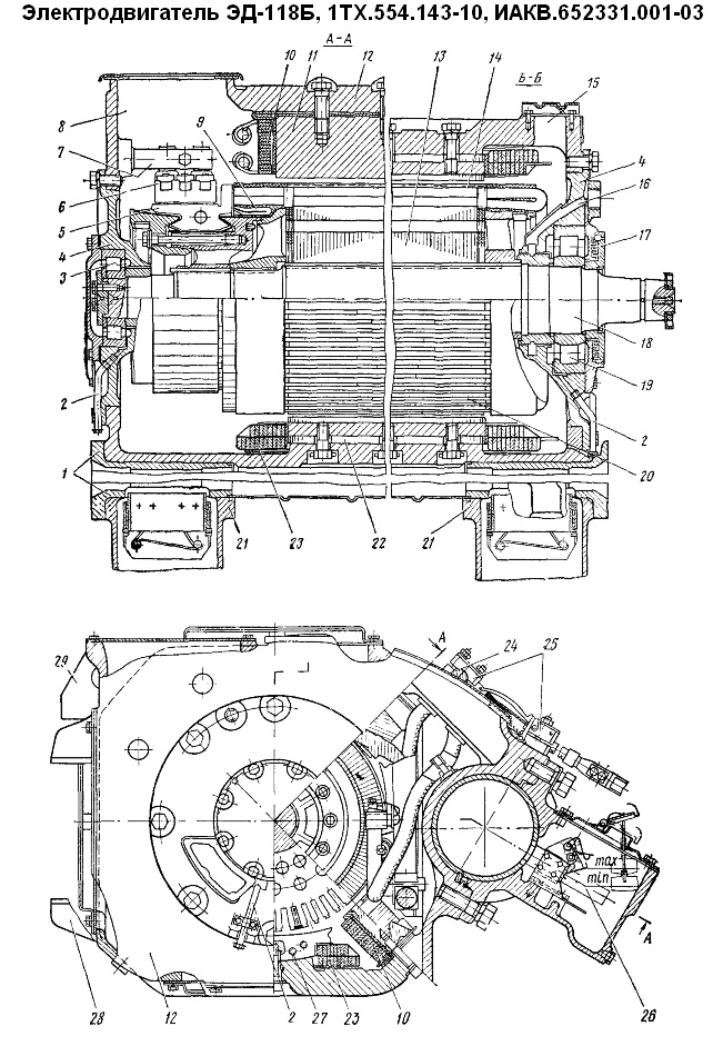
1. вкладыш моторно-осевого подшипника;
2. трубки подачи смазки;
3. роликовые подшипники;
4. шиты подшипниковые;
5. коллектор;
6. корпус щеткодержателя;
7. кронштейн;
8. вентиляционное отверстие;
9. уравнительные соединения;
10. катушки добавочного полюса;
11. сердечник добавочного полюса;
12. остов;
13. сердечник якоря;
14. обмотка якоря;
15. выпускные отверстия;
16. дренажное отверстие;
17. лабиринтное кольцо;
18. вал;
19. роликовые подшипники;
20. стеклотекстолитовый клин;
21. корпуса (шапки) моторно-осевых подшипников;
22. сердечник главного полюса;
23. катушка главного полюса;
24. выводной провод (кабель);
25. зажимы;
26. смазочный фитиль;
27. заклепка;
28. опорные приливы;
29. предохранительные приливы.



Тяговый электродвигатель ЭД-118Б - электродвигатель постоянного тока последовательного возбуждения с четырьмя главными и четырьмя добавочными полюсами. Магнитная система его состоит из остова с полюсами, имеющими катушки. Остов изготавливается в виде цельной отливки из низкоуглеродистой стали. В поперечном сечении остов представляет собой неправильный восьмиугольник. Восьмигранная форма остова при четырехполюсной системе позволяет реализовать больший вращающий момент по сравнению с традиционным круглым остовом в том же объеме. Остов выполняет роль магнитного сердечника и механической основы всей конструкции электродвигателя.
Главные полюсы создают основной магнитный поток в машине, а добавочные полюсы обеспечивают нормальную коммутацию. Главные полюсы закреплены на остове болтами и состоят из сердечника и катушки полюса.
Сердечник набирается из штампованных листов низкоуглеродистой стали, скрепленных заклепками. Катушки главных полюсов намотаны из меди прямоугольного сечения в виде двух полюсных шайб. Изоляция катушек главных полюсов электродвигателя класса Р. Сердечник главного полюса с установленной катушкой пропитывается в эпоксидном компаунде. Таким образом, сердечник и катушка главного полюса после компаундирования представляют неразъемную конструкцию, устойчивую к вибрациям и температурным воздействиям.
Сердечники добавочных полюсов изготовляют из толстолистовой стали с низким содержанием углерода. Форма и размеры сердечника выбраны из условия обеспечения наилучшей коммутации электродвигателя. Катушки добавочных полюсов изготовляют из полосовой меди, намотанной на ребро с межвитковой изоляцией класса Р.
Якорь состоит из вала, сердечника, обмотки, коллектора. Вал изготовляют из высокопрочной легированной стали. Сердечник якоря шихтуется из листов электротехнической стали, в которых выштампованы прямоугольные пазы для укладки в сердечник обмотки и вентиляционные отверстия. Обмотка якоря выполнена петлевой с уравнительными соединениями первого рода со стороны коллектора.
Коллектор электродвигателя - арочного типа состоит из литой втулки, комплекта пластин, манжет и нажимного конуса. Собранный коллектор прессуется, конус и втулка стягивают комплект пластин. С целью исключения возможности проникновения влаги во внутреннюю полость коллектора его внутренняя полость проверяется на газоплотность.


Admin добавил 19.01.2013 в 16:43
Спецификация:

Электродвигатель ЭД-118Б ИАКВ.652331.001-03
Болт БИЛТ.758123.004
Болт БИЛТ.758123.007
Вкладыш БИЛТ.304139.008
Вкладыш БИЛТ.304139.009
Гайка специальная БИЛТ.758431.003
Заглушка БИЛТ.741122.138
Клица БИЛТ.741482.009
Клица БИЛТ.741482.010
Клица БИЛТ.741482.010-01
Клица БИЛТ.741474.076
Козырек БИЛТ.305133.002
Крыжа БИЛТ.301161.004
Крышка БИЛТ.301161.003
Крышка БИЛТ.301174.009
Пластина БИЛТ.741332.029
Пластина БИЛТ.741342.020
Подшипник БИЛТ.304422.002-01
Пробка БИЛТ.713521.001
Пружина пластинчатая БИЛТ.753641.002
Рычаг БИЛТ.743155.001
Сетка БИЛТ.752689.001
Система магнитная БИЛТ.684212.009
Скоба БИЛТ.746773.001
Шайба БИЛТ.758486.001-01
Шайба БИЛТ.758486.001-02
Шайба БИЛТ.758486.001-06
Шайба пружинная БИЛТ.758486.003
Щит подшипниковый БИЛТ.304119.006
Щит подшипниковый БИЛТ.304119.011
Якорь БИЛТ.684263.005-02
Щит подшпниковый ЭД-118Б со стороны коллектора
Кольцо уплотнительное БИЛТ.711675.001
Крышка БИЛТ.735522.001
Крышка подшипника БИЛТ.751691.040
Прокладка БИЛТ.754162.012
Скоба БИЛТ.745482.036
Трубка БИЛТ.723757.002
Шайба БИЛТ.758486.001
Шайба БИЛТ.758486.001-03
Шайба БИЛТ.758491.033
Щит подшипниковый БИЛТ.304119.007
Щит подшпниковый ЭД-118Б со стороны привода
Болт БИЛТ.758123.003
Крышка БИЛТ.735522.001
Крышка подшипника БИЛТ.751691.030
Прокладка БИЛТ.754162.012
Скоба БИЛТ.745482.036
Трубка БИЛТ.723157.003
Шайба БИЛТ.741212.010
Шайба БИЛТ.758486.001
Шайба БИЛТ.758486.001-02
Шайба БИЛТ.758491.033
Шайба упорная БИЛТ.711322.002
Щит подшипниковый БИЛТ.712372.007
Якорь ЭД-118Б
Болт БИЛТ.758121.053
Болт БИЛТ.758124.017
Вал БИЛТ.716714.001
Втулка коллектора БИЛТ.713362.008
Втулка коллектора БИЛТ.713456.001
Груз балансировочный БИЛТ.741142.003
Груз балансировочный БИЛТ.741142.011
Груз балансировочный БИЛТ.741331.003
Клин БИЛТ.742173.002
Коллектор БИЛТ.685131.011
Кольцо БИЛТ.711651.003
Кольцо БИЛТ.711651.004
Конус нажимной БИЛТ.712376.004
Конус нажимной БИЛТ.712375.002
Коронка БИЛТ.735644.001
Лист якорный БИЛТ.684361.018
Лист якорный БИЛТ.757211.012
Лист якорный БИЛТ.757211.012-01
Манжета БИЛТ.712171.001
Манжета БИЛТ.712171.002
Пластина БИЛТ.723345.056
Пластина БИЛТ.723345.056-01
Прокладка БИЛТ.741131.065
Прокладка миканитовая БИЛТ.741362.104
Сегмент БИЛТ.723321.046
Сегмент БИЛТ.723336.001-01
Секция БИЛТ.685474.005
Уравнитель БИЛТ.685479.013
Шайба БИЛТ.741122.020
Шайба БИЛТ.758491.006
Шайба нажимная БИЛТ.301539.042
Шайба нажимная БИЛТ.712352.003
Шпонка БИЛТ.758552.020
Шпонка БИЛТ.758552.020-01
Шпонка БИЛТ.758552.012
Магнитная система ЭД-118Б
Амортизатор БИЛТ.753695.002
Болт БИЛТ.758114.001
Болт БИЛТ.758123.009
Болт БИЛТ.758123.015
Болт БИЛТ.758129.001
Втулка БИЛТ.713441.010-02
Гайка БИЛТ.758412.014
Гайка специальная БИЛТ.758431.003
Лента БИЛТ.745261.039
Лента БИЛТ.745261.039-02
Лента БИЛТ.745261.041
Лента БИЛТ.745261.042
Накладка БИЛТ.741212.019
Накладка БИЛТ.741212.020
Накладка БИЛТ.741422.027
Полюс главный БИЛТ.684331.011
Полюс главный БИЛТ.684331.011-01
Полюс добавочный БИЛТ.684334.003
Прокладка БИЛТ.741132.080
Профиль резиновый БИЛТ.740647.001
Пружина пластинчатая БИЛТ.753641.002
Рамка БИЛТ.305314.003
Рамка БИЛТ.305413.010
Соединение проводное БИЛТ.685614.001
Соединение проводное БИЛТ.685617.005
Соединение проводное БИЛТ.685618.001-05
Соединение проводное БИЛТ.685618.002
Соединение проводное БИЛТ.685618.002-07
Соединение проводное БИЛТ.685618.002-08
Соединение проводное БИЛТ.685618.002-13
Соединение проводное БИЛТ.685618.002-14
Соединение проводное БИЛТ.685618.002-15
Соединение проводное ЕИЛТ.685614.002-01
Стержень БИЛТ.741132.223
Хомутик БИЛТ.758581.002
Шайба БИЛТ.758486.001-02
Шайба БИЛТ.758486.001-03
Шайба БИЛТ.758486.001-04
Шайба БИЛТ.758486.001-06
Шина БИЛТ.685527.028
Шина БИЛТ.685527.028-01
Щеткодержатель БИЛТ.301521.065
Подшипник осевой ЭД-118Б
Коробка БИЛТ.305139.008
Крышка БИЛТ.301171.015-02
Крышка БИЛТ.741212.050
Маслоуказатель БИЛТ.306766.001
Подшипник БИЛТ.304422.003
Польстер БИЛТ.306762.001
Пробка БИЛТ.752454.003
Пробка БИЛТ.753125.002
Прокладка БИЛТ.754142.033
Прокладка уплотнительная БИЛТ.754165.017
Пружина БИЛТ.753662.003
Шайба БИЛТ.758486.001-02
Шайба БИЛТ.758486.001-03
Польстер ЭД-118Б, Система смазочная
Корпус БИЛТ.301116.065
Ось БИЛТ.715112.007
Пружина БИЛТ.753572.002
Пружина БИЛТ.753572.003
Рычаг БИЛТ.743351.001
Рычаг БИЛТ.743351.001-01
Трубка БИЛТ.723111.042
Трубка БИЛТ.723111.043
Щеткодержатель ЭД-118Б
Заклепка БИЛТ.758316.002
Корпус БИЛТ.731493.004
Ось БИЛТ.711111.028
Палец БИЛТ.301623.001
Пружина спиральная БИЛТ.753633.003
Скоба БИЛТ.745481.016
Фиксатор БИЛТ.304261.008
Шайба БИЛТ.758486.001
Щетка ЗГ-61 ИЛЕА.685271.026

Последний раз редактировалось Admin; 19.01.2013 в 15:43. Причина: Добавлено сообщение
Admin вне форума   Цитировать 12
Поблагодарили:
Данный пост получил благодарности от пользователей
Похожие темы
Тема Автор Раздел Ответов Последнее сообщение
=Диплом= смк-30 чертеж Анатолий2012 Курсовое и дипломное проектирование 0 12.05.2012 11:34
чертеж пк-21 серёга боцвин Ищу/Предлагаю 0 24.04.2012 22:51
=Диплом= чертеж нужен lajssan Курсовое и дипломное проектирование 0 13.04.2012 12:08
Чертеж консоли sTARcRAB Поиск документации 2 14.08.2010 20:32
Ищу чертеж ШРУ-М Анонимный Общие вопросы эксплуатации устройств СЦБ 29 08.07.2009 07:56

Ответить в этой теме   Перейти в раздел этой темы   Translate to English

Возможно вас заинтересует информация по следующим меткам (темам):


Здесь присутствуют: 1 (пользователей: 0 , гостей: 1)
 

Ваши права в разделе
Вы не можете создавать новые темы
Вы не можете отвечать в темах
Вы не можете прикреплять вложения
Вы не можете редактировать свои сообщения

BB коды Вкл.
Смайлы Вкл.
[IMG] код Вкл.
HTML код Выкл.
Trackbacks are Вкл.
Pingbacks are Вкл.
Refbacks are Выкл.



Часовой пояс GMT +3, время: 23:44.

Яндекс.Метрика Справочник 
сцбист.ру сцбист.рф

СЦБИСТ (ранее назывался: Форум СЦБистов - Railway Automation Forum) - крупнейший сайт работников локомотивного хозяйства, движенцев, эсцебистов, путейцев, контактников, вагонников, связистов, проводников, работников ЦФТО, ИВЦ железных дорог, дистанций погрузочно-разгрузочных работ и других железнодорожников.
Связь с администрацией сайта: admin@scbist.com
1 2 3 4 5 6 7 8 9 10 11 12 13 14 15 16 17 18 19 20 21 22 23 24 25 26 27 28 29 30 31 32 33 34 
Powered by vBulletin® Version 3.8.1
Copyright ©2000 - 2026, Jelsoft Enterprises Ltd.
Powered by NuWiki v1.3 RC1 Copyright ©2006-2007, NuHit, LLC Перевод: zCarot