СЦБИСТ - железнодорожный форум, блоги, фотогалерея, социальная сеть
Вернуться   СЦБИСТ - железнодорожный форум, блоги, фотогалерея, социальная сеть > Помощь студентам, аспирантам, учащимся > Курсовое и дипломное проектирование
Курсовое и дипломное проектирование Помощь в написании дипломов и курсовых работ
Закладки ДневникиПоддержка Социальные группы Поиск Сообщения за день Все разделы прочитаны Комментарии к фото Сообщения за день
Ответить в этой теме   Перейти в раздел этой темы    
 
В мои закладки Подписка на тему по электронной почте Отправить другу по электронной почте Опции темы Поиск в этой теме
Старый 17.02.2014, 17:55   #16 (ссылка)
Super V.I.P.
 
Аватар для Shaddix

Регистрация: 24.11.2009
Возраст: 40
Сообщений: 519
Поблагодарил: 29 раз(а)
Поблагодарили 83 раз(а)
Фотоальбомы: не добавлял
Репутация: 60

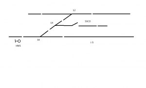
стр 12/14 - спаренная,
16со, 18 - одиночные
задался вопросом, является ли стр. 16со негабаритной к стр. 18? Сигнал НМ1 открывается на 1 гл путь, при занятом блок участке 14-16СП, 16со в "-" положении, не на сброс.

В схеме кодирования маршрута передачи по НМ1 на 1 П в кодовключающем реле задействован фронтовой контакт повторителя 14-16СП; при занятом участке 14-16СП идет сбой кодов
__________________
здесь чудес не бывает

Последний раз редактировалось Shaddix; 17.02.2014 в 18:01.
Shaddix вне форума   Цитировать 0
Старый 17.02.2014, 20:37   #17 (ссылка)
Super V.I.P.
 
Аватар для KSMKOV

Регистрация: 27.12.2011
Сообщений: 506
Поблагодарил: 47 раз(а)
Поблагодарили 103 раз(а)
Фотоальбомы: не добавлял
Репутация: 76
Что за негабаритная стрелка? может охранная?
А стык между 14 и 18 стрелкой случаем негабаритный? Со схемой кодирования не понятно, так не должно быть. Если смотришь реальную схему, то все охранные стрелки и негабаритные стыки должны быть включены в цепь реле Вз стрелки (в твоем случае стр 18). А уж его контакт включается в цепь кодирования и сигнальную. Хотя конечно, смотря какие схемы.
KSMKOV вне форума   Цитировать 0
Похожие темы
Тема Автор Раздел Ответов Последнее сообщение
=Курсовая работа= Проект двухпутного перегона от станции А до станции Б протяженностью 6800 метров Admin Дипломы, курсовые, лекции, рефераты по СЦБ 5 31.07.2014 20:31
=Курсовая работа= Расчёт показателей работы станции (Технологический процесс работы станции) Admin Студенту-движeнцу 0 17.12.2012 11:23
Особенности работы станций примыкания подъездных путей необщего пользования и специализированных станций Admin Wiki 1 28.11.2012 10:36
Технология обработки сборного поезда на промежуточной станции,технол. обработки поездов на участковой станции и на сортировочной ст.. Marina Semenova Поиск документации 1 22.09.2012 21:48
=Техн. решения= Управление светофорами главных путей станции с двух соседних станций - 419209-ТР Толян Релейные централизации 0 28.01.2010 18:13

Ответить в этой теме   Перейти в раздел этой темы   Translate to English

Возможно вас заинтересует информация по следующим меткам (темам):
,


Здесь присутствуют: 1 (пользователей: 0 , гостей: 1)
 
Опции темы Поиск в этой теме
Поиск в этой теме:

Расширенный поиск

Ваши права в разделе
Вы не можете создавать новые темы
Вы не можете отвечать в темах
Вы не можете прикреплять вложения
Вы не можете редактировать свои сообщения

BB коды Вкл.
Смайлы Вкл.
[IMG] код Вкл.
HTML код Выкл.
Trackbacks are Вкл.
Pingbacks are Вкл.
Refbacks are Выкл.



Часовой пояс GMT +3, время: 23:55.

Яндекс.Метрика Справочник 
сцбист.ру сцбист.рф

СЦБИСТ (ранее назывался: Форум СЦБистов - Railway Automation Forum) - крупнейший сайт работников локомотивного хозяйства, движенцев, эсцебистов, путейцев, контактников, вагонников, связистов, проводников, работников ЦФТО, ИВЦ железных дорог, дистанций погрузочно-разгрузочных работ и других железнодорожников.
Связь с администрацией сайта: admin@scbist.com
1 2 3 4 5 6 7 8 9 10 11 12 13 14 15 16 17 18 19 20 21 22 23 24 25 26 27 28 29 30 31 32 33 34 
Powered by vBulletin® Version 3.8.1
Copyright ©2000 - 2026, Jelsoft Enterprises Ltd.
Powered by NuWiki v1.3 RC1 Copyright ©2006-2007, NuHit, LLC Перевод: zCarot