Реле контроля скорости типа РКС-6
Назначение. Реле контроля скорости типа РКС-6 предназначено для работы в метрополитенах при стабилизированном напряжении питания 127 В переменного тока с временем прямого замедления 1 с ±10%.
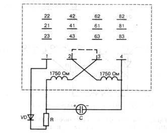
Некоторые конструктивные особенности. Реле РКС-6 (черт. 7-589-00) изготавливается на базе штепсельного реле типа

Рис. 162. Электрическая схема реле типа РКС-6
НМШМ2-3000(3500) или НМШ2-4000, изменив схему включения реле. Схема реле РКС-6 приведена на рис. 162. В схеме применены и вмонтированы в корпус реле: VD — диод Д226Б (КД105Б); С — конденсатор типа К50-12; 200 мкФ, 50 В; R — резистор МЛТ-2 от 5,1 до 10 кОм (подбирается при настройке).
Номинальное напряжение питания переменного тока 127 В подается на контакты 1—4, перемычка устанавливается между контакта ми 2—3.
Напряжение притяжения реле не более 100 В, напряжение отпадания — не менее 30 В. Перегрузка — 150 В. Прямое замедление при напряжении 127 В — 1 с ±10%.
Обмоточные данные, переходное сопротивление контактов, электрическая прочность и сопротивление изоляции, габаритные размеры и масса реле РКС-6 те же, что и у ранее описанных соответственно реле НМШМ2-3000 (3500) или НМШ2-4000. Электрические характеристики реле РКС-6 соответствуют вышеуказанным, независимо на базе какого реле они изготовлены. Это достигалось путем подбора резистора R при настройке от 5,1 до 10 кОм.
Admin добавил 08.05.2011 в 22:51
Эту статью можно дополнить. Нажмите на 'Редактировать' для изменения содержания.