СЦБИСТ - железнодорожный форум, блоги, фотогалерея, социальная сеть
Ушел из жизни Крупицкий Адольф Зельманович
6 февраля 2026 года ушел из жизни Крупицкий Адольф Зельманович, более шести десятков лет проработавший в институте «Гипротранссигналсвязь». Всю свою трудовую деятельность А.З. Крупицкий посвятил проектному делу. После окончанию обучения в Ленинградском институте инженеров железнодорожного транспорта в 1959 году начал свою профессиональную деятельность в качестве старшего электромеханика дистанции сигнализации и связи на Казахской железной дороге. В 1960 году пришел на работу в институт на должность инженера, работал руководителем группы, главным инженером проектов.

Читать далее
Вернуться   СЦБИСТ - железнодорожный форум, блоги, фотогалерея, социальная сеть > Энциклопедия СЦБИСТа > Wiki
Закладки Поддержка Сообщество Комментарии к фото Сообщения за день
     
 
В мои закладки Подписка на тему по электронной почте Отправить другу по электронной почте Инструменты Статьи Поиск в этой Статье
  #1  

По умолчанию Компрессор К-2

Компрессор К-2

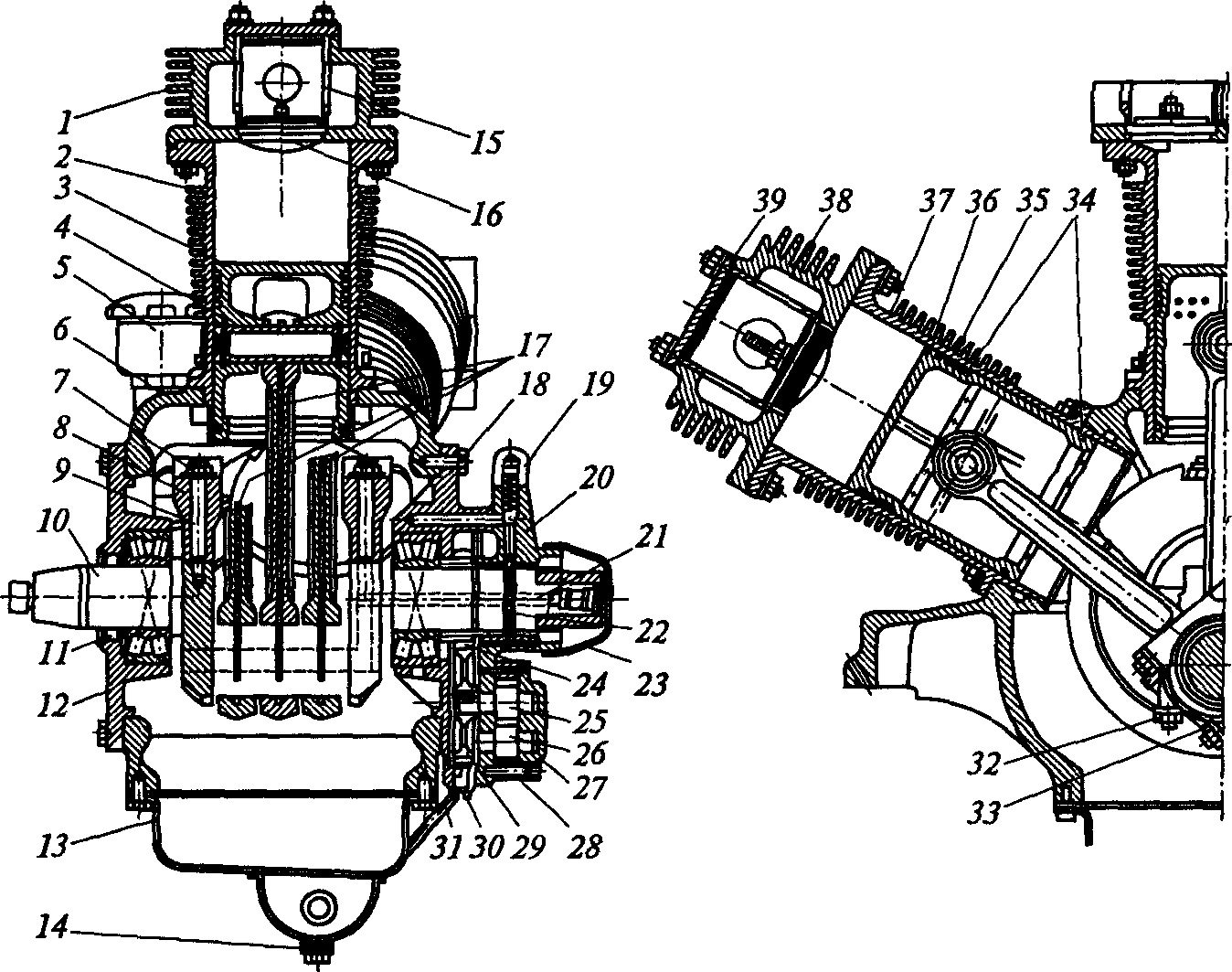
Компрессоры К-2 — двухступенчатые, трехцилиндровые с W-образным расположением цилиндров, установлены на локомотивах чешского производства — электровозах ЧС и тепловозах ЧМЭ.

Компрессор К-2 (рис. 3.12) состоит из корпуса 6, двух ЦНД 37 и одного ЦВД 2 с углом развала между осями цилиндров 60°. В верхней части корпуса имеется три привалочных фланца для установки цилиндров и один для сапуна 5, фланцы по бокам корпуса служат для установки крышек 12 (со стороны электродвигателя) и 18 (со стороны корпуса 20 масляного насоса), нижний фланец предназначен для крепления масляной ванны 13.

На цилиндрах установлены клапанные коробки 1 и 38, в которых расположено по одному всасывающему и одному нагнетательному клапану 16. Крепление клапанов осуществляется стаканом 15 и крышкой 39. Клапаны компрессора К-2 (рис. 3.13) аналогичны по своей конструкции клапанам компрессора КТ-6.

Стальной коленчатый вал вращается в двух опорных двухрядных роликовых подшипниках, установленных в крышках 12 (см. рис. 3.12) и 18. К щекам коленчатого вала 10 с помощью шпилек 9 и корончатых гаек 7 прикреплены противовесы 8. Хвостовик коленчатого вала закрыт крышкой 23. Верхние головки шатунов 17 неразъемные, с запрессованными бронзовыми втулками, а нижние головки — разъемные с крышкой 33 и подшипниками скольжения. Крышка 33 крепится к шатуну болтами 32.

Силуминовые поршни Зи 36 соединяются с шатунами с помощью поршневых пальцев 4. Поршни имеют по три компрессионных кольца 35 и по два маслосъемных кольца 34. Для предупреждения утечки масла коленчатый вал 10 уплотнен в крышке 12 сальником 11.


Рис. 3.12. Компрессор К-2:
1, 38 — клапанные коробки; 2 — ЦВД; 3, 36 — поршни; 4 — поршневой палец; 5— сапун; 6— корпус; 7— корончатая гайка; 8— противовес; 9 — шпилька; 10 — коленчатый вал; 11 — сальник; 12, 18, 23, 27, 33, 39 — крышки; 13 — масляная ванна; 14, 30 — сливные пробки; 15 — стакан; 16 — нагнетательный клапан; 17 — шатуны; 19 — редукционный клапан; 20 — корпус масляного насоса; 21 — масляный канал; 22 — кольцевая выточка; 24 — приводная шестерня; 25, 26, 29 — шестерни; 28— промежуточный фланец; 31 — патрубок; 32— болт; 34 — маслосъемные кольца; 35 — компрессионные кольца; 37 — ЦНД

Смазывание компрессора осуществляется комбинированным способом: цилиндры, поршневые кольца и роликовые подшипника смазывают маслом, разбрызгиваемым вращающимися частями компрессора; поршневые пальцы, подшипники шатунов и шейки коленчатого вала — под давлением, создаваемым масляным насосом шестеренчатого типа.

Корпус 20 масляного насоса с промежуточным фланцем 28 и крышкой 27 прикреплен к крышке 18. На коленчатом валу компрессора расположена приводная шестерня 24, а на валу насоса помещены шестерни 25, 26 и 29. Масло из ванны 13 поступает к насосу по патрубку 31 и через кольцевую выточку 22 и канал 21 в теле коленчатого вала попадает к шатунным подшипникам и редукционному клапану 19. Давление масла работающего компрессора составляет 2,5... 3,0 кгс/см2. При превышении этого значения редукционный клапан 19 сбрасывает часть масла в картер.

Работа компрессора К-2 аналогична работе компрессора КТ-6.


Рис. 3.13. Клапаны компрессора К-2: а — всасывающий; б — нагнетательный

Admin добавил 06.06.2013 в 20:37
Вы можете дополнить или изменить данную статью, нажав кнопку Редактор


Редакторы: Admin
Создано Admin, 06.06.2013 в 20:37
Последнее редактирование Admin, 06.06.2013 в 20:37
0 Комментария , 6452 Просмотров
Похожие темы
Тема Автор Раздел Ответов Последнее сообщение
Ищу документацию на компрессор ВП-20/9 или ВП20/8 filin1715 Поиск документации 2 19.05.2014 11:47
компрессор [Anonymoused] Помогала2 Машинисты 0 18.07.2012 09:30
Винтовой компрессор на электровозе ЭП2К Admin xx2 0 29.11.2011 16:39
Мотор-компрессор Admin Wiki 0 22.08.2011 17:49

 


Здесь присутствуют: 1 (пользователей: 0 , гостей: 1)
 

Ваши права в разделе
Вы можете создавать новые темы
Вы не можете отвечать в темах
Вы не можете прикреплять вложения
Вы можете редактировать свои сообщения

BB коды Вкл.
Смайлы Вкл.
[IMG] код Вкл.
HTML код Выкл.
Trackbacks are Вкл.
Pingbacks are Вкл.
Refbacks are Выкл.



Часовой пояс GMT +3, время: 18:01.

Яндекс.Метрика Справочник 
сцбист.ру сцбист.рф

СЦБИСТ (ранее назывался: Форум СЦБистов - Railway Automation Forum) - крупнейший сайт работников локомотивного хозяйства, движенцев, эсцебистов, путейцев, контактников, вагонников, связистов, проводников, работников ЦФТО, ИВЦ железных дорог, дистанций погрузочно-разгрузочных работ и других железнодорожников.
Связь с администрацией сайта: admin@scbist.com
1 2 3 4 5 6 7 8 9 10 11 12 13 14 15 16 17 18 19 20 21 22 23 24 25 26 27 28 29 30 31 32 33 34 
Powered by vBulletin® Version 3.8.1
Copyright ©2000 - 2026, Jelsoft Enterprises Ltd.
Powered by NuWiki v1.3 RC1 Copyright ©2006-2007, NuHit, LLC Перевод: zCarot