СЦБИСТ - железнодорожный форум, блоги, фотогалерея, социальная сеть
Ушел из жизни Крупицкий Адольф Зельманович
6 февраля 2026 года ушел из жизни Крупицкий Адольф Зельманович, более шести десятков лет проработавший в институте «Гипротранссигналсвязь». Всю свою трудовую деятельность А.З. Крупицкий посвятил проектному делу. После окончанию обучения в Ленинградском институте инженеров железнодорожного транспорта в 1959 году начал свою профессиональную деятельность в качестве старшего электромеханика дистанции сигнализации и связи на Казахской железной дороге. В 1960 году пришел на работу в институт на должность инженера, работал руководителем группы, главным инженером проектов.

Читать далее
Вернуться   СЦБИСТ - железнодорожный форум, блоги, фотогалерея, социальная сеть > Энциклопедия СЦБИСТа > Wiki > Wiki СЦБ
Закладки Поддержка Сообщество Комментарии к фото Сообщения за день
     
 
В мои закладки Подписка на тему по электронной почте Отправить другу по электронной почте Инструменты Статьи Поиск в этой Статье
  #1  

По умолчанию КШ

Реле комбинированные типа КШ

Назначение. Реле типа КШ предназначены для осуществления электрических зависимостей в устройствах автоматики и телемеха­ники на железнодорожном транспорте. В зависимости от типа реле КШ изготовляют по следующим чертежам: КШ1-40, КШ1-80, КШ1-280, КШ1-600 и КШ1-800 - по черт. 24149.00.00; КШ1-400, КШ1М-400 и КШ1-1000 - по черт. 2189.00.00А.



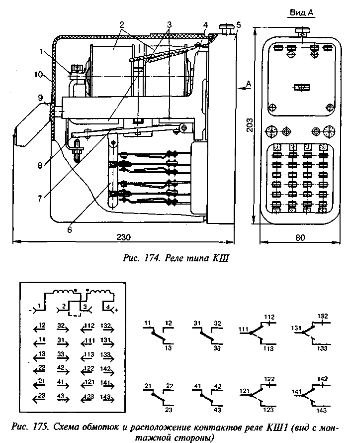
Некоторые конструктивные особенности. Реле типа КШ — реле постоянного тока. Основными деталями реле типа КШ1 (рис. 174) являются: 1 — сердечник, 2 — катушки, 3 — полюсные наконечни­ки, 4 — кронштейн, 5 — основание, 6 — контактная система, 7 — поляризованный якорь, 8 — нейтральный якорь, 9 — ручка, 10 — колпак.

Механизм реле имеет электромагнитную и контактную системы. Электромагнитная система нейтральной части состоит из двух кату­шек, сердечника, двух полюсных наконечников и нейтрального яко­ря. Поляризованная система имеет общие с нейтральной системой сердечник, катушки и полюсные наконечники и дополнительно по­стоянный магнит и поляризованный якорь.

Электромагнитная система комбинированных реле укреплена на металлическом кронштейне.

Особенностью конструкции комбинированных штепсельных реле является то, что сначала всегда перебрасывается поляризованный якорь, а затем притягивается нейтральный.

Контактная система собрана в четыре контактные группы. Каж­дая контактная группа нейтральной части состоит из перекидных, фронтовых и тыловых контактов; поляризованной части — из пере­кидных, нормальных и переведенных контактов.

Обмотки реле включаются последовательно. Схема соединения обмоток реле показана на рис. 175.

При подключении питания к выводам 1—4 (минус к выводу 1, плюс к выводу 4) поляризованный якорь должен занимать нормаль­ное положение и замыкать контакты 111—112, 121—122, 131—132, 141—142. При изменении направления тока в катушках (плюс к вы­воду 1, минус к выводу 4) якорь должен занимать переведенное положение и замыкать контакты 111—113, 121—123, 131—133, 141—143.

Реле типов КШ1-40, КШ1-80, КШ1-280, КШ1-600 и КШ1-800 являются модернизированными, обладающими повышенной надежностью обязательного перебрасывания поляризованного якоря перед притяжением нейтрального.

Электрические характеристики реле при температуре (20±5)°С и относительной влажности окружающего воздуха до 90% должны со­ответствовать данным, указанным в табл. 149.

В реле типов КШ1-400, КШ1М-400 и КШ1-1000 постоянные магниты должны быть применены с магнитным потоком 7*10-5— 8*10-5 Вб (7000—8000 Мкс). Магнитные потоки обоих магнитов должны быть равны. Допустимая разность магнитных потоков не бо­лее 3-10-6 Вб (300 Мкс), причем магнит с большим магнитным пото­ком устанавливается ближе к штепсельной розетке.


Редакторы: Admin
Создано Admin, 07.05.2011 в 17:44
Последнее редактирование Admin, 07.11.2023 в 21:21
0 Комментария , 2153 Просмотров
 

Возможно вас заинтересует информация по следующим меткам (темам):


Здесь присутствуют: 1 (пользователей: 0 , гостей: 1)
 

Ваши права в разделе
Вы можете создавать новые темы
Вы не можете отвечать в темах
Вы не можете прикреплять вложения
Вы можете редактировать свои сообщения

BB коды Вкл.
Смайлы Вкл.
[IMG] код Вкл.
HTML код Выкл.
Trackbacks are Вкл.
Pingbacks are Вкл.
Refbacks are Выкл.



Часовой пояс GMT +3, время: 00:14.

Яндекс.Метрика Справочник 
сцбист.ру сцбист.рф

СЦБИСТ (ранее назывался: Форум СЦБистов - Railway Automation Forum) - крупнейший сайт работников локомотивного хозяйства, движенцев, эсцебистов, путейцев, контактников, вагонников, связистов, проводников, работников ЦФТО, ИВЦ железных дорог, дистанций погрузочно-разгрузочных работ и других железнодорожников.
Связь с администрацией сайта: admin@scbist.com
1 2 3 4 5 6 7 8 9 10 11 12 13 14 15 16 17 18 19 20 21 22 23 24 25 26 27 28 29 30 31 32 33 34 
Powered by vBulletin® Version 3.8.1
Copyright ©2000 - 2026, Jelsoft Enterprises Ltd.
Powered by NuWiki v1.3 RC1 Copyright ©2006-2007, NuHit, LLC Перевод: zCarot