СЦБИСТ - железнодорожный форум, блоги, фотогалерея, социальная сеть
Вернуться   СЦБИСТ - железнодорожный форум, блоги, фотогалерея, социальная сеть > Энциклопедия СЦБИСТа > Wiki > Wiki СЦБ
Закладки Поддержка Сообщество Комментарии к фото Сообщения за день
     
 
В мои закладки Подписка на тему по электронной почте Отправить другу по электронной почте Инструменты Статьи Поиск в этой Статье
  #1  

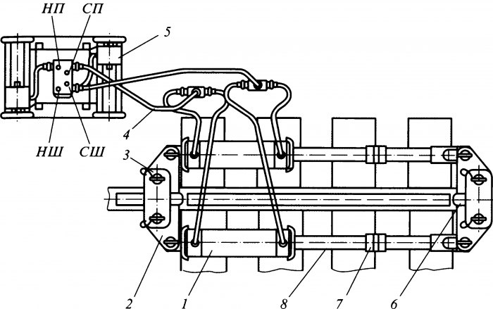
По умолчанию СПН-100-500

Гидравлический натяжитель СПН-100-500 приводится в действие от гидравлической станции включением соответствующих вентилей.



Натяжитель СПН-100-500 (вид сверху) и гидравлическая станция

СГР1-8:

1 — гидроцилиндр; 2 — захват; 3 — плита; 4 — шланг высокого давления; 5 — гидравлическая станция; 6 — пружина; 7 — соединительные устройства;

8 — удлинительные тяги; НП, НШ, СШ, СП — вентили (клапаны)

Admin добавил 22.11.2011 в 16:10
Вы можете дополнить или изменить данную статью, нажав кнопку Редактор


Редакторы: Admin
Создано Admin, 22.11.2011 в 16:10
Последнее редактирование Admin, 22.11.2011 в 16:10
0 Комментария , 1849 Просмотров
 


Здесь присутствуют: 1 (пользователей: 0 , гостей: 1)
 

Ваши права в разделе
Вы можете создавать новые темы
Вы не можете отвечать в темах
Вы не можете прикреплять вложения
Вы можете редактировать свои сообщения

BB коды Вкл.
Смайлы Вкл.
[IMG] код Вкл.
HTML код Выкл.
Trackbacks are Вкл.
Pingbacks are Вкл.
Refbacks are Выкл.



Часовой пояс GMT +3, время: 00:12.

Яндекс.Метрика Справочник 
сцбист.ру сцбист.рф

СЦБИСТ (ранее назывался: Форум СЦБистов - Railway Automation Forum) - крупнейший сайт работников локомотивного хозяйства, движенцев, эсцебистов, путейцев, контактников, вагонников, связистов, проводников, работников ЦФТО, ИВЦ железных дорог, дистанций погрузочно-разгрузочных работ и других железнодорожников.
Связь с администрацией сайта: admin@scbist.com
1 2 3 4 5 6 7 8 9 10 11 12 13 14 15 16 17 18 19 20 21 22 23 24 25 26 27 28 29 30 31 32 33 34 
Powered by vBulletin® Version 3.8.1
Copyright ©2000 - 2026, Jelsoft Enterprises Ltd.
Powered by NuWiki v1.3 RC1 Copyright ©2006-2007, NuHit, LLC Перевод: zCarot