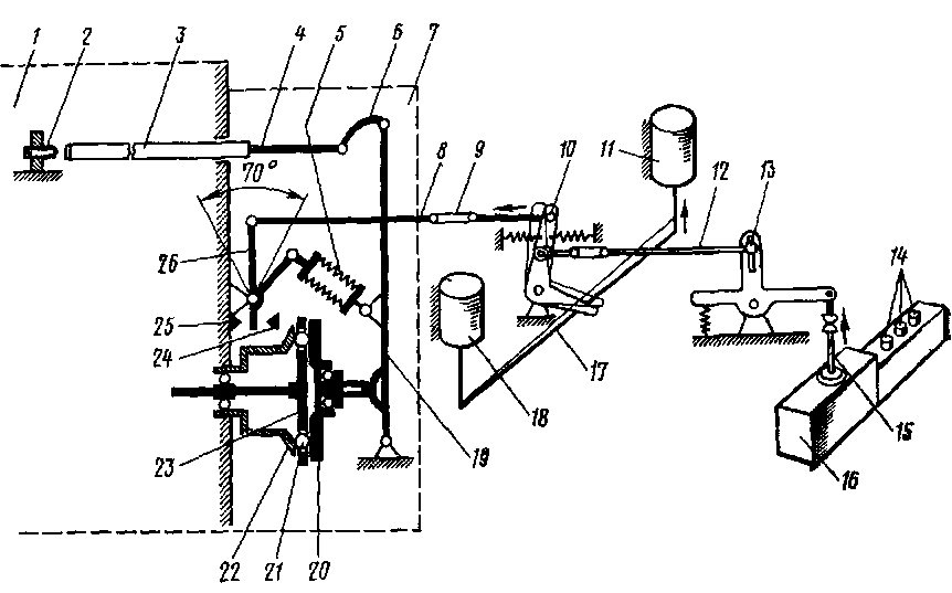
Система управления дизелем
Управление работой дизеля заключается в воздействии на регулятор частоты вращения топливного насоса. Система управления дизелем тепловоза ТУ7 электропневматическая. Органом управления является контроллер машиниста, расположенный на пульте управления. В систему управления (рис. 41) входят восьмипозици-онный прибор 16, блок-магниты//и 18, три электропневматических вентиля ВРД1—ВРДЗ (на рис. 41 не показаны), подающих воздух, к поршням восьмипозиционного прибора, и рычажная система привода рычага 26 регулятора. Механизм управления регулятором дизеля смонтирован на кронштейне, который крепится на кожухе маховика дизеля.
Восьмипозиционный прибор (рис. 42) является пневматическим приводом рычажной системы управления регулятором дизеля. При

Рис. 41. Схема механизма управления регулятором.
I — топливный насос; 2 — упор рейкн топливного насоса, 3 —> рейка топливного насоса, 4 — іяга рейки товлинвого насоса; 5—двойная пружи^ регулятора, 6у— рычаг, 7 _ гег,улятор, 8 — тяг»; ^ — регулировочная муфта, 10 — двуплечнф ] ^*гчаг, Л — блок-магнит 1БМ, 12 — тяга; 13 — двуплечий изогнутый рычаг, 14 — штуцеры подвода воздуха; 15 — толкатель; /5 — восьмипозиционный прибор. 17 — траверсні 18 — блок-чагнит^їБМ, /<(-п рычаг регулятора; 20 <- муфта; 21 — грузы, 22 — тарелка, 23 — крестовина оегулятора 24 — упор максимальной частоты вращения 25 — упор минимальной частоты вращения, 26 — рычаг

включении электропневматических вентилей ВРД1—ВРДЗ сжатый воздух попадает в цилиндр прибора и перемещает поршни 4, 5, б и связанный с ними клин 9, сжимая возвратную пружину /. Толкатель 10, перемещаясь под действием клина 9 вверх, через регулировочный болт 13 поворачивает рычаг 12, сжимая пружину 11.
Рычаг 13 (см. рис. 41) через тягу 12, двуплечий рычаг 10 и тягу 8 поворачивает рычаг 26 регулятора. Рычаг 26 воздействует через двойную пружину 5 регулятора на рычаг 19 регулятора, а тот в свою очередь через рычаг 6 воздействует на рейку топливного насоса 3.
Нулевое положение контроллера машиниста соответствует минимальной частоте вращения коленчатого вала дизеля в режиме холостого хода. Для пуска дизеля и поддержания минимальной частоты вращения вала система имеет электромагнитный привод, состоящий из двух блок-магнитов 11 (IBM) и 18 (2БМ) (ом. рис. 41), соединенных траверсой 17, воздействующей через рычаг 10 и тягу 8 на рычаг 26 регулятора.
При пуске дизеля получают питание оба соленоида, обеспечивая через эти же рычаги и тягу необходимое перемещение рейки топливного насоса. После пуска дизеля пусковой блок-магнит 18 выключается, а блок-магнит холостого хода // остается включенным, удерживая систему управления в положении минимальной частоты вращения коленчатого вала в режиме холостого "хода.
Для увеличения частоты вращения коленчатого вала дизеля штурвал контроллера машиниста поворачивается по часовой стрелке на последующие позиции, замыкая в различных сочетаниях цепь питания катушек электропневматических вентилей ВРД1—ВРДЗ (см. главу VII), которые подают воздух в определенной последовательности, приведенной в таблице на рис. 42, к штуцерам /, // или /// (см. рис. 42) или 14 (см. рис. 41) восьми-позиционного прибора. Частота вращения вала дизеля на каждой позиции контроллера в поездном режиме и при торможении гидротормозом должна иметь значения, приведенные в табл. 4.
Для остановки дизеля штурвал контроллера машиниста устанавливается в нулевую позицию, а затем кнопкой «Управление» снимается питание с блок-магнита холостого хода 11, в результате чего система управления регулятором под действием пружины 5 становится в положение, при котором подача топлива прекращается. Для плавной и устойчивой работы восьмипозиционный прибор заполнен веретенным маслом АУ, которое в процессе работы пе-
Та бл ица 4

ретекает через дроссельное отверстие а, регулируемое винтом 5, из полости А в полость Б (см. рис. 42). При обратном ходе масло перетекает, наоборот, из полости Б в полость А через клапан 7. В прибор масло необходимо заливать через отверстие, закрытое пробкой 3, до появления его в отверстии б, закрытом пробкой 2; при этом регулировочный винт 5 должен быть вывернут на 6 мм. Положение регулировочного винта 5 устанавливается на тепловозе после заправки прибора маслом так, чтобы полный подъем толкателя 10 осуществлялся за 2—3-е при одновременном подводе воздуха под все три поршня, т. е. восьмой позиции контроллера. Полный ход толкателя 10 должен быть равен 11 мм.
Установка минимальной частоты вращения коленчатого вала дизеля на холостом ходу достигается регулировкой муфты 9 тяги регулятора (см. рис. 41), а максимальной частоты — регулировкой тяги 12 и перемещением ее в пазе рычага 13. Кроме того, максимальная и минимальная частота вращения коленчатого вала двигателя достигается регулировкой упоров 24 и 25 на корпусе топливного насоса.
Система управления дизелем тепловоза ТУ6А очень проста. Частота вращения коленчатого вала в пределах 500—1950 об/мин изменяется из кабины машиниста педалью или рукояткой подачи топлива, воздействующими через систему тяг на рычаг управления регулятором. Останавливается дизель путем прекращения подачи топлива рукояткой, установленной на пульте управления. После остановки следует поставить рукоятку в исходное положение, одновременно нажав до отказа на педаль подачи топлива.
При аварийной остановке дизеля нужно вытянуть рукоятку аварийной остановки дизеля. Пользоваться устройством для аварийной' остановки нужно в исключительных случаях, так как это связано с большими нагрузками на детали дизеля.










