Рама и кузов тепловоза
Рама тепловоза сварной конструкции (рис. 93, я и б) состоит из двух хребтовых балок 8, скрепленных между собой промежуточными креплениями 3 и по концам — шкворневыми балками 13. Средняя часть 1 рамы между шкворневыми балками с помощью боковых кронштейнов 6 связана с обносными угольниками 7. Нижние листы 11 перекрывают среднюю часть по всей длине. Такое сочетание элементов придает раме необходимую прочность и жесткость в вертикальной и горизонтальной плоскостях.
Концевые части 5 рамы имеют каркас из угольников, покрытый сверху листами 9. По контуру обносных угольников рама тепловоза посредством сварки соединена с обвязочным угольником каркаса кузова. Наружная обшивка боковых стен приварена к нижним настильным листам средней части рамы и вместе с каркасом кузова воспринимает вертикальные нагрузки.
Для установки дизеля тягового генератора и распределительного редуктора на верхних поясах хребтовых балок предусмотрены накладки, опорные поверхности которых расположены в одной плоскости и обрабатываются на строгальном станке за одиц проход. Опорные поверхности накладок под установку дизеля и главного генератора пригоняются припиловкой и шабровкой с проверкой по линейке. При этом зазор между линейкой и обработанными поверхностями опор дизеля и генератора не должен превышать 0,2 мм.
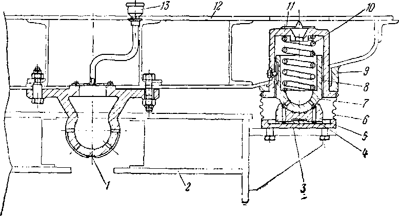
Рама опирается на каждую тележку тремя опорами: центральной шаровой пятой и двумя боковыми скользунами (рис. 94). Обе пяты служат для передачи тягового усилия при движении тепловоза. Сферическая форма пяты обеспечивает подвижность тележки, что улучшает динамические качества тепловоза. Боковые скользуны воспринимают на себя примерно 30% от общей нагрузки на тележки и придают раме необходимую поперечную устойчивость.
Каждый скользун состоит из расположенной на кронштейне тележки подушки 3, по которой перемещается подпятник 5, армированный бронзовой шайбой 4, и плунжера 7 с пружиной 10 в направляющем стакане 8, укрепленном на раме. Пружина 10 имеет предварительное сжатие, что обеспечивает поперечную устойчи-

Рис. 93. Рама тепловоза: а—вид сверху: б — вид снизу: /—средняя часть; 2 —опора генератора; 3 — промежуточное крепление; 4 — подрамник дизеля; 5 —концевая часть рамы: 6 — боковые кронштейны: 7 —обносной угольник; в — хребтовая балка; 9 —верхние настильные листы; /0-^шкворне-вая пята; 11—нижние настильные листы; 12—боковой скользун: ІЗ —шкворневая балкавость рамы с кузовом и вместе с тем не препятствует наклонам тележки. Трущиеся поверхности боковых скользунов предохранены от попадания на них пыли, песка и воды чехлами 6.
Кузов тепловоза (рис, 95) состоит из каркаса и наружной и внутренней обшивок с промежуточным слоем теплоизоляции из мипоры. Каркас сварной из профильной штампованной стали коробчатого и углового сечений и состоит из боковых и торцовых стен, связанных поверху крышей, а внизу — общим обносным угольником. Боковые стены имеют проемы для дверей и окон, а также для установки радиаторов холодильника. На торцовых стенах в каби-

Рис 94. Шкворневая пята и боковые опоры рамы:
1—шкворневая пята; 2 — шкворневая балка тележки: 3 — подушка; 4 — шайба; 5 — подпятник; 6 — чехол; 7— плунжер; 8 — стакан; 9 — обойма; 10 — пружина; // —крышка; 12 — шкворневая балка рамы; 13 — масленканах машиниста установлены большие смотровые окна. В крыше над машинным отделением предусмотрен люк для установки дизеля и генератора внутрь кузова. Люк перекрывается съемной частью крыши, в которой находятся заборные отверстия для всасывающих коллекторов дизеля, вентиляционных каналов тягового генератора, отверстия для глушителей и люки вентиляции машинного помещения. С каждой стороны тепловоза, у кабин машиниста, имеется по одной входной двери с лестницами для входа в кузов. Боковые окна кабин машиниста выдвижные.










