Пневматический тормоз
Тепловоз оборудован прямодействующим локомотивным тормозом и пролетной трубой с краном машиниста системы Казанцева для управления тормозами вагонов, следующих в составе поезда. При управлении прямодействующим тормозом тепловоза сжатый воздух из главных резервуаров воздушной системы через кран машиниста 4ВК поступает в тормозные цилиндры и создает усилие по штоку поршня, действующее через рычажную передачу на тормозные колодки. Наибольшее нажатие тормозных колодок двух тележек тепловоза равно 18 т при давлении сжатого воздуха в тормозных цилиндрах 3,8 кг/см2.
Из главных резервуаров общей емкостью 280 л сжатый воздух подводится к крану машиниста локомотивного тормоза 22 (рис. 57) и к крану машиниста системы Казанцева 19 автоматического непрямодействующего тормоза, установленных в обеих кабинах машиниста. Для предотвращения заклинивания колес при торможении тепловоза локомотивным тормозом установлен клапан максимального давления, отрегулированный на давление 3,8 кг/см2.
При торможении прямодействующим тормозом воздух из главного резервуара через контакторный фильтр 20, клапан максимального давления 21, кран локомотивного тормоза 22 поступает в тормозные цилиндры 12 обеих тележек. Контроль давления воздухав тормозных цилиндрах осуществляется по манометру 24, установленному в кабине машиниста. Локомотивный тормоз позволяет осуществлять ступенчатое торможение и ступенчатый отпуск. При отпуске сжатый воздух из тормозного цилиндра уходит через кран локомотивного тормоза 22 по трубке 23 в атмосферу. Нормальным поездным положением крана машиниста ирямодействующего тормоза является перекрыша, при котором тормозные цилиндры разобщены от главных резервуаров и атмосферы.

Рис. 57. Схема воздушной системы тормоза:
/—фильтр компрессора; 2 — компрессор; 3 — регулятор давления; 4 — спускной кран; 5 — воздухоочиститель (сборник); 6 — обратный клапан; 7 —спускной кран; 8, 10 — главные резервуары; 9 — предохранительный клапан; // —спускной кран; 12 — тормозной цилиндр; 13 — концевой кран; 14 —соединительный рукав; 15— кран двойной тяги; 16 — комбинированный кран; 17, 23 — атмосферные трубки; 18 — манометр; 19 — кран машиниста ;системы Казанцева; 20 — контакторный фильтр; 21 — клапан максимального давления; 22 — кран локомотивного тормоза; 24— манометр тормозного цилиндра; 25 — разобщительный кран; 26 — атмосферная труба
На трубе, питающей кран системы Казанцева сжатым воздухом из главных резервуаров, установлен кран двойной тяги 15, представляющий собой пробковый разобщительный кран с двумя положениями рукоятки — «Открыт» или «Закрыт». Нормальным положением крана двойной тяги в действующей кабине машиниста является открытое положение. Во второй кабине машиниста при этом кран двойной тяги должен находиться в закрытом положении для предупреждения возможности управления тормозами поезда со второго поста локомотива. При следовании тепловоза двойной тягой краны двойной тяги обоих постов управления второго тепловоза должны быть перекрыты.
На трубе, соединяющей кран системы Казанцева с пролетной трубой локомотива, установлен комбинированный кран 16, кото-

Рис. 58. Тормозной цилиндр: -головка штока; 2 — передняя крышка; з — корпус; 4 — шток; 5— направляющая труба; 6 — пружина; 7—поршень; 8 — задняя крышкарый служит для экстренного торможения поезда, а также для перекрытия трубопровода, идущего от крана машиниста к тормозной магистрали поезда. Нормальным положением рукоятки крана в действующей кабине машиниста является среднее положение, при котором кран системы Казанцева сообщается с магистралью поезда. Крайнее правое положение рукоятки соответствует экстренному торможению, при котором магистраль поезда через большое отверстие сообщается с атмосферой.
В недействующей кабине машиниста комби нированный кран должен разобщать кран от магистрали поезда, что соответствует крайнему левому положению рукоятки. К кранам двойной тяги и комбинированному присоединяются трубки двухшкального манометра 18, установленного в кабине машиниста. Красная стрелка манометра показывает давление сжатого воздуха в главном резервуаре, черная — в магистрали поезда. Магистраль поезда сообщается с тормозной системой тепловоза через пролетную трубу, которая для этого оборудована гибкими соединительными рукавами 14 с концевыми разобщительными кранами 13.
Для присоединения главных резервуаров второго тепловоза при двойной тяге к главным резервуарам ведущего с тепловоза № 76 предусмотрен трубопровод от главных резервуаров с гибкими соединительными рукавами и концевыми разобщительными кранами на обоих концах тепловоза.
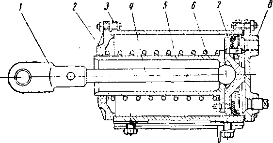
Тормозные цилиндры с внутренним диаметром 8" установлены на раме тепловоза и для соединения с рычажной передачей, расположенной на тележках, имеют свободные штоки, которые допускают отклонение от своего среднего положения, необходимое при движении тепловоза.
Тормозной цилиндр (рис. 58) состоит из корпуса 3, закрытого двумя крышками — задней рабочей 8 и передней направляющей 2, укрепленных при помощи болтов. Через отверстие передней крышки проходит направляющая труба 5, внутри которой перемещается шток 4. Один конец штока шаровым шарниром связан с поршнем 7, а другой имеет головку для присоединения к рычажной передаче. Наполнение тормозного цилиндра сжатым воздухом производится через штуцер в задней крышке. Поршень имеет одностороннюю манжету. Возврат поршня в исходное положение осуществляется пружиной 6.










