Предельный выключатель
При эксплуатации дизеля возможны случаи разгона до недопустимых значений частоты вращения коленчатого вала. Причинами этого могут быть:
а) внезапный сброс нагрузки при неисправном регуляторе частоты вращения вала или при заеданиях в приводе управления топливным насосом;
б) пуск дизеля с неправильно отрегулированной рычажной передачей от сервомотора регулятора к рейкам топливного насоса (отсутствие «нуля» подачи топлива);
в) длительная работа дизеля на холостом ходу при отсутствии слива масла из воздушного ресивера блока.
Следствием разгона дизеля может быть полный вывод его из строя из-за поломки шатунов, разрушения поршней и выпускных клапанов.
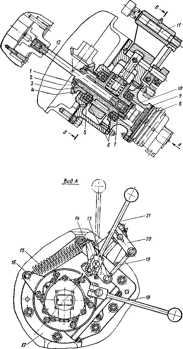
Для защиты дизеля от разгона служит предельный выключатель (рис. 42). Его вал 3 вращается в двух подшипниках качения 6. Соединен он с распределительным валом шлицевым валиком 12а Хвостовик вала выключателя использован для посадки конической шестерни 4, передающей вращение измерителю регулятора частоты вращения. Между щеками вала выключателя установлен груз 27, прижатый к валу пружиной 23, упирающейся в вал и в скобу 24, привернутую к грузу. От проворота на валу груз удерживается штифтом 26, запрессованным в щеки вала. Штифт служит также направляющей для радиального перемещения груза.
Затяжка пружины 23 регулируется прокладками 22 так, чтобы при достижении частоты вращения 840—870 об/мин центробежная сила груза преодолела ее усилие, и груз, передвинувшись в радиальном направлении, выбил двуплечий рычаг 28 из зацепления с рычагом 35, неподвижно закрепленным на валике 36, связанном рычажным механизмом с отсечным валиком топливного насоса. После освобождения защелки наружная пружина 15 останавливает дизель, поворачивая рычажный механизм и устанавливая рейки топливного насоса в положение нулевой подачи.
На валике двуплечего рычага 28 установлена снаружи рукоятка 18 аварийной остановки дизеля. Для этого нужно повернуть ее на небольшой угол против часовой стрелки.
На валике 36 имеется рукоятка 21 для установки рычажного механизма выключателя в рабочее положение (поворотом ее по часовой стрелке).


Рис. 42. Предельный выключатель:
/ — гайка; 2 — шайба стопорная; 3 — вал; 4 — шестерня привода регулятора скорости; 5 — втулка; 6 — шарикоподшипники; 7 — кольцо регулировочное; 8—фланец глухой; 9, 29, 37 — крышки; 10 — кольцо стопорное; //, 13, 32, 36 — валики рычажного механизма; 12 — валик шлицевой приводной; 14, 20, 28, 35— рычаги; 15, 23, 30 — пружины; 16 — палец, /7—корпус; 18 — рукоятка аварийной остановки дизеля; 19 — тяга; 21 — рукоятка для установки выключателя в рабочее положение; 22 — прокладка регулировочная; 24 — скоба; 25, 26, 34 — штифты;
27 — груз; 31 — болт; 33 — упор
В эксплуатации следует после плановых ремонтов дизеля перед первым пуском вручную проверить срабатывание предельного выключателя и убедиться в том, что он устанавливает рейки топливного насоса в положение нулевой подачи топлива.
Необходимо учитывать, что при разгоне дизеля на масле предельный выключатель не может его остановить. В таком случае единственным средством для остановки дизеля является немедленное включение нагрузки.
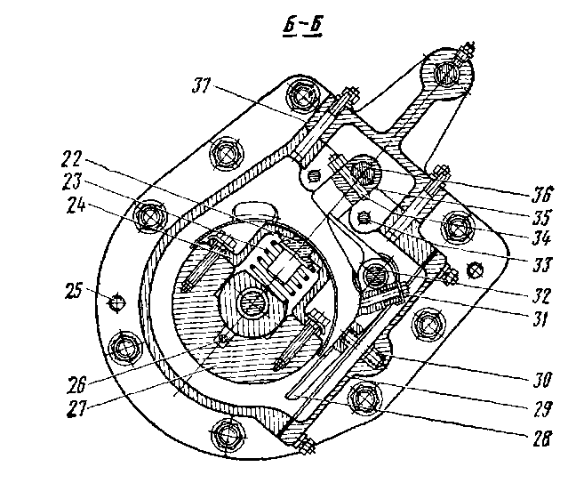
В процессе производства дизелей 11Д45 и 11Д45А были проведены улучшения конструкции предельного выключателя. Наиболее существенными из них являются уравновешивание его вала, выполнение щек в виде противовесов грузу, а также усиление конструкции внутреннего двуплечего рычага 28 с введением закрепленной шлицевой посадки его на валик 32.
Улучшена также конструкция рукояток и предусмотрена возможность установки на выключатель датчика электрического дистанционного тахометра.
На рис. 42 представлена улучшенная конструкция предельного выключателя.

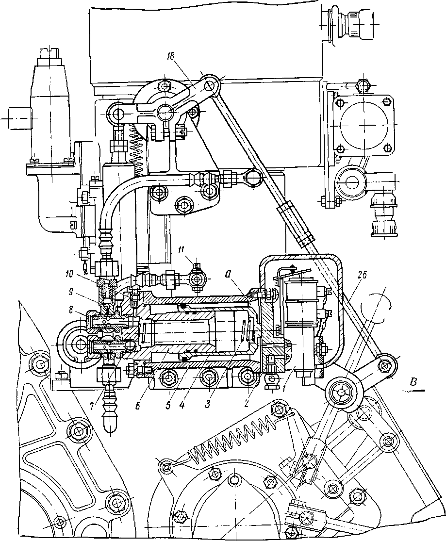
Рис. 43. Механизм рычажный / — электромагнитный вентиль; 2 — крышка; 3, 13, 14 — пружины- 4 — поршень; 5 — нами; 8 — штуцер; 10 — пробка для стравливания воздуха; // — краник; 12 — шток; 25 — кронштейны; 18, 20, 21, 27 — рычаги; 22 — серьга; 23 — упор ограничения хода дельного выключателя; 28 — подшипник; 29 — шайба; 30 — ось; 31 — гайка; 32— мае

управления топливным насосом:
корпус; 6 — стакан сервопоршкя; 7,9 — штуцеры с обратными шариковыми клапа-13, 14 — пружины; 15 — цилиндр вертикальной тяги: 16 — вал соединительный; 17, 19,. сервомотора регулятора частоты вращения; 24 — валик кулачковый; 26 — тяга от пре-ленка; а — воздушная полость сервомотора; К и И — кромки кулачков










