Объединенный регулятор дизеля
Устройство объединенного регулятора. По выполняемым функциям объединенный регулятор состоит из регулятора частоты вращения, регулятора мощности и механизма управления изменением частоты вращения коленчатого вала. Все они скомпонованы в одном агрегате, обслуживаются общей масляной системой, получающей питание от шестеренчатого масляного насоса, вмонтированного в приводную часть регулятора, и связаны между собой общим рычажным механизмом. Схема объединенного регулятора представлена на рис. 39, а его конструкция — на рис. 40.
Основное устройство объединенного регулятора — регулятор частоты вращения всережимный, непрямого действия, центробежного типа, с изодромной обратной связью гидравлического типа и с гидравлическим сервомотором простого действия. Измеритель частоты вращения приводится во вращение от сборного шлицевого вала, смонтированного в нижнем корпусе регулятора, на одном шариковом подшипнике. Соединение нижней, приводной части валика с верхней выполнено в виде кулачковой муфты с упругим пружинным элементом.
Измеритель (рис. 41) смонтирован на вращающейся буксе 19, в нижней части которой закреплена ведущая шестерня / масляного насоса, имеющая шлицевое отверстие для соединения с приводным валиком. На верхней части буксы неподвижно закреплена шестерня 8, приводящая во вращение золотник механизма управления частотой вращения вала дизеля. Вращение в золотниковых механизмах применяется для устранения трения покоя, что повышает четкость, стабильность и чувствительность их работы.
На шариковом подшипнике 10, насаженном на ступицу шестерни измерителя, установлена траверса // с двумя грузами 12 измерителя. Угол качания грузов ограничен торцом ступицы шестерни и специальными штифтами 18, установленными в щеки траверсы. В эти же щеки
запрессованы шариковые подшипники осей, на которых качаются грузы.
Шестерня и траверса соединены между собой двумя упругими элементами 26 (резиновыми), передающими вращение от шестерни траверсе и гасящими колебания траверсы, возникающие от неравномерного вращения буксы.
Букса измерителя имеет в верхней части три полости, образованные тремя рядами наружных и внутренних проточек, соединенных между

Рис. 39. Схема регулятора объединенного:
/ — плуижер измерителя частоты вращения; 2 — пружина изодромиой обратной связи регулятора; 3 — золотник измерителя; 4 — игольчатый регулируемый клапан обратной изодром-ной связи регулятора; 5 — поршень обратной изодромиой связи регулятора; 6 — силовой сервомотор регулятора; 7 — золотниковый клапаи с электромагнитом для выключения регулятора; 8 — золотниковый клапаи, ограничивающий величину давления и разряжения в системе изодромиой обратной связи регулятора мощности; 9 — масляная ванна сервомотора регулятора мощности; 10—игольчатый регулируемый клапаи обратной изодромиой связи регулятора мощности; 11— сервомотор регулятора мощности с индуктивным датчиком; 12 — золотниковая часть регулятора мощности; 13 — сервомотор управления частотой вращения коленчатого вала дизеля; 14 — пружина всережимная регулятора; 15 — шариковый невозвратный, клапан, обеспечивающий быстрое снижение частоты вращения вала дизеля; 16 — дроссель, обеспечивающий плавное повышение частоты вращения вала дизеля; 17 — золотниковая часть механизма управления частотой вращения вала дизеля; 18 — аккумулятор давления масла; 19 — масляный насос регулятора; 20 — масляная ванна; MPI, МР2, MP3f МР4 — электромагниты управления частотой вращения вала дизеля; А—рычаг-коромысло, связывающий положение силового сервомотора регулятора с положением поршня сервомотора затяжки всережимной пружины; Б — тяга с регулируемым положением точки подвески на рычаге А и с эксцентриковым шарнирным соединением с плунжером золотника регулятора мощности; В, Д — тяги; Г — рычаг с регулируемым положением крайней точки опоры; Е — рычаг жесткой обратной связи системы управления частотой вращения вала дизеля; а, и — каналы » трубопроводы изодромиой обратной связи регуляторов; б, ж, H — каналы и трубопроводы гидравлического управления положением поршней сервомоторов; в — канал, соединяющий золотниковый клапан с масляной ванной; г — полость изодромиой связи сервомотора; d, е— полости сервомотора регулятора мощности; з, к, Л, M — каналы и трубопроводы, находящиеся под давлением масла

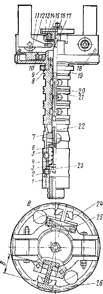
Рис. 40. Регулятор объединенный:
/ — шток силового сервомотора с рабочим и компенсирующим поршнями; 2 — силовой сервомотор регулятора; 3 — клапан выключения регулятора с электромагнитом ЭТ-43; 4 — золотниковая часть регулятора мощности; 5 — крышка регулятора; 6 — рычажный механизм; 7 — сервомотор управления затяжной пружины измерителя частоты вращения с встроенным в его корпус дросселем и шариковым невозвратным клапаном; 8 — электромагниты МР системы управления частотой вращения вала дизеля; 9 — золотниковая часть механизма управления частотой вращения вала дизеля; 10 — пружина измерителя частоты вращения; Л — сервомотор регулятора мощности; 12 — верхний корпус объединенного регулятора; 13 — золотниковая часть регулятора частоты вращения; 14 — корпус регулятора; 15 — привод регулятора; 16 — индуктивный датчик регулятора мощности; /7 — траверса; 18 — эксцентрик; 19 — ось; а — размер регулируемый

Рис. 41. Золотниковая часть и измеритель регулятора частоты
вращения вала дизеля: / — ведущач шестерня масляного насоса; 2 — винт стопорный; 3, 4, 5,6 — тарелка, пружина, стакан и регулировочная прокладка нзодром-ной обратной связи; 7, 20 — поршень и золотішк (выполнены за одно иелое); 8 -- диск-шестерня; 9 — фланец; 10, 14 — шарикоподшипники; 11, 12 — траверса с качающимися грузами измерителя; 13—* сбойма; 15 — тарелка пружины измерителя; 16 — гайка; 17 — шайба регулировочная; 18 — ограничитель (штифт) угла качанил грузов; 19 — букса; 21 — плунжер; 22, 23 — хвостовик и гайка золотника; 24, 25 — вставка и винт крепления упругого элемента; 26 — упругий элемент
собой радиальными каналами. Верхняя полость служит для подвода масла из нагнетательной магистрали масляной системы регулятора, средняя соединена с рабочей полостью силового поршня сервомотора, нижняя служит для слива масла из рабочей полости силового поршня сервомотора в масляную ванну регулятора (см. рис. 39). В нижней части буксы (см. рис. 41) расположены исполнительные элементы изодромной обратной связи — поршень 7 золотника и возвращающее устройство, смонтированное на хвостовике 22 золотника.
Золотник 20, расположенный в центральном отверстии буксы, имеет три ряда окон, сообщающихся с тремя верхними полостями буксы.
Внутри золотника находится плунжер 21 с одним рабочим пояском и двумя проточками, сообщающими верхнюю и нижнюю полости буксы со средней.
Во время работы букса вращается вместе с закрепленными на ней шестерней и траверсой с грузами. Вместе с ними вращается и золотник с возвращающим устройством обратной связи. Плунжер не вращается. Его поступательным движением вверх и вниз управляют грузы, центробежная сила которых уравновешивается усилием пружины измерителя.
При работе плунжер и, следовательно, грузы независимо от усилия затяжки пружины измерителя всегда находятся в определенном положении, когда рабочий поясок плунжера перекрывает средние окна золотника. Из этого среднего положения плунжер отклоняется только во время переходных процессов регулирования. При этом регулятор устанавливает частоту вращения коленчатого вала в соответствии с усилием затяжки пружины измерителя.
Рассмотрим работу регулятора частоты вращения (см. рис. 39). На установившемся режиме работы дизеля грузы находятся в среднем положении. При этом их центробежная сила уравновешивается усилием пружины измерителя,
рабочий поясок плунжера перекрывает средние окна в золотникег а шток силового сервомотора находится в положении такой величины подачи топлива, которая соответствует нагрузке дизеля. Если нагрузка уменьшилась, то это вызывает увеличение частоты вращения коленчатого вала дизеля, грузы измерителя расходятся, приподнимая золотник, открывая этим выход масла из-под силового поршня сервомотора. Величина подачи топлива уменьшается и восстанавливается заданная частота вращения коленчатого вала дизеля. Увеличение нагрузки дизеля вызывает обратные процессы с тем же конечным результатом восстановления частоты вращения коленчатого вала дизеля, заданной усилием затяжки пружины измерителя.
Таким образом, регулятор реагирует только на изменение частоты вращения коленчатого вала, т. е. является одноимпульсным.
Нормальный, устойчивый процесс регулирования невозможен без обратной связи, действующей в направлении, противоположном действию основного импульса. В регуляторе применена обратная изодромная связь, функцию которой выполняет компенсирующий поршень 5 силового сервомотора регулятора. При движении штока сервомотора вверх, т. е. в сторону увеличения подачи топлива, в полести над компенсирующим поршнем возникает давление масла, передающееся на поршень золотника и передвигающее его вниз, задерживая этим подачу масла в цилиндр силового поршня сервомотора и, следовательно, препятствуя движению штока сервомотора вверх. При движении штока сервомотора вниз, т. е. в сторону уменьшения подачи топлива, в полости над компенсирующим поршнем возникает разрежение, вызывающее передвижение золотника вверх, задерживая этим отвод масла из-под поршня силового сервомотора и, следовательно, препятствуя движению штока сервомотора вниз.
Таким образом, если измеритель скорости, реагируя на уменьшение частоты вращения коленчатого вала дизеля, действует в сторону увеличения подачи топлива, то обратная связь действует в сторону ее уменьшения, и наоборот. Продолжительность действия обратной связи регулируется игольчатым клапаном 4 (во время работы дизеля), а скорость передвижения золотника определяется предварительной затяжкой пружины 2 возвращающего устройства, которая устанавливается при сборке золотниковой части, равной 1—1,2 кгс. Регулировку предварительной затяжки пружины производят прокладками толщиной 0,1 и 0,2 мм, устанавливаемыми под пружину. Гайку хвостовика золотника шплинтуют в таком положении, когда расстояние между торцами тарелок равно глубине внутренней выточки в стакане возвращающего устройства. Выполняют эту операцию сборки на золотнике, вынутом из буксы. Гайку затягивают до положения, когда торец нижней тарелки становится заподлицо с торцом стакана. Выступание или утопание торца тарелки не допускается, так как это приведет к неустойчивой работе регулятора из-за осевого люфта золотника.
Регулировать предварительную затяжку пружины следует только в случаях, если исключены другие возможные причины неудовлетворительной работы регулятора. При этом плавные колебания штока
сервомотора устраняются увеличением предварительной затяжки пружины, а резкие и беспорядочные — ее уменьшением.
Изменение частоты вращения коленчатого вала осуществляется при помощи гидравлической системы, встроенной в регулятор и имеющей жесткую обратную связь и дистанционное электрическое управление.
В эту систему (см. рис. 39) входят золотниковое устройство 17, сервомотор 13 затяжки пружины измерителя, рычажный механизм, осуществляющий обратную связь, и электромагниты, являющиеся исполнительными органами дистанционного управления от контроллера машиниста.
Вращающийся золотник прижат к торцу якоря электромагнита МР4 пружиной, упирающейся в торец приводной шестерни. Усилие пружины передается через упорный шариковый подшипник. Золотник имеет два положения — верхнее, когда электромагнит выключен, и нижнее, когда он включен. Верхняя кольцевая проточка золотника с радиальными отверстиями соединена с нагнетательной полостью масляной системы регулятора, а нижняя — с полостью поршня сервомотора затяжки пружины измерителя, Золотник связан со штоком поршня сервомотора двумя рычагами Е и Г, соединенными между собой тягой Д. Люфты в шарнирных соединениях рычагов и тяги выбраны в одну сторону при помощи усилий двух пружин, действующих на нижние торцы плунжера и тяги. Эти же пружины прижимают среднюю опору нижнего рычага к треугольной пластине, упирающейся своими углами в торцы якорей электромагнитов МР1, МР2 и МРЗ. Пластина прижимается к якорям электромагнитов усилием еще одной, специально предназначенной для этого пружиной.
Электромагниты МР1, МР2 и МРЗ управляют положением треугольной пластины, а электромагнит МР4 — положением золотника,
Изменение положения треугольной пластины влечет за собой и изменение положения (по вертикали) точки опоры нижнего рычага, который, поворачиваясь относительно его шарнирного соединения с тягой, передвигает плунжер золотника в ту же сторону. При этом если плунжер относительно золотника опускается вниз, то масло поступает в цилиндр сервомотора и передвигает его поршень вниз, увеличивая этим затяжку пружины измерителя и, следовательно, увеличивая частоту вращения коленчатого вала дизеля. Движение поршня вниз передается через рычажную передачу плунжеру, который перемещается при этом вверх и перекрывает окна золотника, останавливая этим дальнейшее движение поршня сервомотора. Если плунжер относительно золотника перемещается вверх, то масло вытекает из цилиндра сервомотора и поршень его движется вверх, ослабляя затяжку пружины измерителя и снижая этим частоту вращения коленчатого вала дизеля. Движение поршня сервомотора вверх прекращается также в момент, когда плунжер перекроет окна золотника.
При включении электромагнита МР4 золотник перемещается вниз, что влечет за собой такие же последствия, как и при перемещении золотника вверх, т. е. снижение частоты вращения коленчатого вала дизеля.
Таким образом, в данной системе управления каждому положению точки опоры нижнего рычага в треугольную пластину в комбинации с положением золотника соответствует свое, строго определенное положение поршня сервомотора затяжки пружины измерителя и, следовательно, свое значение частоты вращения коленчатого вала дизеля. Положение же плунжера всегда одно и то же. Он устанавливается автоматически в положение перекрытия нижнего ряда окон золотника.
При включении электромагнита его сердечник опускается вниз до упора заплечика штока в корпус, а в выключенном состоянии сердечник поднят вверх до упора в торец резьбовой пробки, положение которой регулируется из условия получения необходимой величины хода сердечника, чтобы срабатывание данного электромагнита изменяло частоту вращения вала дизеля на определенную величину, а именно: МР1 — на 200 об/мин; МР2 — на 100 об/мин; МРЗ — на 50 об/мин и МР4 — на 25 об/мин. Включение первых трех электромагнитов увеличивает, а включение МР4 уменьшает частоту вращения коленчатого вала на указанные величины. Из сказанного выше следует, что регулировка величины перемещения якоря электромагнита влияет на частоту вращения коленчатого вала дизеля на тех позициях рукоятки контроллера, где он выключен, а именно:
МР1 — на 0, І, II, III, IV, V, VI, VII;
МР2 — на 0, І, II, III, VIII, IX, X, XI;
МРЗ — на 0, І, IV, V, VIII, IX, XII, XIII;
МР4 — на 0, І, III, V, VII, IX, XI, XIII, XV.
Настройка системы производится на работающем дизеле последовательно на XIV, XV, XII, X и VI позициях рукоятки контроллера. Устанавливаются 725, 750, 675, 625 и 525 об/мин регулировкой положения опоры верхнего рычага (XIV позиция) и регулировкой хода сердечника электромагнитов: МР4 (XV); МРЗ (XII); МР2 (X) и МР1 (VI). Пробки электромагнитов после регулировки контрят и проверяют фактическую частоту вращения по всем позициям контроллера. На всех позициях контроллера отклонение от номинального значения частоты вращения вала не должно превышать ±13 об/мин, а на XV позиции +9 и —5 об/мин.
Номинальные значения частоты вращения коленчатого вала дизеля на соседних позициях контроллера отличаются на 25 об/мин. При наличии отклонений от этих требований производят необходимую корректировку величин хода сердечников электромагнитов.
Устройство и работа регулятора мощности улучшенной конструкции подробно описаны ниже. Однако для того чтобы они были лучше поняты и усвоены, необходимо уточнить его отдельные характерные особенности. Если у регулятора частоты вращения измерителем или чувствительным элементом, реагирующим только на изменение частоты вращения коленчатого вала, являются вращающиеся грузы, то у регулятора мощности таким измерителем или чувствительным элементом, реагирующим только на изменение нагрузки, является силовой поршень сервомотора регулятора частоты вращения. Получение им им-
пульса по изменению нагрузки, так же как и у измерителя, при получении импульса от изменения частоты вращения коленчатого вала приводит к перемещению плунжера золотникового устройства. В обоих регуляторах следствием перемещения плунжера золотника является действие сервомотора, направленное против действия импульса. Таким образом, оба регулятора (частоты вращения и мощности), объединенные в одном агрегате, полностью идентичны по принципу своей работы.
Не являются исключением из этого и изодромные обратные связи исполнительных механизмов (сервомоторов) обоих регуляторов с их золотниковой частью. На установившемся режиме работы дизеля оба регулятора по сути действуют самостоятельно и изолированно друг от друга. Регулятор частоты вращения поддерживают постоянную частоту вращения коленчатого вала, а регулятор мощности поддерживает постоянной нагрузку, соответствующую количеству подаваемого топлива в цилиндры дизеля при данном положении силового поршня сервомотора регулятора частоты вращения. Это положение поршня силового сервомотора регулятора изменяется в зависимости от частоты вращения коленчатого вала, вследствие того что точка опоры рычага, связывающего его с плунжером золотниковой части регулятора мощности, перемещается вместе с поршнем сервомотора пружины измерителя. Обусловлено это тем, что на любом режиме работы дизеля плунжер золотниковой части регулятора мощности остается в положении, когда его поясок перекрывает верхний ряд окон золотника. Таким образом получается, что каждому значению частоты вращения коленчатого вала соответствует свое определенное положение штока силового сервомотора регулятора и, следовательно, свое объемное количество топлива, подаваемое в цилиндры дизеля, или, что то же, вполне определенная мощность, развиваемая дизелем (см. ниже о влиянии температуры топлива).
Заданная техническими условиями зависимость изменения мощности дизеля от частоты вращения коленчатого вала (тепловозная характеристика) достигается настройкой электрической схемы тепловоза и регулировкой рычажного механизма регулятора мощности. При проведении настройки регулятора мощности следует учитывать, что уровень мощности на номинальном режиме устанавливается изменением длины ввертывания винта в верхний шток сервомотора регулятора частоты вращения (размер а). При вворачивании винта уровень мощности повышается, а при выворачивании уменьшается. Если при этом исчерпывается запас резьбы винта, то его следует установить в среднее положение и сместить в нужную сторону плунжер золотника с помощью эксцентрика в месте его соединения с тягой. Смещение золотника вниз увеличивает уровень мощности, а вверх — уменьшает. Затем вновь производится подрегулировка уровня мощности указанным винтом.
Перемещением точки подвеса золотника по рычагу производят регулировку наклона тепловозной характеристики дизеля. При перемещении ее в сторону измерителя частоты вращения наклон характеристики увеличивается, а при перемещении ее в сторону сервомотора регулятора частоты вращения наклон характеристики уменьшается.
Подробные указания по методике настройки регулятора мощности изложены ниже.
В эксплуатации уход за объединенным регулятором сводится практически к наблюдению за уровнем масла в нем и к устранению возможных дефектов в его работе. По имеющемуся опыту чаще всего причиной ненормальностей в работе регулятора является загрязнение масла или продуктами износа трущихся деталей, или грязью, занесенной при доливах. Поэтому во всех случаях неудовлетворительной работы регулятора необходимо промыть его и сменить в нем масло. Другие возможные причины неисправностей в работе регулятора и методы их устранения изложены в инструкции по дизелю.
Силовой сервомотор регулятора частоты вращения оборудован клапаном с электромагнитным управлением. С помощью этого клапана производится остановка дизеля от дистанционного управления, а также при срабатывании защит по падению давления масла, по перегреву масла и воды в системах дизеля и по давлению газов в картере.
При пуске дизеля производительность масляного насоса регулятора недостаточна для быстрого перемещения силового поршня сервомотора регулятора частоты вращения в положение необходимой величины подачи топлива. Для ускорения пуска дизеля регулятор оборудован дополнительным устройством в виде сервопоршня с электропневматическим управлением (см. рис. 43). Вовремя пуска электромагнитный вентиль / открывает доступ воздуху из тормозной магистрали в полость а цилиндра сервопоршня. Поршень передвигается и подает масло в нагнетательную полость масляной системы регулятора, обеспечивая этим быструю перестановку штока сервомотора регулятора частоты вращения в положение требуемой подачи топлива в цилиндры дизеля для обеспечения его пуска. Масляная полость пускового сервопоршня соединена с масляной системой регулятора гибким трубопроводом, в штуцерах 7 и 9 присоединения этого трубопровода расположены невозвратные шариковые клапаны.
Для устранения коррозии поверхностей воздушной полости сервопоршня, а также задиров поверхности деталей, находящихся в его внутренней полости, кадмируют с дизеля 11Д45А №158. С этого же дизеля введено уплотнение масляной полости сервопоршня двумя резиновыми кольцами (было одно).
Изменения в конструкции объединенного регулятора: по регулятору частоты вращения. Измеритель частоты вращения приводится во вращение от шестеренчатого привода, связанного с коленчатым валом дизеля. Неравномерность вращения коленчатого вала в пределах одного полного оборота по всей видимости передается приводу регулятора, так как при работе дизеля грузы измерителя совершают колебательное движение около своего среднего положения с частотой, равной частоте вращения коленчатого вала. Это вызывает вибрацию с такой же частотой штока силового сервомотора, передающуюся рейкам топливного насоса. Особенно сильно вибрация реек топливного насоса проявляется на режиме номинальной мощности при работе дизеля с регулятором, имеющим измеритель первоначальной конструкции.
Этот недостаток в работе регулятора частоты вращения был полностью устранен установкой в измеритель (см. рис. 41) упругой связи между диском-шестерней 8, неподвижно закрепленной на вращающейся буксе 19, и траверсой //, на которой установлены качающиеся грузы 12 измерителя. Упругая связь выполнена в ^иде двух брусков из маслостойкой резины.
Доводка устойчивости процесса регулирования частоты вращения коленчатого вала привела к необходимости уменьшения диаметра силового поршня (с 57 до 48 мм) и увеличения диаметра компенсирующего поршня (с 38 до 48 мм) силового сервомотора регулятора. Это увеличило быстродействие регулятора и повысило чувствительность его обратной связи. Одновременно была ослаблена пружина силового сервомотора;
по регулятору мощности. Объединенный регулятор имеет устройство, которое связывает между собой взаимное положение поршня сервомотора управления частотой вращения и штока силового сервомотора регулятора частоты вращения вала. Следствием этой связи является соблюдение определенной зависимости между частотой вращения коленчатого вала дизеля и положением реек топливного насоса, определяющим объемную цикловую подачу топлива в цилиндры дизеля. Таким образом, при работающем упомянутом устройстве каждой частоте вращения коленчатого вала соответствует вполне определенная объемная величина подачи топлива в цилиндры дизеля. Поскольку мощность, развиваемая дизелем, зависит в конечном итоге от частоты вращения коленчатого вала и от количества сгораемого топлива в его цилиндрах, устройство регулятора, обеспечивающее заданную зависимость между этими основными факторами, выполняет функции регулятора мощности. Необходимо учитывать, что действительное количество топлива, подаваемого в цилиндры дизеля, зависит не только от положения реек топливного насоса, определяющего только объемную величину подачи топлива, но и от температуры топлива, заметно влияющей на его удельный вес.
Таким образом, при работающем регуляторе мощности уровень мощности, развиваемой дизелем, при данной частоте вращения коленчатого вала зависит и от температуры топлива, подаваемого к топливному насосу. Для дизелей ПД45 и 11Д45А изменение температуры топлива на 10° С вызывает изменение уровня номинальной мощности на ~ 1,4%. Во избежание большой перегрузки дизеля не рекомендуется его работа на топливе с температурой ниже +20° С. Установку упора ограничения максимальной подачи топлива при регулировке дизеля на стенде завода производят из расчета его работы на топливе, имеющем температуру +20° С.
Функцию регулятора мощности с обратной связью выполняет золотниковое устройство, управляющее подачей масла в сервомотор, соединенный с реостатом, регулирующим ток возбуждения генератора (впоследствии регулировочный реостат был заменен индуктивным датчиком).
Исходная конструкция регулятора мощности обладала рядом существенных недостатков, которые приводили к неустойчивости про-
цесса регулирования и к затягиванию времени протекания переходных процессов. Причинами этого были недостаточная четкость работы выбранной схемы изодромной обратной связи, наличие двух рабочих поясков золотниковой части регулятора, требующих высокой точности изготовления, а также наличие люфтов в шарнирных соединениях, вызывающих большую степень нечувствительности регулятора. Настройка и регулировка регулятора мощности были неудобны, сложны и не всегда приводили к требуемым результатам. Завод-изготовитель дизеля разработал и внедрил в производство новую, более совершенную конструкцию регулятора мощности.
Сервомотор регулятора мощности новой конструкции имеет дифференциальный поршень и полость г (см. рис. 39), выполняющую функции изодромной обратной связи. Полость эта соединена игольчатым клапаном 10 и корректором (золотниковым клапаном) 8 с собственной масляной ванной. Дифференциальный поршень со стороны меньшей площади постоянно находится под давлением масла из общей масляной системы объединенного регулятора.
Подачей масла в полость сервомотора со стороны большей площади или отводом из нее масла управляет цилиндрический поясок плунжера золотника регулятора мощности. При движении сервомотора в сторону требуемого увеличения или уменьшения нагрузки в полости г изодромной связи создается соответственно разрежение или давление, передающиеся в полость золотниковой части 12, уплотненную мембраной. Под действием разрежения или давления в этой полости золотник перемещается в ту же сторону, что и плунжер, несколько отставая от него. Когда устанавливается требуемая нагрузка, под действием пружин золотник возвращается в среднее положение со скоростью определяемой проходным сечением игольчатого клапана обратной связи. Скорость эта устанавливается регулировкой клапана и должна быть меньше скорости возвращения плунжера. Плунжер догоняет золотник и, перекрывая пояском его окна, останавливает движение поршня сервомотора. Дальнейшее возвращение плунжера и золотника происходит совместно, при этом окна золотника перекрыты и поршень сервомотора остается неподвижным. Таким образом, новое значение тока возбуждения генератора устанавливается в соответствии с требуемой нагрузкой без длительных колебаний.
Затяжка пружин корректора 8 обратной связи регулируется так, чтобы при давлении (или разрежении), равном 0,5 кгс/см2, его поршень сообщал полость обратной связи с масляной ванной. Это обеспечивает необходимую скорость перемещения поршня сервомотора при резких изменениях нагрузки.
Устойчивость работы регулятора мощности регулируется вращением иглы 10, которая должна быть вывернута не менее чем на два оборота от упора во избежание большого замедления процесса регулирования нагрузки.
Дополнительным мероприятием, повысившим чувствительность регулятора мощности, является установка пружины на плунжер его золотниковой части с целью выборки зазоров в шарнирах рычажного соединительного механизма,
В эксплуатации уход за регулятором мощности сводится только к наблюдению за уровнем масла в масляной ванне 9 системы изодром-ной обратной связи. Уровень масла должен находиться между метками на щупе. Для заправки и доливов применяют сорт масла, используемый для регулятора. При замене масла во время плановых ремонтов необходимо удалить воздух из системы с помощью игольчатого клапана, расположенного на нижней крышке золотниковой части регулятора мощности. Для этого необходимо отвернуть игольчатый клапан на несколько оборотов и передвинуть поршень сервомотора внутрь корпуса, затем завернуть иглу и передвинуть поршень в обратном направлении. Операцию эту следует повторять, пока из игольчатого клапана не начнет вытекать масло без пузырьков воздуха;
по системе управления частотой вращения коленчатого вала. Исходная конструкция системы управления частотой вращения коленчатого вала дизеля в объединенном регуляторе также обладала недостатками, устранение которых потребовало внести изменения в его конструкцию. Одним из них являлось резкое изменение частоты вращения при переходе с низшей позиции контроллера на высшую, т. е. при наборе оборотов. При снижении частоты вращения коленчатого вала резкое их изменение не влечет за собой каких-либо нежелательных последствий и вполне допустимо, а при повышении частоты вращения их резкое изменение приводит к неполному сгоранию топлива во время переходного процесса регулирования, что крайне нежелательно. Происходит это вследствие того, что регулятор устанавливает необходимую подачу топлива в цилиндры дизеля раньше, чем система воздухоснабжения дизеля, из-за инерционности турбокомпрессоров может обеспечить повышение количества подаваемого воздуха, необходимого для полного сгорания этого топлива. Устранение этого недостатка возможно только замедлением процесса увеличения частоты вращения коленчатого вала.
С этой целью на входе масла в сервомотор, управляющий затяжкой пружины измерителя, были установлены дроссель ламинарного типа и шариковый обратный клапан. Одновременно в месте подвода масла в золотниковую часть механизма устранена прерывистость подачи масла вводом кольцевой проточки на наружной поверхности вращающегося золотника. С такими изменениями механизм управления частотой вращения обеспечивает увеличение частоты вращения коленчатого вала дизеля с 400 до 750 об/мин при переводе рукоятки контроллера с І на XV позицию за 50—150 с при температуре масла в регуляторе, равной 60—65° С. Уменьшение частоты вращения коленчатого вала происходит быстро, без замедления, так как отвод масла из сервомотора управления происходит через шариковый клапан.
Опыт эксплуатации большого количества тепловозов ТЭП60 показал, что управление ими с вводом приведенных изменений в конструкцию объединенного регулятора стало значительно более удобным и автоматичным. Установка требуемой большей скорости движения тепловоза производится перестановкой рукоятки сразу на соответствующую позицию и автоматически устанавливается по истечении определенного времени плавным изменением режима работы дизеля.
Вторым недостатком работы объединенного регулятора являлось произвольное уменьшение частоты вращения коленчатого вала дизеля при его работе на установившемся режиме. Это объясняется чувствительностью системы к изменению вязкости масла при повышении его температуры. Для устранения этого дефекта была уменьшена температура масла снижением давления в масляной системе регулятора с 6,5—7,5 до 5,5—6,5 кгс/см2 (соответствующим ослаблением пружин аккумуляторов).










