Масляная система дизеля
В масляную систему дизеля входят: масляный насос, редукционные клапаны, трубопроводы и внутренние каналы и сверления, по которым масло подводится ко всем трущимся поверхностям. На дизель 1ІД45А с № 156 были установлены также предохранительные клапаны и центробежный масляный фильтр, ранее располагавшиеся вне дизеля, во внешней (тепловозной) части масляной системы. Масляный насос всасывает масло из картера дизеля и направляет его под давлением по внешнему трубопроводу через сетчатый фильтр и холодильник в патрубок подвода масла к дизелю. По патрубку масло подводится в основной масляный канал блока, из которого оно поступает на смазку всех подшипников коленчатого и распределительного валов, головных и прицепных подшипников шатунов и на охлаждение головок поршней. От штуцеров, приваренных к патрубку, масло по трубам подводится на смазку подшипников ротора приводного нагнетателя, подшипников роторов обоих турбокомпрессоров и к соплу, подающему масло на смазку зубьев шестерен редуктора приводного нагнетателя, а также к двум каналам в корпусе толкателей (лотке). Из каналов в лотке масло непосредственно смазывает трущиеся поверхности толкателей и по трубкам, присоединенным к штуцерам,являющимся одновременно шпильками для крепления фланцев направляющих втулок толкателей, масло подводится на смазку клапанного механизма на крышках цилиндра и на смазку подшипников привода топливного насоса.
К подшипникам топливного насоса масло подводится также из одного из каналов лотка, имеющего для этой цели в своей средней части выходной фланец. В качестве одного из мероприятий, способствующих устранению выброса масла в выпускную систему, с дизеля 11Д45 № 190 было ограничено максимальное давление масла в обоих каналах лотка. На входе масла в эти каналы был установлен редукционный клапан, отрегулированный на давление 3 кгс/см2. Для удобства прокладки трубопровода корпус редукционного клапана снабжен раздаточным тройником.
Одним из недостатков масляной системы дизеля являлась необходимость значительного прогрева масла перед пуском дизеля. При пуске дизеля с температурой масла ниже +40° С происходило значительное повышение давления масла в системе. Причиной была недостаточная пропускная способность предохранительных клапанов, расположенных в масляном насосе и во внешней системе трубопроводов. Для устранения этого недостатка с дизеля 11Д45А № 156 клапаны с большей пропускной способностью установлены на корпус редуктора приводного нагнетателя. Из масляного насоса и из внешней системы масляного трубопровода клапаны изьяты. Одновременно для упрощения масляной системы тепловоза центробежный масляный фильтр перенесен на дизель. В связи с этим корпус масляного насоса новой, упрощенной конструкции снабжен двумя дополнительными фланцами для отвода масла к одному из перепускных клапанов, отрегулированному на давление 10 кгс/см2, и к центробежному фильтру. Масло по второму
перепускному клапану, отрегулированному на давление б кгс/см2, отводится от патрубка подвода масла к дизелю. С этой новой системой регулирования давления масла оказался возможным нуск дизеля при температуре масла в системе +20° С и, следовательно, отпала необходимость прогрева масла перед пуском дизеля в теплое время года. Пуск дизеля при температуре масла ниже +20° С запрещается по соображениям предотвращения возможных повышенных износов трущихся поверхностей.
Уход за масляной системой в эксплуатации сводится к регулярному наблюдению за качеством масла в системе, к доливам масла в картер дизеля по мере его расходования, а также к своевременной очистке фильтров грубой очистки и центробежного.
Анализ масла на вязкость, температуру вспышки и содержание воды следует производить по возможности при каждом заходе в основное депо. Браковочными признаками масла являются: диспергирующая способность при t = 200° С ниже 0,3; щелочность в единицах рН спирто-бензольного раствора масла ниже 5,5; вязкость при t = 100° С ниже 11,5 сСт, температура вспышки ниже 180° С; содержание воды более 0,05%. Масло подлежит замене при появлении любого отклонения от приведенных норм. Уровень масла в картере при выезде из депо должен быть по верхнюю метку щупа, замеряемый при работающем маслопрокачивающем насосе и после удаления воздуха из масляного фильтра и теплообменника. Фильтрующие элементы грубой очистки масла следует очистить от осадка при достижении перепада давления в нем 1 кгс/см2, а также при плановых ремонтах. Центробежный фильтр очищать при плановых ремонтах.
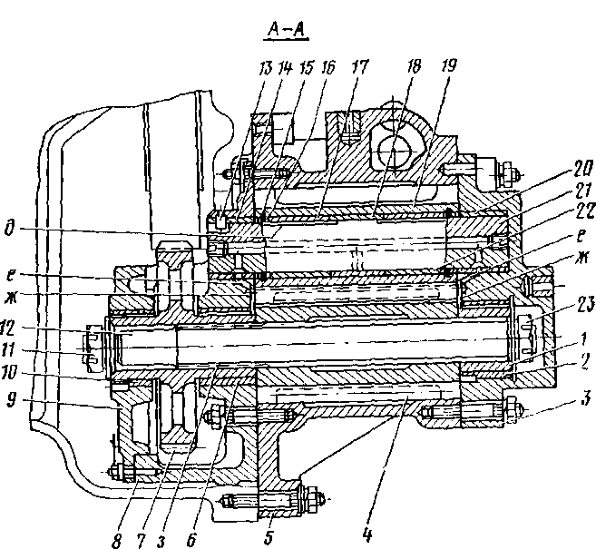
Масляный насос дизеля. Шестеренчатый масляный насос (рис. 33) имеет передаточное отношение (относительно коленчатого вала) 2,84 : 1. Объемная производительность при п = 750 об/мин'коленчатого вала и при давлении 8 кгс/см2 составляет ~90 м3/ч. Приводная 7 и ведущая 4 (рабочая) шестерни насоса вместе со съемной цапфой / насажены на общий шлицевой вал 12 и закреплены на нем гайками // и 23 регламентированным усилием затяжки. Подшипниками ведущего узла служат бронзовые втулки 2,6 и 10, запрессованные в торцовые крышки корпуса. Ведомая рабочая шестерня 19 имеет также запрессованные бронзовые втулки 17, 22 и вращается она на неподвижной оси 21, закрепленной в гнездах торцовых крышек. От вращения и осевого перемещения ось удерживается стопором 13.
Предохранительный клапан из масляного насоса был удален из-за недостаточной пропускной способности. Одновременно был проведен ряд существенных изменений конструкции насоса для повышения надежности и увеличения срока его службы. Так, изменена система смазки подшипников ведущего узла. Вместо подвода масла по косым каналам в крышках к несквозным смазочным канавкам осуществлен торцовый подвод, и канавки сделаны сквозными. Это полностью устранило задиры подшипников и значительно уменьшило их износ, что явилось следствием увеличения циркуляции масла через подшипники и устранения грязесборника в виде тупиковых смазочных канавок. С этой же целью и с одинаковым эффектом тупиковые смазочные ка-


Рис. 33. Насос масляный:
/ — съемная цапфа; 2, б, 10 — втулки подшипников ведущего вала; 3 — крышка задняя; 4 — шестерня ведущая: 5 —корпус насоса; 7 —шестерня приводная; 8 — крышка передняя; 9 —корпус выносного подшипника; 11, 23 — гайки; 12 — вал шлицевой; 13 — штифт стопорный; 14, 20 — втулки опор оси; 15, 16 — стопорное и проставочное кольца; 17, 22 — втулки подшипников ведомой шестерни; /8 —втулка распорная; 19 — шестерня ведомая; 21 — ось; а —канал для отвода масла к фильтру; б — полость нагнетательная; в, д, е, ж, з, и, к — каналы и полости для смазки подшипников насоса; г — полость всасывания
масла
навки заменены сквозными и во втулках ведомой шестерни. Для увеличения циркуляции масла в этих подшипниках введена кольцевая полость вокруг гнезд оси в торцах обеих крышек насоса с отводом масла во всасывающую полость по специальной выфрезерованной канавке. Чтобы уменьшить износ опор оси, в крышки запрессовывают латунные втулки 14 и 20.
Ранее с дизеля 11Д45 № 148 было изменено стопорение втулок ведомой шестерни от осевого перемещения в сторону крышек насоса. Вместо резьбовых стопоров введено стопорение разрезным пружинным кольцом. Это устранило случаи задиров и значительных износов торцов крышек.
Для полной разгрузки опор от дополнительных давлений, являющихся следствием «защемления» масла во впадинах зубьев шестерен, с дизеля 11Д45А № 155 введена дополнительная обработка головки зубьев ведущей шестерни, устраняющая защемление масла в двух впадинах одновременно.
Для устранения касания зубьев шестерни о корпус при нормальных износах в подшипниках с дизеля 11Д54 А№ 155 значительно увеличен радиальный зазор между рабочими шестернями и корпусом насоса со стороны полости всасывания.
Все перечисленные мероприятия рекомендуется осуществить на масляных насосах ранее изготовленных дизелей при очередных плановых ремонтах. Существенным недостатком масляных насосов являлась нетехнологичность их ремонта. При необходимости замены втулок требовалась расточка новых втулок в сборе с крышками, установленными на корпусе насоса.
С дизеля 11Д45А№ 188 масляные насосы изготовляют по измененной технологии, обеспечивающей полную взаимозаменяемость всех втулок в крышках. При необходимости замены в крышку этих насосов запрессовывают окончательно обработанные втулки.
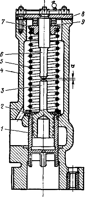
Центробежный масляный фильтр. С дизеля 11Д45А № 156 центробежные масляные фильтры (рис. 34) были установлены на дизель. Одновременно была изменена их конструкция. Практически остался неизменным только принцип работы — вращение от реактивного момента, создаваемого энергией вытекающих струй масла из сопел 15, и очистка масла от механических примесей, имеющих большой удельный вес, действием центробежной силы на масло, циркулирующее через полость ротора 9.
В отличие от прежней сварной конструкции узел кронштейна 1 и колпака 8 литой, из алюминиевого сплава. Вместо шарикоподшипника верхняя опора ротора имеет, как и нижняя, подшипник скольжения. Подвод масла в ротор осуществляется по каналам в верхней части оси, а не в нижней. Сопла перенесены в нижнюю часть ротора. Масло к фильтру подводится через подпорный клапан, отрегулированный на открытие при давлении масла 2,5 кгс/см2. Клапан оборудован шпинделем 19, при помощи которого можно отключить подвод масла к фильтру, при необходимости его очистки во время работы дизеля. В условиях эксплуатации дизеля на тепловозе отключение фильтра не требуется и пользоваться им категорически запрещается. На внут-

Рис. 34. Фильтр масла центробежный:
/ — кронштейн; 2 — ось; 3 — подшипник упорный; 4 — крышка ротора; 5 — кольцо уплот-нительное; 6 — кольцо стопорное, удерживающее подшипник 3 от разборки при демонтаже ротора; 7, 11— втулки подшипников ротора; 8 — колпак; 9 — ротор; 10 — бумажная прокладка; 12 — опора оси; 13 — пробка смотрового отверстия; 14—направляющий кожух; 15 — сопло; 16 — прокладка сопла; 17 — рукоятка шпинделя; 18 — контрольный установочный штифт крышки барабана; 19 — шпиндель запорный; 20. 21, 22 — пробка, букса и сальник уплотнения шпинделя; 23 — гайка шпинделя; 24 — пружина клапана; 25 — клапаи подпорный; 26 — шайба регулировочная; 27 — седло клапана
реннюю стенку барабана укладывается лист чертежной бумаги 10. При очистке ротора во время плановых ремонтов лист бумаги удаляют вместе с осадком и заменяют новым.
Предохранительные и редукционный клапаны. Необходимая производительность масляного насоса определяется величиной минимально допустимого давления масла на входе в дизель при его работе на минимальной частоте вращения вала с максимально допустимой температурой масла. При выполнении этого условия на максимальной частоте вращения коленчатого вала производительность масляного насоса оказывается больше, чем это требуется для обеспечения нормальных условий работы дизеля, а при пусках дизеля на холодном масле давление в масляной системе оказывается чрезмерно большим.
Эти обстоятельства вызвали необходимость установки в масляной системе перепускных клапанов, выполняющих функцию регуляторов
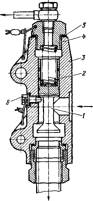
давления. Один из них (рис. 35) перепускает излишнее масло в картер дизеля при повышении давления масла на выходе из масляного насоса более 10 кгс/см2. До дизеля 11Д45А № 156 клапан был вмонтирован в корпус масляного насоса и не обладал достаточной пропускной способностью. С дизеля № 156 этот клапан устанавливают на корпусе редуктора привода насосов. Он имеет большую пропускную способность и обеспечивает возможность пуска дизеля при более низких температурах масла. Второй клапан (рис. 36) отрегулирован на давление 6 кгс/см2 и ограничивает давление масла на входе в дизель. С дизеля № 156 его также устанавливают на дизеле. Заменяя масляный насос старой конструкции новым, необходимо клапан с регулировкой на давление 10 кгс/см2 установить на передний торец подди-зельной рамы, сделав для этого в ней отверстие для прохода масла и резьбовые отверстия для шпилек крепления выходного фланца клапана.
Оба клапана по принципу работы и по устройству одинаковы и имеют лишь различное конструктивное оформление. Для уменьшения размеров и усилия пружины они имеют разгрузочный поршень, уменьшающий площадь клапана, воспринимающую давление масла.

Рис. 35. Клапан предохранительный (на 10 кгс/см2):
/ — корпус; 2 — клапан; 3 — поршень разгрузочный; 4 — пружина; 5 — тарелка пружины; 6' — упор поршня; 7 — пробка регулировочная; 5 — крышка

Рис. 36. Клапан предохранительный (на 6 кгс/см2):
/ — клапан; 2 — кольцо; 3 — поршень разгрузочный; 4 — корпусі 5 — пружина; 6 — упор поршня; 7 — тарелка пружины; 8 — крышка! 9 — кольца регулировочные
Для устранения возможных колебаний клапана, могущих вызвать пульсацию давления в системе из-за гидравлических ударов, при резком открытии и закрытии клапана внутренняя полость между поршнем и донышком клапана выполнена в виде замкнутого объема с выходным отверстием малого проходного сечения. При движении клапана в сторону открытия или закрытия объем этой полости резко изменяется, вызывая в ней соответственно или повышение давления, или появление разрежения, замедляющие скорость перемещения клапана. Размер отверстия в донышке клапана подобран из условия обеспечения требуемой скорости перемещения клапана.
Конструкция редукционного клапана, устанавливаемого на трубопроводе, подводящем масло к клапанному механизму, топливному насосу и его приводу, приведена на рис. 37. Усилие его пружины подобрано с расчетом, чтобы клапан перекрыл проход маслу при давлении за ним, равном 3 кгс/см2.
Перепускные и редукционный клапаны ухода не требуют. Об их исправности следует судить по величине давлений масла в системе. Осмотр клапанов производят при соответствующих плановых ремонтах дизеля. В процессе эксплуатации категорически запрещается отвертывать и переставлять стопорный винт € редукционного клапана, так как это может привести к прекращению прохода масла через клапан.

Рис. 37. Клапан редукционный:
/ — клапан; 2 — пружина; 3— корпус; 4 — пробка, 5 — прокладка; 6 — винт стопорный










