Топливоподающая система дизеля
Топливный насос. Каждый цилиндр дизеля имеет свой комплект топливной аппаратуры, состоящий из топливного насоса, форсунки и соединяющей их форсуночной трубки. По условиям компоновки дизеля топливные насосы всех шестнадцати цилиндров в виде насосных элементов соединены в один блок с общим приводом, который в комплекте принято называть топливным насосом дизеля. Общий кулачковый вал этого насоса вращается в девяти разъемных подшипниках скольже^ ния, изготовляемых из алюминиевого сплава. Частота и направление вращения кулачкового вала топливного насоса и коленчатого вала дизеля одинаковы. Со своим приводом кулачковый вал соединен зубчатой муфтой, имеющей два венца с неодинаковым числом зубьев, что позволяет осуществить это соединение в любом взаимном положении кулачкового вала относительно коленчатого вала дизеля.
При работе дизеля эта муфта воспринимает значительные динамические нагрузки, и даже кратковременная ее работа без смазки приводит к большому износу зубьев, и как следствие этого — к недопустимой разрегулировке дизеля. Смазываются зубчатые венцы муфты густой графитовой смазкой, заправляемой внутрь муфты через отверстие, закрываемое резьбовой пробкой. Во время плановых ремонтов необходимо дозаправить муфту смазкой. При ее сборке не допускаются неплотности, могущие привести к выбрасыванию смазки наружу. Особые требования предъявляются к установке и креплению полумуфт на конусные хвостовики вала привода и кулачкового вала. Плохая пригонка сопрягаемых конусных поверхностей и недостаточное крепление полумуфт, а также неправильная установка упругих гаек могут привести к ослаблению посадки полумуфты и к поломкам валов.
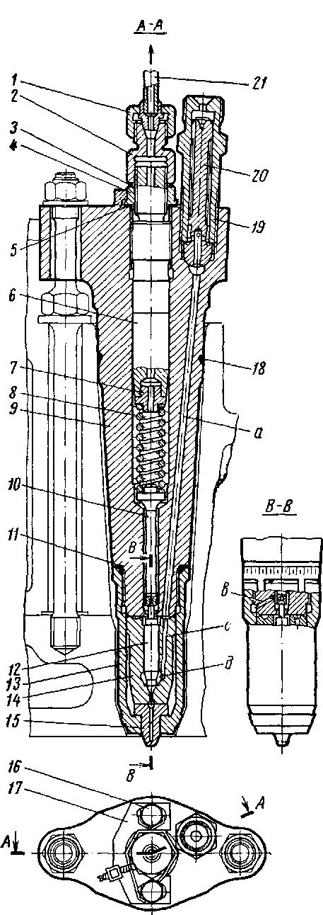
Все подвижные детали каждого насосного элемента (рис. 31), в которые входят плунжер и толкатель с роликом и регулировочным
болтом, прижимаются усилием пружины при помощи тарелок, охватывающих головку плунжера, к профилю кулачка вала. При вращении кулачкового вала возвратно-поступательное движение этих деталей происходит под действием кулачка вверх и под действием, пружины вниз. Усилие пружины превышает силы инерции масс движущихся деталей, что обеспечивает постоянный контакт ролика толкателя с профилем кулачка.
Плунжер со втулкой, а также нагнетательный клапан с седлом являются прецезионными парами, изготовляемыми с большой точностью и с тщательной подгонкой. Детали этих пар невзаимозаменяемы. Устанавливаются они на насос и заменяются только в скомплектованных парах. Плунжер с втулкой представляет собой насос золотникового типа с линейным законом изменения продолжительности подачи, который определяется переменным осевым расстоянием между двумя отсечными спиральными кромками, расположенными на верхней части плунжера. Верхняя отсечная кромка определяет начало подачи топлива в момент, когда она при движении плунжера вверх перекрывает верхнее круглое окно во втулке. Подача топлива заканчивается в момент, когда нижняя отсечная кромка движущегося вверх плунжера начинает открывать нижнее круглое окно во втулке. Обе отсечные кромки имеют разное направление спирали.
Изменение величины подачи топлива осуществляется поворотом плунжера. Одновременно с этим автоматически изменяется и угол опережения подачи топлива. С увеличением подачи он становится большим. Это достигается определенным углом наклона спирали верхней кромки плунжера.
Заполнение надплунжерного пространства топливом происходит из каналов корпуса насоса через круглые окна во втулке при движении плунжера вниз. Нагнетательный клапан открывается в начале подачи топлива, пропускает его к форсунке и затем в конце подачи закрывается, препятствуя этим утечке топлива из форсуночной трубки в процессе хода «всасывания». Цилиндрический поясок клапана при его посадке в седло дополнительно разгружает полости высокого давления за насосом, способствуя этим четкости посадки иглы распылителя форсунки на свое седло.
Стабильность цикловой подачи топлива элементами топливного насоса на установившемся режиме работы дизеля обеспечивается хорошим заполнением топливом их надплунжерного пространства. С этой целью, а также для охлаждения насоса применена проточная система его топливоснабжения с давлением 1,5—2 кгс/см2, поддерживае-мшм в каналах верхней части корпуса специальным подпорным клапаном. Все три продольных канала соединены между собой отверстиями. Подводится топливо к нижнему каналу, а отводится от верхнего, что исключает возможность попадания в надплунжерное пространство насосных элементов топлива вместе с пузырьками воздуха. Перед пуском дизеля воздух из этих каналов удаляется при включенном топ-ливоподкачивающем насосе открытием игольчатого клапана, вмонтированного в подсоединение трубы, отводящей топливо из корпуса топливного насоса.

Рис. 31. Насос топливный:

/, 2 — болты регулировочные толкателя с контргайками; 3 — корпус толкателя; 4 — втулка ролика толкателя плавающая; 5 — ось ролика;
6 — пробка масляного канала оси;
7 — ролик толкателя; 8 — вал кулачковый; 9 — пробка масляного канала кулачкового вала; 10— крышка упорного подшипника кулачкового вала; // —- подшипник кулачкового вала; 12 — направляющая втулка толкателя; 13 — болт стопорный; 14, 17 — части корпуса привода насоса; 15 — средний подшипник кулачкового вала; 16 — штифт трубчатый; 18 — штуцер с уплотнением слива масла в картер дизеля; 19 — передняя крышка корпуса привода; 20 — севанитовое уплотнение; 21 — болт муфты; 22 — полумуфта зубчатая; 23, 54 — крышки муфты; 24, 25 — замочная пластина и гайка упругая; 26, 27 — муфта зубчатая с пробкой; 28 — корпус насоса; 29, 37 — валики отсечные; 30, 31 — валик и штифт откидной яланки, используемой для отключения подачи топлива отдельной секцией; 32 — рычаг вильчатый; 33 — откидная планка; 34 — проволочная шпилька для стопоре-ния деталей 30 и 31; 36 — угловой патрубок для подвода топлива; 36 — муфта, соединяющая половинки отсеченного валика; 3* — штуцер насосного элемента; 39 — упор нагнетательного клапана; 40 — пружина нагнетательного клапана; 41, 60 — нагнетательный клапан с седлом; 42 — кольцо уплотнительное; 43, 45 — втулка и плунжер насосного элемента; 44 — винт стопорный; 46 — пружина плунжера; 47— втулка с зубчатым венцом; 48 — крышка; 49, 50 — шпилька н гайка крепления крышек; 51 — винт стопорный; 52 — вкладыш подшипника верхний; 53 — вкладыш подшипника нижний; 55 — сухарь; 56, 57 — тарелки пружины плунжера; И—рейка зубчатая; 59 — трехплечнй рычаг отсечного механизма; 61 — пломба; 62, 63 — контргайка и виит регулировочный; 64 — пружина, прижимающая трехплечий рычаг к регулировочному винту; 65 — рычаг — ограничитель угла поворота отсечного валика; 66 — анкерный болт крепления корпуса насоса к корпусу привода; 67, 68 — валики пружин; 69 — болт с контргайкой, служащей упором нулевой подачи топлива; 70 — болт с контргайкой, служащий упором ограничения максимальной подачи топлива; А и £ —• каналы подвода и отсечки топлива; Г — канал для отвода избыточного топлива и пены; В и Д — соединительные каналы
Трущиеся поверхности узла кулачкового вала и толкателей смазываются маслом из системы смазки дизеля. Масло из насоса сливается в картер дизеля. Поэтому очень важным является исключение возможности попадания топлива в масло. Чтобы избежать этого, на плунжере 45 выполнена широкая проточка, полость которой постоянно соединена наклонным каналом во втулке плунжера 43 с полостью низкого давления топлива. Это мероприятие практически полностью устраняет утечки топлива по зазору между плунжером и его втулкой.
Течь топлива через стык заплечика втулки плунжера с корпусом предотвращается притиркой этих поверхностей до необходимой плотности прилегания и надежным креплением втулки при помощи штуцера 38, затягиваемого динамометрическим ключом моментом, равным 50 кгс • м. Контролируется плотность этой полости опрессовкой топливом под давлением. Величина подачи топлива изменяется при помощи зубчатой рейки 58, находящейся в зацеплении с зубчатым венцом втулки 47. Втулка 47 в своей нижней части имеет прорезь, охватывающую заплечики плунжера.
Движение рейке сообщает трехплечий рычаг 59, свободно посаженный на отсечные валики 29 и 37. На этом же валике закреплен неподвижно вильчатый рычаг 32 с откидной планкой 33. Поворотный рычаг при помощи двух пружин 64 прижат к винту 63, регулирующему равномерность цикловой подачи топлива насосными элементами. Поворот отсечного валика в сторону увеличения подачи топлива передается на рейки жестко, а на уменьшение подачи — через пружины. Этим достигается возможность выключения подачи топлива в любой цилиндр выемкой штифта 31, стопорящего откидную планку, а также сохраняется нормальная управляемость дизелем при случаях заедания отдельных реек топливного насоса. Регулировка топливного насоса по равномерности цикловой подачи на различных режимах работы дизеля, а также точность чередования начала подачи топлива по углу поворота отдельными его насосными элементами (секциями) производятся вне дизеля на специальном стенде. При этом для регулировки подачи топлива стенд должен быть укомплектован эталонными форсунками.
Плановый ремонт и регулировка насоса должны производиться в специальной мастерской хорошо обученными специалистами. При установке насоса на дизель производят центровку кулачкового вала насоса с валом привода по легкости осевого перемещения зубчатой муфты в любом положении по вращению в пределах полного оборота, устанавливают начало подачи топлива по одной из секций 1912°° до верхней мертвой точки поршня цилиндра, обслуживаемого данной секцией, и соединяют рычажную передачу управления подачей топлива.
При выполнении этих работ необходимо соблюдать соответствующие указания по обслуживанию дизеля, не допуская возможных ошибок и контролируя правильность их выполнения. Так может быть неправильно установлен угол опережения подачи топлива, если из топливного насоса не будет удален полностью весь воздух и если рейка топливного насоса не будет установлена на 27-м делении. Соединение
рычажной передачи от регулятора и предельного выключателя к отсечному валику топливного насоса должно быть выполнено так, чтобы было обеспечено полное прекращение подачи топлива в цилиндры дизеля при выключении регулятора и срабатывании предельного выключателя и чтобы предельный выключатель не препятствовал передвижению сервомотора регулятора в сторону увеличения подачи топлива. Невыполнение первого условия приводит к «разгону» дизеля после пуска, а второго условия — к тому, что дизель не будет развивать полную мощность. Правильность соединения рычажной передачи контролируется по величине зазора под болтом 69 упора, фиксирующего «нуль» подачи топлива. При крайнем нижнем положении штока сервомотора регулятора зазор между ним и корпусом топливного насоса должен быть равен 1 мм. При срабатывании предельного выключателя этот зазор должен уменьшаться на 0,3—0,5 мм.
Перед первым пуском дизеля после ремонтов, связанных с демонтажем или заменой регулятора, топливного насоса или связывающей их рычажной передачи, во избежание возможного «разгона» дизеля необходимо убедиться в фактическом отсутствии подачи топлива в цилиндры дизеля при крайнем нижнем положении штока сервомотора. Для этого следует отсоединить форсуночные трубки от топливного насоса и прокрутить дизель без пуска при работающем топливопод-качивающем насосе.
Пуск дизеля разрешается производить, если при такой проверке отсутствует подача топлива всеми секциями насоса.
Во избежание перегрузки дизеля топливный насос оборудован упором 70 ограничения максимальной подачи топлива. Упор устанавливают при испытании дизеля на стенде, и величину выдвижения реек всех секций топливного насоса в положении на этом упоре заносят в формуляр дизеля. В эксплуатации категорически запрещается перестановка упора ограничения подачи топлива, и в случаях необходимости его восстановление следует производить, ориентируясь на указанный в формуляре дизеля выход реек. На дизеле запрещается также какая-либо раздельная регулировка отдельных секций топливного насоса как по величине, так и по началу подачи топлива.
При установке на дизель нового топливного насоса или насоса, прошедшего ремонт и регулировку на специальном стенде, допускается при необходимости производить изменение угла опережения подачи топлива отдельными секциями поворотом регулировочных болтов толкателей не более 180° угла поворота болта. При этом обязательна проверка запаса хода плунжера, который должен находиться в пределах 1,5—2,5 мм. Отдельные узлы или детали насоса можно заменять без снятия его с дизеля, при обязательном выполнении соответствующих указаний инструкции специалистами, имеющими опыт по выполнению таких работ. В порядке доводки эксплуатационной надежности топливного насоса завод осуществил следующие изменения конструкции отдельных его деталей и узлов.
С дизеля 11Д45 № 70 введена новая, более надежная конструкция упора ограничения подачи топлива. С дизеля 11Д45 № 202 был изменен материал направляющих втулок толкателей с алюминиевого спла-

Рис. 32. Форсунка:
/, 2, 21 — накидная гайка, штуцер и трубка для отвода просочившегося топлива; 3, 5 — прокладки; 4, 16, 17 — контргайка, болт и стопорная пластина; 6 — регулировочный винт; 7 — тарелка; 8 — пружина; 9 — корпус форсунки; 10 — шпиндель; //, 18 — кольца ушютнитель-ные; 12 — игла; 13 — колпак; 14 — корпус распылителя; 15 — сопло; 19. 20 — корпус и сердечник щелевого фильтра; а, в, с, д — каналы и полость
ва на бронзу для устранения случаев выхода из строя толкателей, а с дизеля 11Д45А и № ЮЗА удлинен направляющий хвостовик оси ролика толкателя. С дизеля 11Д45 № 124 изменен диаметр нижнего отсечного окна во втулке плунжера с 4 на 2,5 мм для устранения кавитационного разрушения нижней отсечной кромки плунжера.
Форсунка. Топливо в цилиндр дизеля подается форсункой закрытого типа (рис. 32), которая распиливает и равномерно распределяет его в камере сгорания. Распылитель форсунки по технологическим соображениям выполнен с отъемным* соплом 15 и представляет собой автоматический, нормально закрытый игольчатый клапан. Игла 12 и корпус 14 распылителя представляют собой преце-зионную пару, взаимозаменяемую комплектно. Комплектовку этой пары и подгонку их сопрягаемых поверхностей производят с высокой степенью точности и с выполнением ряда обязательных требований по классу чистоты, плотности и геометрии цилиндрических, торцовых и конусных поверхностей, а также по величине хода иглы, определяемой размером утопания заплечика иглы относительно верхней плоскости корпуса.
Топливо, подаваемое топливным насосом в полость корпуса 14, расположенную у запорного конуса, действуя своим* давлением на дифференциальную площадь, определяемую разностью диаметров иглы и большего диаметра конусного седла корпуса, поднимает иглу до упора вверх и проходит через рас-
пыливающие отверстия сопла 15 в цилиндр дизеля. Величина давления топлива, при котором начинается подъем иглы, определяется и регулируется усилением затяжки пружины 8, прижимающей иглу к конусному седлу в корпусе.
Топливо, просочившееся через неплотности внутрь форсунки, отводится из нее по сливному трубопроводу 21. Форсунку проверяют на распыл и плотность при помощи специального приспособления, руководствуясь указаниями инструкции по обслуживанию дизеля.
При установке форсунки на дизель нельзя крепить ее чрезмерным усилием, так как это может привести к выходу из строя днища крышки цилиндра. Крепление следует производить обычным ключом с длиной плеча 200—250 мм, нормальным усилием одной руки, без рывков.
Поскольку форсунка расположена под кожухом крышки цилиндра и полость, где она расположена, соединена с картером дизеля, следует особое внимание уделять плотности соединений форсуночной трубки и сливного топливного трубопровода. Даже незначительные подтекания топлива в этих соединениях приводят к разжижению масла в системе смазки дизеля, что может отрицательно отразиться на состоянии трущихся поверхностей его деталей. Во избежание этого нуж-но перед первым пуском дизеля после ремонта, связанного с разборкой топливного трубопровода или со снятием форсунок, опрессовать сливной топливный трубопровод при помощи топливоподкачивающего насоса, а при первом пуске снять кожуха рфышек цилиндров и осмотреть места соединений форсуночных трубок к форсункам на отсутствие течи топлива при работе дизеля на холостом ходу.
На дизели до 11Д45А № 23 устанавливались невзаимозаменяемые форсунки, так как их замена оказывала значительное влияние на производительность секций топливного насоса. Поэтому каждый топливный насос имел свой комплект форсунок и форсуночных трубок. Каждая форсунка и форсуночная трубка являлись принадлежностью определенной секции топливного насоса, с которой они проходили регулировку на специальном стенде. Рядом технологических мероприятий, осуществленных заводом, гидравлическая характеристика форсунки была доведена до требуемой стабильности, что позволило с дизеля 11Д45А № 23 ввести полную взаимозаменяемость форсунок. Конструкция форсунки была существенно улучшена с дизеля 11Д45А № 155. Для устранения вредного влияния сил инерции движущихся масс на четкость ее работы значительно уменьшен вес штанги, передающей усилие пружины на иглу. На форсунку также установлен щелевой фильтр, защищающий ее рабочие полости от загрязнения, что повлекло за собой и изменение конструкции форсуночной трубки. Новая форсунка полностью взаимозаменяема с форсункой старой конструкции, на которую может быть также установлен щелевой фильтр. Сохранена также взаимозаменяемость распылителя и сопла. При удалении щелевого фильтра для новой форсунки может быть использована форсуночная трубка старой конструкции.
Форсуночные трубки изготовляют из холоднотянутых стальных толстостенных труб, поставляемых по специальным техническим ус-
яовиям. При работе дизеля они изнутри нагружаются переменным давлением топлива от 0 до 740 кгс/см2 с частотой, равной частоте вращения коленчатого вала. Характер нагрузки вызывает выбрацию трубок, которая служит основной причиной выхода их из строя по образованию трещин. Единственным средством предотвратить недопустимую вибрацию является соединение всех трубок в общую систему специальным креплением к корпусу топливного насоса.
Применявшаяся до дизеля 11Д45А № 157 конструкция такого крепления хорошо выполняла свое назначение только при тщательном монтаже и надлежащем контроле состояния в процессе эксплуатации дизеля. Недостаточное внимание, оказываемое этому узлу дизеля в эксплуатации, приводило к частым случаям поломок форсуночных трубок. Учитывая это, завод разработал и внедрил с дизеля 11Д45А № 157 новую конструкцию крепления форсуночных трубок. Она более проста и удобна при монтаже, более надежна и не требует тщательного ухода в эксплуатации.
Требования по уходу за топливной аппаратурой. Главным условием обеспечения надежности работы топливной аппаратуры является исключение случаев подачи в топливный насос недостаточно отфильтрованного топлива, а также попадания в него влаги. Поэтому необходимо следить за чистотой топливного бака и заправляемого в него топлива (желательно заправку топлива производить через специальный фильтр), а также поддерживать исправность и эффективность работы фильтров грубой и тонкой очистки топлива.
В процессе эксплуатации уход за топливной аппаратурой сводится к периодической смазке трущихся поверхностей деталей отсечного механизма, к периодическому пополнению смазкой полости зубчатой муфты привода топливного насоса и к наблюдению за узлом крепления форсуночных трубок, предохраняющего их от вибрации.
Во избежание случаев разжижения топливом масла системы смазки дизеля необходимо периодически при выезде из депо осматривать топливный трубопровод и форсунки на отсутствие течи при снятых кожухах крышек цилиндров во время работы дизеля на холостом ходу. После плановых ремонтов обязательна опрессовка сливного топливного трубопровода.
В поездке об исправности работы топливной аппаратуры свидетельствуют наблюдаемые параметры работы дизеля и уровень развиваемой им мощности. В случае появления обоснованных признаков неисправности комплекта топливной аппаратуры какого-либо цилиндра необходимо, не прерывая поездки, немедленно отключить подачу топлива соответствующей секции топливного насоса. После поездки следует устранить неисправность.
Проводить внеплановую разборку и проверку форсунок, а также разборку отдельных секций топливного насоса разрешается только в случаях необходимости, если действия других возможных причин, обнаруженных отклонений в нормальной работе отдельных цилиндров дизеля исключено соответствующими проверками. Технология проверки, ремонта и регулировки форсунок и топливных насосов достаточно подробно изложена в инструкциях завода.










