20. Регуляторы напряжения
Регулятор напряжения ТРН-1. На
тепловозе ТЭЗ установлен электродинамический регулятор напряжения типа ТРН-1, в котором перемещение подвижных частей происходит за счет сил взаимодействия тока в подвижной катушке и магнитного потока, создаваемого неподвижной катушкой (рис. 83). Регулятор предназначен для автоматического поддержания заданного напряжения вспомогательного генератора на всем диапазоне изменения частоты вращения его якоря и тока нагрузки. К плите 30 магнитопровода регулятора привернут сердечник 26. В кольцевом зазоре между наконечником 25 и корпусом 6 размещена подвижная катушка 24, состоящая из двух обмоток: параллельной (верхней) и последовательной (нижней). Подвижная катушка укреплена на шайбе, собранной вместе с изоляционной планкой 21, стальным диском 22 и латунным упором 23, и подвешена на четырех плоских пружинах 18. Две верхние пружины прикреплены


Рис 83. Регулятор напряжения типа ТРН-1.
1 — каркас, 2— реостат (холостой ход), З, 16 — резисторы, 4, 15, 28—шпильки, 5 — стакан, 6 — корпус, 7 — перегородка, 8, 12 — колодки, 9 — палец контактный, 10—конденсатор, 11, 14, 27, 32 — пружины; 13 — основание; 17—реостат (высокая скорость); 18—плоские пружины, 19 — кожух, 20 — шпилька регулирующая; 21 — планка изоляционная; 22 — диск, 23 — упор; 24 — подвижная катушка, 25 — наконечник, 26 — сердечник, 29 — неподвижная катушка, 30 — плита, 31 — рамка, 33 — груз
к планке 21, а две нижние — к катушке снизу; они обеспечивают катушке возможность перемещаться только в вертикальном направлении. Подвижная катушка жестко соединена с текстолитовой колодкой 12, на которой укреплено алюминиевое основание 13, име-
ющее вверху боковые скосы и небольшой продольный скос (под углом 2°). К основанию привернуты контактные планки, выполненные из металлоке-рамической композиции на основе серебра (76,5% Ag■, 22,3% Сс1; 0,8% N1; 0,4% Ре).
На контактные планки опираются 14 контактных пальцев 9, установленных на двух изоляционных колодках 8. Пальцы соединены с отводами двух резисторов 16. Пружины 14 и 27 стремятся поднять всю подвижную часть регулятора в верхнее положение, при котором все контактные пальцы соприкасаются с контактными планками (это положение изображено на рисунке) . При плавном опускании системы контакты благодаря продольному скосу у основания 13 размыкаются не все сразу, а постепенно. При соприкосновении упора 23 с сердечником 26 все контакты разомкнуты. Шпилька 15 оканчивается внизу планкой, опирающейся на призматическую опору противовеса, который состоит в основном из рамки 31, пружины 32 и груза 33. В шайбу подвижной катушки ввернута стальная регулирующая шпилька 20. Регулятор закрыт съемным кожухом 19, имеющим стекло для наблюдения за работой контактов.
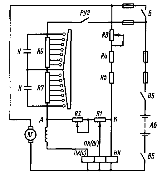
Резисторы Я6 и Р7 (рис. 84), имеющие отводы к пальцам (верхняя часть резисторов 16 на рис. 83) соединены последовательно с обмоткой возбуждения вспомогательного генератора ВГ. Средняя точка этих резисторов соединена с контактной планкой, которая на схеме условно показана в развернутом виде. Резисторы и контакты шунтированы конденсаторами К, уменьшающими искрение на контактах при работе регулятора.
Неподвижная катушка НК последовательно с резисторами #4 и Р5 (нижняя часть резисторов 16 на рис. 83) и реостатом «высокая скорость» РЗ (17 на рис. 83) включена на напряжение вспомогательного генератора. Параллельная обмотка ПК (Ш) подвижной катушки последовательно с частью ВБ резистора Р1 (3 на рис. 83) присоединена параллельно неподвижной катушке. Остальная часть резистора Р1 и реостат «холостой ход» Р2 (2 на рис. 83) соединяют параллельные катушки и обмотку возбуждения вспомогательного генератора ВГ и служат для «обратной связи» (см. ниже). Последовательная обмотка ПК (С) подвижной катушки включена последовательно с обмоткой возбуждения ВГ,

Рис. 84. Схема принципиальная регулятора напряжения типа ТРН-1: вг — вспомогательный генератор,£ — контактор заряда батареи; НК — неподвижная катушка; ПК (С) и ПК (Ш) — последовательная и параллельная обмотки подвижной катушки; руз— реле управления; #1 — Ю—резисторы, К—конденсаторы; АБ — аккумуляторная батарея
которая через контакты РУЗ питается от вспомогательного генератора (когда он работает и контактор Б замкнут) или аккумуляторной батареи.
Рассмотрим вначале принцип действия регулятора напряжения, не учитывая обратную связь (т. е. при разомкнутой цепи резисторов Р1 и Р2) и действие последовательной катушки.Когда ток в катушке отсутствует, контактная планка пружинами // и 27 (см. рис. 83) поднимается в верхнее положение и замыкает все контакты, вследствие чего ток в обмотке возбуждения вспомогательного генератора имеет максимальное значение.
При увеличении частоты вращения вала дизеля после его пуска напряжение вспомогательного генератора быстро растет, и ток в катушках НК и ПК (Ш) регулятора увеличивается. Магнитодвижущая сила неподвижной катушки создает магнитный поток, который замыкается по цепям: сердечник 26 (см. рис. 83), наконечник 25, корпус 6, стакан 5 и плита 30 (основная часть потока); сердечник, наконечник, диск 22, кольцо н шайба подвижной катушки, корпус, сердечник, наконечник, шпилька 20, шайба, корпус.
Основная часть магнитного потока пронизывает подвижную катушку, в результате чего создается усилие, действующее против сил пружин и стремящееся опустить подвижную часть регулятора. Дополнительное усилие в том же направлении создается магнитным потоком, замыкающимся через регулирующую шпильку 20, однако оно относительно невелико и действует только при малом зазоре между шпилькой и наконечником, т. е. при нижнем положении подвижной катушки. Часть потока, замыкающаяся через диск 22, создает силу, стремящуюся поставить диск против острого угла выреза наконечника. Усилия, действующие на подвижную часть регулятора, возрастают с увеличением напряжения вспомогательного генератора и при некотором значении его превышают силу, создаваемую пружинами. Контактная планка опускается, размыкает часть контактов и вводит несколько ступеней резисторов /?6 и Ш в цепь обмотки возбуждения вспомогательного генератора. При этом ток возбуждения и напряжение генератора понижаются, и опускание планки прекращается. Характеристика магнитной системы регулятора подобрана так, что подвижная часть его находится в равновесии при напряжении генератора, равном 75—76 В. Если напряжение генератора становится больше этого значения (например, вследствие увеличения частоты вращения якоря), то ток в катушках увеличивается и планка опускается ниже, вводя еще одну или несколько ступеней резистора. Ток возбуждения генератора уменьшится и, когда напряжение его снизится до 75 — 76 В, контактная планка остановится в новом положении. Если, наоборот, напряжение генератора станет ниже 75 В, сила взаимодействия катушек уменьшится и пружины поднимут планку. При этом часть ступеней резисторов Я6 и #7 замыкается, и ток возбуждения вспомогательного генератора увеличивается до тех пор, пока напряжение его снова не возрастет до 75—76 В.
Практически, однако, в таких условиях регулятор работал бы неустойчиво. Ток возбуждения генератора не может измениться мгновенно, так как магнит-
ный поток обладает, как говорят, «магнитной инерцией». Допустим, напряжение генератора вследствие перевода рукоятки контроллера на более высокую позицию увеличилось и стало выше 76 В. Контактная планка начнет опускаться и вводить ступени резисторов в цепь обмотки возбуждения. Но ток возбуждения изменяется не сразу и отстает по времени от движения планки. В тот момент, когда планка уже ввела сопротивление, требуемое при новой частоте вращения якоря, напряжение генератора еще не успело снизиться до 76 В и, следовательно, планка продолжает опускаться, вводя в цепь большее сопротивление, чем нужно. Планка остановится лишь в тот момент, когда напряжение станет равным 76 В. Но в это время сопротивление в цепи обмотки возбуждения уже слишком велико и напряжение продолжает падать, становясь ниже 76 В. Тогда контактная планка начнет подниматься и подобным же образом может замкнуть больше ступеней резистора, чем необходимо. В результате возникнут незатухающие колебания планки, причем иногда она колеблется между крайними (верхним и нижним) положениями. В таких случаях говорят, что регулятор работает неустойчиво.
В системах автоматического регулирования всегда предусматриваются устройства для обеспечения устойчивой их работы, в частности, в виде так называемой обратной связи.
Обратной связью называется дополнительное устройство, которое при воздействии регулятора на режим работы какого-либо узла вызывает обратное воздействие изменению этого режима на регулятор. В регуляторе напряжения типа ТРН-1 обратная связь осуществляется благодаря введению в схему резисторов обратной связи Я1 и /?2. При отсутствии резисторов /?/ и Я2 изменение тока в катушках регулятора вызывает, как указано выше, изменение сопротивления в цепи обмотки возбуждения вспомогательного генератора. Но изменение сопротивления не оказывает непосредственного обратного воздействия на положение катушки регулятора, оно наступает после изменения напряжения генератора, как было показано, с
опозданием. Если установлены резисторы /?/ и Я2, образуется обратная связь между обмоткой возбуждения генератора и- катушками регулятора. Посмотрим, как эта связь действует.
Падение напряжения в обмотке возбуждения ВГ (см. рис. 84) больше, чем в параллельной катушке, поэтому в резисторах Я1 и /?2 ток течет от точки А к точке В, увеличивая ток в подвижной (параллельной) и неподвижной катушках регулятора. Пусть с учетом этих дополнительных токов регулятор находится в равновесии при заданном напряжении генератора. Если теперь напряжение уменьшится и контактная планка начнет подниматься, то при замыкании очередной пары контактов две ступени регулировочных резисторов /?6 и Ю замыкаются накоротко, и падение напряжения в этих резисторах уменьшается. Ток в обмотке возбуждения ВГ изменится не сразу, но вследствие возникновения в ней э. д. с. самоиндукции потенциал точки А возрастет практически мгновенно. Так как катушка с параллельной обмоткой регулятора имеет ничтожную индуктивность, то ток в ней ввиду повышения напряжения увеличится весьма быстро. Усилие, действующее на подвижную катушку, возрастет, и контактная планка не только остановится, но может даже опуститься, вновь разомкнув контакты, в результате чего потенциал точки А понизится, а это вызовет уменьшение тока в параллельной катушке и повторное замыкание контактов.
Таким образом, при достаточном токе обратной связи контактная планка вибрирует около какой-либо пары контактов, причем ток возбуждения будет промежуточным между значениями тока, соответствующими замкнутому и разомкнутому состоянию этих контактов при установившемся режиме. Напряжение генератора в таком режиме пульсирует, но вследствие большой частоты и малой амплитуды колебания почти незаметны. Вибрация планки около одной пары контактов является нормальной. Нри изменении частоты вращения якоря или нагрузки вспомогательного генератора контактная планка начинает вибрировать около другой пары контактов.
Обратная связь обеспечивает устойчивую работу регулятора, но вносит искажения в его характеристику. Например, в случае уменьшения частоты вращения якоря генератора регулятор увеличит ток его возбуждения, вследствие чего возрастет потенциал точки А и ток обратной связи, который в свою очередь увеличит ток в параллельной обмотке подвижной катушки регулятора. Это нарушает настройку регулятора, т. е. напряжение, которое регулятор стремится поддержать, будет разным при различной частоте вращения якоря.
Чтобы скомпенсировать отмеченное искажение характеристики регулятора, используется последовательная обмотка ПК (С) в подвижной катушке, которая действует против параллельной обмотки ПК (Ш). Как и ток обратной связи, ток в последовательной обмотке уменьшается при уменьшении тока возбуждения ВГ. Следовательно, понижение встречной магнитодвижущей силы последовательной обмотки в известной мере компенсирует уменьшение магнитодвижущей силы параллельной обмотки, и разность их остается примерно постоянной.
Резистор &2 выполняет две функции: его регулировкой обеспечивается устойчивая работа регулятора; регулируя его, устанавливают такое значение тока обратной связи, при котором ее влияние и влияние последовательной обмотки подвижной катушки взаимно компенсируются. При малом токе возбуждения генератора ток обратной связи и ток последовательной обмотки невелики и не оказывают заметного влияния на характеристику регулятора. Наибольшее влияние они оказывают при максимальном токе возбуждения, т. е. при наименьшей частоте вращения вала дизеля. Поэтому настройку резистора /?2 производят на 1-м положении рукоятки контроллера, этим и объясняется название резистора «холостой ход». Уменьшение сопротивления резистора /?2 увеличивает ток обратной связи и понижает напряжение генератора, поддерживаемое регулятором. Настройку регулятора при наибольшей частоте вращения якоря осуществляют резистором ЯЗ. При увеличении сопротивле-
ния резистора /?3 ток в неподвижной катушке и параллельной обмотке подвижной катушки уменьшается, и для того, чтобы он мог действовать, требуется более высокое напряжение вспомогательного генератора. Следовательно, увеличение сопротивления резистора /?3 повышает напряжение, поддерживаемое регулятором.
Если не удается одновременно обеспечить устойчивую работу регулятора и поддержание им заданного напряжения на всех частотах вращения якоря ВГ только регулировкой резистора Я2, можно изменить характеристику регулятора поворотом наконечника 25 и (в небольшой степени) изменением положения шпильки 20 (см. рис. 83). Эти способы применяют на заводе, выпускающем регуляторы напряжения, в эксплуатации же к ним прибегать не следует (за исключением наладки регулятора после его ремонта). Характеристика регулятора, как правило, должна быть настроена так, чтобы можно было изменять сопротивление резистора /?2 в некоторых пределах, не нарушая устойчивости работы аппарата.
Отметим, что при изменении температуры катушек регулятора и обмотки возбуждения генератора несколько меняется его напряжение, поддерживаемое регулятором. В частности, в первое время после пуска дизеля генератор имеет повышенное напряжение, так как падение напряжения в холодной неподвижной катушке уменьшается и для достижения нужного тока в параллельной обмотке подвижной катушки требуется больший ток в неподвижной катушке. Повышение напряжения генератора в начальный момент после пуска дизеля объясняется также снижением эффективности обратной связи вследствие уменьшения сопротивления обмотки возбуждения и усилением действия последовательной обмотки ПК (С) (см. рис. 84), которое возникает в результате увеличения тока в ней. Поэтому настройку регулятора следует выполнять после того, как регулятор поработает 20—30 мин.
Противовес служит для уменьшения влияния толчков и ударов на работу регулятора напряжения. Шпилька 15 (см. рис. 83) опирается на призмати-
ческую опору, укрепленную в рамке 31, которая через пружину 32 связана с грузом 33. Груз подвешен так, что давит на шпильку снизу вверх. Если, например, при проходе стыка рельсов произошел толчок, от которого подвижная часть регулятора стремится по инерции опуститься вниз, то и груз противовеса по той же причине стремится опуститься вниз, т. е. поднять шпильку 15 вверх. Таким образом, силы инерции- груза действуют против сил инерции подвижной системы и уменьшают опасность резкого перемещения контактной планки при толчках, которое вызывает резкое изменение (увеличение или уменьшение) напряжения генератора. Пружина 32 установлена для того, чтобы мелкие вибрации подвижной части регулятора, необходимые для нормальной его работы, могли совершаться без перемещения груза, иначе вибрация чрезмерно замедлилась бы из-за его инерции.
Для правильной работы регулятора напряжения нужно, чтобы при опускании планки контакты размыкались поочередно, в порядке их расположения на планке. Если будут размыкаться сразу две пары пальцев, то при вибрации на этих пальцах начнется искрение, которое приведет к повреждению контактов. Важно также, чтобы пальцы одной пары размыкались и замыкались одновременно, т. е. включались и выключались одновременно соответствующие ступени сопротивления резисторов /?6 и Ю (см. рис. 84).
В случае неодновременного срабатывания парцых контактов работа регулятора будет менее устойчивой, так как при замыкании одной ступени резисторов вместо двух парных сразу влияние обратной связи уменьшается, контактная планка стремится передвинуться дальше, чем требуется, приобретает значительную скорость и по инерции может замкнуть и следующую пару контактов.
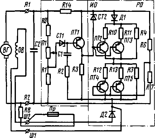
Регуляторы напряжения БРН. На тепловозах ТЭЗ более поздних выпусков установлены бесконтактные электронные регуляторы напряжения типов БРН-2 и БРН-3 (рис. 85 и 86). Эти регуляторы отличаются большой надежностью и обеспечивают более высо-

Рис. 85. Принципиальная электрическая схема регулятора напряжения БРН-2

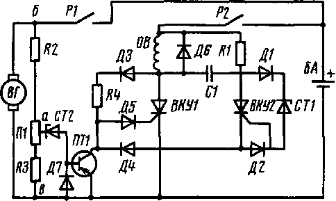
Рис. 86. Принципиальная электрическая схема регулятора напряжения БРН-3
кую точность регулирования напряжения. Основными элементами бесконтактных регуляторов, так же как и регулятора ТРН-1, являются измерительный и регулирующий органы.
Измерительный орган регуляторов состоит из делителя напряжения, стабилитрона и транзистора. Регулирующий орган регулятора БРН-2 выполнен на базе четырех транзисторов ПТ2 — ПТ5 типа П-4Б, соединенных параллельно-последовательно. В регуляторе БРН-3 в регулирующем органе использованы два.тиристора.
Если регулятор БРН-2 поддерживает напряжение на всех позициях контроллера с точностью (75+ 1) В, то регулятор БРН-3 обеспечивает точность регулирования напряжения (75 + + 0,5) В. Кроме того, примененные в регуляторе БРН-3 кремниевые тиристоры обладают значительно большей
температурной стойкостью по сравнению с германиевыми транзисторами, примененными в регулирующем органе регулятора БРН-2. На последних выпусках тепловоза ТЭЗ устанавливались главным образом регуляторы напряжения типа БРН-3. Уставка напряжения в регуляторах БРН-2 и БРН-3 осуществляется перемещением движка переменного резистора П1. При его перемещении изменяется напряжение, снимаемое с делителя на входе регуляторов.
Работа регулятора напряжения БРН-2 происходит следующим образом. Снимаемый с делителей,образуемых резисторами Я1—П1—Я9 (для БРН-2) и /?3— П1— /?2 (для БРН-3), электрический сигнал, пропорциональный напряжению вспомогательного генератора ВГ, поступает (через стабилитрон) на вход (базу) транзистора ПТ1. При нормальном напряжении вспомогательного генератора сигнал, снимаемый с делителя, оказывается по значению меньше напряжения, требуемого для пробоя стабилитрона. В этом случае базовый ток транзистора ПТ1 равен нулю, и его эмиттерно-коллекторный переход закрыт. Ток через обмотку возбуждения ОВ определяется сопротивлением эмит-терно-коллекторного перехода параллельно-последовательно соединенных транзисторов ПТ2 — ПТ5 и резисторов ИЗ, Я4 и Н8, включенных в ее цепь.
При увеличении напряжения вспомогательного генератора одновременно растет напряжение, снимаемое с делителя. Когда его значение станет равным напряжению пробоя стабилитрона, транзистор ПТ1 откроется, так как через стабилитрон начнет протекать базовый (управляющий) ток. Значение этого тока зависит от превышения напряжения вспомогательного генератора над напряжением пробоя стабилитрона СТ1 и определяет значение тока, протекающего через эмиттерно-коллекторный переход транзистора ПТ1. С увеличением этого тока увеличивается падение напряжения на резисторе что снижает базовый ток транзисторов ПТ2 и ПТЗ и ток через эмиттерно-коллекторные переходы транзисторов ПТ2— ПТ5 и, следовательно, приводит к снижению напряжения генератора ВГ.










