16. Тяговый генератор
На тепловозе применен тяговый генератор постоянного тока типа МПТ 99/47А, самовентилирующийся, имеющий следующую техническую характеристику:
Мощность, кВт 1350 Напояжение поодолжительного режима, В 550 Ток поодолжительного оежима, А 2460 Напояжение максимальное, В 820 Частота воащения, об/мин 850 Число коллекторных пластин 444 Маока щеток ЭГ-14 Масса, кг 7460 К. п. д. пои поодолжительном режиме 0,94
Генератор представляет собой некомпенсированную восьмиполюсную электрическую машину постоянного тока с независимым возбуждением. Генератор выполнен в закрытом исполне-
нии с самовентиляцией. Воздух для охлаждения генератора поступает через специальный воздухозаборный патрубок, установленный на подшипниковом щите и соединенный воздуховодом, выведенным на крышу тепловоза. С помощью вентиляторного колеса, установленного на валу якоря генератора со стороны привода, охлаждающий воздух просасывается через полость и, охладив генератор, выбрасывается наружу тепловоза под раму через нижний выпускной патрубок.
Входной патрубок на крыше тепловоза имеет специальный защитный зонт, предохраняющий генератор от попадания в его полость влаги и пыли. Направление вращения генератора против часовой стрелки (если смотреть со стороны коллектора). Генератор выполнен с одним самоустанавливающимся подшипником на конце вала якоря со стороны коллектора. Второй конец вала, соединенный с коленчатым валом дизеля с помощью полужесткой муфты, опирается на его опоры.
Станина генератора из гнутого стального листа опирается на под-
дизельную раму двумя лапами, приваренными к диаметрально противоположным образующим цилиндрической поверхности станины. В лапах имеется по четыре отверстия диаметром 32 мм для крепления генератора к раме и по два отверстия М16, необходимых для подъема станины с помощью отжимных болтов при центровке генератора с дизелем. Со стороны привода на станине установлен сварной щит, образующий воздухозаборную улитку, в которой находится колесо вентилятора.
С противоположной стороны станины к ее торцу с помощью 16 болтов М20 прикреплен подшипниковый щит. По окружности станины равномерно расположены восемь групп отверстий (по три в каждой группе) для крепления главных полюсов и столько же групп (по два отверстия) между ними— для крепления добавочных полюсов. Главные и добавочные полюсы прикреплены к станине болтами М24. Болты предохраняются от самоотвинчивания пружинными шайбами.
Главные полюсы. Сердечники главных полюсов представляют собой пакеты листов малоуглеродистой стали марки Ст2 толщиной 2 мм. Листы стянуты стальными заклепками. На главных полюсах размещены катушки обмотки независимого возбуждения генератора и пусковой обмотки. Катушки представляют собой стальной каркас с расположенной на нем обмоткой. Каркас выполнен из листовой стали толщиной 1 мм по форме полюса с отогнутыми бортами для удержания рамок, выполняющих роль щек. Щеки выполнены из стеклотекстолита. На каркас наложена изоляция из нескольких слоев гибкого стекломиканита марки С2ГФК толщиной 0,4 мм на теплостойком крем-нийорганическом лаке и одного слоя стеклолакоткани ЛСК-7 толщиной 0,15 мм.
На изоляцию каркаса намотана пусковая обмотка. Между витками проложен гибкий стекломиканит марки С2ГФК толщиной 0,4 мм. Между торцами пусковой обмотки и бортами каркаса проложены стеклотекстолито-
вые планки . Поверх пусковой обмотки намотана обмотка независимого возбуждения в 13 слоев с разным числом витков в слое. В процессе намотки каждый слой промазывают кремнийорганическим компаундом, а всю катушку покрывают кремнийорга-ническои эмалью и запекают. Изоляция катушки выполнена на стеклослюдя-ных материалах с применением коем-нийорганических лаков. Она может длительно выдерживать высокие температуры (до +200 °С). Выводы обмотки возбуждения и пусковой обмотки припаяны тугоплавким припоем. Для упрощения межкатушечных соединений катушка пусковой обмотки и обмотки независимого возбуждения, намотанные в одном направлении, выполняются двух видов: с открытыми и перекрещенными выводами. На генераторе установлено по четыре катушки каждого вида, чередующихся соответственно полярности главных полюсов. Соединение катушек обмотки независимого возбуждения, а также пусковой последовательное. Воздушный зазор между главным полюсом и якорем равен 4 мм.
Добавочные полюсы. Сердечники добавочных полюсов собраны из отдельных листов малоуглеродистой стали толщиной 2 мм, спрессованы под большим давлением и стянуты заклепками. Для регулирования зазора между станиной и средечником полюса проложены гетйнаксовые и стальные прокладки. Сердечник полюса изолирован опоессовкой из формовочного миканита толщиной 0,3 мм в четыре слоя, поверх которого наложено два слоя стеклоткани. На сердечник надета катушка (рис. 53), стянутая с каждой стороны тремя хомутами из полосовой стали. Хомуты служат также для закрепления катушки на полюсе. Катушка состоит из пяти медных витков размером 14X19,5 мм. Верхний виток катушки, прилегающий к основанию полюса, изолирован двумя слоями микаденты толщиной 0,13 мм и одним слоем стеклоленты толщиной 0,15 мм.
' В генераторах более поздних выпусков эти планки заменены выступами на пластмассовых рамках.

Рис. 53. Добавочный полюс генератора: / — стальная накладка, 2 — поокладка; 3 — прокладка между витками; 4 — катушка; 5 — сердечник

Рис. 54. ЯКорь генератора: / — вал, 2 — коллектор; 3 — сердечник; 4 — обмотка; 5 — остов
Витки отделены друг от друга гети-наксовыми планками, закрепленными шнуром. Односторонний зазор под добавочным полюсом 17+1 мм. Изоляция добавочных полюсов и компенсационной обмотки класса В. Между добавочными полюсами и станиной проложены немагнитные прокладки толщиной 4 мм.
Якорь. Якорь генератора (рис. 54) собран на валу, изготовленном из поковки стали 45. Цельнокованый фланец вала служит для соединения с валом дизеля. Со стороны коллектора на валу насажен роликоподшипник.
К свободному концу вала за подшипником прикреплена полумуфта для сочленения с редуктором передачи к двухмашинному агрегату и вентилятору охлаждения тяговых двигателей передней тележки.
Якорь имеет сварной остов, состоящий из двух литых стальных втулок и шести ребер, связанных распорками. Остов якоря насажен на вал горячей посадкой. На ребра остова надеты обмоткодержатель и листы якорного сердечника, спрессованные под большим давлением и удерживаемые корпусом коллектора, который насажен
на выступающие концы ребер остова якоря и закреплен поперечными шпонками. Листы сердечника якоря насажены на ребра остова с напряженной посадкой и удерживаются от проворачивания, кроме призматической шпонки, тремя цилиндрическими шпонками, туго забитыми под развертку.
Сердечник якоря набран из листов электротехнической стали марки Э-12 толщиной 0,5 мм. Листы изолированы друг от друга двухслойным лаковым покрытием с термической запечкой. В теле сердечника расположено в три ряда 120 вентиляционных отверстий диаметром 22 мм. Число пазов для обмотки якоря 148.
Коллектор. Коллектор генератора (рис. 55) собран из 444 пластин твердотянутой меди трапециевидного профиля. Петушки для присоединения проводников обмотки якоря к пластинам выполнены массивными, также из коллекторной меди, но большей площади сечения и припаяны к пластинам медно-фосфористым припоем. Пластины изолированы друг от друга прокладками из коллекторного миканита марки КФ-1 толщиной 1 мм.
Конструкция коллектора арочного типа. Пластины имеют выточки в форме ласточкина хвоста, в которые входят конусные части нажимного фланца якоря, образующего также корпус коллектора с одной стороны и конуса коллектора — с другой. Пластины от корпуса изолированы манжетами толщиной 2,0 мм, изготовленными из формовочного миканита на глифта-левом лаке, и миканитовым цилиндром. Выступающая часть манжеты предохраняется от выветривания бандажом из шнура и покрыта изоляционной эмалью СПД так же как и торцовые поверхности пластин и коллектора.
Коллектор стягивается 18 шпильками с резьбой М24, изготовленными из стали 45 с термообработкой. Коллектор после сборки с якорем протачивают и шлифуют. Миканитовые прокладки между пластинами на рабочей поверхности коллектора выбраны на глубину 1,5 мм во избежание выступания миканита при износе коллектора.

Рис. 55. Коллектор генератора (новой конструкции) :
/ — конусная нажимная шайба; 2, 6 — манжеты; 3 — шпилька; 4 — цилиндо миканитовый; 5 — пластина; 7 — корпус
Для правильной работы щеточного аппарата поверхность коллектора должна быть строго концентрична оси вращения. В коллекторе генератора при изготовлении допускается биение не свыше 0,03 мм. Для исключения деформаций коллектора в эксплуатации его подвергают динамической формовке. Эта операция заключается в том, что коллектор разгоняют до частоты вращения, превышающей максимальную эксплуатационную, и Одновременно нагревают до высокой температуры. Под действием центробежных сил и температуры все миканитовые прокладки и манжеты получают усадку и пластины занимают окончательное положение. Эта операция производится несколько раз с подтяжкой болтов после каждого разгона.
Обмотка якоря. Обмотка якоря размещена в 148 пазах и состоит из 296 катушек. В каждом пазу размещены по две верхние и две нижние стороны катушки. Обмотка якоря (рис. 56) двухходовая, выполнена по так называемой лягушечьей схеме, т. е. состоит по существу из двух одновременно и параллельно работающих обмоток: петлевой и волновой. При этом волновые и петлевые секции присоединяются к одним и тем же петушкам коллектора, и волновые секции, помимо основных функций, выполняют роль уравнительных соединений для петлевых секций, так что при лягушечьей обмотке не требуется
специальных уравнителей. Шаг петлевой обмотки по коллектору 1—3, шаг волновой 1 —110. Шаг по пазам для петлевой катушки 1 —19, для волновой 1—20.
В верхней части и на дне паза (рис. 57) расположены стороны катушек волновой обмотки, а в средней части паза — стороны катушек петлевой обмотки. Каждая катушка состоит из трех элементарных одновитковых секций. Таким образом, в прорезь каждого петушка коллектора впаивается всего четыре проводника, расположенных по вертикали, из которых два относятся к петлевым секциям и два — к волновым. Каждый проводник 3 изолирован одним слоем мика-ленты 4 толщиной 0,08 мм вполнахлес-та. Вся катушка изолирована от корпуса в пазовой части тремя слоями микаленты 5 марки ЛФЧ-1 толщиной 0,1 мм вполнахлеста, а в лобовой части — двумя слоями той же микаленты. Поверх микаленты для механической защиты наложен один слой стеклоленты 6 толщиной 0,1 мм в пазовой части впритык, в лобовой — вполнахлеста.
На дне паза уложена миканитовая прокладка 7 толщиной 0,5 мм. Катушки удерживаются в пазах гетинаксовыми клиньями /. Под клином проложена прокладка 2 из электрокартона толщиной 0,5 мм для механической

Рис. 57. Разоез паза якооя: / — клин; 2,7 — прокладки; 3 — проводник; 4 — изоляция проводника (микалента); 5, 6 — изоляция от корпуса (микалента, стеклолента)
защиты изоляции при забивании клиньев.
С каждой стороны сердечника крайние листы выполнены с пазами, имеющими ширину на 2 мм и глубину на 1 мм большую, чем у нормальных пазов. За счет этого у кромки сердечника в паз закладываются дополнительная изоляционная коробочка из гибкого миканита ГФС2 толщиной 0,3 мм и электрокартона толщиной 0,5 мм, предохраняющая от повреждения основную изоляцию катушки в месте выхода из паза, где она при укладке подвергается воздействию наибольших усилий и деформациям. Крайние листы предварительно опрессо-вывают и запекают на глифталь-бакелитовом лаке. При этом образуются монолитные пакеты, чем предотвращается «веер» зубцов якоря. Лобовые части обмотки уложены на обмоткодержателях. Передний обмот-кодержатель выполнен заодно с корпусом коллектора. Задний обмоткодержа-тель служит также для крепления вентилятора. Изоляция между обмотко-держателями и обмоткой состоит из формовочного миканита толщиной 2 мм, укрепленного киперной лентой. Между слоями лобовых частей петлевых и волновых катушек уложен в один слой гибкий миканит.
Поверх лобовых частей наложена изоляция из одного слоя асбестовой

ленты, двух слоев гибкого миканита толщиной 0,5 мм и двух слоев электро-каотона толщиной 0,5 мм, на который наложены бандажи, удерживающие лобовые части обмотки. Бандажи выполнены из стальной бандажной проволоки диаметром 2 мм, наложенной в два слоя. Бандаж со стороны коллектора состоит из 87 витков, а с противоположной стороны — из 89 витков.
Бандаж накладывают с предварительным натягом проволоки при намотке первого слоя 1180 Н и при намотке второго слоя 980 Н. Концы секций в петушки впаивают припоем ПОС-61, а бандажи паяют припоем ПОС-40.
Обмотанный якорь сушат в печи с циркуляцией воздуха при температуре 120—130 °С в течение 20 ч. Охлажденный после этого до температуры 60—70 °С якорь погружают в лак и пропитывают. После пропитки якорь вновь сушат при температуре 120—130 °С, пока сопротивление изоляции не достигнет 2 МОм при температуре 60 °С, но не менее 24 ч. После сушки якорь покрывают изоляционной эмалью и вновь сушат в печи при температуре 130—140 °С до прекращения отлипа эмалевой пленки, но не менее 6 ч. Данные обмоток генератора приведены в табл. 2.
Вентилятор. Охлаждающий воздух прогоняется через генератор центробежным вентилятором, укрепленным на якоре со стороны дизеля. Воздух поступает в генератор через патрубок, прикрепленный к торцу подшипникового щита. В торцовом диске щита имеется два ряда отверстий: внутренние, непосредственно прилегающие к ступице подшипника, и наружные, расположенные по окружности на диаметре, равном диаметру коллектора
Таблица 2

Часть воздуха через внутренние отверстия поступает внутрь коллектора, откуда движется во внутреннюю полость обмоткодержателя и проходит в вентиляционные каналы сердечника якоря. Протекая по этим каналам, воздух отводит тепло от стали якоря и часть тепла от его обмотки. Выходящий из каналов воздух выбрасывается вентилятором наружу.
Другая часть охлаждающего воздуха входит через наружный ряд отверстий в щите, омывает щетки и поверхность коллектора, после чего проходит в промежутки между главными и добавочными полюсами и якорем. Эта часть воздуха отводит тепло, образующееся на коллекторе, в обмотках полюсов и часть тепла от сердечника и обмотки якоря.
Таким образом, вентиляция генератора двухструйная, осевая. Весь воздух проходит через генератор двумя параллельными потоками. Поскольку условия входа в вентилятор для обоих потоков различны (поток воздуха, поступающий через магнитную систему, не имеет касательной составляющей скорости), вентилятор двухкамерный. В первую камеру засасывается воздух от полюсов, и для улучшения условий входа внутренний край лопаток в первой камере загнут вперед по направлению вращения. Во вторую камеру засасывается воздух из якоря, и лопатки на входе воздуха расположены радиально. На выходе воздуха вентилятор не подразделен, и лопатки загнуты вперед, что повышает напор воздуха.
Общий расход воздуха через генератор для его охлаждения должен быть на номинальном режиме не менее 150 м3/мин. Вентилятор выбрасывает воздух в полость заднего щита, выполненного в нижней своей части наподобие улитки, с постепенным расширением площади сечения, чем достигается также постепенное снижение скорости выходящего воздуха. Чтобы внутрь машины не попали посторонние предметы, на входе воздуха установлены проволочные сетки.
Подшипниковый щит. Роликоподшипник якоря двухрядный, сферический, самоустанавливающийся, № 3626
(ГОСТ 5721—75), смонтирован в ступице щита на скользящей посадке. Для компенсации температурных деформаций, а также производственных отклонений в пределах допусков при обработке И сборке подшипник имеет осевой разбег в щите 5 мм на сторону и поэтому не может воспринимать осевую нагрузку. Сферическая конструкция подшипника допускает незначительный перекос оси вала при монтаже, ограничиваемый допусками на несимметрию воздушного зазора под главными полюсами генератора (±0,4 мм).
Подшипник насаживают на вал в нагретом состоянии (в масляной ванне до температуры 80—90 °С). Меньший нагрев недостаточен для посадки, больший недопустим по условиям прочности подшипника. Подшипник закреплен на валу кольцом, насаженным прессовой посадкой, и в щите— крышками, снабженными канавками для предотвращения вытекания смазки. Для смазки подшипника применяется консистентная смазка УТВ 1-113. Количество смазки в подшипнике не должно превышать 800 г. Избыток смазки повышает нагрев подшипника, излишек ее быстро выдавливается из камеры подшипника и загрязняет машину. К ребрам подшипникового щита приварены кронштейны для крепления бракетов щеткодержателей.
Щеткодержатели. В соответствии с числом полюсов щеткодержатели генератора расположены на восьми литых бракетах из алюминиевого сплава. Бракеты прикреплены к кронштейнам щита при помощи двух изоляционных подвесок каждый. Подвески изготовлены из микалекса, армированного специальным болтом, с одной стороны, и гайкой — с другой. Эта конструкция обладает высокой механической и электрической прочностью, что подтверждается опытом длительной эксплуатации. Корпуса щеткодержателей / (рйс. 58) отлиты под давлением из кремнистой латуни. В каждом щеткодержателе расположено по две щетки, из которых одна (набегающая) установлена под углом 30° к радиусу, а другая (сбегающая) — под углом 10° к радиусу. Такое расположение

Рис. 58. Щеткодержатель генератора: / — корпус; 2 — пружина, 3 — храповик, 4 — курок
щеток обеспечивает наиболее спокойную их работу. Нажатие на щетки создается спиральными пружинами 2 и передается через курки 4. Второй конец каждой пружины заходит в зарубки храповика 3, что позволяет регулировать нажатие на щетку, переставляя по мере износа щетки конец пружины из одной зарубки в другую.
В генераторе применяются щетки марки ЭГ4 размером 12,5X32 мм, высотой 55 мм. Нажатие на каждую щетку должно быть не менее 7850 Н и не более 11 725 Н. Ток от щеток отводится по гибким медным плетеным канатикам, наконечники которых прижаты винтами. Для регулирования положения щеткодержателей по отношению к поверхности коллектора при сборке и по мере его износа в корпусе щеткодержателя предусмотрена прорезь, через которую проходит винт. Расстояние от поверхности коллектора до щеткодержателя должно быть 2—3 мм.
Расположение бракетов таково, что оси щеткодержателей совпадают с осью главных полюсов машины, т. е. находятся на нейтрали. Соответствующее положение щита подбирается при испытании генератора и отмечается на заводе-изготовителе. Смещение щита с этого положения недопустимо. Каждые четыре бракета одноименной полярности соединены с собирательной шиной, от которой отводится ток. Принципиальная схема соединений генератора приведена на рис. 59.

Рис. 59. Принципиальная схема электрических
соединений генератора: / — коллектор; 2 — добавочный полюс; 3 — главный полюс; 4 — собирательные шины; Я, ЯЯ — начало и конец обмотки якоря; Н, НН — начало и конец обмотки независимого возбуждения; П — начало пусковой обмотки; ДП — конец пусковой обмотки и обмотки добавочных полюсов
Характеристика генератора. Характеристики намагничивания и внешняя генератора МПТ 99/47А приведены на рис. 60. При продолжительном режиме работы генератор имеет напряжение 550 В, ток 2460 А, частоту вращения якоря 850 об/мин и мощность 1350 кВт; при кратковременном режиме — ток 4000 А и частоту вращения—850 об/мин.
Продолжительный режим определяется допустимым превышением температуры обмоток генератора. При расчетной температуре охлаждающего воздуха +35 °С температура не должна превышать 110 °С для обмоток с изо-
ляцией класса В и 145 °С — для обмоток с кремнийорганической изоляцией. Генератор тепловоза ТЭЗ рассчитан для работы при температуре охлаждающего воздуха от —40 до + 40 °С.
Различные части генератора нагреваются по-разному. Коллектор, обмотки: якоря, компенсационная и добавочных полюсов имеют максимальный нагрев при режимах с большим током генератора. Номинальный продолжительный режим 2455 А соответствует максимально допустимому перегреву обмотки якоря. Листы якоря и обмотки независимого возбуждения имеют максимальный нагрев при работе с высоким напряжением и малым током генератора.
Максимальный кратковременный ток 4000 А при перегрузке генератора ограничивается условиями коммутации. На рис. 61 приведено превышение температуры различных частей генератора в зависимости от тока нагрузки при постоянной мощности 1350 кВт. Внешняя характеристика генератора обеспечивает полное использование свободной мощности дизеля при изменении тока в пределах рабочего диапазона скоростей движения. Графики магнитных потерь и потерь на трение и вентиляцию генератора представлены на рис. 62, а зависимость к.п.д. генератора от тока нагрузки при п = 850 об/мин — на рис. 63.
На тепловозах ТЭЗ выпуска до января 1959 г. применялись генераторы типа МПТ 99/47, которые затем были заменены генераторами МПТ 99/47А, описанными выше. Ге-

Рис. 60. Характеристики генератора МПТ 99/47А: — намагничивания; б — внешняя

нератор МПТ 99/47 имел компенсационную обмотку, а МПТ 99/47А такой обмотки не имеет. Полюсы и катушки главных и добавочных полюсов этого генератора не взаимозаменяемы с полюсами и катушками генератора МПТ 99/47. Изменена также конструкция воздухо-подводящего патрубка. Это изменение введено в связи с поступлением воздуха для вентиляции генератора из кузова тепловоза, а не с крыши, как это было раньше.
Посадка коллектора на корпус якоря в генераторе МПТ 99/47А конструктивно более совершенна по сравнению с генераторами МПТ 99/47 первых выпусков. У этих генераторов посадочные места коллектора и корпуса якоря имели ребристую поверхность. Коллектор фиксировался от аксиального перемещения приваркой его ребер к ребрам корпуса якоря. При такой конструкции снять коллектор для ремонта генератора было невозможно.
В генераторах МПТ 99/47А посадочные места по ребрам как на коллекторе, так и на корпусе якоря выполнены цилиндрическими. Посадка выбрана прессовая. Фиксация от продольного перемещения осуществляется тремя приварными захватами. Такая кон-
струкция обеспечивает надежную посадку и возможность снятия коллектора с корпуса якоря при ремонте.
Сердечники добавочных полюсов изготовлены из стального проката, а не собираются из отдельных листов, как это имело место на генераторах первых выпусков. Сердечники главных полюсов собираются из листов СтЗ толщиной 2 мм вместо стали Э320 толщиной 0,5 мм, применяемой ранее. Значительно усовершенствована и технологическая улитка, отводящая горячий воздух из генератора. Все ее детали выполнены штамповкой. Рамки катушек главных полюсов длительное время изготавливались путем вырезки из листового стеклотекстолита. Затем эти рамки начали прессовать из пластмассы марки АГ-4.

Рис. 63. Зависимость к.п.д. генератора от тока нагрузки при частоте вращения якоря 850 об/мин

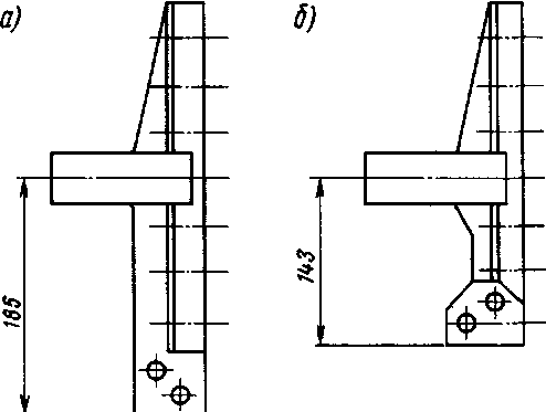
Рис. 64. Бракет щеткодержателей генератора: а — старое исполнение; б — новое исполнение
С января 1959 г. на генераторах МПТ 99/47А устанавливают новый бракет щеткодержателя (рис. 64), позволяющий увеличить расстояние между бракетом и щитом генератора, что было необходимо для исключения случаев переброса кругового огня по коллектору на корпус. В конце 1959 г. внедрено новое лабиринтное уплотнение подшипника.
Для пропитки якорей генераторов до 1959 г. применялся главным образом асфальтомасляный лак. Этот лак создает пленки с высокой электрической прочностью, но с низкой влагостойкостью. Пленка асфальтомасля-ного лака термопластична, обладает способностью размягчаться при нагреве. Это обстоятельство приводило к выбрасыванию лака из якоря, ослаблению обмотки и преждевременному выходу из строя машины. В 1959 г. завод «Электротяжмаш» начал применять для пропитки якорей термореактивный лак ФЛ-98, который хорошо просыхал и не создавал размягчающих пленок при повторном нагревании. Этот лак обеспечил необходимую цементацию обмотки в пазу, предотвращая перетирание изоляции. Это повысило надежность генератора.










