14. Основные конструктивные изменения в дизель-генераторе 2Д100
В период эксплуатации тепловозов ТЭЗ дизели 2Д100 выработали установленный моторесурс, а их выпуск прекратился. С 1980 г. на тепловозы стали устанавливать дизели 2Д100М, изготовляемые по новым техническим условиям, которые предусматривают высокую степень унификации деталей с дизелем 10Д100. Изменения, внесенные в основные сборочные единицы и детали дизеля 2Д100, наглядно представлены на рисунках 38—50, где слева изображены детали дизеля 2Д100, а справа — одноименные детали измененной конструкции.
Втулка цилиндра. Цилиндрическая поверхность адаптерного отверстия в рубашке втулки цилиндров омывается охлаждающей водой и подвержена коррозии. Коррозионные «язвы» на поверхности адаптерного отверстия — это концентраторы усталостных напряжений от переменных усилий, действующих в цилиндре двигателя. Для повышения надежности и долговечности втулок были внесены изменения в их изготовление как конструктивного, так и технологического характера. Прежде всего необходимо было улучшить защиту от коррозионного воздействия охлаждающей воды поверхностей стенок отверстий под адаптеры в рубашке втулки цилиндров. Высокотемпературные условия работы резинового уплотнения приводили к течам воды, что усложняло эксплуатацию систем ох-
лаждения и значительно повышало затраты на ремонт.
При сборке адаптера форсуночного отверстия (рис. 38, а) поверхность сопряжения с деталью 2 смазывают лейнерной смазкой ВЛ (ГОСТ 5078— 80). При установке фланца 9 две диаметральные канавки Б должны находиться в плоскости, перпендикулярной оси втулки; допускается несовпадение до 2,0—2,5 мм. Нажимной фланец крепит форсунку в адаптерном отверстии, а выступы а на фланце обеспечивают центральное нажатие на корпус форсунки. Резиновое уплотнение / затягивают так, чтобы зазор 1,5— 0,2 мм обязательно контролировался. Адаптер индикаторного крана собирают с учетом требований, предъявляемых к сборке адаптера форсуночного отверстия.
Внедрена упрочняющая накатка поверхности отверстия диаметром 46 мм. Для этого применено более стойкое антикоррозионное герметизирующее покрытие АГП-616 поверхности отверстий (В, рис. 38, а, б) в рубашке под адаптеры вместо бакелитирования. Установлены новые адаптерные уплотнения из теплостойкой резины, изолирующие поверхности с радиусом R3 и диаметром 46 мм (рис. 38, в) и защищающие их от коррозии, а также уменьшен тепловой поток от втулки к резиновому уплотнительно-му кольцу.
Для упрочнения и повышения усталостной прочности рубашки втулки изменен материал трубы для рубашки; трубы прокатывают из кованой заготовки.
Усилена втулка цилиндров за счет применения обводных ребер вокруг бонок под отверстия для ввинчивания адаптеров, что создает подпор со стороны рубашки и не ухудшает охлаждение адаптеров и зоны бонки (рис. 39, а). Для уменьшения задиро-образования на зеркале втулки цилиндров введен зазор между втулкой и рубашкой вместо натяга (рис. 39, б).
Высокое давление наддувочного воз-даха вызывает просачивание масла, приносимого в ресивер наддувочным воздухом по монтажному зазору между рубашкой втулки и блоком. Для защиты

Рис. 38. Элементы втулки цилиндров:
а — адаптер форсунки; б — адаптер индикаторного крана; в — поверхность отверстия рубашки втулки цилиндров под адаптеры, / — кольцо резиновое уплотнительное; 2 — прокладка медная уплотнительная; 3—адаптер форсунки; 4 — шпилька крепления форсунки; 5, 8, 12 — гайки; 6—фланец с центральным нажатием на корпус форсунки; 7— фланец, в который ввертывается шпилька 4; 9, 10— фланцы, сжимающие резиновое кольцо /; //—адаптер индикаторного крана; 13—шпилька крепления индикаторного крана;
14 — гайка нажимная

Рис. 39. Изменения в конструкции втулки: обводные ребра вокруг бонок; б — зазор вместо натяга по месту посадки рубашки в зоне над выпускными
окнами
наружной поверхности втулки от загрязнения маслом, просачивающимся из ресивера, предусмотрено уплотнение путем установки одного резинового кольца на втулку. Однако такое уплотнение не защищает втулку от загряз-
нения, поэтому устанавливают два резиновых кольца (рис. 40, а).
Повышена надежность резинового уплотнения между втулкой и рубашкой в ее нижней части за счет канавки на втулке под наносимый на ее

Рис. 40. Герметизация уплотиений по местам соединения рубашки с втулкой и блоком:
а — уплотнения рубашки с блоком, б — уплотнение рубашки с втулкой, в — уплотнение между втулкой с блоком и выпускной коробки с втулкой, г — канавки под резиновые кольца для уплотнения
поверхность слой клея ГЭН (рис. 40, б). От проникновения газов в картер и масла из картера в полость под выпускной коллектор установлено уплотнение между втулкой, выпускной коробкой и блоком в виде резиновых уплотнительных колец раздельно по выпускной коробке и блоку (рис. 40, в).
Чтобы улучшить условия работы резиновых уплотнительных колец, на втулке цилиндров применены новые формы канавок под их установку (рис. 40, г). Заменена резина уплотнительных колец на фтористую термостойкую резину марки ИРГЫ287.
Блок цилиндров. Опыт эксплуатации дизелей позволил наметить основные

Рис. 41. Элементы блока: а — сварной шов бугеля — горизонтальный лист; б — отверстия для вертикальной передачи, в — плати-кн крепления кронштейнов паразитных шестерен привода кулачковых валов, г — резьба для ввинчивания шпильки в горизонтальный лист
мероприятия по повышению усталостной прочности блока и его элементов. Прежде всего были утолщены верхний и нижний горизонтальные листы за счет упразднения наклона горизонтального листа на угол 7°, что позволило усилить сварной шов (рис. 41, а). Усилены ребра жесткости стакана вертикальной передачи с 10 до 16 мм (рис. 41, б).
В переднем листе блока отсека управления часто образовывались трещины вблизи платиков крепления кронштейна паразитных шестерен привода кулачковых валов. Чтобы повысить надежность этой сборочной единицы, были заменены три детали блока под установку кронштейнов одной
штампованной деталью, ввариваемой в передний лист блока (рис. 41, в). Устранена возможность отрыва приваренных платиков (накладок) к горизонтальному листу под установку верхнего корпуса вертикальной передачи уменьшением длины нарезки резьбы за счет снятия нарезки в платике (рис. 41, г).
Несущая способность вкладышей нижних коренных опор коленчатого вала повышена, так как изменено расположение маслоподводящей канавки в нижней (рабочей) половинке вкладыша на дуге 90—110°. В этом вкладыше канавка выполнена на дуге 30—35° от плоскости разъема с плавным выходом ее по касательной к дуге окружности внутренней расточки вкладыша (рис. 42, а). Для вкладышей коренных опор верхнего коленчатого вала рабочим вкладышем является верхняя (крышечная) половинка вкладыша, а так как масло от верхнего масляного коллектора подводится к крышке коренной опоры верхнего вала, то маслоподводящая канавка выполнена, как показано на рис. 42, б.
Для обеспечения укладки коленчатых валов в блоке с проверкой прилегания коренных шеек к своим вкладышам щупом (стальная ленточка толщиной 0,03 мм) на 11-й опоре

Рис. 42. Коренные вкладыши коленчатого вала: а — коренные вкладыши нижнего коленчатого вала (Я— плоскость разъема); б— коренные вкладыши верхнего коленчатого вала; в — изменение конструкции упорного вкладыша коренной опоры
(упорный подшипник) внедрено мероприятие, обеспечивающее доступ для замера установкой одной блочной половинки упорного вкладыша (рис. 42, в). Длительной эксплуатацией проверено, что несущей способности бурта одной (блочной) половинки вкладыша достаточно, чтобы обеспечить нормальную работу упорного подшипника коленчатого вала.
Поршень. Для повышения надежности поршня, уменьшения износа поршневого кольца и повышения срока службы масла внедрена новая конструкция поршня с кадмиевым при-работочным покрытием юбки. Это бесшпилечно-силовая схема поршня, имеющего камеру сгорания по типу поршня 14В (ранее работавшего на 2Д100) с плавающим поршневым пальцем (см. рис. 12). Чтобы устранить поломки и износ поршневых компрессионных колец, а также повысить износостойкость зеркала втулки цилиндров, применены хромированные кольца / с четырьмя, а позже и шестью маслоудерживающими канавками 2 из высокопрочного чугуна, легированного хромом, никелем, молибденом и марганцем (рис. 43, а). Прирабатываемость поршневых компрессионных колец лучше в том случае, если устанавливать хромированные кольца на нижних поршнях в первую и третью канавки, а в верхних поршнях достаточно одного кольца в первой канавке.
Срок службы по износу поршневого пальца, втулки верхней головки шатуна и унификация этих деталей для всех типов дизелей Д100 выше при установке плавающего поршневого пальца диаметром 82 мм с увеличенным диаметром расточки верхней головки шатуна с. диаметра 96 до 100 мм и соответствующим изменением втулки верхней головки шатуна (рис. 43, б, в).
Унификация поршневого пальца привела к потере взаимозаменяемости втулок, пальцев и шатунов, поэтому это мероприятие проведено для всех типов дизелей Д100. Во все депо и другие эксплуатационные организации направлены инструктивные указания с разъяснением правильного подбора втулок, шатунов и поршней.

Рис 43 Поршневые кольца, поршневой палец и
втулка верхней головки шатуна а — хромированные поршневые компрессионные коль ца нз высокопрочного чугуиа, б, в — плавающий поршневой палец
Коленчатые валы. После применения бесканавочных вкладышей подшипников коленчатых валов, увеличивших их несущую способность, срок службы подшипников увеличился, но на рабочей поверхности баббитового слоя появлялись кавитадионные разрушения как при выпуске дизелей, так и в эксплуатации. Этот дефект был тщательно изучен и установлено, что кавитацион-ные повреждения были не на всех коренных опорах, а только на 3, 5, 6 и 9-й шейках нижнего коленчатого вала и на 2, 4, 7, 10-й верхнего коленчатого вала.
Анализ этого явления показал, что если маслоподводящее отверстие в коренной шейке, через которое подводится масло к данному кривошипу, во время рабочего хода поршня (хода расширения) в соответствующем цилиндре проходит по бесканавочной части рабочего вкладыша подшипника, то такое отверстие вызывает кавитационное повреждение, а если по канавочной половинке коренного вкладыша, то такое отверстие не вызывает кавитационного повреждения, Таким образом, чтобы избежать кавитационного разрушения, необходимо масло подводить к коренной шейке коленчатого вала в зоне низкого давления. Поэтому на
всех шейках изменено расположение маслоподводящих отверстий (рис. 44, а). Если необходимо два отверстия, как у дизеля Д100 для равномерного непрерывного подвода масла к шатунным подшипникам для охлаждения поршней, то второе отверстие может выходить и в бесканавочную часть подшипника (в зону высокого давления), и такое исполнение не вызовет кавитационного разрушения. В дизелях типа Д100 выполнено по два отверстия на всех шейках, кроме 1-й и 10-й где масло не подается на охлаждение поршня.
Для устранения кавитационного разрушения вкладышей подшипников 5-й и 6-й коренных опор нижнего коленчатого вала изменены маслопод-водящие каналы (рис. 44, б). Для вкладышей подшипников 2, 3, 5 и 9-й опор нижнего коленчатого вала и 2, 3 и 4-й опор верхнего коленчатого вала изменен выход масляных каналов на поверхности шейки вала (рис. 44, в).
Следует помнить, что интенсивные кавитационные разрушения вкладышей также появляются при применении «пенящегося» масла (из-за отсутствия в масле антипенной присадки ПМС-200А); при применении масла с наличием в нем воды; при низком уровне масла в картере, когда масляный насос засасывает с маслом воздух, образуя масляную эмульсию.
Для повышения долговечности работы подшипника 12-й коренной опоры изменена конструкция направляющего кольца хвостовика коленчатого вала и кольца хвостовика вала якоря генератора (рис. 44, г).
Кулачковый вал. Кулачковые валы работают в тяжелых условиях при воздействии высоких удельных нагрузок на поверхность кулачковых шайб, возникающих вследствие больших ускорений движущихся масс механизма привода топливных насосов высокого давления Это требует высокой твердости поверхности кулачковых шайб, и опорных шеек кулачковых валов. При изготовлении не допускаются пятнистая твердость и закалочные трещины. Поэтому для повышения надежности и долговечности внедрен дополнительный контроль закаленных

Рис. 44. Маслоподводящие каналы: а — точки подвода масла к вкладышам подшипников; б—направление потока масла к вкладышам 5-й и 6-й кореииых опоо, в — направление сверления 2, 3, 5 и 9-й опор нижнего и 2, 3, 4-й опор верхнего коленчатых валов, г— центрирующие кольца хвостовиков коленчатого вала и вала якоря генератора

поверхностей кулачков и опорных шеек магнитным дефектоскопом.
Вертикальная передача. Валы вертикальной передачи соединены между собой торсионным валом, способным передавать мощность от верхнего коленчатого вала на нижний. При передаче большого вращающего момента торсионный вал, закручиваясь, укорачивается, вследствие чего будет происходить взаимное перемещение внутренних шлицев шлицевой втулки 2 (рис. 45, а) относительно шлицев торсионной головки вала 10, это будет приводить к износу шлицев торсионного
вала и шлицевой втулки. Торсионный вал удерживается в нижнем валу вертикальной передачи, а шлицевая втулка 2 (см. рис. 45, а) подвешена на торсионном валу 10 с помощью гайки 4 и болтов /.
В эксплуатации были случаи обрывов или вывинчивания из гайки болтов /, вследствие чего шлицевая втулка 2 опускалась вниз и вертикальные валы рассоединялись, а шлицевая втулка получала повреждения. Дефект устранен за счет удлинения болтов / (до этого болты / были короткими) и большего их числа (8 шт. вместо
4 шт.). Сквозной болт / позволяет провеоять его затяжку при осмотрах и необходимости подтягивать их. Малые конические шестерни вертикальной передачи установлены на свои валы на роликовых подшипниках и призматических шпонках с натягом. Недостаточные монтажные натяги приводили к поломкам и тоещинам, идущим от шпоночных пазов. Для устранения дефекта увеличен натяг посадки подшипника и шестерни (рис. 45, б)
Масляный насос. Насос, обеспечивающий смазывание деталей дизеля, эксплуатационно надежен, однако необходимо было увеличить долговечность работы опорного роликового и радиального шарикового подшипников Радиальный подшипник 46205Л заменен на упорный щариковый 8206К и опорный роликовый подшипник 32608 на подшипник 32608М (рис. 46, а, б\
Форсунка и топливный насос. Работа форсунки непосредственно влияет на рабочий процесс дизеля, а следовательно, на работоспособность поршневой группы, втулок цилиндров, тепловое состояние поршневой группы, а также на нагароотложения и разжижение масла топливом. Поэтому необходимо повышать качество распы-ливания топлива и обеспечивать стабильность и длительность его режима Изменением сопряжения конусов иглы и распылителя была повышена долговечность работы форсунки и стабильность распыливания топлива (рис. 47, а)
Центральное нажатие при креплении форсунки накидным фланцем в адаптере достигнуто установкой
накидного фланца с призматическими выступами в плоскости оси корпуса форсунки. Это исключило деформацию корпуса распылителя при затяжке форсунки, а следовательно, обеспечило свободное движение иглы, исключающее ее зависание и нарушения работы после крепления (рис. 47, а, б).
Понижена плотность распылителя, изменен диаметр распиливающих отверстий и направления струй в камере сгорания. Это привело к снижению температуры на «лысках» днища поршня, со стороны камеры сгорания вблизи ввода топлива (рис. 47, в).
Надежность и прочность деталей топливного насоса повышена устранением поломок нажимных штуцеров благодаря уменьшенному натягу посадки тарелки пружины клапана в корпусе штуцера и случаев поломки нагнетательных клапанов за счет их конструктивного упрочнения (рис. 47, г, д)
Шатуны. Шатуны изготовляют из высококачественной стали В процессе длительной эксплуатации шатуны работали удовлетворительно и не подвергались конструктивным изменениям. Однако поршневой палец, соединяющий шатун с поршнем, имел малый запас по износу и в общем желательно было разгрузить эту деталь. В связи с вводом бесшпилечного поршня решился вопрос уменьшения износа втулки верхней головки шатуна и поршневого пальца за счет увеличения расточки в шатуне под втулку с 96 до 100 мм с применением плавающего пальца.
Так как такое мероприятие привело к потере взаимозаменяемости втулок

Рис 46. Подшипники масляного насоса а — упорный подшипник, б — опооный подшипник, / — шариковый радиальный подшипник 46205Л, 2 — упооиый шариковый подшипник 8206К, 3 — поршень узла упорного подшипника 4 — опооный оолвковый подшипник 32608, 5 — опорный роликовый подшипник 32608М

и пальцев, то в депо и на ремонтные заводы выдано инструктивное указание по правильному подбору втулок и пальцев. Так, например, если на двигателе с поршнями последнего варианта (вариант 5) необходимо заменить шатун, а имеется только шатун с втулкой наружным диаметром 96 мм и внутренним 76 мм. Известно, что шатун для поршня варианта 5 должен иметь поршневой палец диаметром 82 мм, следовательно, необходима втулка с наружным диаметром 96 мм и внутренним 82 мм.
Выпускной коллектор. Высокие тепловые напряжения и работа в условиях переменных нагрузок вызывают большие знакопеременные силы, действующие на выпускной коллектор. Сварная конструкция выпускных коллекторов в охлаждаемом варианте выполнена в- виде двухстенной трубы прямоугольного сечения. Внутренняя и наружная стенки соединены электрозаклепками. Переменные режимы вызывали изменения давления воды, что приводило к обрыву электрозаклепок, при этом
образовывались трещины по сварным швам и коллектор выходил из строя.
Повышена прочность электрозаклепок (рис. 48, а) и снижен уровень напряжений в зоне сварного шва за счет выноса сварного шва на прямолинейный участок стяжки коллектора (ряс. 48, б). Заменен материал прокладок под смотровые лючки выпускного коллектора с паронита на асбосталь, что обеспечило герметичность по лючкам и прекратило выброс газов в машинное отделение тепловоза.
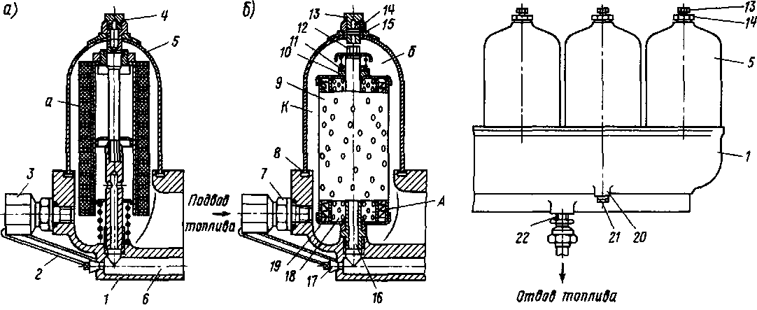
Фильтр тонкой очистки топлива. Существенно улучшить качество фильтрации топлива, что необходимо для защиты топливной аппаратуры, удалось установкой бумажного фильтрующего элемента тонкой очистки топлива (рис. 49).
Масляная система. Трещины в масляном коллекторе устранены за счет изменения овалообразного сечения на круглое. Для защиты закрытой масляной системы от загрязнений при всех видах транспортировки выполнено
внешнее объединение подвода масла к коллекторам (нижнему и верхнему) (рис. 50, а, б).
Установка нового дизель-генератора. Одним из возможных путей восстановления работоспособности тепловозов ТЭЗ, у которых дизель-генераторы 2Д100 вьюаботали установленный моторесурс, является замена их дизель-генераторами других типов, находящимися в производстве
Такая замена экономически оправдана как с точки зрения восстановления единицы подвижного состава, так и с точки зрения повышения ее топливной экономичности. Это обусловлено тем, что новые типы дизель-генеоа-торов обладают более высокой топливной экономичностью по сравнению с дизель-генератооом 2Д100.
Вместе с тем такая замена потребует конструктивных доработок по приспособлению устанавливаемых дизель-генераторов к тепловозу ТЭЗ из-за отличий по теплотехническим и электрическим системам, а также по установочным и присоединительным размерам. Работы по
замене дизель-генераторов новых типов в связи с их трудоемкостью и сложностью могут быть выполнены только силами тепловозоремонтных заводов.
В качестве заменяющих дизель-генераторов 2Д100 на тепловозах ТЭЗ могут быть использованы дизель-генераторы 10Д100 (даже без турбонагнетателя), а также четырехтактные дизели типов Д49 и Д70.
Производственным объединением «Завод имени Малышева» по заданию Министерства путей сообщения для проверки эффективности модернизации тепловоза ТЭЗ путем замены дизель-генератора 2Д100 была разработана техническая документация, и в 1973 г. на Изюмском тепловозоремонтном заводе оборудован тепловоз ТЭЗ № 4660 дизель-генератором 12Д70.
После модернизации тепловоз был направлен для эксплуатации в локомотивное депо станции Купянск Южной дороги, где проработал до заводского ремонта. При этом тепловоз показал высокую топливную экономичность и надежность по сравнению с серийным тепловозом ТЭЗ, среднеэксплуатационный расход

Рис. 48. Изменения в выпускном коллекторе' а — электрозаклепки, б — сварной шов

Рис 49. Бумажный фильтрующий элемент вместо войлочного: а — фильтр тонкой очистки с войлочным фильтрующим элементом, б — фильтр с бумажным фильтрующим элементом в том же корпусе, / — корпус, 2 — шплинтовка проволочная, 3 — защитный колпачок (при транспортировке), 4, 8, 15—прокладки, 5—колпак, 6—канал чистого топлива; 7—штуцер подвода топлива, 9 — четыре бумажных фильтрующих элемента (под каждым колпаком бумажный элемент), 10—нажимная втулка, // — пружина, 12, 14 — гайки, 13, 17—пробки, 16—стержень, 18 — сетчатая труба, 19 — шелковый чехол, предварительно надеваемый на сетчатую трубу, 20—бонка для слива отстоя, 21 — пробка для слива отстоя; 22 — штуцер отвода топлива, А — полость чистого топлива, К — полость грязного топлива

Рис. 50. Элементы масляной системы: а — изменено овальное сечение нижнего масляного коллектора на круглое; б — внешнее обводйое соединение нижнего и верхнего масляных коллекторов со стороны подвода масла в дизель
топлива си шился на 12—15%, а коленчатые валы, работавшие на бронзовых вкладышах с заливкой баббитом марки БК-2, не имели износа и не потребовали перешлифовки на капитальном ремонте.
Опыт замены дизель-генератора 2Д100 дизель-генератором 12Д70 на тепловозе ТЭЗ подтверждает возможность и целесообразность проведения модернизации парка тепловозов ТЭЗ, выработавшего ресурс по силовой установке.
Как уже отмечалось, в качестве заменяющего агрегата не обязательно применение дизель-генератора 12Д70. Обязательным, однако, условием является унификация заменяющего дизель-генератора с заменяемым По габаритно-присоединительным и посадочным размерам и теплотехническим и электрическим схемам. Желательно также, чтобы заменяющий агрегат имел более высокие технико-экономические показатели.
Ниже приведены изменения в конструкции экипажной части, в системах и электрооборудовании тепловоза ТЭЗ, необходимые для его модернизации, а также общие сведения по дизель-генератору 12Д70. Аналогичный объем работ потребуется при модернизации тепловоза* на базе другого днзель-генератора.
Общие данные. дизель 12Д70 создан на базе дизеля 2Д70А, который имеет среднеэксплуата-ционный расход топлива иа 10—12%, а на номинальном режиме на 20% ниже, чем дизель-генератор 2Д100.
Поставляемый для модернизации дизель 12Д70 должен быть укомплектован монтажными деталями (главным образом трубопроводами с фланцами), обеспечивающими взаимозаменяемость. Установка дизель-генераторов 12Д70 не требует радикальных изменений в кузове. Однако
в связи с изменением положения оси коленчатого вала дизеля 12Д70 необходимо понижение уровня пола.
Координата переднего крепления дизель-генератора 12Д70 к раме тепловоза короче на 817 мм против дизеля 2Д100, поэтому необходимо в раме тепловоза просверлить новые отверстия. Для упрощения операции установки рамы к дизелю придается приспособление (кондуктор) для сверления четырех отверстий в раме тепловоза, через которые проходят болты, прикрепляющие дизель к раме.
Водяцая система. Теплорассеивающая способность системы охлаждения тепловоза ТЭЗ обеспечивает работу дизель-генератора 12Д70 без переделки холодильной камеры. При установке дизеля 12Д70 на тепловозе с теплоотводом от масла, в 2 раза меньшим, чем у 2Д100, масляная система обеспечит охлаждение масла 50% масляных секций. Следовательно, 50% масляных секций могут быть переданы в контур охлаждения наддувочного воздуха, которого у дизеля 2Д100 нет.
Конструктивно установка радиаторов выполнена так, что масляные секции расположены с внешней стороны (защита водяных секций от замерзания) правого и левого радиаторов. Таким образом, 18 из 36 масляных секций можно переключить на контур охлаждения наддувочного воздуха. Расположение масляных и водяных трубопроводов целесообразно (меньше изменений в монтаже водяного трубопровода), поэтому на правом радиаторе масляные секции можно снять и заменить их водяными для охлаждения наддувочного воздуха.
Масляная система. Потери теплоты в масло у двигателей 2Д100 выше, чем у 12Д70, в 2 раза. Это позволило создать контур охлаждения наддувочного воздуха за счет освобождения 18 масляных секций из 36 в контуре охлаждения масла. Сохраняя установку масляных секций из 18 на одной левой стороне радиаторов, система масляного трубопровода практически не претерпевает изменений, за исключением труб и патрубков, необходимых для подсоединения маслооткачива-ющего насоса к магистрали масляного трубопровода, идущего к холодильной камере, и возврата к масляному коллектору дизеля от фильтра грубой очистки. В связи с тем что дизель 12Д70 короче 2Д100, потребовалось изменить трубопровод подвода масла из контура дизеля до маслопрокачивающего агрегата и возврата его в дизель для прокачки системы маслом.
Изменения в топливном трубопроводе. Установка топливного трубопровода в кузове остается неизменной и отличается от действующей на тепловозе с двигателем 2Д100 местами подсоединения к дизелю.
Вводятся следующие топливные грубы: подвод топлива к фильтру тонкой очистки, отвод избыточного топлива из двигателя, слив грязного топлива и масла, подвод топлива к манометру, устанавливаемому перед фильтром тонкой очистки на щитке приборов в кузове.
Технической документацией принято расположение дизель-генератора осуществить таким образом, чтобы генератор МПТ 99/47А оставался на том же месте, как и при установке 2Д100, тем самым исключаются какие-либо
изменение в монтаже силового электрического оборудования.
Схема электрооборудования. Как уже отмечалось выше, на дизель-генераторе 12Д70 установлен регулятор частоты вращения, отличающийся от регулятора 2Д100, кроме силовой обратной связи буферного типа, также способом изменения затяжки всережимной пружины. Кроме этого, за время, прошедшее от прекращения выпуска дизель-генераторов 2Д100, многие электрические аппараты были сняты с производства и заменены аппаратами других типов. Так, например, реле РДМ-1 и РДМ-2 . заменены комбинированным реле давления типа КРД-2 или реле давления типа КРМ. Вместо блокировочного магнита БМ-1, используемого в стоп-устройстве, применен тяговый электромагнит ЭТ54Б.
Изменение способа Затяжки всережимИой пружины вызвало отмену электропневматических вентилей ВВ1 и замену их тяговыми электромагнитами ЭТ52Б. Все эти изменения вызвали изменения в монтаже электрооборудования дизель-генератора.
Комплект электрооборудования дизель-генератора 12Д70 состоит из концевого выключателя валоповоротного устройства (ВПУ), комбинированного реле давления КРД-2 (или КРМ—2 шт.), электропневматического вентиля ВВ1 ускорителя пуска (ВП7), четырех тяговых электромагнитов МР1, МР2, МРЗ и МР4 типа ЭТ52Б, одного электромагнита ЭТ типа ЭТ54Б, двух приемников
электроманометров типа ЭДМУ-6Н, клеммной коробки и соединительных проводов и кабелей. Монтаж электрооборудования дизель-генератора 12Д70 выполнен проводом типа БПВЛ, собранным в отдельные кабели. Провода и кабели заключены в медную оплетку, служащую для повышения механической прочности проводов и снижения уровня индустриальных помех, создаваемых электрооборудованием тепловоза.
Тяговые электромагниты ЭТ52Б, ЭТ54Б и приемники электроманометров соединены с кабелями с Помощью штепсельных разъемов. Остальные аппараты и приборы имеют болтовые контактные соединения. Изменения в электрооборудовании дизель-генератора повлекли за собой изменения в монтаже электрооборудования тепловоза.
В связи с тем что регулятор частоты вращения дизель-генератора 2Д100 имел 16 ступеней задания скорости и по этой причине контроллер машиниста (типа КВ-16А-12) имел 16 позиций, а регулятор дизель-генератора 12Д70 имеет 15 ступеней задания скорости, на тепловозе при установке дизель-генератора 12Д70 должен быть установлен пятнадцати-позиционный контроллер машиниста. При отсутствии Такого контроллера можно использовать имеющийся на тепловозе контроллер КВ-16А-12 путем переделки кулачковых шайб для реализации соответствующей диаграммы коммутации либо установить дополнительное промежуточное реле РУ5.










