12. Топливная система тепловоза и дизеля
Система подачи топлива разделяется на внутреннюю (система внутри дизеля) и наружную (система тепловоза). Топливная система тепловоза
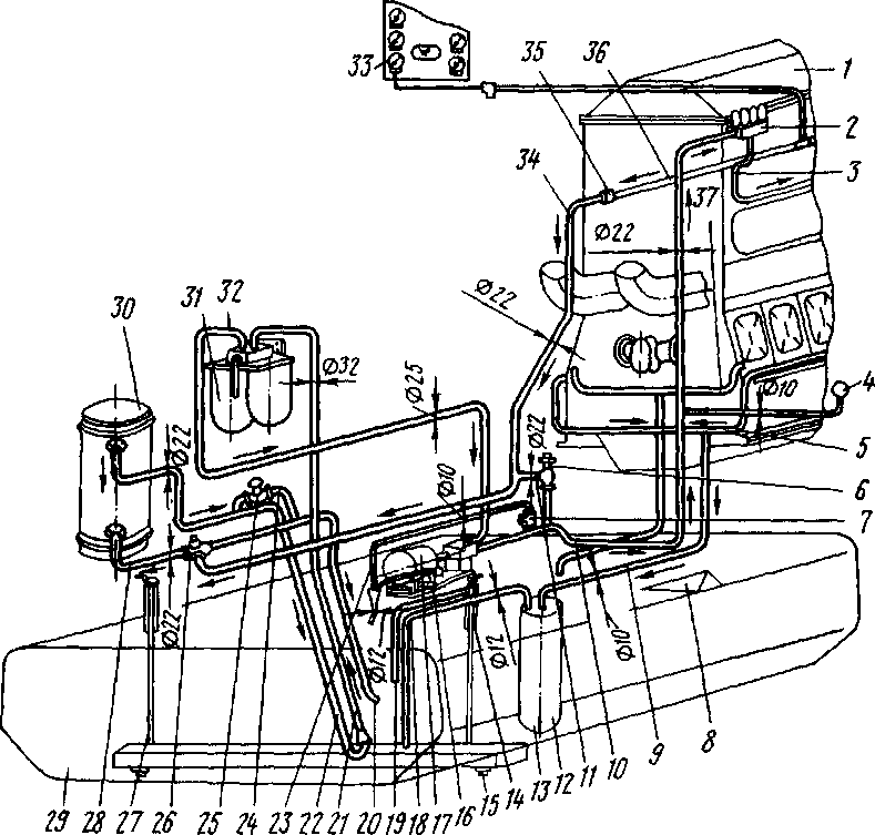
(рис. 33) служит для подачи топлива к топливным насосам высокого давления. Бак и весь топливопровод должны быть герметичны, чтобы в топливо не попадали пыль или вода, а во всасывающий трубопровод — воздух. Для защиты от коррозии внутренние стенки фосфатированы.
Топливный бак вместимостью 5440 кг сварен из листовой стали толщиной 4 мм. Приваренными к нему кронштейнами он прикреплен болтами к кронштейнам рамы тепловоза. Бак заправляют топливом через горловины 8, расположенные на верхней его плоскости с обеих сторон тепловоза. Заправочные горловины бака снабжены сетками с шелковыми мешочками. Для контроля уровня и количества заправляемого топлива в баке установлены щупы 27, помещенные в вертикально расположенные трубы 14, защищающие их от деформации.
К фильтрации топлива, забираемого из'бака, предъявляются высокие требования, так как даже мельчайшие механические примеси в нем вызывают износ или заклинивание плунжерных пар насосов высокого давления, распылителей форсунок и нагнетательных клапанов. Поэтому в топливную систему последовательно включены два топливных фильтра.
Фильтр грубой очистки 31 сетчато-набивной двойной, в каждом из которых имеются вставленные один в другой цилиндрические сетчатые стаканы с сетчатыми крышками. Пространство между стаканами заполнено хлопчатобумажными концами (путанкой). Посередине внутреннего (малого) стакана проходит пустотелый стержень с отверстиями в стенках для прохода чистого топлива вовнутрь и далее к выходному штуцеру во всасывающий топливопровод топливоподкачивающе-го насоса 17. Оба стакана фильтпа грубой очистки установлены (прикреплены болтами) на общей крышке с трехходовым краном, позволяющим на ходу отключать один фильтр в случае неисправности или чрезмерного загрязнения. Сетчатые стаканы в корпусе поджимаются пружинами.
Фильтр тонкой очистки 2 установлен на левой боковой стороне блока

Рис. 33. Топливная система тепловоза: / — дизель; 2 — фильтр тонкой очистки топлива; 3, 5, 9, 10, 11, 16, 18, 19, 20, 21, 22, 23, 24, 28, 32, 34, 36, 37 — трубы; 4, 33 — манометры; 6 — предохранительный клапан на 0,25 МПа; 7 — кпан для выпуска эмульсии (воздуха); 8—горловина для заполнения бака топливом; 12 — бачок для грязного топлива; 13 — пробка для слива грязного топлива; 14 — трубка для щупа замела топлива; 15"—клапан для слива отстоя; 17 — топли-воподкачнвающий насос; 25—вентиль; 26—коан трехходовой; 27— щуп узла замеоа топлива; 29 — топливный бак; 30—подогреватель топлива; 31 — фильтр гоубой очистки; 35—перепускной клапан
двигателя в верхней его части со стороны управления. Фильтр пропускает частицы не более 5 мкм. Внутренняя поверхность алюминиевого корпуса покрыта бакелитовым лаком. Собранный фильтрующий элемент надевается на стержень, ввернутый в бобышку корпуса. Пакет фильтра опирается на пружину, которая поджимает пакет к бурту стержня. Снаружи фильтрующий элемент закрыт колпаком, торцовая поверхность которого через паоони-товую прокладку уплотняет внутреннюю полость к фильтрам.
Топливо подводится к фильтру по штуцеру, ввернутому в алюминиевый корпус фильтра, и поступает в полость.
Полость чистого топлива защищена от проникновения грязи сальником, установленным над нажимной пластиной пружины.
Топливоподкачивающий насос должен преодолевать сопротивление фильтров, которое может возрастать при их загрязнении. Ограничение загоязненности фильтров определяется значением перепада давлений (должен быть 0,03—0,09 МПа). Топливо подается топливоподкачивающий насосом значительно больше, чем необходимо для обеспечения полной мощности дизеля, поэтому часть его сливается обратно в бак по трубе 36, что необходимо для того, чтобы было обеспечено хорошее отделение пузырьков воздуха за счет потока топлива и хорошее наполнение топливных насосов высокого давления на ходе всасывания, что очень важно для стабильности мощности дизеля.
В холодное время года топливо, идущее к дизелю, подогревается, потому что при низкой температуре из топлива
выделяются парафинистые вещества, которые могут засорить топливопроводы и особенно фильтры. Подогрев происходит в топливоподогревателе 30 горячей водой из системы охлаждения дизеля. В летнее время подогреватель рекомендуется отключать, так как при повышенной температуре из-за теплового расширения топлива уменьшается его массовый заряд при подаче топлива в цилиндр. Перепускной клапан 35 регулирует давление в системе и обеспечивает давление в топливном коллекторе 0,11—0,25 МПа в зависимости от мощности. Излишки топлива через клапан в возвратном трубопроводе сливаются в подогреватель и далее в заборное устройство топливного бака.
Топливоподкачивающий насос подает топливо к насосам высокого давления. Вал насоса получает вращение от электродвигателя, соединенного с его валом пружинной муфтой. Электродвигатель работает от аккумуляторной батареи. Для пуска топливо-подкачивающего насоса необходимо нажать кнопочный выключатель на пульте машиниста при включенной батарее.
Топливные насосы высокого давления и форсунки. Показатели рабочего процесса дизеля и его эксплуатационные характеристики в значительной степени зависят от качества работы топливной аппаратуры. Топливная аппаратура должна обеспечивать:
1. Периодическое впрыскивание топлива в камеру сгорания дизеля в количестве, соответствующем нагрузке дизеля.
2. Необходимое начало и продолжительность впрыскивания, определяющие наилучшие эксплуатационные показатели дизеля.
3. Подачу топлива в цилиндр в мелкораспыленном состоянии, которое обеспечивало бы хорошее перемешивание его во всем объеме свежего воздушного заряда камеры сгорания.
4. Оптимальное количественное распределение топлива по углу поворота коленчатого вала дизеля за период единичного впрыскивания топлива (оптимальный закон подачи). Для этого топливо необходимо подавать к форсунке под большим давлением. В этом случае количество топлива, подаваемое за один рабочий ход, меняется от 0,36 г (при полной мощности) до 0,05 г (при холостой работе на 400 об/мин) за 0,004 с и менее, поэтому плунжер должен иметь очень малый зазор (0,001—0,002 мм), чтобы обеспечить такое высокое давление без больших утечек.
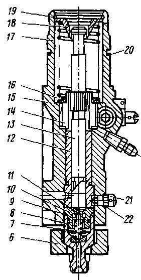
Движение плунжеру сообщает кулачок, сидящий на валу и приводимый во вращение от коленчатого вала. В процессе работы дизеля даже при неизменной частоте вращения коленчатого вала мощность его может изменяться, а следовательно, топлив-
Рис. 34. Топливный насос: / — регулировочный болт; 2 — регулирующая рейка; 3 — болт; 4 — стрелка; 5 — прокладка; 6 — фланец; 7— пружина клапана; 8 — нажимной штуцер; 9 — прокладка клапана; 10 — седло клапана; // — нагнетательный клапан; 12 — гильза плунжера; 13 — плунжер; 14 — шестерня плунжера; 15 — корпус насоса; 16 — кольцо пружины; 17—пружина плунжера; 18 — та-пелка пружины; 19 — стопорное кольцо; 20 — уплотнительное кольцо; 21 — стопорный винт; 22 — прокладка



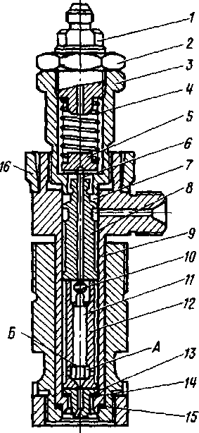
Рис. 35. Форсунка: / — пробка; 2— контргайка; 3— стакан пружины; 4 — пружина форсунки; 5 — тарелка пружины; 6— толкатель; 7— уплотнительное кольцо; 8 — щелевой фильтр; 9 — корпус фоосункн; 10 — ограничитель подъема иглы; // — игла форсунки; 12— корпус распылителя; 13 — сопловой наконечник; 14, 15 — прокладки; 16—накидной фланец; А—полость над запорным конусом распылителя; Б — дифференциальная площадка иглы.
ный насос должен на ходу изменять количество подаваемого топлива. Для этого плунжер должен поворачиваться и тем самым изменять подачу топлива, при этом момент начала подачи при повороте плунжера остается постоянным, а момент конца подачи изменяется вследствие изменения положения спиральной отсечной кромки по отношению к отсечному отверстию гильзы. Чем больше будет повернут плунжер, тем больше изменится подача топлива. При уменьшении угла поворота плунжера отсечка подачи происходит раньше и количество подаваемого топлива уменьшается. Так как и начало подачи и отмеривание порции топлива в топливном насосе дизелей типа Д100 осуществляются непосредственно плунжером без участия дополнительных клапанных механизмов, то такие насосы называют насосами золотникового типа.
Топливные насосы (рис. 34) и форсунки (рис. 35) дизеля 2Д100
полностью унифицированы для всего семейства дизелей типа Д100 и отличаются друг от друга только регулировкой цикловой подачи, что выражается в установке упора на рейке подачи топлива насоса.










