10. Регуляторы частоты вращения типа Д100
Регулятор частоты вращения дизеля 2Д100. В процессе работы дизель-генератора часто изменяется скорость и нагрузка тепловоза, что связано с профилем пути, режимом ведения поезда, включением и отключением вспомогательных механизмов. Эти изменения нарушают равновесие между движущим моментом, создаваемым дизелем, и моментом сопротивления на его валу, вследствие чего частота вращения вала двигателя отклоняется от заданного значения. Регулятор частоты вращения должен реагировать на эти отклонения, изменяя соответственно подачу топлива в цилиндры дизеля.
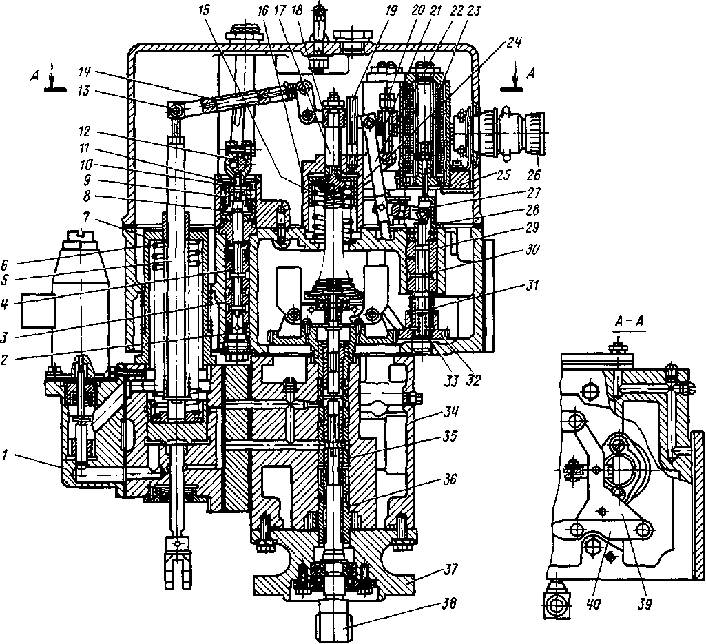
На дизель-генераторе 2Д100 установлен всережимный центробежный регулятор частоты вращения непрямого действия с гидравлическим исполнительным органом (серводвигателем) и изодромной кинематической обратной связью (рис. 25). Управление регулятором дистанционное, ступенчатое, электропневматическое от шестнадца-типозиционного контроллера машиниста. Регулятор является отдельным агрегатом с автономной масляной системой. Он оборудован стоп-устройством, служащим для дистанционной остановки дизеля.
Принципиальная схема устройства и работы. Регулятор состоит из следующих основных элементов: измерителя частоты вращения, воспринимающего отклонение частоты вращения вала дизеля от заданного значения; исполнительного органа, связанного с рейками топливных насосов; узла обратной связи, обеспечивающего устойчивость процесса регулирования; масляного насоса, создающего давление рабочей жидкости (масла); масляного аккумулятора.
Механизмы регулятора приводятся во вращение от коленчатого вала дизеля через специальный привод.
Измеритель частоты вращения (центробежного типа) состоит из двух вращающихся грузов 7 и всережимной пружины 6. Центробежная сила вращающихся грузов на установившихся режимах уравновешивается усилием затяжки всережимной пружины. Изме-
нением силы натяжения (затяжки) этой пружины устанавливается требуемая частота вращения вала дизель-генератора.
При изменении нагрузки на дизель изменяется его частота вращения, а следовательно, и центробежная сила грузов измерителя. При этом равновесие между усилием, создаваемым всережимной пружиной и центробежной силой грузов, нарушается, и золотник 10, связанный с измерителем частоты вращения, перемещается вверх или вниз. Золотник 10 управляет движением поршня 2 исполнительного органа путем регулирования потока масла под давлением в его рабочую полость.
Исполнительный орган представляет собой силовой поршень 2, движущийся в цилиндре. Шток 21 силового поршня через рычажную систему связан с рейками топливных насосов дизеля. Движение поршня вверх (на увеличение цикловой подачи топлива) осуществляется за счет давления масла под поршнем, поступающим туда из масляного аккумулятора по каналам и через отверстия в золотниковой втулке //, а вниз (на уменьшение подачи топлива)—под действием пружины 4. При этом масло из нижней полости по каналу через отверстия в золотниковой втулке и канал сливается в масляную ванну регулятора. Исполнительный орган создает усилие, необходимое для перемещения реек топливных насосов.
Узел обратной связи включает в себя компенсирующий поршень /, золотниковую втулку //, компенсирующую пружину 15 и игольчатый клапан 20. При изменении нагрузки на дизель, как уже отмечалось, регулятор частоты вращения изменит соответствующим образом цикловую подачу топлива путем перемещения штока исполнительного органа. Однако изменение частоты вращения дизеля и изменение цикловой подачи топлива по разным причинам происходят не одновременно. В связи с этим могут возникнуть нежелательные явления в виде неустойчивости процесса регулирования или перерегулирования. Неустойчивость проявляется в виде незатухающих ко-
Рис. 25. Регулятор частоты вращения
дизеля 2Д100: / — компенсирующий поршень; 2 — поршень силовой; 3 — золотник выключения; 4, 13 — пружины; 5 — верхний корпус; 6 — пружина всережимная; 7 — груз; 8— траверса; 9 — букса; 10 — золотник; //— втулка золотниковая; 12 — поршень аккумулятора; 14 — тарелка; 15 — пружина компенсирующая; 16— корпус регулятора; 17 — шестерня ведущая; 18 — нижний корпус; 19 — ведущий нижний валик; 20— клапан игольчатый; 21 — шток

лебаний частоты вращения, а перерегулирование—в виде затухающих во времени колебаний. Для исключения этих явлений необходимо ограничить движение поршня в соответствии с изменением нагрузки.
Работа узла обратной связи происходит следующим образом. В случае увеличения нагрузки (поршень 2 перемещается вверх) компенсирующий поршень /, жестко связанный со штоком 21, перемещается также вверх. При этом имеющееся над ним масло оказывает давление на поршень золотниковой втулки //, заставляя ее перемещаться вниз, т. е. в ту же сторону, что и золотник 10. При перемещении втулки она сжимает компенсирующую пружину 15 и перекрывает отверстие, открываемое нижним диском золотника при увеличении подачи топлива.
Возвращение системы в исходное положение происходит так: в результате увеличенной цикловой подачи частота вращения коленчатого вала дизеля начнет увеличиваться, грузы 7 измерителя разойдутся, поднимая золотник 10 вверх, одновременно с ним поднимется и золотниковая втулка // под действием затяжки компенсирующей пружины 15 и при соответствующем открытии игольчатого
клапана 20. При этом отверстие в золотниковой втулке остается перекрытым нижним диском золотника 10, и силовой поршень 2 остается неподвижным. Следует особо отметить, что площадь проходного сечения, открываемая игольчатым клапаном 20, определяет эффективность обратной связи, а следовательно, и качество регулирования частоты вращения.
Аналогичным образом осуществляется работа регулятора при уменьшении нагрузки с той разницей, что направления движения поршней, золотника и втулки противоположны направлениям движения при ее увеличении.
Конструкция регулятора. Нижний корпус 18 регулятора образует его основание и своим фланцем установлен и прикреплен четырьмя шпильками к корпусу привода регулятора. Внутри корпуса помещен вал привода регулятора с рессорным соединением, служащим для демпфирования вредных колебаний, поступающих от нижнего коленчатого вала.
Вал привода состоит из приводной втулки, имеющей шлицы на наружной поверхности, нижнего (ведущего) валика 19 и верхнего (ведомого) валика, в пазы которых вставлены 24 рессоры (по 6 рессор в каждый
паз). На концах валиков в местах установки рессор имеются выступы, которые могут соприкасаться между собой в случае поломки рессор, обеспечивая при этом работу регулятора. Приводная втулка и нижний валик 19 связаны штифтом. Вал привода уплотнен в корпусе сальником. В верхнем фланце корпуса имеется косое сверление, через которое подводится масло для смазки шарикоподшипника.
Корпус регулятора 16 прикреплен к фланцу нижнего корпуса восемью шпильками. В центральном отверстии корпуса помещена золотниковая часть, приводимая во вращение от вала привода через шлицевое соединение.
В нижней части корпуса имеется расточка, в которой на оси перемещается ведомая шестерня 17, составляющая вместе с ведущей шестерней масляный насос регулятора. Рядом с центральным отверстием корпуса расположен вертикальный канал, сообщающий масляный насос с аккумулятором масла.
В корпусе регулятора размещены два соединенных вместе аккумулятора масла, которые обеспечивают постоянство давления масла и непрерывную подачу его даже в том случае, если расход масла в серводвигателе (исполнительном органе) временно превысит подачу масляного насоса. Аккумуляторы состоят из двух цилиндров, в каждый из которых вставлено по поршню 12, нагруженному пружинами ІЗ. Один из цилиндров имеет косое сверление, служащее для перепуска масла из полости над поршнем 12 в масляную ванну, чем достигается постоянство давления масла в аккумуляторах. Внутренняя полость корпуса служит ванной для масла.
На передней стороне корпуса установлены указатель уровня масла, пробка спуска масла, пробка иглы изодрома и пробка в канале аккумулятора. На задней стороне корпуса установлены штуцер подвода масла к пусковому серводвигателю, пробка иглы изодрома и обратный клапан пускового серводвигателя.
Золотниковая часть регулятора состоит из буксы 9, ведущей шестер-
ни масляного насоса, золотниковой втулки //, золотника 10, траверсы
8 и рычагов с грузами. Букса 9 отлита из чугуна, механически обработана и имеет ряд проточек с отверстиями, служащими для сообщения каналов корпуса регулятора с полостями золотника и золотниковой втулки //, расположенной внутри буксы. Втулка // изготовлена вместе с компенсирующим поршнем, в нее запрессован хвостовик, на котором установлен механизм обратной связи (втулка, компенсирующая пружина, тарелки и регулировочные прокладки).
В средней части золотниковой втулки имеются восемь отверстий, которые при работе дизеля на установившемся режиме перекрываются диском золотника. В полость над диском подводится масло из аккумулятора. На верхнюю часть золотника напрессованы два шарикоподшипника и установлена тарелка, закрепленная гайкой.
Через наружное кольцо шарикоподшипника плунжер опирается на концы рычагов. Под подшипником имеются регулировочные прокладки для установки положения золотника относительно золотниковой втулки.
Траверса 8 напрессована на буксу
9 и дополнительно крепится к ней стопорным кольцом и двумя винтами. Траверса несет на себе рычаги с грузами 7 и ограничители. Рычаги грузов качаются на осях, опирающихся на шарикоподшипники.
Силовой серводвигатель крепится к боковой площадке корпуса регулятора четырьмя шпильками. Серводвигатель состоит из корпуса, силового поршня 2, штока 21, пружины 4 и компенсирующего поршня 1.
В корпусе серводвигателя, разделенном на две полости перегородкой, движется нагруженная пружиной 4 поршневая пара, состоящая из силового поршня 2 и компенсирующего поршня 1, напрессованного на общий шток 21. Шток соединен с рычажной системой управления подачей топлива в цилиндры дизеля.
Система управления регулятором. Изменение затяжки всережимной пружины регулятора осуществляется электропневматическим механизмом, свя-
занным через рычажную передачу с зубчатым сектором верхнего корпуса регулятора. Электропневматическим механизмом управляет машинист с помощью контроллера. При перестановке рукоятки контроллера срабатывают в определенной последовательности электропневматические вентили, штоки цилиндров которых через рычажную передачу поворачивают зубчатый сектор. Поворот зубчатого сектора посредством втулки-рейки сжимает или распускает всережимную пружину регулятора.
Регулятор частоты вращения дизеля 10Д100. На дизель-генераторе 2Д100М установлен регулятор частоты вращения типа 1 ОД 100. Регулятор 1 ОД 100 разработан в 1972 г. для дизель-генератора 10Д100. При использовании этого регулятора на дизель-генераторах 2Д100М не устанавливается узел ре-гул-ирования мощности. Регулятор (рис. 26) принципиально отличается от регулятора, применяемого на дизель-генераторе 2Д100 схемой обратной связи и способом воздействия (затяжки) на всережимную пружину. В регуляторе применена силовая изодромная обратная связь буферного типа. Новый регулятор обеспечивает лучшее качество регулирования, удобен в обслуживании.
Электрогидравлическая система управления частотой вращения обеспечивает ступенчатое (дискретное) изменение частоты вращения вала дизеля при плавном переходе со ступени на ступень. Это дает возможность избежать дополнительных тепловых и динамических нагрузок на дизель-генератор при переходных режимах.
Регулятор 10Д100, как и регулятор 2Д100, всережимный, изодромный, с центробежным измерителем непрямого действия (с гидроусилителем), с собственной масляной системой и со стоп-устройством. Измеритель частоты вращения имеет два груза 20, вращающихся с траверсой, и пружины 19. Грузы в отличие от регулятора 2Д100 выполнены в виде угловых рычагов, а ось всережимной пружины совпадает с осью вращения измерителя, что дает возможность на ходу менять затяжку пружины и тем самым устанавливать
(задавать) требуемую частоту вращения вала дизеля. Принцип действия регулятора 10Д100 не отличается от описанного ранее регулятора 2Д100.
При изменении нагрузки частота вращения вала дизеля, а следовательно, и центробежная сила грузов изменяются. При этом нарушается равновесное состояние грузов и связанного с ними золотника 22. Золотник, перемещаясь, управляет движением поршня / серводвигателя.
Поршень / серводвигателя движется в цилиндре. Шток поршня через рычажную передачу связан с рейками топливных насосов. Движение поршня вверх (на увеличение подачи топлива) совершается под действием масла, а вниз (на уменьшение подачи топлива)—под действием пружины 5.
Изодромная силовая обратная связь. При изменении нагрузки на дизель под действием частоты вращения поршень / начинает перемещаться и вызывает изменение подачи топлива. Это изменение продолжалось бы до восстановления заданной частоты вращения, однако дизель не мгновенно реагирует на изменение подачи топлива. Поэтому во избежание перерегулирования необходимо ограничить перемещение поршня.
Это ограничение движения поршня в соответствии с изменением нагрузки осуществляется изодромной обратной связью путем воздействия на поясок Д золотника 22. При перемещении золотника вниз или вверх поршень буфера перемещается соответственно влево или вправо, сжимая одну из его пружин и разжимая другую. В результате возникает перепад давления масла между обеими полостями цилиндра. Значение перепада пропорционально перемещению поршня буфера. Избыток масла передается в полости над и под пояском Д золотника, создавая направленную вверх или вниз силу, препятствующую перемещению золотника.
В результате действия обратной связи золотник возвращается в среднее положение (перекрыши), а поршень силового серводвигателя оказывается в положении, соответствующем измененной нагрузке на дизель. Поршень

Рис. 26. Кинематическая схема регулятора частоты вращения коленчатого вала: / — поршень силового серводвигателя; 2 — стоп-устройство, 3 — индуктивный датчик; 4 — серводвигатель индуктивного датчика, 5 — пружина серводвигателя; 6 — силовой серводвигатель; 7 — верхний шток силового серводвигателя; 8 — игольчатый клапан; 9 — тарелка механизма выключения; 10 — рычаг; // — золотник регулятора нагрузки, 12 — золотниковая втулка регулятора нагрузки; 13 — пружина обратной связи; 14 — серводвигатель задания частоты вращения; 15 — поршень серводвигателя задания частоты вращения; 16—клапан Отключающего устройства; 17—рычаг жесткой обратной связи; 18 — узел регулирования максимальной частоты вращения; 19 — пружина измерителя; 20—грузы измерителя, 21 — шестерня ведущая, 22, 29—золотники, 23, 28—золотниковые втулки, 24 — масляный иасос; 25—масляная ванна; 26 — аккумулятор; 27—пружина золотника; 30—пластина механизма управления; 31 — компенсирующий игольчатый клапан; 32—поршень буфера, 33 — вннт установки минимальной частоты вращения;
34, 35 — рычаги
32 буфера возвращается в среднее положение под действием своих пружин, при этом масло перетекает из одной полости в другую через иглу изодрома (компенсирующий игольчатый клапан) 31. Величина открытия иглы изодрома определяет скорость выравнивания давлений в полостях над и под пояском Д золотника и должна быть отрегулирована в соответствии со скоростью изменения частоты вращения вала дизеля.
На схеме показано взаимодействие частей регулятора при работе дизеля на установившемся режиме. Усилие пружины 19 через тарелку и шарикоподшипник воспринимается концами угловых рычагов грузов 20. Золотниковая
втулка 23 вместе с шестернями масляного насоса 24, траверсой и грузами 20 приводится во вращение от привода регулятора.
Масляный насос нагнетает масло в аккумуляторы, из которых оно поступает в пространство над регулирующим пояском Е золотника- 22. Золотник 22 имеет компенсационный поясок Д и может перемещаться в золотниковой втулке 23. Регулирующий поясок Е золотника 22 перекрывает подвод масла к поршню 32 буфера, находящемуся в среднем положении под действием своих пружин.
Полости буфера А и Б соединены каналами с полостями соответственно под и над пояском Д.
Полость Б соединена с полостью под поршнем / серводвигателя. Игла 31 регулирует площадь проходного отверстия, соединяющего полости А и Б слева и справа от поршня.
Работа регулятора частоты вращения при различных режимах работы дизеля. Установившийся режим. Усилие пружины-измерителя уравновешивается центробежной силой вращающихся грузов 20. Золотник своим пояском Ё перекрывает окно в золотниковой втулке 23, закрывая доступ масла из аккумулятора к поршню. Поршень находится в среднем положении под действием пружин. Давление масла под поршнем / серводвигателя и в полостях А и Б равно. Шток серводвигателя находится в таком положении, при котором подача топлива соответствует определенной нагрузке дизеля.
Увеличение нагрузки. При увеличении нагрузки на дизель частота вращения уменьшается, грузы 20 сходятся к оси вращения, золотник 22 передвигается вниз, открывая доступ масла из аккумулятора 26 в полость А. Поршень буфера смещается, сжимая левую пружину, и вытесняет соответствующий этому смещению объем масла под поршень / серводвигателя, перемещая его вверх на увеличение подачи топлива в цилиндры дизеля. При движении поршня в направлении потока масла к серводвигателю создается давление масла в полости А, которое больше, чем давление в полости Б, на величину, пропорциональную смещению поршня.
При движении поршней перепад давлений масла на обеих сторонах поршня буфера передается в полости над пояском Д золотника и под ним с более высоким давлением под пояском Д. Давление на поясок Д снизу возрастает до тех пор, пока оно в добавление к центробежной силе расходящихся грузов не преодолеет усилие пружины 19 измерителя и не поднимет золотник 22 до перекрытия регулирующего окна в золотниковой втулке 23.
Как только регулирующее окно закроется, поршень / серводвигателя остановится в положении увеличенной подачи топлива, необходимой для работы при повышенной нагрузке. Поршень
буфера возвращается в среднее положение под действием своих пружин, так как давление масла в полостях А и Б выравнивается. Процесс выравнивания давлений должен быть приведен в соответствие со скоростью восстановления частоты вращения вала дизеля.
Уменьшение нагрузки. При уменьшении нагрузки на дизель частота вращения его вала увеличивается, грузы расходятся, поднимая регулирующий золотник и открывая окно регулирующим пояском Е, которое соединяет полость А со сливом, давая возможность поршню / серводвигателя под действием пружины 5 переместиться в направлении уменьшения подачи топлива в цилиндры дизеля. При опускании поршня / поршень 32 буфера под давлением масла смещается вправо. При движении поршня 32 буфера в направлении потока масла от поршня / к золотнику создается давление в полости Б, которое будет больше, чем в полости А, на величину, пропорциональную смещению поршня буфера.
При движении поршней 1 и 32 перепад давления масла на обеих сторонах поршня буфера передается в полости над пояском Д золотника и под ним (с более высоким давлением над пояском Д). Давление на компенсационный поясок сверху возрастает до тех пор, пока (в дополнение к действующей вниз силе пружины 19) не уравновесит силу грузов и не опустит золотник 22 до перекрытия регулирующего окна во втулке золотника. Как только регулирующее окно закроется, поршень / серводвигателя остановится в положении, соответствующем уменьшенной нагрузке. Поршень 32 буфера возвращается в среднее положение под действием своих пружин.
К сборочным единицам и деталям электрогидравлической системы управления относятся (рис. 27) плита 25, прикрепленная к корпусу 34 с электромагнитами 23, треугольная пластина 39, золотниковое устройство и серводвигатель управления с рычагами 18, 27. Ход якоря электромагнита регулируется пробкой, установленной

Рис 27 Регулятоо частоты вращения дизеля 1 ОД 100-/ — корпус стоп-устройства, 2, 6, 9, 15, 31, 32 — пружины, 3, 29 — золотниковые втулки, 4, ЗО — золотники, 5 — верхний шток, 7 — стакан, 8, 17 — поршнн, 10 — тарелка, // — корпус выключателя, 12 — эксцентрик, 13, 19 — винты, 14 — траверса, 16—корпус серводвигателя управления, 18, 27 — рычаги, 20—гайка, 21 — болт откидной, 22 — тяга, 23 — электромагнит, 24 — пружина измерителя, 25 — плнта электромагнитов, 26 — штепсельный разъем, 28 — опора золотника, 33 — шестерня, 34 — корпус регулятора, 35 — золотниковая часть, 36 — ведущая шестерня масляного насоса, 37 — нижний корпус, 38 — хвостовик привода регулятора, 39 — треугольная пластина, 40 — пружина пластинчатая
в его верхней части. Провода к электромагнитам подсоединяют через штепсельный разъем 26. Треугольная пластина 39 фиксируется двумя пластинчатыми пружинами 40, концы которых зажаты винтами крепления серводвигателя управления и цилиндрической пружиной, которая удерживает якоря электромагнитов МР1, МР2, МРЗ (при их обесточенном состоянии) в верхнем положении Золотниковая часть управления размещена в приливе верхнего корпуса и состоит из золотника и золотниковой втулки 29 с шестерней 33, приводимой во вращение от шестерни демпфера измерителя частоты вра-
щения. Золотниковая втулка 29 под действием пружины 31 удерживает якорь электромагнита МР4 (при обесточенном состоянии) в верхнем положении. Пружина 32 золотника 30 обеспечивает контакт рычага 27 с треугольной пластиной 39.
Серводвигатель управления укреплен на верхнем корпусе и состоит из корпуса 16, поршня 17 и пружины 15. В корпус серводвигателя ввернут винт 19, служащий для ограничения минимальной частоты вращения коленчатого вала дизеля. Рычажная система 18, 27 связывает золотник 30 с поршнем 17 и представляет собой жесткую
обратную связь системы управления частотой вращения дизеля.
Стоп-устройство дизеля предназначено для автоматической и дистанционной остановки дизеля. Золотник имеет корпус /, толкатель и тяговый электромагнит ЭТ-54Б. Корпус прикреплен к силовому серводвигателю регулятора.
При замыкании цепи электромагнита его толкатель перемещает вниз золотник, который своей цилиндричес-
кой частью перекрывает выход масла из рабочей полости силового серводвигателя регулятора. При размыкании цепи электромагнита золотник под действием давления масла поднимется, открывая выход масла из-под поршня силового серводвигателя в масляную ванну регулятора.
Шток серводвигателя опускается и через рычажную передачу выключает подачу топлива.










