§ 5. КОЛЕНЧАТЫЙ ВАЛ
Коленчатый вал служит для преобразования усилий (передаваемых через поршни и шатуны на его кривошипы) в крутящий момент, воспринимаемый валом генератора. Кривошипы коленчатого вала расположены под углом 120° -один относительно другого, за исключением кривошипов третьего и четвёртого цилиндров. При этом кривошипы третьего и четвёртого, второго и пятого и, наконец, первого и шестого цилиндров соответственно одинаково направлены (фиг. 22).
Для уменьшения веса и улучшения охлаждения шатунные шейки вала изготовлены полыми. Коренные шейки таких отверстий не имеют. Для прохода смазочного масла в коленчатом валу от коренных шеек к соседним шатунным через соединяющие их щёки просверлены косые отверстия диаметром 20 мм. В эти отверстия плотно поставлены стальные трубки с развальцованными с обеих сторон концами. В четвёртой коренной шейке косое отверстие отсутствует и имеется только отверстие глубиной 60 мм, предназначенное для вывёртывания нижнего вкладыша.
Каждый кривошип вала имеет по две щеки, плоскости которых с торцов выполнены в виде удлинённого восьмигранника. Поверхности щёк чисто обработаны со всех сторон. Верхние и нижние грани щёк обработаны по радиусам, причём со стороны шатунных шеек имеют коническую поверхность.
Коленчатый вал имеет шесть шатунных и семь коренных шеек, последними он опирается на подшипники рамы двигателя.
Средняя, четвёртая, коренная шейка коленчатого вала наиболее нагруженная, поэтому для уменьшения удельного давления на подшипник она сделана длиннее остальных.
Седьмая коренная шейка коленчатого вала упорная и имеет на конце бурт с полированной торцовой поверхностью.
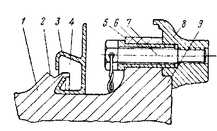
Фиг. 23. Соединение коленчатого вала с якорем генератора:
/ — коленчатый вал; 2 —конусный бурт; 3 — корпус уплотнения коленчатого вала; 4 — кольцевая полость; 5—боль-шой фланец коленчатого вала; в —втулка; 7 —болт; « — фланец якоря главного генератора; 9 — центрирующий бурт; 10 — концевой вал; // — роликовый подтип ник; /2 —шпилька крепления статора; 13 — контрольный-штифт
За упорным буртом седьмой коренной шейки установлена ведущая разъёмная шестерня, передающая вращение распределительному валу, регулятору, топливному и водяному насосам. Число зубьев шестерни —60. Монтируется шестерня на призматической шпонке, для которой на шейке вала и одной половинке шестерни вырезаны пазы. Для соблюдения точности установки половинок шестерни на торцах этих половинок имеются два штифта. Зубья шестерни для уменьшения удельного давления и обеспечения плавности зацепления выполнены косыми. Шестерня прижата к коленчатому валу двумя разъёмными бугелями, обхватывающими цилиндрические поверхности шестерни с обеих её сторон. Плоскости торцов бугелей не совпадают с плоскостью торцов половинок шестерни, но параллельны ей. Половинки каждого бугеля стягиваются между собой двумя болтами, по одному с каждой стороны. Болты проходят через отверстия в бугелях, частью боковой поверхности входят в канавки, выфрезерованные на стыковых цилиндрических поверхностях половинок, шестерни, и точно фиксируют взаимное положение бугелей на шестерне. Головки болтов круглые со срезом на боковой поверхности, что предохраняет их от проворачивания. Гайки болтов бугеля корончатые и после затяжки шплинтуются.
Конусный бурт 2 (фиг. 23) коленчатого вала 1 за бугелем выполнен ступенчатым с плавным переходом от цилиндрической поверхности к конусной. При вращении коленчатого вала масло разбрызгивается с поверхности бурта внутрь рамы двигателя. В кольцевую выточку под цилиндрической поверхностью второго конуса входит с зазором 0,8 мм по всей поверхности выточки внутренний прилив корпуса 3 уплотнения коленчатого вала. Воздух, поступающий от вентиляторного колеса генератора в кольцевую полость 4, проходит по зазорам между кольцевой выточкой коленчатого вала и приливом корпуса к отжимает масло с поверхности меньшего конуса коленчатого вала внутрь рамы двигателя.
На конце коленчатого вала имеется фланец 5, усиленный галтелью со стороны вала. Фланец предназначен для жёсткого крепления к нему фланца 8 якоря главного генератора. Для центровки сопрягаемых фланцев на внешней торцовой поверхности фланца коленчатого вала имеется выступающий центрирующий бурт 9, а во фланце ротора генератора — соответствующая выточка. Е обоих сопрягаемых фланцах просверлено по 12 отверстий.
Отверстия в обоих фланцах развёртываются совместно, и в них запрессовывают стальные втулки б с упорными буртами. Болты 7 через втулки 6 проходят свободно и ввёртываются на резьбе в отверстия фланца якоря генератора. В головках болтов просверлены отверстия для попарной их шплинтовки проволокой после затяжки.
Во втулках 6 со стороны буртов имеются отверстия с нарезкой, служащие для установки съёмника при выпрессовке втулок.
Во фланце коленчатого вала имеются ещё два отверстия с нарезкой. Эти отверстия расположены между втулками на двух сторонах фланца и используются только при отсоединении якоря генератора от коленчатого вала. Два болта, ввёртываемые в эти отверстия, упираясь во фланец якоря генератора, сдвигают последний до выхода втулок 6 из отверстий фланца якоря. На противоположном конце коленчатый вал также имеет фланец 12 (см. фиг. 22), предназначенный для монтажа на нём стального поворотного диска. На цилиндрической поверхности этого фланца имеются три полуцилнндрн-чеекпе выточки, оси которых расположены под углом 120° одна относительно другой и совпадают с геометрическими осями шатунных шеек вала. Выточки сделаны для удобства обработки внутренних полостей шатунных шеек.
Поворотный диск 1 (фиг. 24) соединён с фланцем коленчатого вала шестью болтами, из которых два призонных. Посадка диска на бурт вала тугая. Гайки болтов корончатые и после затяжки шплинтуются каждая отдельно.
На цилиндрической поверхности поворотного диска, на равных расстояниях по окружности, просверлены 12 глухих отверстий 2, служащих гнёздами для установки рычага при проворачивании (бэксовании) коленчатого вала вручную. На внешнем торце поворотного диска отштампованы два кронштейна 3, ведущие поводок вала привода масляного насоса и вентилятора холодильника. В центре диска просверлено сквозное отверстие для хвостовика этого вала.
Диаметр коренных шеек коленчатого вала 240 мм, шатунных шеек 210 мм; радиус кривошипа 165 мм.
Коленчатый вал изготовлен по ГОСТ 704—52 из углеродистой стали 35 ГОСТ 1050—52.
Уход и ремонт. Вращение вала в подшипниках со знакопеременными нагрузками на него вызывает неравномерный износ коренных и шатунных шеек, ведущий к образованию овальности и конусности поверхности шеек. Чрезмерная овальность шеек приводит к увеличению трения и выдавливанию слоя баббитовой заливки, что в свою очередь ведёт к провисанию отдельных коренных шеек вала и, как следствие, к образованию трещин на шейках и щеках и поломке вала. Поэтому в процессе эксплуатации тепловоза необходимо установить периодический контроль и регулярное наблюдение за состоянием коренных и шатунных шеек коленчатого вала, регулярно следить за состоянием применяемого масла, не применять масло с повышенными механическими примесями, зольностью и пониженной вязкостью, влияющими на быстрее изнашивание шеек.
Фиі . 24. Поворотный диск:
/- диск; 2- глухне отверстия: кронштейны; -/ — поводок привода масляного насоса; 5 — сменный сухарь; і» — вал привода масляного насоса; 7--болты крепления поворотного диска
Фиг. 25. Пружинный резец:
1 -стержень резца; 2 — крепящий винт; 3 — победитовая вставка резца
Для определения овальности и биения коренных шеек применяют индикатор, стойку которого укрепляют на шпильке крепления подшипника, а ножку устанавливают на шейку на расстоянии примерно 15 мм от галтели, обеспечив ей свободное перемещение вверх и вниз. Вращением шкалы устанавливают стрелку индикатора в нулевое положение. Проворачивая коленчатый вал, замечают отклонение стрелки индикатора через каждые 45° (делают запись мелом на соседней щеке вала против места каждого замера). Затем индикатор переносят и устанавливают ножку на расстоянии 15 мм от второй галтели той же шейки. Проворачивают коленчатый вал на один оборот, замечая отклонение стрелки индикатора от пулевого положения через каждые 45 (отметки делают мелом на другой щеке). Таким же образом проверяют все коренные шейки коленчатого вала. При этом за нулевое (исходное) положение для каждой шейки принимают положение вала, при котором первая и шестая мотылёвые шейки находятся в верхнем вертикальном положении. Замер считают произведённым правильно; если стрелка индикатора после полного оборота вала займёт первоначальное, нулевое, положение.
По меткам, сделанным на щеках, определяют места расположения овальности и биения всех коренных шеек. Следует заметить, что замеры овальности и биения шеек, произведённые в раме двигателя, дают возможность лишь приблизительно судить о состоянии шеек коленчатого вала. Действительное состояние шеек коленчатого вала следует определять при среднем и капитальном ремонте на контрольной плите. Обмер диаметра шатунных шеек коленчатого вала производится микрометрической скобой размером 200—225 мм в трёх плоскостях по длине шейки при положениях кривошипа в в. м. т. и в горизонтальном положении. По полученным результатам замеров определяют овальность и конусность шатунных шеек.
При наличии овальности и конусности коренных и шатунных шеек более 0,20 мм, а также биений коренных шеек, превышающих 0,30 мм, вал должен быть подвергнут ремонту. Исправление шеек коленчатого вала в раме двигателя не рекомендуется, так как малейшие ошибки и неточность измерения при ремонте могут привести к нарушению геометрической оси коренных шеек вала, увеличению их биения и перекосу шатунных шеек.
Для того чтобы оси всех коренных шеек совпали, а также для устранения биения коленчатый вал устанавливают на токарный станок типа ДИП-500 для проточки и последующей шлифовки или доводки всех его коренных шеек до требуемого размера. При этом проточку галтелей коренных и шатунных шеек следует производить пружинным резцом, показанным на. фиг. 25.
Все коренные шейки обычно протачиваются под один ремонтный размер; как исключение, допускается обработка отдельных шеек под ближайший размер. Ремонтные градации для коренных шеек установлены через каждые .0,5 мм, а для шатунных — через каждые 0,25 мм.
При небольшом износе коренные и шатунные шейки могут быть приведены к требуемым геометрическим размерам путём слесарной обработки. Проверку правильности цилиндрической формы производят притирами. При этом для доводки первой, второй, третьей, пятой и шестой шеек используется один и тот же притир 6 (фиг. 26), по длине равный длине шейки. Для четвёртой и седьмой шеек используются притиры 5 и 7.
Притиры отливаются из бронзы или алюминия и протачиваются по диаметру коренных шеек с прртуском 0,10 мм, необходимым для шабровки и доводки самого притира по калибру. Как видно из фиг. 26, притиры 5, 6 и 7 представляют собой подобие вкладыша, обхватывающего 1/3 окружности шейки. Сверху притир имеет две ручки.
Для доводки коренных и шатунных шеек коленчатый вал должен быть установлен на специальный стенд, представляющий собой плиту с тремя люнетами. Коленчатый вал устанавливается на люнеты первой, четвёртой и седьмой коренными шейками и проверяется на отсутствие овальности, конусности, биения шеек, биение центрирующего бурта и на отсутствие перекоса шатунных шеек. Перед началом доводки коренные шейки опиливают по всей поверхности мелкой личной пилой. Затем поверхность притира покрывают тонким ровным слоем краски лазури и устанавливают притир на шейку, поворачивая его на шейке вала 2—3 раза. Сняв притир 5, спиливают мелкой (бархатной) пилой отпечатки краски на шейке. Опиливание ведут таким образом до тех пор, пока отпечаток краски не будет располагаться по всей шейке в виде мелких ровных пятен. Одновременно с опиливанием шейки ведут постоянный обмер её диаметра при помощи микрометрической скобы размером 225— 250 мм, определяя правильность формы шейки. Так осуществляется доводка всех коренных шеек, за исключением четвёртой и седьмой, для которых применяют удлинённые притиры. Доводка коренных шеек считается законченной при условии, если их овальность, биение и конусность в сумме не превышают 0,03 мм.
Фиг. 26. Установка коленчатого вала на контрольной плите:
/ — микрометрическая скоба; 2 — нутромер с индикатором; 3 — стойка для индикатора; 4 — индикатор; 5 —притир для четвёртой коренной шейки; в —притир для первой, второй, третьей, пятой, шестой коренных шеек; 7 —притир для седьмой коренной шейки; 8 - первая коренная шейка коленчатого вала; 9 — вторая шатунная шейка; 10 — индикатор; // — седьмая коренная шейка; 12 — большой фланец; 13 — центрирующий бурт; 14— люнет
Для исправления овальности, конусности и перекоса шатунных шеек требуется специальный дисково-радиальный станок, а потому шатунные
шейки'чаще всего исправляют опиливанием мелкой личной пилон с последующе!'! доводкой притиром 6.
После доводки коренные и шатунные шейки подвергаются тщательной полировке сначала узкими лентами сухого наждачного полотна на стенде, а затем па токарном станке при помощи деревянных хомутов, в которые укладывают широкие ленты наждачного полотна, смазанные маслом.
После всех вышеуказанных операций коленчатый вал проверяют на контрольной плите.
В процессе эксплуатации имели место случаи прогиба коленчатых валов из-за выплавления вкладышей.
В зависимости от величины стрелы прогиба коленчатые валы с разрешения МПС могут подвергаться правке. Процесс правки обычно осуществляют следующим образом.
Коленчатый вал устанавливают в центра токарного станка (без люнетов) или на плиту (на двух крайних люнетах) так, чтобы наибольшая стрела прогиба была направлена вверх. На шейку или щеку вала устанавливают индикатор.
На шейку, имеющую наибольшую стрелу прогиба, накладывают намоченный асбест. В середине асбеста оставляют отверстие диаметром 50—60 мм. Через это отверстие вал подогревают газовой горелкой до температуры 200—250°. Затем подогретой части шейки дают медленно остывать.
При подогреве стрела прогиба обычно несколько увеличивается, но при остывании уменьшается сравнительно с первоначальной величиной. Так делают несколько раз, меняя только место нагрева на той же шейке до тех пор, пока коленчатый вал не приобретёт прямолинейной формы. Процесс правки занимает около 50—60 час.
В том случае, когда депо или мастерские не имеют контрольной плиты и больших специальных станков для проточки коренных и мотылёвых шеек вала, опиловку шеек производят следующим порядком: снимают картерпую раму вместе с валом с рамы тепловоза, затем вскрывают коренные подшипники и производят замеры радиальных биений коренных шеек и биений большого и малого фланцев вала. Так как фланцы вала никогда при ремонте не точат, а во время работы вала они не изнашиваются, то их геометрическая ось всегда совпадает с геометрической осью коренных шеек нового вала. Поэтому цилиндрические поверхности фланцев являются контрольными для определения геометрической оси всех коренных шеек вала при их опиливании. Для ремонта вал вынимают из рамы, укладывают на деревянные козлы, очищают медными скребками, шлифуют вручную шкуркой и проверяют электромагнитным дефектоскопом на отсутствие трещин. Затем все шейки обмеривают микрометрической скобой для определения износа. Если вал имеет износ более допустимого, то шейки должны быть опилены. Начиная опиливание шеек вала, следует помнить, что на коренных шейках после длительной работы образуются в средней части выступающие пояски. На ощупь можно определить сработавшуюся часть шейки, над которой этот поясок выступает, и несработавшуюся, где этот поясок почти незаметен. В первую очередь опиливают первую, четвёртую и седьмую коренные шейки. Для этого после выемки коленчатого вала из картерной рамы вынимают нижние вкладыши второго, третьего, пятого и шестого подшипников. Затем вал укладывают на три оставшихся старых нижних вкладыша и замеряют индикатором биения радиальных поверхностен обоих фланцев. Далее вал вынимают, укладывают на козлы и опиливают первую, четвёртую и седьмую коренные шейки в местах, соответствующих наибольшему биению (в первую очередь опиливают несработавшуюся часть шейки, т. е. ту, где поясок почти незаметен). После этого вал опять кладут в раму на те же три вкладыша и определяют биение фланцев. Теперь биение должно уменьшиться. Так повторяют до тех пор, пока биение большого фланца не дойдёт до 0,10 мм, а малого до 0,03 мм. После этого можно считать, что первая, четвёртая и седьмая шейки примерно введены в одну геометрическую ось с обоими фланцами.
Далее приступают к опиливанию остальных четырёх коренных шеек. Для этого определяют их биение на тех же трёх нижних вкладышах, ведя запись показаний индикатора на щеках шеек. Затем вынимают вал и на козлах ведут опиливание шеек в местах биений. Таким образом доводят биение этих шеек до 0,03 мм. Обычно 10—12 раз приходится укладывать коленчатый вал в раму и обратно при опиливании и доводке всех семи шеек.
После механической обработки коленчатый вал подвергается полной проверке, которая в основном состоит в следующем.
1. Коренные и шатунные шейки обмеривают микрометрическими скобами соответствующих размеров, причём диаметр каждой шейки замеряют в трёх местах по длине шейки и в трёх точках по её окружности. При этом овальность, конусность и бочкообразность всех шеек не должны превышать 0,02 мм. Крр-сетность, т. е. уменьшение диаметра в середине шейки, и рнфлёность шеек не допускаются.
2. Для проверки биения коренных шеек, определения перекоса шатунных шеек, развала щёк кривошипов и других проверок коленчатый вал укладывают первой, четвёртой и седьмой коренными шейками на три люнета, установленные на контрольной плите. Коленчатый вал устанавливают параллельно плите при помощи опор люнетов 14 (фиг. 26), снабжённых винтами, обеспечивающими вертикальное перемещение люнетов, и проверяют индикатором. После установки коленчатого вала на плите с точностью 0,01 мм на одном нз концевых его фланцев делают метку мелом, по которой определяют затем место биения каждой измеряемой шейки и полный оборот вала при проверке. Для проверки служит индикатор 10, укреплённый на стойке 3. Ножку индикатора устанавливают сверху на шейке на расстоянии 15 мм от галтели. Вращая вал, наблюдают за положением стрелки индикатора. Затем индикатор переносят к другой галтели той же шейки, и, проворачивая коленчатый вал также на полный оборот, следят за положением стрелки. Так проверяют биение всех коренных шеек. При этом максимальное отклонение допускается не более 0,03 мм.
3. Одновременно с проверкой биения коренных шеек производят проверку центрирующего бурта 13, радиальное биение которого допускается не бэлее 0,03 мм. В это же время проверяют биение бурта, расположенного между седьмой и восьмой шейками. Его биение допускают не более 0,05 мм. Биение поверхности большого фланца не должно превышать 0,1 мм.
4. Отсутствие перекоса шатунных шеек проверяют относительно геометрической оси коренных шеек. Каждую шейку проверяют при вертикальном и горизонтальном положеннях колена. Для осуществления этой проверки коленчатый вал проворачивают на люнетах и устанавливают таким образом, чтобы два кривошипа, расположенные под одним и тем же углом, заняли вертикальное положение. На одну из шеек этих кривошипов устанавливают индикатор 10 на расстоянии 15 мм от галтели и отмечают точно положение стрелки. Затем индикатор переносят к другой галтели той же шатунной шейки и снова отмечают отклонение стрелки. Разность отклонений стрелки индикатора и будет показывать перекос шейки относительно геометрической оси коренных шеек, ранее установленных (см. п. 2) параллельно плите по индикатору. Далее, не нарушая положения коленчатого вала, индикатор переносят па шейку другого кривошипа, стоящего в вертикальном положении, и таким же порядком определяют её перекос. Затем вал проворачивают на 90°, для того чтобы эти же кривошипы заняли горизонтальное положение, устанавливают индикатор на одну из шеек также на расстоянии 15 мм от галтели и замечают отклонение стрелки. То же делают при переносе индикатора к другой галтели этой же шейки. Разность отклонений стрелки покажет перекос шейки в горизонтальном положении кривошипа. Аналогично осуществляется проверка перекоса остальных шатунных ■шеек, причём как в вертикальном, так и в горизонтальном положениях для новых или отремонтированных коленчатых валов величина перекоса не должна превышать 0,02 мм.
5. Угол развала кривошипов коленчатого вала проверяют на той же контрольной плите также индикатором 10. Для этой проверки коленчатый вал устанавливают таким образом, чтобы первый и второй кривошипы были направлены вверх от первой коренной шейки под углом 120°, а их шейки заняли горизонтальное положение относительно плоскости плиты, что определяется нулевым положением стрелки индикатора. Затем индикатор переносят на шейки шестого и пятого кривошипов, которые занимают такое же положение, и по отклонению стрелки определяют угол развала относительно первого и второго кривошипов. Отклонение допускается ±30', или в линейном измерении не более 2,5 мм. При проверке углов развала последующих кривошипов коленчатый вал устанавливают так, чтобы второй и третий кривошипы были расположены вверх от любой коренной шейки под углом 120°. Затем индикатор переносят на шейки пятого и четвёртого кривошипа и по отклонению стрелки определяют угол развала относительно второго и третьего кривошипов. В таком же порядке определяют углы развала последующих кривошипов.
6. Длину радиуса кривошипов проверяют индикатором 10 и другим индикатором 4, установленным на специальном приспособлении. Для проверки необходимо коленчатый вал поставить в такое положение, при котором проверяемый кривошип будет занимать строго вертикальное положение. Затем при помощи индикатора 10 находят верхнюю точку шатунной шейки, производят замер этого расстояния от плоскости плиты и вычитают из полученного размера половину диаметра шатунной шейки. Далее при этой же установке вала вторым индикатором 4 находят верхнюю точку смежной коренной шейки, замеряют расстояние от плоскости плиты до этой точки и вычитают половину диаметра коренной шейки. Полученную величину вычитают из ранее произведённого замера. Результат вычитания и будет длиной радиуса кривошипа, равной 165 ± 0,2 мм.
7. Все галтели шеек, фигурные выточки и все линейные размеры проверяются при помощи специальных шаблонов, скоб, шткхмасов и других инструментов, предназначенных специально для этой цели.
Укладка коленчатого вала в раму двигателя производится на специальном стенде, состоящем из металлической плиты с простроганной поверхностью, уложенной на фундаменте. В плите имеются специальные пазы, в которые устанавливаются головки болтов для крепления двух чугунных балок. Нижние плоскости балок служат для крепления их к плите, а на верхние устанавливается рама двигателя. Плита стенда и укреплённые на ней установочные балки проверяются не реже одного раза в месяц линейкой длиной 3 м и уровнем длиной не менее 300 мм. При этом неточность допускается не более 0,10 мм на метр длины измерения.
Перед укладкой коленчатого вала в раму двигателя на постели в раме и в крышках наносят тонкий слой краски лазури. Затем укладывают на свои места вкладыши, закрывают их крышками и закрепляют гайками. Гайки при этом доводят до нормального положения, определяемого метками, нанесёнными на каждой шпильке и гайке сверху. В таком состоянии все вкладыши (кроме упорного) проверяют на прилегание их затылочных поверхностей к постелям в "раме и крышке. Щуп 0,03 мм не должен проходить на глубину боле? !0—15 мм от наружной торцовой кромки вкладыша. Одновременно проверяют зазор в шести местах между буртами упорного вкладыша и торцами постели, где зазор допускается в пределах от 0,03 до 0,10 мм, а разность зазоров должна быть не более 0,03 мм. При удовлетворительных замерах крышки снимают и вкладыши вынимают из постелей для осмотра. Отпечаток краски лазури на затылочной поверхности каждого вкладыша должен быть не менее* 80по всей поверхности. Вкладыши вторично укладывают в постели и при помощи прсставок, надетых на шпильки, зажимают в постелях гайкам».
Для предупреждения повреждения шеек коленчатого вала при его опускании в раму на шпильки первого, четвёртого и упорного подшипников ставят алюминиевые гайки-колпаки с конусными вершинами, которые служат направляющими при опускании и укладке вала в раму. После укладки вала на вкладыши вторично производят замер щупом 0,03 мм между затылочной поверхностью вкладыша и постелью рамы, а также между шейкой и баббитовой заливкой на дуге !20°. Если при этом щуп 0,03 мм не проходит от торца па длину более 15 мм, значит коленчатый вал на свои вкладыши уложен правильно. При наличии зазоров более 0,03 мм подбирают вкладыши следующей группы па 0,02—0,04 мм полнее. Замеры щупом 0,03 мм производят в четырёх положениях коленчатого вала, проворачивая его на 90°.
Проверка укладки коленчатого вала производится по краске. Для этой цели перед укладкой вала все его коренные шейки покрывают краской лазурью, укладывают вал в раму и проворачивают его на 2—3 оборота; затем вынимают вал из рамы и определяют прилегание шеек по отпечатку краски на вкладышах и при необходимости производят лёгкую подшабровку последних.
Иногда укладку коленчатого вала ведут по «натирам». В этом случае шейки вала протирают насухо, а шабровку вкладышей ведут по отблеску, образовавшемуся от натира шейки на поверхности баббита. Укладка вала по «натирам» считается более совершенной и тонкой, чем по краске, и применяется при укладке коленчатых валов на двигателях Д50.
Для получения требуемого зазора 0,12 мм в «усах» вкладышей производится шабровка нижней и верхней половинок вкладышей на длине 50 мм от плоскости разъёма. Половинки вкладышей пришабривают по шейкам вала или на специальных оправках, затем устанавливают в раму и производят предварительную затяжку гаек. Гайки затягивает торцевым ключом с ломиком длиной 300 мм один рабочий. Во избежание перекосов стыков вкладышей и плоскостей крышек затяжку гаек четвёртого и седьмого вкладышей следует производить крест-накрест. При окончательной затяжке гаек на шпильках пользуются тем же торцевым ключом, но уже с двумя ломиками длиной 1 000 мм. Затяжка производится двумя рабочими. Затяжку гаек обычно начинают со среднего, четвёртого, коренного подшипника, а затем поочерёдно крепят соседние — третий, пятый, второй, шестой и седьмой подшипники. /Для того чтобы при переборке или ремонте двигателя гайки не перепутались, на каждой из них и на торце шпильки набиты порядковые номера с первого по восемнадцатый. Счёт ведётся от первого вкладыша, причём все нечётные цифры располагаются со стороны выпуска, а чётные — со стороны впуска.
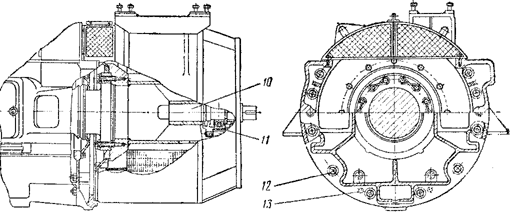
После затяжки гаек крышек коренных подшипников радиальные зазоры на масло между шейками вала и вкладышами должны быть в пределах 0,12— 0,18 лш. Разность зазоров на одной шейке, замеренных с обеих сторон вкладыша, допускается не более 0,03 мм. Замер радиальных зазоров во вкладышах производят обычно щупом, состоящим из двух-трёх пластинок, что даёт более точные замеры. В упорном подшипнике зазор на масло и в «усах» проверяют наложением на шейку вала трёх-четырёх свинцовых проволок диаметром 1 мм перед затяжкой крышки с последующим измерением толщины сплющенных проволок. Непараллельность и перекос геометрических осей шеек вала в раме проверяют по отвесам и индикаторам, устанавливаемым с обоих торцов рамы. При этом разность показаний индикатора должна быть в пределах 0,03 мм. Торцовое биение плоскости фланца, предназначенного для привалки статора главного генератора, относительно оси коленчатого вала должно находиться в пределах 0,05 мм на диаметре 1 225 мм. Неточность устраняют шабровкой. Радиальное биение установочного бурта рамы относительно оси коленчатого вала допускается не более 0,1 мм. В обоих случаях биение проверяют индикатором, прикрепляемым на кронштейне к фланцу вала. Коленчатый вал при этом сдвигают к масляному насосу и плотно прижимают к наружному бурту упорного подшипника. В таком положении проверяют и торцовое биение большого фланца коленчатого вала, к плоскости которого крепится ротор главного генератора. Здесь биение допускается не более 0,05 мм. Кроме отвесов, радиальное биение коленчатого вала проверяют индикатором по бурту фланца диаметром 395 мм относительно оси коренных вкладышей; биение не должно превышать 0,03 мм. Осевой разбег седьмой шейки коленчатого вала
в упорном вкладыше должен составлять 0,24—0,38 мм. При замере развала щёк в четырёх положениях на одном и том же радиусе от оси вала и в одном и том же кривошипе отклонение допускается не больше 0,05 мм. Большая величина развала щёк показывает на неправильную укладку коленчатого вала. Лёгкое проворачивание коленчатого вала одним человеком с помощью рычага длиной около 300 мм указывает, что укладка коленчатого вала в его коренные вкладыши произведена правильно. После укладки коленчатого вала в раму ставят корпус, предохраняющий от выбрасывания масла в сторону главного генератора, и производят привалку главного генератора к двигателю.
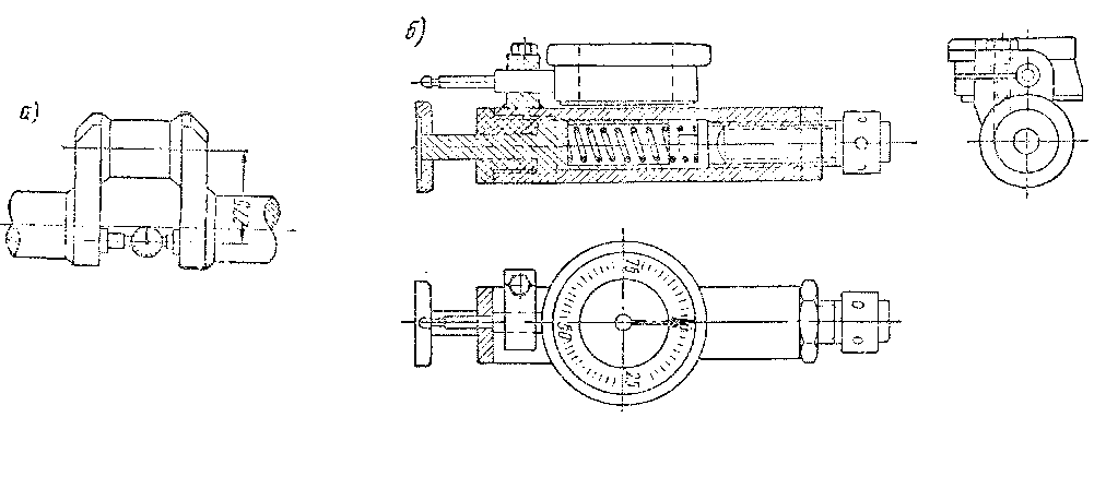
Привалка генератора. При привалке главного генератора статор его соединяют шпильками (см. фиг. 23) с фланцем рамы двигателя и предварительно закрепляют гайками. Затем производят привалку якоря генератора к фланцу коленчатого вала, соединяют их шестью временными (технологическими) плотными втулками и болтами. После этого производят центровку геометрических осей якоря и коленчатого вала. Центровка производится промером развала щёк четвёртого, пятого и шестого кривошипов коленчатого вала. При этом установлен допуск, не превышающий 0.05 мм. Развал щёк проверяют специальной микрометрической шпилькой (фиг. 27) с индикатором в четырёх положениях и на одном радиусе от оси вала, каждый раз проворачивая вал на 80°. Одновременно производят промеры воздушных зазоров между поверхностью якоря и главными полюсами статора. Зазоры эти должны быть в пределах 4 мм ±10%.
Фиг. 27. Проверка коленчатого вала по развалу щёк: о —схема установки микрометрической шпильки; б —микрометрическая шпилька
При неудовлетворительных результатах ослабляют шпильки крепления статора генератора и смещают статор относительно рамы в зависимости от предыдущих замеров или же подшабривают фланец рамы. Как известно, шпильки статора входят в отверстия фланца рамы с зазором, что даёт возможность сместить статор генератора относительно рамы на 0,7— 0,9 мм. После центровки ставят конические фиксирующие штифты. Вместе с центровкой производят проверку биения хвостовика концевого вала 10 (см. фиг. 23) якоря генератора по
индикатору. Биение это не должно превышать 0,05 мм- Зазоры на масло в коренных вкладышах, замеренные до и после центровки, могут измениться не более чем на 0,01 мм.
После окончательной центровки статора и якоря главного генератора производится предварительная затяжка гаек крепления статора к раме двигателя. Затяжка производится одноконечным глухим ключом длиной 300 мм резким усилием одного рабочего. Порядок затяжки показан на фиг. 28.
Фиг. 28. Порядок затяжки шпилек н болтов при привалке гласного генератора к двигателю:
А — рама двигателя; Б — фланец коленчатого вала; 2',..—отверстия во фланце рамы и порядок затяжки гаек; /, 2____—отверстия во'флапц коленчатого вала и порядок постановки и затяжки прнзопных втулок и болтов
Фланцы якоря и коленчатого вала перед центровкой были соединены между собой шестью временными плотными втулками и предварительно затянуты ключом длиной 300 мм в последовательности, указанной на фиг. 28. Затем в той же последовательности затягивают их ключом длиной 2 ООО мм усилием двух рабочих, подтягивая каждый болт по полграни до полной затяжки. Оставшиеся шесть свободных отверстий развёртывают, ставят з них постоянные призонные втулки и болты и производят их затяжку по порядку, приведённому на фиг. 28. Затем освобождают и вынимают ранее поставленные шесть временных болтов, развёртывают освободившиеся отверстия, ставят постоянные втулки и болты и крепят аналогично предыдущим.










