§ 4. КОРЕННЫЕ ПОДШИПНИКИ
Коренные подшипники являются опорами для укладки и работы в них коленчатого вала двигателя. Они воспринимают усилия от вала и передают их на раму. Подшипники должны иметь высокие антифрикционные свойства,
Фиг. 12. Вкладыш коренного подшипника
достаточный подвод смазки, обеспечивающий их нормальную работу, обладать способностью удерживать смазку на своей опорной поверхности и иметь надлежащее крепление к .раме.
Фиг. 13. Упорный пкладыш коренного подшипника
Подшипник состоит из постели, расточенной в раме двигателя, двух вкладышей и крышки, соединённой с рамой шпильками.
Тонкостенные вкладыши коренных подшипников (фиг. 12 и 13) изготовлены из бронзы марки Бр. ОЦС" 3-12-5 ГОСТ 613—50 твёрдостью НБ 70 и залиты топким слоем специального высокосвинцовистого баббита БК2 22
ГОСТ 1209—53, разработанного и внедрённого в производство работниками ЦНИИ МПС и тепловозостроительного завода. На двигателе . (50 коренные вкладыши прокладок не имеют, а потому зазор между вкладышами и шейкой вала следует устанавливать при постановке вкладышей.
Масляные карманы Р в баббитовой заливке у торцов вкладышей служат •-.олодильниками, а также предназначены для образования масляного клина. Вкладыши изготовлены таким образом, что торец одной стороны вкладыша г.ыше торца специального калибра на 0,11—0,13 мч; при этом условии обеспечивается плотная посадка вкладышей в постель и крышку подшипника.
Для предупреждения проворачивания в постелях вкладыши имеют вы-штампованные выступы Б, которые входят в соответствующие пазы, сделанные в постели рамы и крышке подшипника со стороны выпускных коллекторов.
Уход и ремонт. В процессе эксплуатации тепловозов имеются случаи появления трещин, выкроишвання и отставания баббита на вкладышах шатунных и коренных подшипников. Такие вкладыши требуют ремонта или игаены их новыми. При замене негодных вкладышей новыми необходимо обеспечить правильность их подбора и укладки в постели. Способ удаления нижних вкладышей коренных подшипников показан на фиг. 14. При этом пользуются стержнем, устанавливаемым в отверстие шейки. Стержень 2 имеет прямоугольную головку размером 6 X 50 X 70 мм, плотно прилегающую к поверхности шейки. При осторожном проворачивании коленчатого вала вручную в сторону, противоположную направлению вращения вала двигателя, прямоугольная головка стержня 2 упрётся в торец вкладыша 3 и легко 'выведет его из-под шейки вала. Вкладыш тщательно промывают керосином, протирают насухо чистой ветошью и замеряют в шести местах толщину (бронза -}- баббит) стенки (разно-стениость). При обмере пользуются микрометрической скобой, ножки которой устанавливают по целому, неотставшему, баббиту. Затем подбирают новый вкладыш по наибольшей толщине старого с припуском -1-0,03 мм на шабровку и пригонку к шейке. Если дефектный вкладыш настолько разрушен, что нельзя произвести требуемых замеров, то в этом случае пользуются данными, приведёнными в формуляре двигателя, или производят замер зазоров между постелью вкладыша в раме и соответствующей коренной шейкой коленчатого пала. В этом случае пользуются пластинками из свинца, равными предполагаемой толщине вкладыша, которые запрессовывают в шести местах в пространство под шейкой, а затем вынимают и производят необходимые обмеры.
Подобранный таким образом новый коренной вкладыш устанавливают в крышку и прикладывают к покрытой лазурью шейке для предварительной пришабровки. Перед установкой нижнего коренного вкладыша на своё место шейку коленчатого вала покрывают лёгким слоем краски лазури, а постель р. раме и затылочную часть вкладыша смазывают тонким слоем масла. Вкладыш укладывают на шейку вала так, чтобы упорный выступ Б (см. фиг. 12) располагался на стороне выпускного коллектора. Осторожным проворачиванием •.пленчатого вала против часовой стрелки (.если смотреть со стороны гепера->ора) вкладыш при помощи штифта с прямоугольно!'! головкой (см. ('риг. 14) уста-ывливают на место. После этого необходимо проверить щупом толщиной ",03 мм отсутствие зазоров'между постелью и затылочной частью нового вкла-ыша. Одновременно следует проверить отсутствие этого зазора у соседних -.кладышей на затылочной части и между баббитом и шейкой вала на дуге 120". Щуп толщиной 0,03 мм не должен проходить на глубину более 15 мм. При
Фиг. 14. Удаление нижних вкладышей коренных подшипников:
/—смазочное отверстие в шейке вала; 2 — сгержень с головкой для удаления зкладыша; 3 — вкладыш
удовлетворительном состоянии подшипника диаметральный зазор между вкладышами и шейкой вала на дуге 120° (по 60° от вертикали) должен быть 0,12— 0,18 мм. Зазор между шейкой вала и вкладышами на расстоянии 30—40 мм от торцов должен быть 0,08—0,14 мм.
Описанный выше порядок замены негодных вкладышей новыми относится к взаимозаменяемым вкладышам при условии, что коренные шейки коленчатого вала почти не имеют износа. В действительности же изнашиваются не только вкладыши, но и шейки коленчатого вала, а поэтому все запасные вкладыши изготовляются с припуском по баббиту 0,10—0,12 мм. Указанный припуск необходим для правильной пригонки вкладышей шабровкой независимо от неточности геометрических размеров шейки. Поэтому при замене вкладышей их приходится устанавливать на место, а затем обратно вынимать для шабровки 2—3 раза, каждый раз тщательно проверяя прилегание вкладыша к шейке по краске. После окончательной установки нового вкладыша на место необходимо проверить по щупу отсутствие провисания соседних шеек и развал щёк коленчатого вала.
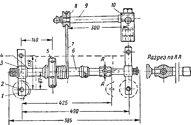
Фиг. 15. Приспособление для крепления гаек коренных подшипников:
/—кронштейны: 2 — отверстия для установки приспособления; 3 — отверстия в приливах кронштейнов; 4 — валик; 5 — шкив; 6 — барабан; 7 — трос; 8—кольцо; 9 — рукоятка; 10 — торцевой ключ (условно повёрнут иа 90°)
В процессе замены и пригонки вкладышей для ослабления или затяжки гаек на шпильках крепления коренных подшипников применяется приспособление1, показанное на фиг. 15. Приспособление состоит из двух кронштейнов 1, которые отверстиями 2 устанавливаются на шпильки крепления люков. В средней части кронштейны / имеют отверстия 3, в которые входят концы валика 4. Правый кронштейн можно перемещать по удлинённой шейке валика 4. На валике 4 установлен барабан б, имеющий шкив 5 с отверстиями для ломика. На барабане 6 закреплён конец троса 7, второй конец которого имеет петлю, надетую на кольцо 8 рукоятки 9 (длиной 300 мм). Второй конец рукоятки 9 входит в отверстие торцевого ключа 10. При вращении шкива 5 трос 7 будет навиваться на барабан 6 и через рукоятку 9 будет поворачивать торцевой ключ 10.
Подбор и замена шатунных подшипников значительно проще, чем коренных. При замене обоих вкладышей иногда нет необходимости даже вынимать поршень из цилиндра. Для этого поршень поддерживают специальной металлической стойкой так, чтобы имелась возможность освободить шейку от дефектного вкладыша. Затем шейку вала тщательно промывают, вытирают, покрывают тонким слоем краски лазури, устанавливают верхний вкладыш в шатун и опускают поршень с шатуном-на шейку.
1 Применяются и другие приспособления, но приведённое на фнг. 1о является наиболее удачным.
После этого проворачивают коленчатый вал на 2—3 оборота, вынимают вкладыш и ведут его пришабровку до тех пор, пока прилегание вкладыша по поверхности не будет около 80/6 на дуге 120°. Нижний вкладыш укладывают в крышку нижней головки шатуна и также пришабривают его по шейке кривошипа или на специальной оправке. Правильная установка нового верхнего вкладыша на шейке обеспечивает и правильную привалку поршня в цилиндре.
Перед установкой новых вкладышей шатунных или коренных подшипников взамен изношенных они должны быть тщательно проверены по калибру (см. фиг. 12 и 13).
При выплавлении остатков старого баббита и при заливке нового геометрические размеры вкладыша (в особенности по наружной поверхности) будут несколько нарушены. Поэтому при механической обработке залитых вкладышей их следует установить по индикатору и дать контрольную проточку, сняв стружку толщиной 0,01—0,02 мм. Если вкладыш по наружной поверхности будет иметь коробление более 0,03 мм, эту поверхность следует опилить и пришабрить по специальному калибру перед тем, как вкладыши будут разрезаны.
Расточку внутренней поверхности вкладыша следует производить в приспособлении, показанном на фиг. 16. Ввиду того что наружная поверхность вкладышей подвергается некоторым исправлениям, проточку по внутренней поверхности следует производить с припуском по диаметру не менее 0,15—0,20 мм.
Забракованные из-за отставания или выкро-шивания баббита вкладыши могут быть подвергнуты реставрации. Для этого необходимо выплавить оставшийся старый баббит и тщательно промыть вкладыши чистым бензином. Чтобы обеспечить хорошее соединение баббита с вкладышем, необходимо последний полудить. При применении баббита Б83 поверхности, подвергающиеся заливке, обезжиривают раствором хромпика (хромпика 100 г, серной кислоты 20 г, воды 880 г) и тщательно промывают, а поверхности, не подвергающиеся заливке, смазывают раствором, состоящим из одной части мела и трёх частей воды с добавлением небольшого количества поваренной соли или жидкого стекла. Подготовленные таким образом вкладыши укладывают в специальную разъёмную оправку 1 (фиг. 17) и стягивают в ней болтом 2. Между торцами вкладышей устанавливают асбестовые прокладки 3 толщиной 1—1,2 мм, причём торцы должны быть расположены строго один против другого. После этого вкладыши подвергаются сушке в электропечи при температуре 130—150°.
Одновременно с сушкой ведётся подготовка полуды, плавление баббита и подготовка станка для центробежной заливки.
Лужение осуществляется погружением на 4—5 мин. высушенных и протравленных соляной кислотой вкладышей в ванну с расплавленным оловом при температуре 270—290°. В процессе плавки олово подвергается рафинированию нашатырём (хлористым аммонием).
Лужёная поверхность вкладыша должна быть светлой и не иметь тусклого или жёлтого оттенка, являющегося признаком окисления, а также чёрных пятен окислов.
Фиг. 16. Приспособление для окончательной обработки вкладышей подшипников:
/—обечайка; 2 — зажимная гайка; 3—окна
Оправку вместе с вкладышами устанавливают в подогретый до температуры 160—180° патрон станка для центробежной заливки (фиг. 18), который делает 450—480 об/мин.
Не позже чем через 15 сек. после полуды вкладыши должны быть залиты баббитом. Плавку баббита удобнее всего производить в электрической печи (фиг. 19) при температуре 370—390°. Для уменьшения окисления олова поверхность расплавленного баббита (после прекращения бурления) покрывают мелкими кусочками древесного угля слоем в 10—20 мм. Перед началом заливки баббит подвер-гают рафинированию нашатырём. Расплавленный и подогретый до 390—410° баббит заливают через лейку станка 7 (см. фиг. 18). Центробежной силой баббит распределяется равномерным слоем по всей поверхности вкладышей.
Фиг. 17. Оправка для стягивания вкладышей
при перезаливке: /—оправка; 2 — болт; 3 — асбестовые прокладки; 4 — вкладыш; 5 — шарнир
-.-ш. ,и. ызпи дли ценгрииежнои заливки вкладышей: /-станок; 2 — патрон; а—составная планшайба на патроне: 4 — вкладыши; 5— вращающаяся плаь 6 — два роликоподшипника; 7 — лейка; в —бабка; 9 — гайка шпинделя
Через 5 сек. после окончания заливки вкладыши охлаждают сильной струёй холодного воздуха или холодной воды. Это ускоряет их остывание и улучшает микроструктуру залитого баббита. Вес баббита, необходимого для заливки вкладыша, составляет 4—5 кг при толщине слоя 4—5 мм.
Для проверки коренных и шатунных вкладышей на отсутствие трещин и отставание заливки пользуются специальной ванной, заполненной дизельным топливом, подогретым до температуры 80—100°. В эту ванну погружают вкладыши на 10— 35 мин.; затем их вынимают, тщательно протирают и обезжиривают растворителем № 645. Затем баббитовую заливку смазывают раствором мела 26 юдпа часть мела на три части воды) и устанавливают для высыхания. При отсутствии трещин или отставания баббита меловая обмазка будет иметь ровную белую поверхность. При наличии трещин на меловой поверхности і бразуются коричневые волосовины. Коричневые пятна указывают на отста-иаине баббита. Такие вкладыши подлежат перезаливке.
Фиг. 19. Электрическая печь для плавления олова и баббита:
/ — вытяжная труба; 2 — ванна для плавления олова; 3 — электрическая печь: ^ —кирпичная кладка; 5 — электрическая спираль; 6 — днище ванны; 7—термопара для определения температуры плавления баббита и олова
Заливка бронзовых вкладышей баббитом БК2 несколько отличается от процесса заливки их баббитом Б83. Все подготовительные операции остаются иез изменения, но поверхность вкладышей, подлежащую лужению при заливке баббитом БК2, покрывают перед сушкой флюсом и вкладыши подогревают в электропечи до температуры 250—300°. Сушку продолжают до полного высыхания флюса и мела. Для полуды применяют не чистое олово, а сплав, состоящий из 20% чистого олова и 80% свинца, без наличия хотя бы незначительного количества сурьмы, отрицательно влияющей на процесс лужения и качество полуды.
Лужение производят при температуре полуды 330—350° в течение 2—4 мин. погружением вкладыша в ванну. Обороты центробежного станка, при которых осуществляют заливку, доводят до 550—600 об/мин.
Приготовление баббита БК2 производится в чугунном тигле, установленном в электрической печи.
После предварительного подогрева до температуры 300—350° и расплавления свинца в тигель вводят олово. Сплав нагревают до температуры 450—500° и покрывают слоем древесного угля толщиной 30—40 мм. Затем в сплав небольшими порциями вводят кальциевый баббит и магниесвинцовистую лигатуру. После этого температуру сплава доводят до 530—570°, при которой его и заливают.
Следует'заметить, что вкладыши коренных и шатунных подшипников могут быть изготовлены не из бронзы ОЦС 3-11-5, а из обыкновенной малоуглеродистой стали марки Ст. 2, Ст. 3 или 20. В этом случае при заливке баббитом Б83 внутреннюю поверхность как бронзового, так и стального подшипника подвергают предварительному гальваническому обмеднению слоем 0,015— 0,020 мм. При заливке стальных заготовок баббитом БК2 обмеднения не требуется.
По техническим условиям разиостенность вкладышей коренных подшипников (бронза + баббит) не должна превосходить 0,03 мм, но в случае смещения постелей рамы двигателя от общей геометрической оси (например в аварийной раме или в раме с заваренными трещинами) приходится отступать от этого условия и ставить разностеиные вкладыши.
После замера постелей по струне, как было описано выше, определяют смещение постелей и подсчитывают толщину вкладыша для трёх точек по формуле (без учёта зазора на смазку)
Фиг. 20. Приспособление для расточки разностенных вкладышей:
7 —барабан; 2 — подушка; 3 — вкладыш; 4 — планка ; 5 — гайка
где Т, — толщина вкладыша'коренного подшипника в какой-либо из точек 1, 2, 3 (см. фиг. 9,; іі — расстояние от постели до струны в той же точке, иайдешюе
с помощью штихмаса; сі — диаметр струны;
О — диаметр соответствующей рамовой шейки коленчатого вала после ремонта.
Для каждого вкладыша коренного подшипника подсчитывают три р?з-мера 7\, Т2 и Т3, в соответствии с которыми и производится расточка вкладыша в приспособлении, представленном на фиг. 20.
Приспособление состоит из барабана 1 и подушки 2, в которую укладывается и прижимается планками 4 с помощью гаек 5 вкладыш 3. '
Фиг. 21. Приспособление для замера натяга вкладыша: / — балочка; 2 —барашек; 3 — болт; 4 — пришабренные установочные платики; 5 —индикаторы
Приспособление зажимается в четырёхкулачковый патрон токарного станка и центрируется так, чтобы после расточки вкладыш имел указанные выше размеры Тъ Т2 и Т3.
После разрезки перезалитых (см. фиг. 17) вкладышей на два отдельных вкладыша необходимо произвести тщательную зачистку их торцов и проверить по калибру при помощи балочки (фиг. 21) наличие требуемого превышения торца над калибром на 0,11—0,13 мм.










