§ 37. БУКСА
Букса, применяемая на тепловозе ТЭ2, является взаимозаменяемой с буксой тепловоза ТЭ1. Букса состоит из литого стального корпуса / (фиг. 261), бронзового вкладыша 3, залитого баббитом Б16, буксового стального камня 2, осевого упора 8, войлочной уплотнительной манжеты 12 и крышки с нажимным механизмом.
Нижнее пространство корпуса буксы служит ванной для смазки и заполняется подбивочным материалом, состоящим из хлопчатобумажных вязаных валиков 10, пропитанных осевой смазкой.
Войлочная уплотнительная манжета 12, помещённая внутри прямоугольного капала в корпусе буксы со стороны наружного торца ступицы колеса,

Фиг. 261. Букса:
/ — литой стальной корпус; 2 — буксовый камень; 3 — вкладыш; 4 — опоры балансиров; 5 — бурт-да-рани-читель камня; « — крышка с пружинным механизмом; 7 —опорные приливы в буксе для планки упора; 8_уПОр; 9 — войлочный фитиль; /0 —подбивочные валики; // —хомут манжеты; 12 — войлочная уплотнительная манжета; 13 — текстолитовая проставочная планка
состоит из двух половин с выкружками, которые уплотняют буксу с подсту-пичной частью осн. Плотность прилегания манжеты к оси и стыкам канала буксы регулируется затяжкой гаек, установленных на конце хомута //, охватывающего войлочное уплотнение с трёх сторон.
Тяговое усилие от оси колёсной пары на корпус буксы передаётся вкладышем 8, который прижимается к одному из внутренних приливов (переднему или заднему) корпуса буксы в зависимости от направления движения тепловоза.
Касание буксового камня 2 к этим приливам не допускается, так как вкладыш может оказаться зажатым на шейке, что приведёт к устранению масляного клина и нагреву подшипника.
Боковые усилия от оси колёсной пары передаются на корпус буксы через осевой упор 8, установленный на внутренних опорных приливах 7 корпуса со стороны крышки 6. Упор закреплён сверху угольниками и болтами.
Рабочая поверхность упора 8 покрыта слоем бронзовой заливки. В канал осевого упора закладывается войлочный фи гиль 9, необходимый для подвода смазки к трущейся поверхности упора. Один конец фитиля закреплён в овальном отверстии упора 8, а другой опущен в масляную ванну корпуса / буксы.
В прорези упора со стороны, противоположной наплавленному слою, установлены две текстолитовые планки 13. служащие амортизаторами при осевых ударах. Состояние амортизаторов периодически (не реже 1 раза в месяц) должно проверяться и в случае разрушения они должны быть заменены новыми.
Нал ичие буксового камня обеспечивает возможность выемки вкладыша при незначительном зазоре между шейкой оси и кромкой овального отверстия буксы, что облегчает замену или осмотр вкладышей и позволяет иметь более высокий уровень смазки в масляной ванне буксы.

Корпус / буксы представляет собой цельнолитую коробку, изготовленную «з стали 25ЛП ГОСТ 977—53, прямоугольной формы с приливами для буксовых наличников.
Опоры 4 под балансиры, изготовленные заранее из качественной стали, при отливке буксы закрепляются в форме, которая затем заливается жидким металлом.
Овальная форма отверстия в вертикальной стенке со стороны ступицы колеса обеспечивает на собранной буксе зазор между кромкой отверстия и осью колёсной пары, достаточный для подъёмки корпуса буксы при выемке вкладыша.
Буксовый камень 2 изготовлен горячей штамповкой из вырезок рамного листа тележки. Ранее он отливался из стали.
Окончательные размеры паза трапецеидальной формы под вкладыш 3 в корпусе / буксы получаются механической обработкой.
Отверстие в горизонтальной полке служит для удобства постановки и выемки камня из корпуса буксы, а верхний концевой бурт 5 является упором, ограничивающим его перемещение в корпусе.
Вкладыш (фиг. 262) изготовляется из бронзы ОЦС 3-12-5 ГОСТ 613—50. Рабочие поверхности вкладыша после механической обработки заливаются баббитом Б16 ГОСТ 1320—41.
Верхний бурт вкладыша служит ограничителем перемещения его в сторону крышки буксы, а боковые приливы — для передачи тяговых усилий на корпус буксы.
Осевой упор 8 (см. фиг. 261) изготовлен из Ст. 3 ГОСТ 380—50 горячей штамповкой. Поверхность упора, обращенная в сторону торца оси колёсной пары, наплавлена слоем бронзы ОЦС5-5-5 ГОСТ 613—50 толщиной 10 мм. С этой же стороны имеется канал, сообщающийся с овальным сквозным отверстием, служащим для установки фитиля 9.

Фиг. 263. Правая букса передней колёсной пары:
i—корпус; 2— буксовый камень; 3— вкладыш; 4— опоры балансиров; 5 — ограничитель; 6 — крышка; 7 —приливы; в —упор; 9 — фитиль; 10 — подбивочные валики; 11 — хомут; 12 — манжеты; 13 — ручка; 14 — откидные болты сбарашкамн; 15— валик; 16 — упорный угольник; 17 — болт; 18 — упорная планка
Войлочные манжеты 12 со стороны колеса обшиты брезентом. Перед постановкой в корпус они пропитываются солидолом при температуре +753 в течение 30 мин.
Крышка 6 буксы изготовляется горячей штамповкой из листового материала Ст. 3. Пружина крышки фиксирует её в открытом или закрытом положении. Для придания крышке большей жёсткости поверхность её сделана рифлёной.
Для смены буксового вкладыша необходимо:
1) вынуть осевой упор 8 с фитилём 9 и удалить подбивочные валики 10 из корпуса буксы;
2) домкратом поднять корпус буксы на величину перекрытия буксового камня буртом 5 корпуса (10—15 мм);
3) извлечь буксовый камень и вкладыш.
Постановка нового вкладыша должна производиться в обратной последовательности.
При ремонте после подъёмки собранной тележки краном состояние буксовой подбивки необходимо проверить, так как при этом она спрессовывается весом колёсной пары, вследствие чего капиллярность и плотность прилегания её к шейкам оси ухудшаются.
Для заправки букс применяются следующие масла:
зимой — осевое масло 3 ГОСТ 610—48,
летом — осевое масло Л ГОСТ 610—48.
Подбивочным материалом могут служить хлопчатобумажные концы по ОСТ 30008 или валики (по 3 шт.), изготовленные из хлопчатобумажных концов, покрытые польстерной щёткой, применяемой на грузовых 50-т вагонах. Норма подбивочного материала 1,4 кг на одну буксу.
Правая букса передней колёсной пары, через которую осуществляется привод к скоростемеру, несколько отличается от букс других колёсных пар изменённой конструкцией осевого упора 8 (фиг 263), упорной планки 18, крышки 6 и других мелких деталей.

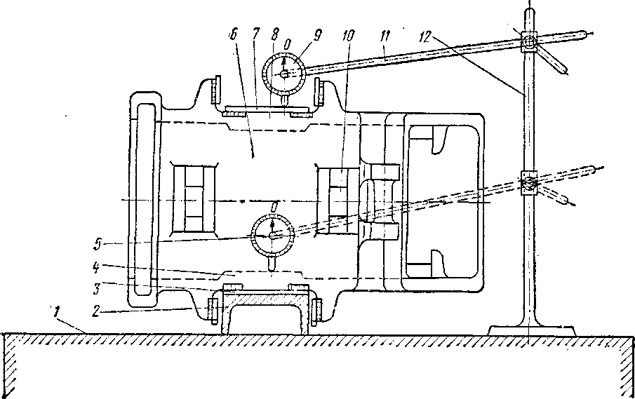
Фиг. 264. Проверка буксы:
/ — плита; 2 —брус; 3 и 7 —наличники; 4 и * —приливы; 5 и 9 — индикаторы; б — корпус буксы; 10— опоры балансиров; // — стержень; 12 — стойка
Осевой упор 8 правой передней буксы имеет центральное отверстие, через которое проходит распорная втулка привода редуктора скоростемера. Бронзовая наплавка осевого упора 8 имеет несколько другую конфигурацию. Упорная планка 18 правой передней буксы выполнена не прямоугольной, как у других букс, а фигурной и имеет с нижней стороны вырез, необходимый для постановки в отверстие оси распорной втулки и размещения вилок привода скоростемера.
Крышка буксы имеет вырез, в котором смонтирован редуктор привода скоростемера. Для удержания крышки этой буксы в закрытом положении на корпусе и крышке установлены откидные болты с барашками 14. Для предотвращения смещения крышки относительно корпуса усилием, передаваемым к приводу скоростемера, в теле буксы на прессовой посадке установлены два штыря. Штыри имеют конические головки, которые входят в отверстия крышки со скользящей посадкой и, таким образом, удерживают крышку от перемещения.
Проверку буксы производят при среднем и капитальном ремонте тепловоза, а также при любом ремонте корпуса буксы и замене наличников 3 и 7 (фиг. 264).
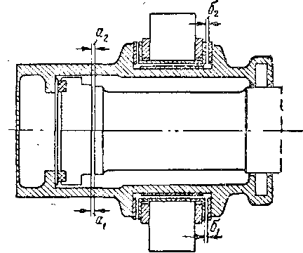
Фиг. 265. Проверка осевых разбегов
Корпус буксы 6 проверяется на параллельность и правильность поверхностей буксовых наличников 3 и 7; на соответствие размеров по толщине опорных приливов 4 и 8 и их параллельность между собой и буксовыми наличниками 3 и 7; на совпадение осей опор 10 между собой и с осью буксы; па определение всех размеров, которые должны соответствовать чертежу.
Проверка параллельности наличников 3 и 7 осуществляется на пришабренной плите /. При проверке корпус буксы одним из наличников устанавливают на точно обработанный брус 2, а на второй наличник устанавливают индикатор 9, укреплённый на стержне // и стойке 12.
Ножку индикатора зажимают на + 1 мм, а его стрелку устанавливают на нулевое деление. Перемещая индикатор вместе со стойкой по всей плоскости наличника по направлению его диагоналей, наблюдают за отклонением стрелки, определяя величину непараллельности наличников. Допускаемая непараллельность не более 0,3 мм.
Одновременно определяют и местные неровности на наличниках 3 и 7; отклонения при этом не допускаются более 0,15 мм.
Толщину стенки корпуса буксы в местах приливов 4 и 8 проверяют также на плите индикатором 5, который устанавливают во внутреннюю часть буксы. Перемещая стойку 12 с индикатором 5 по опорной поверхности прилива 4, определяют параллельность её плите и наличникам 3 и 7; при этом замечают среднее отклонение стрелки. Затем индикатор осторожно
вынимают из корпуса и поворачивают корпус на 180° так, чтобы он расположился на брусе" 2 другим (верхним) наличником 7. Затем опять устанавливают индикатор во внутреннюю часть буксы на прилив 8 и повторяют проверку.
По результатам отклонений стрелки индикатора при проверке одного и другого прилива определяют разницу в толщине стенок, которая во избежание работы оси с перекосом не допускается более 0,5 мм.
При отсутствии индикатора разность толщины стенок корпуса буксы может быть проверена при помощи рейсмуса с иглой, имеющей искривлённый конец, и щупа.
Совпадение осей опор 10 проверяется при той же установке буксы на плите рейсмусом или индикатором. Несоосность не допускается более 0,3 мм.
После перезаливки и механической обработки вкладыш буксы также подвергается проверке, которая в основном сводится к определению всех его геометрических размеров, а также к выявлению качества баббитовой заливки.
Проверка осевых разбегов колёсных пар должна производиться при каждом ремонте тепловоза.
Порядок проверки может быть следующий.
1. На уровне центра колёсной пары замерить зазоры аг и аг между торцами оси и осевыми упорами на глубине до 15 мм с передней и задней стороны осевого бурта по ходу тепловоза (фиг. 265). Полусумма этих размеров будет составлять средний зазор А — Ul ~^а— между торцом оси и
осевым упором. В процессе этих замеров осевой упор вместе с упорной планкой должен быть плотно прижат к упорной поверхности корпуса буксы. Обмеры зазоров указанным способом должны быть произведены с обеих сторон колёсной пары. *
2. На том же уровне замерить зазоры бх и б2 между внутренними (направляющими) поверхностями челюстных наличников и наличниками букс'с передней и задней стороны буксы по ходу тепловоза.
Полусумма полученных замеров будет составлять зазор Б между направляющей плоскостью челюстных наличников и наличниками буксы. Обмеры зазоров должны быть произведены на отдельных буксах.
Тепловоз в процессе всех обмеров должен оставаться неподвижным.
Разбег колёсной пары должен составлять от 3,5 до 8 мм. Осевые разбеги более 8 мм должны быть уменьшены, так как дальнейшее увеличение их будет вызывать большое виляние тележек и секций.
Для уменьшения осевых разбегов необходимо заложить регулировочные пластины одинаковой толщины между упорными пластинами и упорными поверхностями обеих букс с приваркой их к упорным пластинам.
После установки регулировочных пластин расстояние от торца вкладыша до рабочей поверхности упора должно быть не менее 26,5 мм. Если при этом окажется, что величина разбега продолжает оставаться более 8 мм, то необходимо заменить челюстные и буксовые наличники.
Роликовые подшипники. В настоящее время на сети железных дорог СССР работает ряд тепловозов ТЭ2, оборудованных роликовыми подшипниками. Для определения работоспособности и выбора наиболее рациональной конструкции на тепловозах применено несколько типов роликовых подшипников, работающих на твёрдой и жидкой смазке. Все типы роликовых букс тепловозов имеют примерно одну и ту же конструкцию стального литого корпуса, в котором смонтированы в различных вариантах и комбинациях роликовые подшипники. Кроме того, роликовые буксы тепловозов различаются между собой типами применённых осевых упоров и смазок, для которых потребовалась соответствующая конструкция наружных крышек и других деталей, к ним относящихся. На ряде тепловозов в роликовых буксах применены оси с шейками диаметром 150 и 160 мм.
Все тепловозные буксы с роликовыми подшипниками можно разделить на 7 типов.
В первом, втором и третьем типах в корпусах / (фиг. 266, а, бив), имеющих примерно одинаковую конструкцию, установлено по два цилиндрических роликовых подшипника 2 и 5 № 32630 и № 52630 (фиг. 266, а). Отличаются эти типы букс друг от друга конструкцией упора и видом смазки. В первом типе буксы (фиг. 266, а) упор 12 выполнен скользящего типа; смазка роликовых подшипников и упора — консистентная. Во втором типе буксы (фиг. 266, б), работающей на жидкой смазке, упор имеет специальный фитиль. В третьем типе буксы, работающей на консистентной смазке, применён в качестве упора радиально-упорный шарикоподшипник № 46418.
В четвёртом типе роликовой буксы установлены один цилиндрический роликовый подшипник 2 (фиг. 267) № 32630 и другой •— двухрядный сферический роликовый подшипник 5 № ЦКБ 534 с закрепительной втулкой 12. В данном типе буксы цилиндрический роликовый подшипник 2 воспринимает на себя только радиальную нагрузку, а сферический 5— радиальную и осевую и таким образом заменяет осевой упор. Отсутствие специального осевого упора в значительной мере упростило конструкцию буксы и обслуживание её в условиях эксплуатации. Этот тип роликовых букс приспособлен к работе на твёрдой смазке.
В пятом типе буксы в корпусе установлены два двухрядных сферических роликовых подшипника 2 (фиг. 268) № ЦКБ 534 с закрепительными втулками 9. Здесь внутренний подшипник воспринимает на себя только радиальную нагрузку, а наружный — радиальную и осевую. Роликовые буксы со сферическими подшипниками работают на твёрдой смазке.
В шестом и седьмом типах роликовых букс в корпусах их установлено по два цилиндрических роликовых подшипника. Причём в первом из них поставлены роликовые подшипники № ЦКБ 557 и ЦКБ 558 с габаритными размерами 0160 X 0320 X 108 мм, а во втором применены роликовые подшипники № ЦКБ 547 и ЦКБ 548 с размерами 0150 X 0300 X 102 мм.
Таким образом, по своему устройству эти оба варианта букс примерно аналогичны между собой и отличаются один от другого лишь размерами подшипников и связанных с ними деталей буксовых шеек колёсной пары.

В этих буксах осевые нагрузки, действующие в сторону наружной крышки, воспринимаются буртами внутреннего и наружного кольца внутреннего подшипника.
Все роликовые буксы описанных типов независимо от того, что некоторые из них имеют около 500 тыс. км пробега, являются опытными и тип роликовой буксы окончательно не определился.
Все детали роликовой буксы перед сборкой должны быть очищены от песка и грязи, промыты в керосине, а подшипники — в бензине и тщательно просушены. Колёсные пары перед сборкой роликовых букс должны быть очищены от грязи, пыли, металлической стружки. Особо тщательно должны быть очищены части колёсной пары, обращенные к буксовым шейкам.
Фиг. 267. Букса с цилиндрическим и сферическим роликоподшипниками:
/ — корпус; 2—цилиндрический роликовый подшипник № 32630; 3 и 4 —дистанционные кольца; 5 — сферический роликовый подшипник № цкб 534; 6 — нитка; 7 и 8 — крышки; 9 — гайка; 10 — планка стопорная; 11 — болт; 12 — закрепительная втулка подшипника; 13 — прокладка регулировочная; 14 — кольцо войлочное; 15 — кольцо лабиринтное; 16 — крышка лабиринтная; 17 — упоры под балансиры

Фиг. 268. Букса с двумя сферическими роликоподшипниками:
1 — корпус; 2 — сферические роликовые подшипники № цкб 534; з и 12 — прокладки регулировочные; 4 и 5 — крышки; в — гайка; 7 — планка стопорная; 8 — болт; 9 — закрепительная втулка подшипника; 10 — кольцо войлочное; 11—крышка лабиринтная; 13 — кольцо лабиринтное; 14 — упоры под балансиры
Все посадочные поверхности под роликовые подшипники, торцы заплечиков, галтели и сопрягаемые с подшипниками поверхности деталей перед сборкой следует внимательно осмотреть. При этом обнаруженные заусеницы необходимо удалить, а коррозийные пятна зачистить наждачной шкуркой № ООО.
Посадочные места шейки оси под подшипники следует промыть в керосине или бензине и протереть насухо чистой хлопчатобумажной тканью, не отделяющей ворса.
Перед сборкой роликовые подшипники промываются до полного удаления предохранительной смазки в бензине с добавлением 6—8% (к объёму бензина) масла индустриального марки 12 или 20 (веретённое 2 или 3) ГОСТ 1707—51 или в нагретом до 70—90° индустриальном масле марки 12 или 20.
Подшипники после промывки следует тщательно осмотреть.
Закрепительные втулки должны быть чистыми и не иметь забоин, вмятин и острых кромок. Особое внимание обращают на выполнение сопряжения посадочной поверхности отверстия с торцом тонкого конца.
Коррозийные пятна на дорожках качения и роликах удаляют с помощью окиси хрома, разведённой в минеральном масле, и куска войлока или сукна. После удаления коррозии подшипники промывают в бензине с добавлением минерального масла. Во избежание коррозии деталей подшипников не рекомендуется оставлять их без смазки более двух часов.
Для предохранения букс от загрязнения монтажный инструмент и приспособления, а также посуда для смазки должны содержаться в строгой чистоте.
Начальный радиальный зазор подшипников с цилиндрическими роликами должен находиться в пределах 0,1—0,165 мм, начальный радиальный зазор сферического роликового подшипника — в пределах 0,14—0,19 мм, подшипников № ЦКБ 547 и ЦКБ 548 — в пределах 0,09—0.145 мм, № ЦКБ 557 и ЦКБ 558—0,10—0,165 мм.
Для постановки на одну шейку оси подшипники подбирают попарно, с разницей зазора не более 0,03 мм, а у комбинированных так, чтобы начальный радиальный зазор сферического роликового подшипника был больше начального радиального зазора подшипника с цилиндрическими роликами на величину 0,04—0,07 мм.
Проверка радиального зазора в подшипнике с цилиндрическими роликами производится при подвешивании подшипника на специальном отрезке вала пропусканием щупа между нижним роликом и внутренним кольцом подшипника.
Проверка радиального зазора в сферическом роликовом подшипнике производится при установке подшипника на стол в рабочем положении щупом между верхним роликом и наружным кольцом подшипника. За величину радиальных зазоров подшипника принимается среднеарифметическое значение результатов четырёх измерений с поворотом внутреннего кольца относительно наружного на 90°.
При наличии паспортов на подшипники подбор производится по радиальным зазорам, указанным в паспортах, с обязательной контрольной проверкой зазоров щупом. Парные подшипники должны иметь отличительные знаки, позволяющие легко и безошибочно отличить их парность.
Роликовые подшипники с короткими цилиндрическими роликами имеют разборную конструкцию, поэтому необходимо строго следить, чтобы они хранились комплектно.
В процессе монтажа роликовых букс необходимо следить за соответствием посадочных поверхностей оси колёсной пары чертёжным размерам. Лабиринтные кольца должны устанавливаться до полного упора в торец оси. Посадку кольца следует производить после нагрева его электронагревательным трансформатором или в масле до температуры не выше 150°. Натяг между посадочными поверхностями должен быть 0,03—0,105 мм.
Внутреннее кольцо подшипников с цилиндрическими роликами устанавливается-на шейку оси с нагревом в индустриальном масле марки 12 или 20 ГОСТ 1707—51 при температуре не выше 100°. Натяг между посадочными поверхностями кольца должен находиться в пределах 0,013—0,065 мм.
Каждую из деталей буксы следует устанавливать на ось после полного охлаждения ранее установленной детали. Во избежание появления торцовых зазоров между установленными на шейку оси в горячем состоянии деталями каждую из них по мере остывания подбивают втулкой из бронзы или другого мягкого металла. Зазор между посадочными поверхностями корпуса буксы и роликовыми подшипниками должен быть 0,00—0,09 мм. Подшипники необходимо устанавливать в предварительно нагретый в электропечи корпус буксы. Посадочные поверхности корпуса при установке подшипников слегка смазываются тонким слоем авиамасла любой марки. Лабиринтные канавки на крышке и лабиринтном кольце заполняются универсальной тугоплавкой водостойкой смазкой УТВ (смазка 1-13 жировая) ГОСТ 1631—52. Войлочное кольцо, заправляемое в канавку лабиринтной крышки, пропитывается индустриальным 12 и 20 или авиационным маслом, нагретым до температуры 80—90° в течение не менее 20 мин.
Корпус буксы с установленными в нём деталями должен свободно усилием одного человека надвигаться на шейку оси.
Посадочные поверхности закрепительной втулки при установке на ось должны быть покрыты тонким слоем авиационного масла. Запрессовка закрепительной втулки, которая производится с помощью прессового приспособления, контролируется по уменьшению радиального зазора между наруж-
ным кольцом роликоподшипника и роликом, замеряемого до и после запрессовки втулки под одним и тем же роликом.
Уменьшение зазора от запрессовки втулки должно находиться в пределах 0,06—0,07 мм, что соответствует осевому перемещению втулки примерно на 1 —1,3 мм.
При отсутствии прессового приспособления запрессовка закрепительных втулок может производиться ударами через монтажную втулку молотком весом 2,5—4 кг. Для того чтобы при вбивании втулка с самого начала получила правильное направление, первый удар молотком наносится слабо, а последующие сильнее. Запрессовка закрепительной втулки ударами непосредственно по её торцу запрещается. Гайка крепления закрепительной втулки должна быть завёрнута до плотного упора в торец втулки и законтрена стопорной планкой. Допускается местный зазор 0,05 мм между торцовыми поверхностями на длине 30 мм.
После монтажа букса должна свободно поворачиваться на шейке оси от руки.
В качестве смазки применяется универсальная тугоплавкая водостойкая смазка УТВ (смазка 1-13 жировая) ГОСТ 1631—52. Общее количество смазки в буксе должно составлять около 2/з её свободного объёма. Свободное пространство между роликами в подшипниках заполняется смазкой полностью. Вес смазки, заправляемой в буксу, обычно составляет 3—3,5 кг. Для роликовых букс, работающих на жидкой смазке, применяется масло МС14 ГОСТ 1013—49. Смазка обычно заливается до уровня нижней кромки заливного отверстия в количестве 3,5 л.
При отсутствии стенда работа букс проверяется во время обкаточных испытаний тепловоза.
При нормальной работе роликовой буксы температура наружных её поверхностей не превышает температуры окружающего воздуха более чем на 20—30°. Максимальная температура наружных частей буксы во всех случаях не должна превышать 70°.
Добавление смазки в буксы производится через каждые 75 000 км пробега при малом периодическом ремонте тепловоза. Необходимость добавления смазки в других случаях определяется при технических осмотрах тепловоза. Полная смена смазки производится при монтаже букс после полной ревизии букс или через каждые 150 000 км пробега, а также при среднем и капитальном ремонте тепловоза. Все добавления смазки должны быть занесены в журналы учёта работы роликовых букс.
При обнаружении в эксплуатации высокого нагрева буксы необходимо снять смотровую крышку и проверить наличие смазки в передней полости буксы. При недостаточном количестве смазки добавить её до заполнения 2/з свободного объёма внутренней полости буксы, стараясь часть смазки продавить между роликами. При нормальном или избыточном количестве смазки часть смазки, непосредственно находящейся в работе, удалить и заложить свежую смазку. Если после проведения указанных мероприятий температура буксы при движении продолжает повышаться, необходимо тепловоз довести на пониженной скорости до ближайшей станции, постоянно наблюдая за температурным режимом нагревающейся буксы, дать буксе полностью охладиться. При этом применение для охлаждения буксы воды или другой охлаждающей жидкости запрещается. После охлаждения буксы тепловоз на пониженной скорости следует доставить в депо и установить причину нагрева буксы полной или частичной разборкой. При всех вскрытиях букс необходимо строго следить за тем, чтобы в буксу не были занесены грязь, песок, влага и т. п. Предохранение букс от загрязнения является главным условием долговечной и безаварийной их работы.
На стоянках (особенно на участках пути, имеющих уклон) одиночный тепловоз должен быть заторможен: при постоянном присутствии обслуживающей бригады пневматическим тормозом, в остальных случаях — ручным тормозом. В случае отставления от работы тепловоз каждые две недели должен перекатываться по деповским железнодорожным путям для изменения точек контакта роликов и беговых дорожек подшипников и предохранения их от коррозии.










