§ 36. КОЛЁСНАЯ ПАРА
Колёсная пара состоит из оси 3 (фиг. 258), двух дисковых колёсных центров 2, бандажей 1, имеющих диаметр по кругу катания 1 050 мм, и шестерни 4.
Колёсная пара двумя шестернями связана с валом якоря тягового электродвигателя.
Боковые перемещения колёсной пары ограничиваются не галтелями, а торцами осей, упирающимися в специальные упоры, установленные в буксах. Площадь торцов оси увеличена за счёт буртов, благодаря чему удельное давление на упоры значительно уменьшается. Суммарный зазор между торцами осей и упорами нормально должен быть не более 3,5—8 мм.
Фиг. 258. Колёсная пара: /—бандчж; 2 — колёсный центр; 3—ось; 4 — шестерня; 5 — крепящее кольцо; а —измеряемая величина
На тепловозах первого выпуска бандажи на колёсных центрах посажены без укрепляющих колец. Начиная с тепловоза № 70, введены крепящие кольца 5.
Оси колёсных пар изготовляются из сортовых осевых заготовок, поставляемых промышленностью по ГОСТ 4728—53. Материал, химические и механические свойства осей должны соответствовать ГОСТ 3281—53. Ось колёсной пары имеет концевые буксовые шейки, предподступичные части, подступич-ные части для напрессовки колёсных центров, часть с наибольшим диаметром, служащую для насадки шестерни, и шейки для моторно-осевых подшипников.
Колёсные центры дискового типа отлиты из мартеновской стали марки 25-4522 ГОСТ 977—41 центробежным способом.
Бандажи колёсной пары изготовлены из бандажной стали ГОСТ 398—41 поковкой на специальном молоте с последующей прокаткой в специальных профильных вальцах.
При формировании колёсной пары вначале производят насадку шестерни 4 на ось 3. Насадку производят в горячем состоянии с натягом 0,12—0,16 мм. Шестерню нагревают индукционным нагревателем до температуры не более 200°. Время, необходимое для нагрева шестерни, колеблется в пределах 30—35 мин. Перед насадкой сопрягаемые поверхности оси и шестерни смазываются варёным льняным или конопляным маслом.
При последующих операциях на ось со стороны шестерни напрессовывают на специальном гидравлическом прессе первый колёсный центр 2. Колёсный центр с бандажом напрессовывают усилием ПО—145 т и без бандажа — усилием 90—125 т.
Натяг между сопрягаемыми поверхностями оси и колёсного центра равен 0,22—0,30 мм. Принятые натяги являются примерными и уточняются опытным путём в зависимости от полученного усилия напрессовки.
При напрессовке колёсных центров на оси сопрягаемые поверхности смазывают чистым варёным льняным маслом или белилами, приготовленными на том же льняном масле. Это необходимо для того, чтобы избежать задиров при напрессовке и предохранить сопрягаемые поверхности от коррозии в процессе длительной эксплуатации колёсных пар.
Насадку бандажей на колёсные центры производят в горячем состоянии. Натяг дают 1—1,45 мм.
Нагрев бандажей производят индукционным электрическим нагревателем до температуры не более 320°. Плотность насадки бандажа проверяется остукиванием ручным молотком. При этом звук должен быть чистым, недребезжащим.
Постановка крепящего кольца производится после насадки, когда температура бандажа не ниже 150°. Плотность поставленного крепящего кольца определяется остукиванием ручным молотком. Допускаются местные зазоры с одной и с другой стороны на V4 окружности кольца не более 0,2 мм. Неплотности крепящего кольца устраняются подсадкой внутреннего бурта бандажа кувалдой и гладилкой. Ширина бурта должна быть не менее 7 мм.
После формирования или обточки каждая колёсная пара подвергается проверке. При проверке радиальное биение профиля бандажа по кругу катания (определяется в центрах станка индикатором) допускается не более 0,5 мм, а разность диаметров бандажей по кругу катания (определяется при помощи специальной микрометрической скобы) — не более 0,5 мм.
Размер между внутренними боковыми гранями бандажа проверяется микрометрической шпилькой и должен быть в пределах 1 440 ±\ мм.
При этом ширина бандажа должна соответствовать размеру 140 1? мм, а рабочий профиль — специальному шаблону.
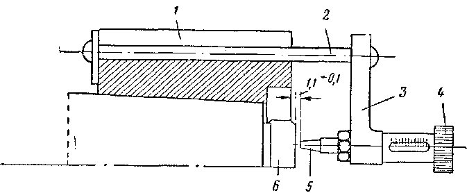
Размер а между внутренней боковой гранью бандажа и торцом оси с обеих сторон колёсной пары проверяется специальным приспособлением в виде угольника. Внутренние поверхности полок угольника тщательно обработаны, на его вершине приварен фигурный кронштейн, который имеет на нижнем конце упор, а на верхнем мерительную передвижную планку с делениями. Угольник полками устанавливают на шейку оси так, чтобы нижний упор кронштейна касался торца оси, а противоположный конец фигурного кронштейна с мерительной планкой располагался против внутренней грани бандажа. Перемещая мерительную планку от нулевого деления, определяют её отклонение, я затем, не сбивая планки, переносят приспособление на другую сторону колёсной пары и повторяют замер. При замерах с обеих сторон разность величин а не должна превышать 2 мм.
Монтаж колёсной пары с тяговым электродвигателем. Производственный процесс монтажа колёсной пары с тяговым электродвигателем является исключительно ответственной операцией. Неправильный монтаж и пригонка колёсной пары к тяговому электродвигателю приведут к неправильному зацеплению зубьев шестерён.
Для производства монтажа остов тягового электродвигателя 2 (фиг. 259) необходимо установить в вертикальное положение моторно-осевыми подшипниками вверх. Затем на вал якоря 4 предварительно плотно надевают малую зубчатую шестерню 3 (без подогрева) до упора. На моторно-осевые подшипники укладывают колёсную пару 5 и проверяют в зацеплении зубьев шестерён боковые зазоры которые должны быть в пределах 0,45—0,9 мм при разности зазоров между зубьями не более 0,25 мм.
При завышенных боковых зазорах в зацеплении зубьев шестерён необходимо моторно-осевые подшипники заменить новыми. Общая площадь отпечатка моторно-осевых шеек на подшипниках должна быть не менее 75% общей их площади. Затем зубья малой шестерни смазывают краской (лазурью) и колёсную пару поворачивают на два-три полных оборота, после чего проверяют правильность зацепления зубьев по отпечаткам на рабочих поверхностях. Отпечаток краски по зубьям зубчатого колеса и шестерни должен составлять не менее 50% и располагаться посередине зуба и вблизи делительной окружности.
Фиг. 259. Монтаж колёсной пары с тяговым электродвигателем:
1—опорные кронштейны: 2— остов тягового электродвигателя: 3 — малая ведущая шестерня; 4 — вал якоря; 5 — колёсная пара; б— большая шестерня; 7— кожух; 8 — крышка моторно-осевого подшипника; 9 — уплотнительное кольцо
При удовлетворительном состоянии боковых зазоров, хорошем прилегании зубьев по краске, а также правильном расположении мотор но-осевых шеек колёсной пары на подшипниках и соблюдении осевого разбега оси в мо-торно-осевых подшипниках в пределах 1—2,5 мм колёсная пара окончательно монтируется на тяговом электродвигателе. Для этого колёсную пару снимают с электродвигателя и производят насадку шестерни на вал якоря. Для обеспечения плотной и надёжной насадки шестерня предварительно пригоняется (притирается) своим конусным отверстием к валу якоря. Общее прилегание сопрягаемых поверхностей должно быть не менее 75%. Для обеспечения правильной и надёжной насадки шестерни на вал якоря после её пригонки при помощи специального приспособления (фиг. 260) производят замер расстояния от наружного торца шестерни до торца вала якоря. Для этого в одну из впадин шестерни между зубьями 1 устанавливают стержень 2 приспособления и поворотом микрометрического винта доводят его штифт 5 до торца вала якоря 6. Убедившись в отсутствии зазоров между затылочной частью шестерни и планкой стержня, а также между торцами штифта 5 и вала 6, вращением головки 4 устанавливают зазор 1,15—1,2 мм между торцом вала якоря 6 и штифтом 5, закрепляют штифт и снимают приспособление с шестерни. Для
контроля за посадкой шестерни расстояние от наружного торца шестерни до торца вала якоря замеряют и затем записывают в паспорт монтажа колёсной пары с двигателем, а места произведённых замеров помечают. Затем шестерню снимают с вала якоря и готовят к окончательной насадке.
Окончательная насадка шестерни на вал якоря производится в нагретом состоянии. Максимальная температура нагрева должна быть не более 130°. После нагрева на шестерне между отмеченными зубьями во впадину устанавливают стержень 2 приспособления и вместе с ним шестерню без удара (плавно) надевают на вал якоря до упора микрометрического штифта 5 в торец вала 6 (в ранее помеченное место). В таком состоянии шестерню удерживают на валу якоря до полного её охлаждения. Усилие при снятии посаженной таким способом шестерни с помощью пресса составит примерно 60—80 т.
После насадки шестерни на хвостовик вала якоря навинчивают гайку и шплинтуют её пластинчатой замочной шайбой. Затем на моторно-осевые подшипники тягового электродвигателя устанавливают колёсную пару и закрывают подшипники крышками. При окончательно установленных и затянутых болтами крышках зазор между моторно-осевыми подшипниками и шейками оси должен быть в пределах 0,60—0,74 мм, а осевой разбег колёсной пары — 1,0—2,5 мм.
Фиг. 260. Приспособление для насадки ведущей шестерни на вал якоря:
/—зубья шестерни: 2—стержэнь; 3— кронштейн; 4 — головка микрометрического винта; 5 — штифг; 6—торец вала якоря
Обе шестерни колёсной пары и электродвигателя устанавливают в кожух, служащий предохранительным устройством от попадания пыли и других инородных частиц. Кожух является также и ванной для смазки шестерён.
Кожух сварной и состоит из двух половинок, изготовленных из листового материала толщиной 6 мм. На боковой поверхности кожуха, обращенной в сторону тягового электродвигателя, имеются приваренные бонки с резьбой, в которые ввёртываются болты с пружинящими шайбами, крепящие кожух к остову двигателя.
Половинки кожуха скрепляются друг с другом также болтами. Внутренняя полость кожуха покрывается маслостойкой краской. Зазор в разъёме половинок кожуха допускается не более 0,1 мм. Зазор между внутренними полуокружностями половинок кожуха и ступицей колёсного центра должен быть не более 0,75 мм. Для обеспечения надёжного соединения половинок кожуха их болты следует крепить с усилием 15—20 кг ключом с рукояткой длиной 1 000 мм.
Через горловину, закрываемую пробкой и расположенную на верхней половинке, производится заправка кожуха осернённой смазкой. Количество смазки, заправляемой в каждый кожух редуктора, должно составлять 0,9— 1,3 кг. При этом зубья шестерён должны быть покрыты жирным слоем смазки.
Каждая смонтированная колёсная пара с тяговым электродвигателем и установленными буксами подвергается прикаточному испытанию на специальном стенде.
Испытание производится при ПО—120 об/мин с нагрузкой на каждый буксовый подшипник 4 т.










