§ 32. СХЕМА ЭЛЕКТРИЧЕСКИХ СОЕДИНЕНИЙ
Общие сведения. Электрические машины и аппараты соединяются на тепловозе проводами так, что обеспечивается их нормальная работа в установленном порядке. Графическое изображение такого соединения и называют электрической схемой.
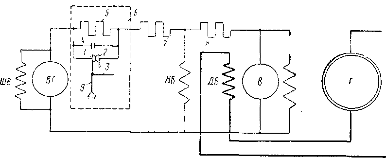
На фиг. 244—245 (см. вклейки в конце книги) приведены схема электрических соединений секции тепловоза и принципиальные схемы электроаппаратов.
Для удобства изображения и пользования схемой в ней допущен ряд условностей, а именно:
1) все машины и аппараты показаны в обесточенном состоянии;
2) расположение машин и аппаратов не соответствует действительному положению на тепловозе;
3) отдельные части машин и аппаратов (обмотки якоря, возбуждения, контакты силовые и блокировочные и пр.) не сгруппированы;
4) механическая связь между отдельными частями аппаратов не показана;
5) отдельные части одного и того же аппарата или машины на схеме обо-' значаются одним и тем же номером или буквой.
Пуск и работа двигателя без нагрузки. Пуск двигателя. Пуск двигателя секции тепловоза производится в такой последовательности:
а) вставляется ключ кнопочного выключателя и поворачивается вниз;
6) включается разъединитель 106 аккумуляторной батареи;
в) включается кнопка «Топливный насос»;
г) после того как давление в топливной системе будет 2 am, включается кнопка «Управление»;
д) включается кнопка «Пуск двигателя».
Главная рукоятка контроллера 102 должна обязательно находиться в положении «Холостой ход», реверсивная — в положении «Стоп».
После включения разъединителя 106 аккумуляторной батареи БА и кнопки «Топливный насос» создаётся замкнутая электрическая цепь питания электродвигателя ТН вспомогательного топливного насоса током аккумуляторной батареи Б А.
Электрический ток пойдёт от плюсовой клеммы аккумуляторной батареи по кабелю 451, по плюсовому ножу разъединителя батареи 106, проводу 265, плавкой вставке предохранителя 114 (на 100 а), проводу 233, шунту 119 амперметра 118 зарядки батареи, по проводу 232, сопротивлению зарядки аккумуляторной батареи СЗБ и проводу 231 к зажиму подвижного контакта контактора Б зарядки аккумуляторной батареи, от него по двум проводам 2?>0
ток пойдёт к плюсовой клемме 1/8 клеммного набора в высоковольтной камере (обозначена двойным прямоугольником) от неё по проводам 27 ток пойдёт к клемме 4116, затем по перемычке к клемме 4115 клеммного набора в пульте управления (на схеме обозначены двойным квадратом) Далее ток пойдёт по проводу 25 к клемме кнопки «Управление», а от неё по перемычке кнопочника, мостику кнопки «Топливный насос», плавкой вставке предохранителя (на 15 а), проводу 30 к клемме 513 клеммного набора в пульте управления, проводу 69 к клемме 215 клеммного набора в высоковольтной камере и по проводу 404 к электродвигателю ТН вспомогательного топливного насоса. От минусовой клеммы электродвигателя насоса ток пойдёт по проводу 405 к зажиму коробки 16 (коробка 16 расположена в передней левой части тепловоза под рамой), а затем по проводу 360 к клемме 318, по перемычке к клемме 3/9, проводам 138 к клемме 2/9 и по перемычке к главной минусовой клемме 2/8 клеммного набора в высоковольтной камере. От главной минусовой клеммы 2/8 ток пойдёт по двум проводам 279 к зажиму подвижного контакта пускового контактора KCl, а затем по кабелю 131, минусовому ножу разъединителя 106 аккумуляторной батареи и по кабелю 452 ток придёт к минусовой клемме аккумуляторной батареи.
Ток, проходя по обмоткам якоря и возбуждения электродвигателя ТН вспомогательного топливного насоса, заставит вращаться якорь электродвигателя и тем самым приведёт в действие шестерёнчатый вспомогательный топливный насос, который подаст топливо из топливного бака в коллектор топливного насоса.
При включении кнопки «Топливный насос» ток аккумуляторной батареи идёт от клеммы 2/5 на питание электродвигателя ТН вспомогательного топливного насоса и одновременно по проводу 218 на возбуждение вспомогательного генератора. Обмотка возбуждения вспомогательного генератора ВГ присоединяется параллельно электродвигателю ТН для того, чтобы при выключении кнопки «Топливный насос» электродвигатель ТН являлся сопротивлением разрядки для сильно индуктивной цепи обмотки возбуждения вспомогательного генератора.
Когда давление в коллекторе топливного насоса двигателя достигнет 2 am, включается кнопка «Управление» и нажимается кнопка «Пуск двигателя». Этим создаётся цепь питания тяговых катушек пусковых контакторов KCl и КС2- ток пойдёт по мостику кнопки «Управление», по плавкой вставке предохранителя на 10 а, по проводу 22 к клемме 4114, по проводу 45 к пальцу контроллера, который соединяет провод 45 с проводом 21 (соединение проводов 45 и 21 осуществляется только при положении главной рукоятки контроллера в положении «Холостой ход»). Далее ток пойдёт по проводу 21 к клемме 4J13, а от неё по проводу 20, по мостику кнопки «Пуск двигателя», по плавкой вставке предохранителя на 10 а, проводу 18 к клемме 4/12, проводу 78 к клемме 1/3, а затем по проводу 214 к нормально замкнутому, или, иначе, обратному блокировочному контакту контактора Б зарядки батареи. Далее по проводу 213 ток пойдёт к обратной блокировке ßß контактора возбуждения возбудителя, а по проводам 212 и 204 — к катушкам пусковых контакторов KCl и КС2. Пройдя их обмотки, ток по проводам 211, 277 и 279 и кабелям 131 и 452 уйдёт к минусовой клемме аккумуляторной батареи Б А.
Проходя по тяговым катушкам пусковых контакторов, ток наведёт в их сердечниках электромагнитные поля, чем заставит контакторы включиться.
После включения пусковых контакторов KCl иКС2 образуется замкнутая электрическая цепь питания главного генератора Г током аккумуляторной батареи Б А. Электрический ток пойдёт от плюсовой клеммы аккумуляторной батареи по кабелю 451, плюсовому ножу разъединителя 106 батареи, кабелю 120, замкнутым контактам контактора КС2, по кабелю 128 к зажиму неподвижного контакта сериес-параллельного контактора СП2, по кабелю 462 к плюсовой клемме Я1Г главного генератора Г. Пройдя обмотку якоря, обмотку дополнительных полюсов, пусковую обмотку и от зажима П2 главного генератора по кабелю 457, замкнутым контактам пускового кон-
тактора KCl, кабелю 131, минусовому ножу разъединителя батареи 106 и по кабелю 452, ток вернётся на минусовую клемму аккумуляторной батареи.
Ток аккумуляторной батареи, проходя по обмоткам якоря и пусковой обмотке главного генератора, заставит работать его в режиме электродвигателя. Якорь главного генератора приведёт во вращение коленчатый вал двигателя.
Цепь питания катушки блокировочного магнита (соленоида) нормально управляется специальным аппаратом — реле давления масла 117, но в период запуска двигателя, когда давление в масляной системе ещё недостаточно для включения реле давления масла, замкнутая цепь создаётся прямой блокировкой пускового контактора KCl, помещённой между проводами 117 и 283. Катушка блокировочного магнита 104 получает ток от клеммы 215 по проводу 381, который подходит к коробке 49 (расположена на блоке двигателя у регулятора), и по проводу 384. Минусовая цепь катушки образуется проводом 471, обратной блокировкой 104 соленоида, проводами 385, 386 и 117, прямой блокировкой пускового контактора KCl, проводами 283, 277 и т. д.
Блокировочный магнит, включившись, опускает хвостовиком своего плунжера перепускной клапан сервомотора регулятора, а обратной блокировкой разрывает цепь* 471—385, чем включает в цепь своей катушки сопротивление СМ в ПО ом. Это сопротивление ограничивает ток в катушке блокировочного магнита до величины, достаточной для удержания плунжера во втянутом положении, но не опасной с точки зрения чрезмерного нагрева катушки соленоида.
После того как двигатель будет запущен и давление масла в масляной системе двигателя будет около 1,6 am, кнопку «Пуск двигателя» можно отпустить, так как при давлении около 1,6 am реле давления масла замкнёт свои контакты 117, чем будет образована вторая минусовая цепь катушки блокировочного магнита проводами 391, 392, 396, 398, 393 и т. д.
Когда кнопка «Пуск двигателя» будет отпущена, под действием возвратной пружины её контактный ползун сместится' и разорвёт цепь между проводами 20 и 18, чем будет прекращено питание катушек контакторов KCl и КС2. Выключение пусковых контакторов разорвёт цепь питания главного генератора ГфГоком аккумуляторной батареи Б А.
При запуске двигателя нельзя помогать сервомотору регулятора вручную, так как это вызывает очень быстрое повышение оборотов двигателя, вследствие чего силы инерции движущихся масс станут очень большими. Это вызовет ненормальный износ деталей и резко сократит срок службы двигателя.
Если запуск длится 30 сек., а двигатель не дал вспышек, то кнопку nycKi надо отпустить и устранить неисправность.
Разряжать батарею повторными пусками, если первые три оказались безуспешными, запрещается, так как это уменьшает срок службы батареи.
Возбуждение вспомогательного генератора и заряд аккумуляторной батареи. Как уже отмечалось выше при включении кнопки «Топливный насос» от клеммы 215 ток идёт по проводу 404 на питание электродвигателя вспомогательного топливного насоса, а по проводу 218 — на возбуждение вспомогательного генератора ВГ. Действительно, ток проходит по плавкой вставке предохранителя 115 на 10 а по приводу 220, сопротивлению R0, правому неподвижному и среднему подвижному контактам регулятора напряжения РН и по проводу 120 подходит к обмотке возбуждения вспомогательного генератора. Пройдя обмотку возбуждения, ток по проводу 264, минусовому ножу разъединителя 106 батареи и по кабелю 452 возвращается на минусовую клемму аккумуляторной батареи.
При запуске двигателя якорь двухмашинного агрегата получит вращение и напряжение вспомогательного генератора возрастёт до 75 + 2 в, а затем будет автоматически поддерживаться постоянным регулятором напряжения РН.
Когда напряжение вспомогательного генератора становится выше напряжения аккумуляторной батареи на 3 е, включается реле обратного тока
РОТ, которое замыкает свою прямую блокировку, включённую между проводами 215 и 209 в цепь питания тяговой катушки контактора зарядки батареи Б.
Если пуск двигателя окончен и пусковые контакторы КС1 и КС2 выключились, то обратная блокировка контактора К,С1 между проводами 209 и 291 включится. После включения прямой блокировки реле РОТ и обратной блокировки контактора К.С1 создаётся замкнутая цепь питания катушки контактора Б. Ток от клеммы 2/5 по проводу 84 пойдёт к клемме 1/2,' а от неё по проводу 215, прямой блокировке реле РОТ, по проводу 209, обратной блокировке контактора К,Ы и по проводу 291 подойдёт к тяговой катушке контактора зарядки батареи Б. Пройдя катушку, ток по проводам 282. 279 и кабелям 131 и 452 возвратится к минусовой клемме аккумуляторной батареи.
С момента включения контактора Б вспомогательный генератор ВГ будет заряжать аккумуляторную батарею, питать цепи освещения, управления и шунтовую обмотку возбуждения, т. е. перейдёт на самовозбуждение.
Ток вспомогательного генератора идёт по проводу 263, вставке предохранителя 114 на 80 а, проводу 262, токовой (сериесной) катушке реле обратного тока, проводу 111, замкнутым контактам контактора батареи £ и по проводу 230 в цепи освещения, управления и возбуждения, по проводу 231, сопротивлению зарядки батареи СЗБ, проводу 232, шунту 119 амперметра 118, проводу 233, плавкой вставке предохранителя 114 на 100 а, проводу 265, плюсовому ножу разъединителя 106 и по кабелю 451 на заряд аккумуляторной батареи. Минусовые клеммы аккумуляторной батареи и вспомогательного генератора кабелем 452 и проводом 264 после включения разъединителя батареи 106 связаны постоянно.
Самовозбуждение вспомогательного генератора осуществляется по цепи возбуждения от аккумуляторной батареи.
Действие регулятора напряжения. При обесточенных катушках регулятора напряжения пружина поворачивает якорь регулятора так, что подвижный контакт прижимается к правому неподвижному. Этим создаётся цепь возбуждения вспомогательного генератора током аккумуляторной батареи, и после включения разъединителя 106 и кнопки «Топливный насос» по обмотке возбуждения вспомогательного генератора пойдёт то*. Величина тока в этом случае будет наибольшей, так как в цепь включено наименьшее сопротивление R0, равное обычно 5 ом.
При возрастании напряжения вспомогательного генератора ток пойдёт по проводу 263 к зажиму предохранителя 114, а затем по проводу 219 к сопротивлению R4. Далее ток пойдёт по названному сопротивлению R4 и по перемычке к последовательно соединённым подвижной и неподвижной катушкам регулятора напряжения, а, пройдя их, по проводам 281, 197, 196, 195, 194, 278, 279, 131 и 264 вернётся к минусовой клемме вспомогательного генератора.
Сопротивление R4, включённое в данную цепь, выполняет ряд функций. Во-первых, оно уменьшает ток в катушках, чем позволяет сделать их малыми по размеру и лёгкими, т. е. сделать регулятор чувствительным. Во-вторых, оно является регулировочным сопротивлением панели и, в-третьих — увеличивает точность действия регулятора. Во время работы вспомогательного генератора катушки регулятора нагреваются, а следовательно, изменяется их сопротивление. Сопротивление же R4 изготовлено из материала, величина удельного сопротивления которого мало изменяется при увеличении температуры. А так как величина сопротивления R4 составляет примерно 40 ом, т. е. больше сопротивления катушек в 10—11 раз, то общее сопротивление цепи будет изменяться незначительно.
Ток, проходя по обмоткам катушек регулятора, создаёт электромагнитный поток, и подвижная катушка будет притягиваться к неподвижной. С ростом напряжения вспомогательного генератора будет увеличиваться и сила притяжения катушек. Когда же напряжение вспомогательного генератора станет равным 75 в, сила притяжения катушек будет настолько большой, что якорь регулятора, преодолевая натяжение пружины, повернётся так, что подвиж-
ный контакт отойдёт от правого неподвижного и займёт среднее положение, как это изображено на схеме электрических соединений.
Когда подвижный контакт займёт среднее положение, то ток возбуждения вспомогательного генератора, пройдя сопротивление Р0, пойдёт по двум параллельно включённым сопротивлениям Р1 и РЗ и только после этого попадёт в обмотку возбуждения.
Общее сопротивление цепи возбуждения увеличивается при этом примерно на 13 ом, а ток возбуждения вспомогательного генератора уменьшается почти вдвое.
При уменьшении тока возбуждения упадёт напряжение вспомогательного генератора, уменьшится величина тока в катушках регулятора и сила притяжения их, а поэтому якорь под действием пружины повернётся так, что подвижный контакт прижмётся к правому неподвижному. Тогда сопротивления Р1 я ЯЗ будут закорочены, сопротивление цепи возбуждения упадёт, а величина тока возбуждения увеличится.
При увеличении тока возбуждения увеличится напряжение вспомогательного генератора, следовательно, возрастёт величина тока и сила притяжения катушек регулятора напряжения. Это заставит якорь регулятора снова повернуться и занять среднее положение.
Таким образом, якорь регулятора будет постоянно вибрировать так, что подвижный контакт будет то прижиматься к правому неподвижному, та занимать среднее положение. При этом в цепь возбуждения будет включаться то одно сопротивление Р0 — 5 ом, то три сопротивления Р0, Р1 и РЗ так, что общее сопротивление их составит примерно 18.сш. Величина же результирующего сопротивления будет плавно изменяться от 5 до 18 ом в зависимости от соотношения времени нахождения подвижного контакта у правого неподвижного и времени нахождения подвижного контакта в среднем положении.
Величина напряжения вспомогательного генератора будет изменяться в очень небольших пределах с частотой колебания якоря регулятора и практически считается величиной постоянной.
Заметим, что и после перехода вспомогательного генератора на самовозбуждение схема действия регулятора напряжения не изменится.
Если же вследствие увеличения оборотов двигателя или уменьшения нагрузки напряжение вспомогательного генератора будет увеличиваться и достигнет 76 е, то сила притяжения катушек будет настолько большой, что якорь регулятора повернётся и подвижный контакт прижмётся к левому неподвижному.
Ток, идущий на питание обмотки возбуждения вспомогательного генератора, пройдя сопротивление Р0, а затем два параллельно включённых сопротивления Р1 и РЗ, пойдёт частично на возбуждение вспомогательного генератора, а большая его часть пойдёт по среднему подвижному и левому неподвижному контактам, по перемычке и сопротивлению Р2 прямо к минусовой клемме вспомогательного генератора или аккумуляторной батареи. Обмотка возбуждения вспомогательного генератора окажется зашунтированной сопротивлением Р2 — 3,7 ом. Это значительно уменьшит ток возбуждения, а поэтому понизится и напряжение вспомогательного генератора.
При понижении напряжения вспомогательного генератора упадёт величина тока и сила притяжения катушек, и якорь регулятора под действием пружины станет в среднее положение.
При этом шунтировка обмотки возбуждения будет устранена. Ток возбуждения, напряжение вспомогательного генератора и сила притяжения катушек регулятора увеличатся. Тогда подвижный контакт снова прижмётся клевому неподвижному. Так будет происходить вибрация подвижного контакта у левого неподвижного контакта.
При увеличении оборотов двигателя ток, идущий по шунтирующему сопротивлению Р2, достигает большой величины. Это вызывает усиленный нагрев левого неподвижного и подвижного контактов. С целью уменьшения обгора-
ния левый неподвижный контакт делается из серебряного сплава и, кроме, того, применено устройство с промежуточным реле ПР.
Катушка промежуточного реле получает питание на пятой позиции ■контроллера одновременно с катушкой вентиля ТЗ электропневматического механизма регулятора двигателя, электрическая цепь которой будет описана ниже.
При включении промежуточного реле ПР его обратная блокировка выключается и разрывает цепь возбуждения через сопротивление ЯЗ Выключение одного из двух параллельно включённых сопротивлений значительно увеличит сопротивление цени возбуждения, а следовательно, ток возбуждения ■сильно упадёт. Этим и облегчается действие регулятора напряжения
Действие реле обратного тока. По схеме электрических соединений тепловоза видно, что встречная катушка реле обратного тока включена постоянно к плюсовым клеммам вспомогательного генератора и аккумуляторной батареи. Величина и направление тока в ней зависят от разности потенциалов вспомогательного генератора и аккумуляторной батареи.
С момента включения разъединителя батареи 106 ток потечёт от плюсовой клеммы батареи по кабелю 451, проводу 265. предохранителю 114, проводу 233, шунту 119, проводу 232, сопротивлению зарядки батареи СЗБ и проводу 113 к встречной катушке реле обратного тока. Пройдя катушку, ток по^перемычке подходит к секции столбика сопротивления реле в 25 ом, а, пройдя её, ток по перемычке и сериесной катушке реле, проводу 262, плавкой вставке предохранителя 114 на 80 а и проводу 263 подходит к плюсовой клемме вспомогательного генератора. Пройдя по обмоткам дополнительных полюсов и якоря вспомогательного генератора, ток по проводу 264 и кабелю 452 возвращается к минусовой клемме батареи.
По встречной катушке в этом случае будет итти наибольший ток, и она созместно с пружиной будет надёжно удерживать якорь реле в выключенном положении.
При пуске двигателя, когда напряжение вспомогательного генератора будет расти, а разность напряжений батареи и вспомогательного генератора будет уменьшаться, величина тока во встречной катушке будет становиться всё ■меньше и меньше. При равенстве напряжений батареи и вспомогательного генератора ток во встречной катушке будет равен нулю. Когда же напряжение вспомогательного генератора станет выше напряжения батареи, по обмотке встречной катушки пойдёт ток обратного направления.
Шунтовая катушка реле обратного тока постоянно подключена к клеммам гспомсгательного генератора. Величина тока в ней будет пропорциональна напряжению вспомогательного генератора.
Уже при пуске двигателя, когда будет расти напряжение вспомогательного генератора, от его плюсовой клеммы по проводу 263 пойдёт ток к предохранителю 114. а затем по проводу 262, сериесной катушке реле .РОТ, проводам 111 и 112, сбратной блокировке контактора Б, проводу 114 и по столбику сопротивления реле в 100 ом к шунтовой катушке реле. Пройдя по обмотке катушки реле, ток по проводам ПО, 279, 131 и 264 вернётся к минусовой клемме вспомогательного генератора.
При увеличении напряжения вспомогательного генератора будет расти величина тока в катушке. Сердечник шунтовой катушки будет всё сильнее притягивать верхний конец якоря реле. Сила притяжения нижнего конца якоря сердечником встречной катушки, как уже было показано, при этом, наоборот, будет уменьшаться.
При разборе действия реле нужно иметь в виду, что оно зависит не от соотношения токов в катушке, а от результирующего магнитного потока в Ш-образной магнитной системе реле, так как магнитный поток сердечника одной катушки имеет возможность воздействовать на магнитные потоки сердечников двух других катушек.
При равенстве напряжений вспомогательного генератора и батареи величина тока во встречной катушке реле равна нулю. Магнитный же поток сердечника её имеет определённое значение и наведён магнитным потоком шунтовой катушки. Когда же напряжение вспомогательного генератора станет выше напряжения батареи и по встречной катушке пойдёт ток обратного направления, магнитный поток сердечника станет уменьшаться.
Срабатывание реле происходит, когда напряжение вспомогательного генератора становится выше напряжения батареи на 3 в.
При включении реле замыкается его блокировка РОТ и соединяет провода 215 и 209. Если к этому моменту пуск двигателя окончен и обратная блокировка контактора КС1 соединила провода 209 и 291, то получится разобранная выше цепь питания тяговой катушки контактора £ и он включится.
С момента включения контактора Б почти весь ток вспомогательного генератора будет итти по сериесной катушке реле обратного тока, и данная катушка, имеющая очень небольшое число витков, наводит в своём сердечнике^ большой магнитный поток, который направлен так, что помогает шунтовой катушке реле удерживать якорь реле во включённом положении.
При включении контактора зарядки батареи его обратная блокировка Б выключится, провод 114 отсоединится от провода 112, а в цепь шунтовой катушки реле введётся сопротивление 400 ом. Ослабление действия шунтовой катушки реле сделано для облегчения выключения реле при обратном токе.
Во время нормальной работы тепловоза реле остаётся включённым.
Если же напряжение вспомогательного генератора по какой-либо причине станет ниже напряжения аккумуляторной батареи, то магнитный поток шунтовой катушки уменьшится, а магнитный поток сериесной катушки изменит своё направление и станет помогать встречной катушке выключать реле обратного тока, Когда величина обратного тока будет примерно 9 а, реле выключится и его прямая блокировка разорвёт цепь питания катушки контактора Б.
При выключении контактора Б вспомогательный генератор будет отсоединён от аккумуляторной батареи.
Увеличение числа оборотов двигателя. После того как двигатель прогреется, а компрессор накачает воздух в воздушные резервуары, можно увеличить число оборотов двигателя.
Для увеличения числа оборотов двигателя нужно перевести реверсивную рукоятку контроллера 102 в одно из крайних положений, убедиться, что кнопка «Управление машинами» выключена, и перевести главную рукоятку контроллера из положения холостого хода на вторую рабочую позицию. При этом третий сверху палец главного барабана контроллера соединяет провод 45 с проводом 16 и электрический ток пойдёт к клемме 4И1, а от неё по проводу 77 к клемме 114 и по проводу 394 к катушке вентиля Т1 электропневматического механизма регулятора оборотов двигателя, а, пройдя её, по проводам 396. 398, 393, 279, 131 и 264 возвратится к минусовой клемме вспомогательного генератора ВГ.
Вентиль Т1, включившись, сообщит специальный резервуар с соответствующим цилиндром механизма,и сжатый воздух поднимет поршенёк, сжимая этим через специальную рычажную передачу всережимную пружину регулятора. Сервомотор регулятора посредством рычажной передачи выдвинет рейки секций топливного насоса, и двигатель увеличит число оборотов с 270 до 355 в мин.
При перестановке главной рукоятки контроллера на третью позицию цепь питания катушки вентиля 77 разорвётся, а пятый сверху палец контроллера включится и соединит провода 45 и //. Это создаст цепь питания катушки вентиля Т2 по проводам 11, 74 и 395. Включение вентиля Т2 обеспечит подъём соответствующего поршенька механизма и всережимная пружина будет нагружена ешё сильнее, что вызовет увеличение числа оборотов двигателя до 430 в мин. При перемещении главной рукоятки контроллера на четвёртую позицию включаются третий и пятый сверху пальцы главного барабана контроллера, чем вызывается включение вентилей 77 и Т2 вместе. Это обеспечивает
такую затяжку всережимной пружины, что обороты двигателя становятся равными 495 в мин.
При перестановке главной рукоятки контроллера на пятую позицию третий и пятый пальцы контроллера выключаются, а четвёртый сверху палец главного барабана включается и соединяет провода 45 и 9, что создаёт цепь питания катушки вентиля ТЗ по проводам 73 и 397 и обороты двигателя возрастают до 555 в мин.
Отметим, что к клемме 2/1, помимо провода 397, присоединён ещё провод 216, идущий к катушке промежуточного реле ПР регулятора напряжения.
При установке главной рукоятки на шестую позицию включаются вместе третий и четвёртый пальцы контроллера, что создаёт цепи питания катушек вентилей 77 и ТЗ, а обороты двигателя становятся равными 615 в мин.
Перестановка главной рукоятки контроллера на седьмую позицию обеспечивает включение четвёртого и пятого пальцев, управляющих цепями катушек вентилей Т2 и ТЗ, а обороты двигателя растут до 675 в мин.
Если поставить главную рукоятку контроллера на восьмую позицию, то включаются третий, четвёртый и пятый пальцы контроллера. Это обеспечивает создание цепей питания катушек вентилей 77, Т2, ТЗ. Обороты двигателя при этом становятся максимальными и равными 740 в мин.
Приведение тепловоза в движение. Общие сведения. Для приведения тепловоза в движение нужно главную рукоятку контроллера установить на «Холостой ход», перевести реверсивную рукоятку в положение «Вперёд» или «Назад», в зависимости от требуемого направления движения тепловоза, включить кнопку «Управление машинами» и поставить главную рукоятку контроллера на первую позицию. Если тепловоз тронулся с места и желательно увеличить скорость движения, то следует переставлять главную рукоятку контроллера на следующие позиции до достижения нужной скорости движения.
Если тепловоз с тяжёлым составом в течение примерно 15 сек. не трогается с места, то рукоятку контроллера следует быстро вернуть в положение «Холостой ход», переставить реверсивную рукоятку в положение противоположного направления движения и снова поставить рукоятку на первую позицию. Тепловоз должен тронуться с места и сжать состав. После этого должно быть произведено трогание вперёд обычным порядком.
Категорически запрещается производить трогание с места включением кнопки «Управление машинами» при положении главной рукоятки на рабочих позициях, что иногда практикуется при неустойчивой работе реле давления масла на холостых оборотах двигателя.
Электрическая схема приведения тепловоза в движение довольно сложная и для облегчения изучения условно разделяется на ряд более простых цепей, а именно: а) цепи управления контакторами; б) цепи возбуждения машин; в) силовую цепь при последовательном соединении тяговых Электродвигателей.
Цепи управления контакторами возбуждения возбудителя ВВ, возбуждения главного генератора ВГ и сериесным контактором С На всех рабочих позициях рукоятки контроллера 102 два его верхних пальца остаются включёнными и провод 45 оказывается соединённым с проводом 8, идущим к клемме 4/5, которая проводом 7 соединена с кнопкой «Управление машинами». Так как данная кнопка включена, то электрический ток пойдёт по названной выше цепи, по мостику кнопки, по вставке предохранителя на 10 а и по проводу 4 к клемме 4/4. При движении вперёд электрический ток от данной клеммы пойдёт по проводу 44, по верхнему пальцу блокировочного барабана контроллера, по проводу 2 к клемме 4/1, по проводу 65 к клемме 1/10 и по проводу 202 к блокировочному пальцу реверсора 101, который перемычкой постоянно связан с катушкой «Вперёд» вентиля электропневматического привода реверсора. Минусовая клемма катушки проводами 275, 193, 236, 131 и 264 постоянно связана с минусовой клеммой Я2ВГ вспомогательного генератора В Г. Вентиль «Вперёд» включится и сообщит резервуар со сжатым воздухом
с цилиндром пневматического привода реверсора. Реверсор, повернувшись, главными сегментами произведёт нужное включение обмоток возбуждения тяговых электродвигателей в силовую цепь, а блокировочный барабан реверсора обеспечит соединение провода 202 с проводами 152, 153 и 151. Тогда го проводу 153, обратной блокировке реле боксования передней тележки РБ1, проводу 156, обратной блокировке реле боксования задней тележки РБ2, проводу 157, обратной блокировке реле заземления РЗ и по проводу 158 пойдёт ток на питание тяговой катушки контактора возбуждения возбудителя ВВ, минусовая клемма которой проводами 194 и 278 постоянно связана с основной минусовой клеммой 2/8. Контактор ВВ включится, и возбудитель ß получит возбуждение.
По проводу 151 пойдёт ток к катушке вентиля электропневматического привода сериесного контактора С по ножам отключателей тяговых электродвигателей ОМ1—2 и ОМЗ—4, проводу 161, обратной блокировке сериес-параллельного контактора СП1 и по проводу 163. Включение контактора С обеспечит создание последовательного (сериесного) соединения тяговых электродвигателей 1—4. Прямая блокировка контактора С создаст замкнутую цепь питания катушки контактора возбуждения главного генератора ВГ по проводам 162 и 164, обратной блокировке реле управления РУ1, проводам 165 и 166, обратной блокировке контактора КС2, проводу 167, обратной блокировке реле РЗ и по проводу 168. Это вызовет включение контактора ВГ, после чего главный генератор получит возбуждение.
Цепи возбуждения возбудителя. Шунтовая обмотка возбудителя имеет два источника питания — от вспомогательного генератора и самовозбуждение.
Ток от вспомогательного генератора после включения контактора возбуждения возбудителя ßß идёт по проводу 118, контактам и шунту контактора ßß, по сопротивлениям плавного пуска панели СВВ, а затем по двум параллельно включённым ветвям.
Одна из этих ветвей образуется проводами 225 и 224, верхней частью сопротивления, укреплённого на панели токового реле перегрузки РТ, задним неподвижным и подвижным контактами и катушкой этого реле, проводом 234, правыми ножами отключателей ОМ1—2 и ОМЗ—4. Другая ветвь образуется сопротивлениями панели возбудителя СВВ и проводом 238. Эта ветвь питания шунтовой обмотки постоянно замкнута во всё время работы тепловоза под током. Назначение первой ветви питания шунтовой обмотки возбуждения возбудителя становится ясным при разборе действия реле перегрузки РТ.
Токи, идущие по двум параллельным ветвям, суммируются и по проводу 239 подходят к шунтовой обмотке возбуждения возбудителя, а затем, пройдя её, по проводам 284, 279, 131 и 264 возвращаются к минусовой клемме вспомогательного генератора.
Ток самовозбуждения возбудителя идёт от его плюсовой клеммы ßlB по проводам 259 и 257, сопротивлению самовозбуждения панели возбуждения возбудителя СВВ и по проводам 238 и 239 к шунтовой обмотке, а, пройдя её, по перемычкам возвращается к минусовой клемме возбудителя ß2B.
Сопротивление самовозбуждения величиной примерно 25 ом, помимо своей основной функции, выполняет ещё роль сопротивления разрядки индуктивной цепи возбуждения возбудителя в момент выключения контактора возбуждения возбудителя ßß.
Противокомпаундная обмотка возбудителя включена в силовую цепь тяговых электродвигателей и по ней проходит весь ток силовой цепи. Противокомпаундная обмотка возбуждения возбудителя и составляет, как известно, основу автоматической машинной регулировки.
Возбуждение главного генератора. После включения контактора возбуждения главного генератора ВГ почти весь ток возбудителя ß от его клеммы fllB идёт по проводу 259, замкнутым контактам контактора возбуждения генератора ВГ и по проводу 483 к клемме Н1 на питание неза-
висимой обмотки возбуждения главного генератора Г и от её клеммы Н2 по проводу возвращается к клемме Я2В возбудителя.
Цепь возбуждения главного генератора Г замкнута во всё время движения тепловоза под током и только в момент переключения тяговых электродвигателей с последовательного на последовательно-параллельное соединение контактор ВГ выключается с целью значительного ослабления возбуждения генератора. Возбуждение в этот момент будет осуществляться через сопротивление в 14 ом панели возбуждения генератора СВГ, а поэтому тепловоз не потеряет полностью силу тяги, что в известной мере сгладит толчки. Следует заметить, что это сопротивление, помимо указанной функции, играет ещё роль разрядного сопротивления для обмотки возбуждения главного генератора в момент выключения контактора возбуждения генератора ВГ.
Силовая цепь при последовательном соединении тяговых электродвигателей. Последовательное соединение тяговых электродвигателей предназначено для трогания тепловоза с места и движения со скоростью примерно до 15—17 км/час. При последовательном соединении электродвигателей по ним идёт ток наибольшей величины, чем обеспечивается получение большой силы тяги. Силовая цепь оказывается замкнутой после поворота вала реверсора 101 и включения сериесного контактора С, т. е. ещё до возбуждения главного генератора Г.
При последовательном соединении электродвигателей /, 2, 3 и 4 ток главного генератора Г идёт по кабелю 463, якорному выводу четвёртого электродвигателя ЯЯ4, обмотке якоря и дополнительных полюсов этого электродвигателя, второму выводу четвёртого электродвигателя ;Я4, кабелю 473, якорным выводам и обмоткам третьего электродвигателя к держателю силовых пальцев реверсора 101. При движении данной секции тепловоза вперёд кабиной машиниста ток по кабелю 475 пойдёт к выводу обмотки возбуждения четвёртого электродвигателя КК4 и далее по этой обмотке к её второму выводу 1(4, по кабелю 476, по выводу ККЗ, обмотке возбуждения третьего электродвигателя, выводу КЗ, кабелю 477 ток подойдёт к держателю силовых пальцев реверсора, к кабелю 129, зажиму неподвижного контакта сериес-параллельного контактора СП1, а затем по шине 249 к включённым контактам сериесного контактора С, по шине 250 к зажиму подвижного контакта сериес-параллельного контактора СП2, кабелю 464, якорным выводам и обмоткам второго и первого тяговых электродвигателей и далее по кабелю 466 к пальцедержателю реверсора.
Пройдя сегменты реверсора и обмотки возбуждения второго и первого электродвигателей, ток пойдёт по кабелю 133, шунту 152 амперметра 151, кабелям 135, противокомпаундной обмотке возбуждения возбудителя. Затем по кабелям 458 электрический ток пойдёт к клемме Д2 главного генератора Г.
Прохождение тока по обмоткам якорей и возбуждения тяговых электродвигателей вызовет вращение их якорей, которое односторонней зубчатой передачей будет передано движущим колёсным парам тепловоза.
Если бы перед троганием тепловоза реверсивная рукоятка была переставлена в положение «Назад», то после включения кнопки «Управление машинами» и перевода главной рукоятки контроллера в первое положение получила бы питание катушка вентиля реверсора «Назад». Это обусловило бы поворот реверсора в другое положение, а поэтому левый первый сверху силовой пальцедержатель реверсора 101 оказался бы соединённым с правым вторым сверху пальцедержателем, а левый второй сверху — с правым верхним пальцедержателем.
Нижние пальцедержатели также соединились бы «накрест». Это обусловило бы соединение кабеля 129 не с 477, а с 475, а кабеля 477 с кабелем 474. Соединение кабелей, подходящих к реверсору и электродвигателям первой тележки, также изменится. Изменение направления тока в обмотках возбуждения тяговых электродвигателей вызовет изменение направления вращения якоря, т. е. изменение направления движения тепловоза.
Регулирование скорости движения. Увеличение скорости движения. На тепловозе серии ТЭ2 регулирование скорости движения осуществляется изменением величины напряжения, подводимого к тяговым электродвигателям, переключением их в различные группы и применением ослабления магнитного потока.
Известно, что напряжение главного генератора зависит от числа оборотов якоря и возбуждения. Увеличение числа оборотов и возбуждения главного генератора достигается перестановкой рукоятки контроллера на вторую и последующие позиции. При перестановке главной рукоятки контроллера на вторую рабочую позицию включается второй снизу палец, который соединяет провод 45 с проводом 12 и по ним пойдёт ток к клемме 4/9, а затем по проводу 75 к клемме 2/2 и по проводу 207 к катушке реле управления РУ2, минусовая клемма которой постоянно связана проводами 236, 131 и 264 с минусовой клеммой вспомогательного генератора. Это вызовет включение реле РУ2.
Реле управления РУ2, включившись, закоротит часть сопротивления плавного пуска панели возбуждения возбудителя СВВ проводами 229, 227 и 228.
Если же главная рукоятка контроллера будет переведена в третью позицию, то включится ещё и третий снизу палец. Это создаст замкнутую цепь (по проводам 14, 76 и 205) питания катушки реле управления РУЗ. Включение этого реле обеспечит полное закорачивание сопротивления плавного пуска панели СВВ проводами 229, 227 и 225. Закорачивание части или всего сопротивления плавного пуска значительно увеличивает возбуждение возбудителя, а следовательно, и возбуждение главного генератора. Помимо воли машиниста, происходит автоматическое изменение напряжения в силовой цепи в зависимости от скорости движения, обусловленное наличием автоматической машинной регулировки.
Переключение тяговых электродвигателей с последовательного соединения на последовательно-параллельное происходит автоматически и управляется реле переходов РП.
Последним способом увеличения скорости движения тепловоза является метод изменения параметров двигателя.
Известно, что при ослаблении магнитного потока, создаваемого главными полюсами двигателя, скорость вращения его якоря возрастает. Уменьшить магнитный поток можно, закорачивая часть обмотки главных полюсов или подключая параллельное сопротивление — шунт (отсюда и название «шунти-ровка поля»). Первый метод является более экономичным, но конструктивно более сложным, а поэтому получил распространение второй метод — шунти-ровка, так как при этом не требуется дополнительных выводов от катушек главных полюсов тяговых электродвигателей.
Шунтировка поля тяговых электродвигателей производится автоматически и управляется тем же реле переходов РП. -
Действие реле переходов. Действие и электрическая схема включения реле переходов могут быть рассмотрены по схеме электрических соединений тепловоза.
Токовая' катушка реле переходов подключена параллельно противокомпаундной обмотке возбудителя и обмотке дополнительных полюсов генератора к минусовой клемме главного генератора -Я2Г через регулируемое сопротивление СРП, величина которого составляет обычно около 1,86 ом, и к зажиму шунта 152.
Величина тока в токовой катушке реле переходов пропорциональна величине тока в силовой цепи.
При трогании тепловоза с места токовая катушка совместно с пружиной надёжно удерживают якорь реле в выключенном положении.
Шунтовая катушка реле подключена к клеммам главного генератора через переменное сопротивление панели СРП.
При последовательном соединении двигателей ток в шунтовую катушку реле переходов пойдёт от зажима неподвижного контакта сериес-параллельного
контактора СП2 по проводам 241 и 240, первой и второй секциям сопротивления панели СРП, проводу 243, обратной блокировке реле времени РВ, проводам 244 и 245, прямой блокировке контактора возбуждения главного генератора ВГ и проводам 103 и 104. Пройдя шунтовую катушку реле, ток частично по проводу 105 и через токовую катушку, а большей частью по проводу 106, кабелю 135 и т. д. уйдёт к минусовой клемме главного генератора.
Величина тока в шунтовой катушке реле пропорциональна напряжению в силовой цепи, а потому при увеличении скорости движения тепловоза эта катушка будет становиться всё сильнее и сильнее.
Количество витков токовой и шунтовой катушек реле подобрано так, что реле переходов включается при таком соотношении напряжения и тока в силовой цепи, которое соответствует скорости движения тепловоза примерно 15—• 17 км/час.
Переключение с последовательного на после-довательн о-п араллельное соединение тяговых электродвигателей. Переключение электродвигателей с последовательного на последовательно-параллельное соединение желательно производить как можно раньше. Ограничивающим условием является величина тока в сило-еой цепи, которая после переключения на последовательно-параллельное соединение не должна превосходить максимально допустимого значения. Исходя из этого, переключение производится при скорости движения 15—17 км/час.
Переключение электродвигателей на последовательно-параллельное соединение производится автоматически при помощи реле переходов РП.
При включении реле переходов включаются обе его прямые блокировки. Замыкание блокировки реле РП, включённой между проводами 154 и 183, не создаёт цепи питания катушек контакторов шунтировки поля Ш1 и UI2, так как эта' цепь остаётся разорванной прямой блокировкой контактора СП2.
Замыкание блокировки реле РП, включённой между проводами 181 и 178, создаёт замкнутую цепь питания катушки реле управления РУ1.
Ток вспомогательного генератора пойдёт от кнопки «Управление машинами» по проводу 4 к клемме 4/4, а затем по проводу 5 к выключателю реле переходов 108. Этот выключатель во время нормальной работы тепловоза находится во включённом положении, а потому ток пойдёт по его контактам, по проводу 3 к клемме 4/3, по проводу 67 к клемме 2/16 и далее по проводу 77с? к катушке реле управления РУ1, минусовая клемма которого проводами 196, 195, 194 и 278 постоянно соединена с минусовыми клеммами 2/9 и 2/8.
Реле управления РУ1, включившись, обеспечит по проводам 180 и 179 независимое от прямой блокировки реле переходов РП питание своей катушки.
Обратная блокировка реле РУ1, включённая между проводами 164 и 165 в цепи питания катушки контактора возбуждения главного генератора ВГ, выключится, чем вызовет отключение этого контактора.
Контактор ВГ, выключившись, значительно ослабит возбуждение главного генератора. Величина тока и напряжения в силовой цепи резко упадёт, а потому переключение двигателей с последовательного на последовательно-параллельное соединение будет происходить при почти обесточенной силовой цепи.
Прямая блокировка контактора ВГ, включённая между проводами 245 и 103, выключается, чем в цепь шунтовой катушки реле переходов РП вводится большое сопротивление (11 600 ом) панели СРП. Это вызывает отключение реле РП.
Обратная блокировка контактора возбуждения главного генератора ВГ включается и создаёт цепь питания катушки вентиля контактора СП1. Ток вспомогательного генератора идёт от плюсовой клеммы катушки реле управления РУ1 по проводам 178, 177, 174, 173, 172, 171, ножу отключателя электродвигателей задней тележки ОМЗ—4 и по проводу 175 к катушке вентиля СП1, а затем по проводам 210, 211 и 277 — к минусовым клеммам 2/8
и 2/9. Возбуждение катушки вентиля вызовет включение сериес-параллель-ного контактора СП1.
После включения контактора СП1 ток силовой цепи будет проходить только по двигателям 3 и 4 задней тележки, а двигатели 1 я 2 передней тележки будут закорочены. Этот способ переключения двигателей и получил своё название — переключение закорачиванием.
Прямая блокировка сериес-параллельного контактора СП1, включённая между проводами 176 и 172, при замыкании контактора включается, чем создаёт цепь питания вентиля контактора СП1, независимую от обратной блокировки контактора возбуждения генератора ВГ.
Обратная блокировка контактора СП1, включённая между проводами 161 и 163, выключается, чем разрывает цепь питания катушки вентиля контактора С последовательного соединения электродвигателей. Контактор С, ^выключившись, разорвёт цепь короткого замыкания двигателей передней тележки. Прямая блокировка контактора С, включённая между проводами 162 и 164 в цепи питания катушки контактора возбуждения главного генератора ВГ, выключится и ещё раз разорвёт эту цепь (она была разорвана выключением обратной блокировки реле управления РУ1).
Обратная блокировка контактора С включится и соединит провода 173 я 267. Тогда ток вспомогательного генератора от прямой блокировки контактора СП1 пойдёт по проводу 173, по обратной блокировке контактора С, по проводу 267, по ножу отключателя электродвигателей передней тележки ОМ1—2 и по проводу 268 к катушке вентиля электропневматического привода контактора СП2. Минусовая клемма этой катушки проводами 190, 189, 210, 211 и 277 постоянно связана с минусовыми клеммами 2/9 и 2/8.
Возбуждение катушки вентиля вызовет включение контактора СП2.
Контактор СП2 имеет три прямые блокировки, которые при включении контактора все замыкаются.
Блокировка, включённая между проводами 241 я 242, закорачивает столбик сопротивления панели СРП, чем усиливается действие шунтовой катушки реле переходов.
Блокировка, включённая между проводами 183 я 186, подготовляет цепь питания катушек контакторов шунтировки поля Ш1 я Ш2. Третья блокировка соединяет провода 266 я 166, чем создаётся цепь питания катушки контактора ВГ по указанным выше проводам, через обратную блокировку пускового контактора К.С2, по проводу 167, через обратную блокировку реле заземления РЗ я по проводу 168.
Включением контактора возбуждения главного генератора заканчивается переключение с последовательного на последовательно-параллельное соединение.
При подключении контактора В Г включается его прямая блокировка между проводами 245 я 103 в цепи сопротивлений панели реле переходов СРП, чем реле переходов РП будет полностью подготовлено ко второму включению.
Силовая цепь при последовательно-параллельном соединении тяговых электродвигателей. Последо вательно-параллельное соединение электродвигателей получается при включённых контакторах СП1 я СП2 я выключенном контакторе С, при этом ток главного генератора разветвляется по двум параллельным цепям.^
Действительно, ток генератора от плюсовой клеммы #1Г пойдёт по двум путям:
по кабелю 463 ток идёт в обмотки якорей и дополнительных полюсов, а затем в обмотки главных полюсов тяговых электродвигателей задней тележки, после чего проходит по включённым контактам контактора СЛ1 я по ка-белю 130 подходит к сериесной катушке реле перегрузки РТ, а затем по гци-не 282 на зажим шунта 152 амперметра 151 силовой цепи;
по кабелю 462 я замкнутым контактам контактора СП2 я кабелю *64 ток генератора идёт в двигатели передней тележки, а затем по кабелю 133 подходит к шунту 152, где суммируется с током разобранной выше параллельной
цепи, и по кабелям 135, по противокомпаундной обмотке возбудителя и по кабелям 458 возвращается на клемму Д2 генератора.
Шунтировка поля тяговых электродвигателей. Шунтирующие сопротивления к обмоткам возбуждения тяговых электродвигателей на тепловозе серии ТЭ2 подключаются и отключаются автоматически при помощи реле переходов РП.
После достижения тепловозом скорости движения 30—32 км/час в силовой цепи получается такое соотношение величины тока и напряжения, что реле переходов РП включается и замыкает обе свои прямые блокировки.
Верхняя блокировка реле, включённая между проводами 181 и 178. новых цепей не создаёт, так как она включается параллельно прямой блокировке реле управления РУ1.
Нижняя блокировка, включившись, соединит провода 154 и 183. Этим будет создана цепь питания катушек контакторов шунтировки. поля Ш1 и Ш2. Действительно, ток вспомогательного генератора от блокировки реверсора 101 пойдёт по проводу 153 на питание катушки контактора возбуждения возбудителя ВВ, а по проводам 154 и 183 через прямую блокировку контактора СП2 и по проводу 186— к катушкам контакторов Ш1 и Ш2. Минусовые клеммы этих катушек проводами 191, 190,189,210,211 и 277 постоянно связаны с минусовыми клеммами 2/9 и 2/8.
После включения контактора шунтировки поля Ш1 параллельно обмоткам возбуждения тяговых электродвигателей 1 к 2 передней тележки подключается сопротивление шунтировки СШ1.
Включение контактора Ш2 обеспечивает подключение сопротивления шунтировки СШ2 параллельно обмоткам возбуждения тяговых электродвигателей 3 и 4 задней тележки.
Величины сопротивлений шунтировки поля СШ1 и СШ2 подобраны таким образом, что по ним будет проходить примерно 50% тока каждой цепи. Этим обеспечивается уменьшение возбуждения тяговых электродвигателей и увеличение скорости движения тепловоза.
При включении контактора шунтировки поля Ш1 замыкается его прямая блокировка, включённая между проводами 152 и 188 в цепи питания катушки реле времени РВ. Минусовая клемма катушки реле проводами 195, 194 и 278 постоянно связана с минусовыми клеммами 2/9 и 2/8, а потому после включения прямой блокировки контактора шунтировки Ш1 по катушке реле пойдёт ток и реле включится.
Включение реле времени РВ вызывает выключение его обратной блокировки, помещённой между проводами 243 и 244, чем в цепь шунтовой катушки реле переходов РП будет включено добавочное сопротивление для облегчения условий выключения реле.
Если скорость движения тепловоза будет расти и дальше, то величина тока в силовой цепи будет уменьшаться до значения, необходимого для создания силы тяги, равной сопротивлению движению при данной скорости. Такую скорость движения называют равномерной или равновесной. С равновесной скоростью тепловоз будет двигаться до тех пор, пока не изменится сопротивление движению или машинист не переставит главную рукоятку контроллера на другую позицию. Если сопротивление движению возрастёт, то скорость движения тепловоза будет падать и когда упадёт до величины примерно 24 — 23 км/час, реле переходов РП выключится. При выключении реле переходов РП выключаются обе его прямые блокировки.
Верхняя блокировка реле РП, включённая параллельно прямой блокировке реле управления РУ1, при своём выключении цепей питания катушек аппаратов не разрывает. При выключении же нижней блокировки реле РП разрывается цепь питания катушек контакторов шунтировки поля 1111 и Ш2, чем вызывается их выключение.
При отключении сопротивлений шунтировки поля CU11 и СШ2 происходит значительное уменьшение величины тока в силовой цепи и некоторое уве* личение напряжения. Это изменение соотношения величины тока и напря-
жения в силовой цепи достигает такого значения, что могло бы вызвать повторное включение реле переходов. Чтобы не допустить этого нежелательного включения реле РП, и служит реле времени РВ.
При отключении контактора шунтировки поля Ш1 его прямая блокировка выключается и разрывает цепь питания катушки реле времени РВ, но якорь реле времени не отпадает ещё 3—4 сек., а потому его обратная блокировка в цепи сопротивлений реле переходов СРП не замыкается, чем не допускает включения реле переходов РП даже при некотором увеличении напряжения и значительном уменьшении величины тока в силовой цепи.
По истечении указанного времени реле времени выключится и своей обратной блокировкой подготовит реле переходов к повторному включению, которое может произойти при увеличении скорости движения до 30—32 км/час.
Переключение с последовательно-параллельного соединения тяговых электродвигателей на ^последовательно е. При увеличении тока в цепи двигателей задней тележки до 630—660 а, что соответствует току главного генератора 1 260 — 1 320 а, начинает работать защитное реле перегрузки РТ.
Реле перегрузки РТ имеет две катушки: шунтовую, включённую в цепь возбуждения возбудителя, и сериесную, включённую в минусовую цепь тяговых электродвигателей задней тележки между кабелем 130 и шиной 282.
При токе 630—660 а в сериесной катушке реле перегрузки РТ последнее включается и его подвижный контакт отходит от заднего неподвижного контакта. Этим разрывается одна из ветвей возбуждения возбудителя, питаемая током вспомогательного генератора, чем снижается возбуждение главного генератора.
Реле перегрузки работает по вибрационному принципу. Действительно, как только реле включится, цепь питания шунтовой катушки будет разорвана и реле выключится. Затем последуют новые включения и выключения реле.
Если скорость движения тепловоза будет уменьшаться и дальше, то величина тока в силовой цепи будет расти ещё выше. При токе в сериесной катушке реле 680—700 а якорь реле занимает среднее положение равновесия. Если скорость движения будет уменьшаться и величина тока в сериесной катушке реле достигнет значения 700—715 а, то якорь реле повернётся так, что подвижный контакт замкнётся с передним (на схеме нижним) неподвижным контактом.
Теперь ток вспомогательного генератора, пройдя сопротивление панели СВВ и провод 238, пойдёт частично на возбуждение возбудителя, а другая часть тока по ножам отключателей тяговых электродвигателей, по проводу 234, шунтовой катушке и нижней секции сопротивления реле перегрузки, а затем по проводу 193 уйдёт прямо к минусовой клемме вспомогательного генератора, обмотка возбуждения возбудителя окажется зашунтированной.
Реле и сейчас будет действовать как вибрационное потому, что по шунтовой катушке реле будет проходить ток противоположного направления и её магнитный поток будет уменьшать магнитный поток, наведённый сериесной катушкой.
Реле перегрузки может так сильно уменьшить возбуждение возбудителя, а значит, и главного генератора, что тепловоз остановится. Поэтому при уменьшении скорости движения ниже 18—17 км/час нужно переключиться на последовательное соединение тяговых электродвигателей.
Переключение с последовательно-параллельного соединения тяговых электродвигателей на последовательное производится вручную — выключением отключателя 108. При этом разрывается цепь питания катушки реле управления РУ1, а следовательно, будут обесточены и катушки вентилей электропневматического привода контакторов СП2 и СП1 и катушка контактора возбуждения главного генератора ВГ. Все четыре названных аппарата выключатся. При выключении контактора СП1 замкнётся его обратная блокировка и соединит провода 161 и 163 в цепи питания катушки вентиля электропневматического привода контактора С. Это обеспечит включение контак-
тора С, и силовая цепь будет переключена на последовательное соединение всех четырёх электродвигателей. Прямая блокировка контактора С соединит провода 162 и 164, чем будет создана цепь питания катушки контактора ВГ.
После включения контактора возбуждения генератора ВГ главный генератор Г получит возбуждение и пошлёт ток в заранее подготовленную силовую цепь.
Цепи реле заземления и боксования. Цепь реле заземления. Реле заземления РЗ — защитное. Оно предохраняет главный генератор и тяговые электродвигатели от перегрузки токами большой величины, какие могут возникать при замыканиях в силовой цепи через, корпус тепловоза. Эта защита осуществляется методом выключения возбуждения возбудителя и главного генератора.
Цепь реле заземления образуется проводом 246, присоединённым к реверсору, отключателем 105, сопротивлением СРЗ, состоящим из 4 столбиков по 1,9 ом, катушки реле и провода 109, припаянного к каркасу высоковольтной камеры.
При замыкании в силовой цепи на корпус электрический ток пойдёт по корпусу тепловоза, а затем будет проходить по обмотке катушки реле, сопротивлению СРЗ, отключателю 105, проводу 246 и кабелю 133 на минусовую клемму главного генератора. Когда по катушке реле будет проходить ток в 10 а, реле включится. При этом обратные блокировки реле разорвут цепи питания катушек контакторов возбуждения возбудителя ВВ и главного генератора ВГ. Оба названных контактора выключатся и полностью снимут возбуждение главного генератора. Прямая блокировка реле заземления включится и создаст цепь питания сигнальной лампы 161. Ток пойдёт от неподвижного контакта блокировки реле переходов РП по проводу 155, прямой блокировке реле заземления РЗ и проводам 198, 57 и 35 к сигнальной лампе 161, минусовый зажим которой проводами 51, 46, 62 и 138 постоянно связан с минусовой клеммой 219.
Реле заземления не самовосстанавливающееся, так как во включённом положении якорь реле удерживается специальной защёлкой.
Цепь катушки реле боксования образуется двумя проводами (482. 254 или 481, 250), подсоединёнными к точкам с равными потенциалами электрического мостика, образованного обмотками якорей тяговых электродвигателей и специальными сопротивлениями реле боксования СРБ1 'и СРБ2.
При начавшемся боксовании противоэлектродвижущая сила двигателя, связанного с потерявшей сцепление осью, увеличивается и равновесие мостика нарушается. При нарушении равновесия мостика по катушке реле пойдёт ток и оно включится.
Во включённом положении реле его подвижный контакт отходит от заднего неподвижного и замыкается с передним неподвижным контактом. При этом провод 153 отсоединяется от провода 156, чем и разрывается цепь питания катушки контактора возбуждения возбудителя ВВ, и соединяется провод 272 с проводом 153, по которым пойдёт ток к клемме 2/15, соединённой проводом 64 с клеммой 5/1, от которой отходит провод 28, подключённый к зуммеру 121. Указанной цепью обеспечивается питание зуммера, подающего сигнал о начавшемся боксовании. При работе зуммера машинист переводит рукоятку контроллера на более низкие позиции.
Цепь и действие реле боксования задней тележки РБ2 совершенно аналогичны описанным.
Следует заметить, что реле боксования указывает нарушения равновесия набранного мостика. Это равновесие чаще всего нарушается боксованием колёсной пары, а потому и само реле получило название реле боксования. Но равновесие мостика может быть нарушено при значительном задире коллектора, когда начинают замыкаться его ламели, при нарушении внутренних электрических соединений в двигателе, когда значительно изменяется возбуждение, и при разрушении уравнительных соединений. Это замечание о свойстве
реле боксования нужно помнить и при работе зуммера убедиться, есть ли действительное боксование.
Цепи управления песочницами, тифоном, муфтой и жалюзи. Цепь управления песочницами. Привод песочниц на тепловозе ТЭ2 электропневматический; управление ими осуществляется ножной педалью песочниц 109.
При нажатии педали 109 ток от кнопки «Управление общее» пойдёт по проводам 22 и 83, перемычке ползунка и пальцам педали 109, проводам 71, 85 и 199 к блокировке реверсора 101. Если реверсор повёрнут «Вперёд», то провод 199 будет соединён с проводом 270, идущим к электромагнитному вентилю передней песочницы 103. Если же реверсор будет повёрнут «Назад», то провод 109 окажется соединённым с проводом 271, по-которому получит питание катушка вентиля задней песочницы 103.
Электропневматический клапан 103, включившись, соединит воздушный резервуар со специальным воздухораспределителем песочниц. Воздухораспределитель подаст воздух с давлением 8 ати в соответствующую форсунку песочниц, а последняя подаст песок под колёса тепловоза.
Цепь управления тифоном. На тепловозе ТЭ2 тифон, помимо механического привода, имеет ещё и электромагнитный. Для этого служит сильный электромагнит 156 и две ножные педали 145. При нажатии одной из педалей 145 создаётся замкнутая цепь питания катушки электромагнита 156. Электрический ток от аккумуляторной батареи или от вспомогательного генератора идёт от плюсовой клеммы 1/8 по проводу 145, по плавкой вставке предохранителя 115 на 10 а, по проводу 149 к клемме 1/16, а затем по проводу 516 к клемме 516. В зависимости от того, какая педаль включена, ток идёт по проводам 50 и 52 или по проводам 63 и 150 к клемме 6/7. Далее ток идёт по проводу 53 к клемме 3/10 и проводу 518 к катушке электромагнита 156. Пройдя катушку, ток по проводу 519, клеммам 217, 218 и т. д. уйдёт к минусовой клемме аккумуляторной батареи или вспомогательного генератора.
Электромагнитный привод 156, будучи возбуждённым, через специальную тягу откроет воздушный клапан тифона.
Цепи управления муфтой вентилятора и жалюзи холодильника. На тепловозе ТЭ2 муфта вентилятора и жалюзи холодильника имеют, помимо непосредственного механического привода, ещё и пневматические приводы, которые управляются специальными электромагнитными вентилями 163, 164, 165 и 166. Цепи питания электромагнитных вентилей управляются поворотными выключателями 167, 168, 169 и 170, расположенными на правой стенке кабины машиниста. При включении выключателя 167 ток вспомогательного генератора идёт от плюсовой клеммы 1/8 по проводам 145 и 102, предохранителю 115 на 10 а, проводу 182, сопротивлению в поездном проводе СПП2 и далее по проводам 201, 411, 412, перемычкам 400 и проводам 431, 432, 433 и 434 — к катушке клапана муфты вентилятора. Электромагнитный вентиль 166, включаясь, соединит специальный резервуар со сжатым воздухом с цилиндром привода муфты вентилятора.
Цепи управления вентилями жалюзи аналогичны описанной цепи питания катушки вентиля муфты включения вентилятора.
Движение с одной отключённой тележкой. При повреждении тягового электродвигателя тепловоза или по какой-либо другой причине иногда нужно отключить тот или иной электродвигатель от силовой цепи. На тепловозе ТЭ2 можно отключить только по два тяговых электродвигателя одной тележки одновременно. Для этой цели имеются специальные рубильники-переключатели ОМ 1—2 и ОМЗ—4.
Отключение тяговых электродвигателей передней тележки тепловоза производится выключением рубильника ОМ1—2 из положения «Включено» и постановкой его в положение «Выключено», т. е. вниз. Левый нож отключателя 0М1—2 при выключении отсоединяет провод 151 от перемычки 160, чем разрывается цепь питания катушки вентиля контактора С и таким образом предотвращается возможность его включения.
Включение этого ножа вниз обеспечивает соединение провода 151 с перемычкой 170, чем подготовляется цепь питания катушки вентиля сериес-параллельного контактора СП1. Средний левый нож отсоединяет провод 267 от провода 268, чем предотвращается возможность включения сериес-параллельного контактора СП2, и соединяет этот провод 267 с проводом 269, чем подготовляется цепь питания катушки контактора возбуждения главного генератора ВГ.
Средний правый нож нормально находится в холостом положении, а при включении вниз соединяет провода 184 и 187, чем закорачивает прямую блокировку сериес-параллельного контактора СП2. Этим подготовляется цепь питания контакторов шунтировки поля Ш1 и Ш2.
Правый нож отключателя отсоединяет провод 234 от перемычки 235, чем разрывает одну из ветвей возбуждения возбудителя, питаемую через сопротивление и катушку реле перегрузки РТ. Этим уменьшается мощность главного генератора, но одновременно выключается и само реле перегрузки РТ. Это нужно помнить и не перегружать электрические машины при работе на одной тележке.
Для отключения тяговых электродвигателей задней тележки нужно оставить отключатель двигателей передней тележки 0М1—2 в положении «Включено», т. е. вверх, а отключатель двигателей задней тележки ОМЗ — 4 включить в - нижнее положение.
Левый нож отключателя ОМЗ — 4 отсоединит перемычку 160 от провода 161, чем будет предотвращена возможность включения сериесного контактора С, и соединит эту перемычку 160 с проводом 172. Последнее соединение подготовит цепь питания катушки вентиля контактора СП2.
Средний нож отключателя ОМЗ—4 отсоединит провод 171 от провода 175, этим будет предотвращена возможность включения контактора С/7/. Нижняя клемма этого ножа холостая.
Правый нож отключателя ОМЗ—4 отсоединяет перемычку 235 от провода, идущего к шунтовой обмотке возбудителя, чем уменьшает мощность главного генератора, и выключает токовое реле перегрузки. Нижняя клемма этого ножа холостая.
Если тяговые электродвигатели передней тележки отключены, то при тро-гании с места тепловоза питание катушек вентилей реверсора 101 и контактора возбуждения возбудителя ВВ осуществляется обычными цепями. Ток к катушке вентиля сериес-параллельного контактора СП1 пойдёт от блокировки реверсора по проводу 151, левому ножу отключателя 0М1—2, перемычке 170 и проводу 171. Одновременно ток пойдёт от нижней клеммы отключателя ОМЗ—4 по проводам 172 и 173, обратной блокировке сериесного контактора С, проводу 267, среднему ножу отключателя 0М1—2 и далее по проводам 269 и 166, обратной блокировке пускового контактора КС2, проводу 167, обратной блокировке реле заземления и по проводу 168 к катушке контактора возбуждения главного генератора ВГ.
Отметим как недостаток данной схемы то, что главный генератор получает возбуждение независимо от окончательного создания замкнутой силовой цепи. Во время нормальной работы тепловоза и при движении с отключёнными электродвигателями задней тележки такая возможность исключается.
Заметим и то, что во время движения тепловоза под током будет включено реле управления РУ1, так как по прямой блокировке сериес-параллельного контактора СП1 и далее по проводам 176, 177 и 178 к его катушке пойдёт ток.
Когда тепловоз получит определённую скорость движения и включится реле переходов РП, его нижняя прямая блокировка соединит провода 154 и 183, чем будет вызвано включение контакторов шунтировки поля Ш1 и Ш2.
Электрические цепи движения тепловоза с отключёнными. двигателями задней тележки в основном аналогичны разобранным. Из особенностей работы на данном режиме заметим только то, что реле переходов РП включится раньше, чем при движении с отключёнными двигателями передней тележки, вследствие того, что в цепи шунтовой катушки реле переходов будет постоян-
но закорочено прямой блокировкой сериес-параллельного контактора СП2 одно из сопротивлений панели реле переходов СРП.
Цепи освещения и электродвигателя калорифера. Схема электрических соединений цепей освещения тепловоза ТЭ2 условно выделена из общей схемы электрических соединений тепловоза. Для возможности совместного чтения их общие точки указаны как на одной, так и на другой схеме.
Цепи освещения питаются нормально от вспомогательного генератора. При неработающем вспомогательном генераторе они могут получить питание и от аккумуляторной батареи. Для этого достаточно включить разъединитель е 106 аккумуляторной батареи Б А.
Для управления цепями освещения служат четыре кнопки кнопочного выключателя 107, пять поворотных выключателей и несколько штепсельных вилок.
Прожектор. При эксплуатации тепловоза требуется, чтобы прожектор давал две степени освещённости, а именно: яркий свет для нормальной работы и тусклый свет, необходимый при въезде на станции, при скрещениях и т. п.
Для получения тусклого света прожектора нужно включить кнопку «Прожектор тусклый». Тогда электрический ток от вспомогательного генератора или от аккумуляторной батареи пойдёт к плюсовой клемме 118, а затем к плюсовым клеммам 4/16 и 4/15 в пульте управления и по проводу 25 к зажиму плюсового пальца кнопки «Управление». Этот же палец перемычками связан с другими пальцами кнопочного выключателя, а поэтому после включения кнопки «Прожектор тусклый» ток пойдёт по пальцам и мостику ползунка этой кнопки, по плавкой вставке предохранителя на 15 а и далее по проводу 6 к клемме 5/4. Затем ток пойдёт по проводу 79 к клеммам 1/9 и по проводу 72 к сопротивлению панели прожекторов. Пройдя большую часть этого сопротивления, ток по проводу 33 подойдёт к лампе прожектора. Пройдя нить накаливания лампы, ток по проводу 119 пойдёт к клеммам соединительной коробки 36, а затем по проводу 302 к клемме 2/7, которая соединена с минусовой клеммой 2/8.
Для получения яркого света прожектора нужно включить кнопку «Прожектор яркий». Тогда электрический ток, пройдя кнопку тусклого света, пойдёт в основном по мостику кнопки яркого света, по проводам 32 , 70 и 36*3 к сопротивлению панели прожекторов. Теперь ток будет проходить только через меньшую часть сопротивления, а потому накал нити прожектора будет больше.
Лампа прожектора имеет мощность 500 вт при напряжении 50 е» Такое низкое напряжение выбрано из-за желания получить лампу с «точечной» нитью накаливания, что очень важно для прожекторных ламп, которые устанавливаются в прожекторе так, чтобы "нить накаливания находилась в фокусе отражателя. Это обеспечивает получение яркого, почти параллельного пучка света.
Освещение приборов. Для освещения приборов пульта управления необходимо включить кнопку «Освещение приборов». Тогда ток от вспомогательного генератора или от аккумуляторной батареи пойдёт по описанной выше цепи, а затем по мостику данной кнопки, по плавкой вставке предохранителя на 10 а и по проводам 19 и 37 к лампе освещения измерительных приборов, которая расположена под верхней наклонной крышкой пульта управления. Свет этой лампы направляется к циферблатам приборов. Этим обеспечивается очень хорошая освещённость приборов и устраняется слепящий свет в кабине.
Освещение кабины. Для освещения кабины имеется потолочный плафон с электрической лампой, которая включается кнопкой «Освещение кабины».
При включении кнопки «Освещение кабины» ток пойдёт по её мостику и далее по проводам 17. 60 и 500 к лампе плафона, минусовая клемма которой проводом 86 постоянно связана с клеммой коробки 36.
Буферные фонари. Включение и выключение освещения буферных фонарей производится поворотными выключателями, расположенными над дверью в высоковольтную камеру.
Питание цепей буферных фонарей производится по проводу 26 от главной плюсовой клеммы 1/8 через предохранители на 10 а.
Цепи питания ламп буферных фонарей очень просты. Так, при включении выключателя «Левый буферный фонарь» ток от клеммы 1/8 пойдёт по проводу 26, по плавкой вставке предохранителя на 10 а и далее по проводам 336, 337, по контактам выключателя и по проводам 338 и 304 к лампе переднего левого буферного фонаря. Минусовая клемма лампы проводами 339 , 62 и т. д. связана* с минусовыми клеммами клеммных наборов.
Цепи питания лампы другого буферного фонаря аналогичны описанной.
Освещение высоковольтной камеры. Для включения освещения высоковольтной камеры нужно повернуть выключатель «Освещение высоковольтной камеры». Тогда ток пойдёт по проводу 622, контактам выключателя и проводу 139 к клемме коробки № 36 и далее по проводам 141 и 142 к двум параллельно включённым лампам освещения высоковольтной камеры, затем к минусовым зажимам той же коробки № 36 и по проводу 302 уйдёт к минусовой клемме 217.
Освещение холодильника. Включение лампы освещения холодильника производится специальным поворотным выключателем, помещённым между проводами 346 и 347 в минусовой цепи лампы.
При включённом положении выключателя ток пойдёт от клеммы 1/8 по проводу 26, предохранителю на 10 а и по проводам 343 , 344 и 345 к лампе, а затем уйдёт по проводам 346 и 347 к клеммам коробки № 33, расположенной в шахте холодильника, и проводу 419 к клемме коробки № 26, проводу 331 и к минусовой клемме 318.
Освещение подкузовное. Для включения ламп освещения ходовых частей и подведения напряжения к розеткам переносной лампы нужно включать поворотный выключатель «Освещение подкузовное».
Тогда ток от клеммы 118 по проводу 26, предохранителю на 10 а, проводу -355, замкнутым контактам поворотного выключателя и проводу 356 пойдёт к клемме 3111, а затем по проводу 357 к зажиму коробки № 16 (расположена С левой стороны тепловоза под рамой). От зажима коробки № 16 ток пойдёт по проводу 358 к лампе освещения ходовых частей с левой стороны. Одновременно проводом 335 будет подведено напряжение к левой розетке, а проводом 365 — к правой розетке для переносной лампы и к лампе правого фонаря освещения ходовых частей. Минусовые клеммы ламп и розеток соответствующими проводами связаны с минусовой клеммой коробки № 16, а последняя проводом 360 связана с минусовой клеммой 318.
Освещение помещения двигателя. Электрическая цепь питания ламп освещения помещения двигателя имеет отличное от других цепей освещения подключение к источнику питания, а потому условно показана отдельно.
Цепь освещения помещения двигателя получает питание от неподвижных «губок» разъединителя батареи 106, а поэтому независимо от положения разъединителя 106 ток от аккумуляторной батареи по кабелю 451 и по проводу 308 пойдёт к предохранителю, а затем по проводу 309 к клемме коробки Лг° 36, которая постоянно соединена проводом 312 с левой, а проводом 311 с правой розетками Если левая вилка включена, то ток пойдёт по проводу 321 к двум параллельно включённым лампам освещения и к штепсельной розетке для переносной лампы. Пройдя лампы, ток по проводу 324 вернётся к минусовой клемме розетки, которая соединена с минусовой клеммой коробки № 36 проводами 327 и 313, между которыми находится повторный выключатель.
Электродвигатель калорифера. Электрическая цепь питания электродвигателя вентилятора калорифера подключена к клемме 1/8, поэтому, в отличие от схемы тепловоза ТЭ1, электродвигатель вентилятора калорифера может быть подключён к аккумуляторной батарее. Действительно, при включении соот;
ветствующей кнопки1 электрический ток вспомогательного генератора или аккумуляторной батареи пойдёт от клеммы 1/8 по мостику кнопки, планкой вставке предохранителя на 10 а, проводу 621 к клемме 5/13; далее по проводу 623 к плюсовой клемме электродвигателя вентилятора калорифера, а затем по проводу 88 уйдёт к минусовой клемме 5/14 клеммного набора в пульте управления. _
Проверка последовательности действия электроаппаратов. Последовательность включения электроаппаратов может быть проверена и при неработающем двигателе на стоянке тепловоза. Такая проверка должна производиться при приёмке тепловоза из ремонта и при приёмке тепловоза от другой бригады.
Проверка производится в такой последовательности.
1. Включается .разъединитель батареи 106.
2. Включаются кнопки и поворотные выключатели необходимого освещения, а при приёмке тепловоза из ремонта проверяются все цепи освещения.
3. Вставляется ключ кнопочного выключателя и поворачивается вниз.
4. Включается кнопка «Топливный насос» и проверяется действие вспомогательного топливного насоса. После проверки насоса кнопка выключается.
5. Включается кнопка «Управление общее».
6. Включается кнопка «Управление машинами».
7. Выключатель реле переходов 108 ставится во включённое положение.
8. Реверсивная рукоятка контроллера ставится в положение «Вперёд».
9. Главная рукоятка контроллера ставится в первое положение. При этом реверсор 101 должен повернуться в положение «Вперёд», а контакторы возбуждения возбудителя ВВ. контактор С и контактор возбуждения генератора ВГ включиться.
10: Главная рукоятка контроллера ставится во второе положение. Это должно вызвать включение вентиля ТІ механизма управления регулятором и реле управления РУ2.
11. Главная рукоятка контроллера ставится в третье положение. При этом вентиль 77 должен выключиться, а вентиль Т2 включиться. Кроме того, должно включиться реле управления РУЗ.
12. Главная рукоятка контроллера ставится в четвёртое положение. При этом должны включиться вентили 77 и Т2.
13. Главная рукоятка контроллера ставится в пятое положение. При этом вентили 77 и Т2 должны выключиться, а включиться вентиль ТЗ. Кроме того, должно включиться промежуточное реле ПР регулятора напряжения РН.
14. Главная рукоятка контроллера ставится в шестое положение. Это должно вызвать включение вентиля ТІ. Вентиль ТЗ должен остаться включённым на всех следующих позициях.
15. Главная рукоятка контроллера ставится в седьмое положение. При этом вентиль 77 должен выключиться, а включиться вентиль Т2.
16. Главная рукоятка контроллера ставится в восьмое положение. При этом должен включиться вентиль 77, т. е. при этом окажутся включёнными все три вентиля механизма управления регулятором, оба реле управления РУ2 и РУЗ и три контактора ВВ, ВГ и С.
17. Кратковременно от руки включается реле переходов РП. Это должно вызвать нормальное чередование включения и выключения электрических аппаратов, как и при нормальном переключении с последовательного на последовательно-параллельное соединение. Так как уловить это чередование глазом не удаётся, то в срабатывании реле можно будет убедиться по тому, что реле управления РУ1 и сериес-параллельные контакторы СП1 и СП2 окажутся включёнными, а сериесный контактор С выключенным. Контакторы ВВ и ВГ должны остаться включёнными.
18. Снова от руки включается и удерживается во включённом положении реле переходов РП. Это должно вызвать включение контакторов шунтировки
поля Ш1, Ш2 и реле времени РВ. Если реле отпустить, то оно должно чётко выключиться и выключить контакторы шунтировки Ш1 и Ш2. Через 3—4 сек. должно выключиться и реле времени РВ.
19. Главная рукоятка контроллера ставится в положение холостого хода. При этом все включившиеся ранее аппараты должны выключиться.
20. Нажимается ножная педаль песочниц. Это должно вызвать подачу песка под передние колёса тепловоза.
21. Реверсивная рукоятка контроллера переводится в положение «Назад» и снова производится проверка правильной последовательности действия электрических аппаратов по пунктам 9—20.
22. Вынимается предохранитель 114 вспомогательного генератора на 80 а и вручную включается реле обратного тока РОТ. Это должно вызвать включение контактора зарядки аккумуляторной батареи Б.
23. При отпуске реле обратного тока РОТ должен выключиться контактор зарядки батареи Б. После этого предохранитель 114 ставится на место.
Сочленённая работа секций. Тепловоз ТЭ2 нормально должен работать в сочленении двух секций. Электрические схемы обеих секций объединяются и управление осуществляется с одного поста. Для этого на обеих секциях имеются розетки междутепловозного соединения, в которые включаются штепсели шестнадцатижильных кабелей междутепловозного соединения.
При сочленении секций, после определённого сжатия буферных пружин, соединяются тяги сцепления секций, рукава тормозной магистрали, вспомогательного тормоза и специальной питательной магистрали, включаются штепсели междутепловозных соединений и надёжно запираются в этом положении выступами крышек.
Главная рукоятка контроллера на второй секции ставится в положение холостого хода, а реверсивная — в положение «Стоп» и после этого снимается и передаётся на передний пост. Кнопочный выключатель также должен быть заперт, а ключ передан машинисту.
Указанные мероприятия не допустят противопоказанного включения аппаратов с разных постов.
После включения штепселей междутепловозного соединения минусовые клеммы вспомогательного генератора и аккумуляторной батареи обеих секций будут объединены «минусовыми» проводами 487 и 608, которые идут от клеммы 218 к штырям 487 и 608 розеток 124 и 125. Эти штыри соответствующими проводами и гнёздами штепселей кабелей междутепловозного соединения будут соединены со штырями 487 и 608 розеток второй секции, чем и обеспечивается объединение минусовых клемм обеих секций. Поэтому при разборе схем сочленённой работы достаточно показать цепь объединения плюсовых клемм.
После сочленения секций должна быть проверена правильность последовательности действия электрических аппаратов.
Пуск двигателей. Электрический пуск двигателей секций тепловоза производится с одного поста раздельно.
Электрическая схема пуска двигателя первой секции была рассмотрена ранее.
Пуск двигателя второй секции может быть произведён или после пуска двигателя первой секции или ранее, что должно быть признано более правильным, так как при этом не мешает шум работающего двигателя первой секции.
Для пуска двигателя второй секции нужно включить разъединители аккумуляторных батарей на обеих секциях, отпереть кнопочный выключатель на первой секции, убедиться, что главная рукоятка находится в положении холостого хода, и включить кнопку «Топливный насос второй секции». После того как давление в топливной системе двигателя второй секции будет около 2 ати (об этом даст сигнал помощник машиниста, который во время пуска двигателя должен находиться на второй секции), включается кнопка «Управление общее», а затем нажимается кнопка «Пуск двигателя второй секции».
После того как двигатель второй секции будет пущен и давление в масляной системе его будет около 2 ати, кнопку «Пуск двигателя второй секции»
можно отпустить. Если двигатель второй секции будет продолжать работать, то должен светиться зелёный сигнал на пульте управления.
При включении кнопки «Топливный насос второй секции» электрический ток от аккумуляторной батареи подойдёт по описанной ранее цепи к названной кнопке, пройдёт по её мостику и плавкой вставке предохранителя на 10 а, а затем по проводам 34, 13 и 293 пойдёт к штырю 293 правой розетки, который проводом 293—292 кабеля междутепловозного соединения будет соединён со штырём 292 правой розетки второй секции, а потому ток пойдёт по междутепловозному проводу 293—292 и по проводу 292 к клемме 1/2 второй секции. От этой клеммы ток пойдёт по проводам 84 и 404 к электродвигателю вспомогательного топливного насоса. Так образуется цепь питания двигателя вспомогательного топливного насоса ТН второй секции током аккумуляторной батареи первой секции.
При включении кнопок «Управление общее» и «Пуск двигателя второй секции» ток от аккумуляторной батареи первой секции по описанным ранее цепям подойдёт к кнопке «Пуск двигателя второй секции», пройдёт по её мостику и предохранителю на 10 а и по проводам 424, 429 и 288 пойдёт к штырю 288 правой розетки первой секции. Затем ток по проводу 288—289 кабеля междутепловозного соединения пойдёт к штырю 289 правой розетки второй секции, а от него по проводу 289 к клемме 1/3 и далее по проводам 214, 213 и 212 — к катушкам пусковых контакторов КС1 и КС2.
После включения пусковых контакторов аккумуляторная батарея второй секции будет питать главный генератор этой же секции, чем и осуществится пуск двигателя второй секции.
С момента включения пускового контактора КС1 второй секции получит питание катушка соленоида регулятора двигателя этой секции. При включении соленоида его прямая блокировка 104 замкнёт провода 472 и 532. ток от аккумуляторной батареи второй секции по проводу 486 пойдёт к штырю левой розетки, который проводом 486—488 кабеля междутепловозного соединения будет соединён со штырём 488 левой розетки первой секции, а потому ток по проводу 488 первой секции пойдёт к клемме 117 и далее по проводам 56 я 49 — к лампе зелёного сигнала на пульте управления.
Таким образом, осуществляется питание лампы зелёного сигнала на пульте управления первой секции током аккумуляторной батареи второй секции через блокировку соленоида регулятора второй секции.
Держать кнопку «Пуск двигателя второй секции» нужно до тех пор, пока не будет пущен двигатель и давление масла в масляной системе второй секции не будет около 1,6 а/л. Это давление показывает аэроманометр, установленный на пульте управления второй секции, и электроманометр, установленный на пульте первой секции.
Если по какой-либо причине давление масла в масляной системе работающего двигателя второй секции упадёт ниже 1,6 ат, то реле давления масла второй секции выключится, чем разорвёт цепь питания катушки соленоида регулятора. При выключении соленоида регулятора двигатель второй секции тепловоза остановится. Одновременно будет разорвана цепь питания лампы зелёного сигнала на пульте управления первой секции. Этим и подаётся сигнал машинисту об остановке двигателя второй секции.
Зарядка батарей. При включении кнопки «Топливный насос второй секции» получит питание не только электродвигатель топливного насоса, а и обмотка возбуждения вспомогательного генератора второй секции. Поэтому уже при запуске двигателя этой секции, когда будет увеличиваться напряжение вспомогательного генератора, возможно независимое действие регулятора напряжения и реле обратного тока. После окончания пуска двигателя вспомогательный генератор будет заряжать аккумуляторную батарею той же секции. Таким образом, цепи зарядки батарей независимые.
Приведение тепловоза в движение. После запуска • одного или обоих двигателей тепловоз может быть приведён в движение. Цепи управления обеих секций тепловоза при этом будут объединены. Действи-
тельно, после включения кнопки «Управление машинами» и постановки реверсивной рукоятки в положение «Вперёд», а главной рукоятки контроллера в первое положение пойдёт электрический ток по проводу 202 к катушке «Вперёд» привода реверсора первой секции, а по проводу 497 — к штырю правой розетки, а затем по проводу 497—496 кабеля междутепловозного соединения и далее по проводу 496 и 200 — к катушке «Назад» привода реверсора второй секции. Реверсоры секций повернутся в разные стороны, что обеспечит движение обеих секций в одном направлении. После поворота барабанов реверсоров, когда замкнутся их блокировки, образуются цепи питания контакторов возбуждения возбудителя В В сериесного контактора С и возбуждения генератора ВГ.
Цепи возбуждения возбудителя и генератора обеих секций будут, как и основные цепи, независимые.
Увеличение скорости движения. Увеличение скорости движения тепловоза достигается переводом главной рукоятки контроллера на вторую и последующие позиции. Этим будет вызываться включение в определённой последовательности вентилей 77, Т2 и ТЗ электропневматического механизма управления регуляторами двигателей, а на второй и третьей позициях включатся соответственно реле управления РУ2 и РУЗ.
Действительно, после перевода главной рукоятки контроллера на вторую позицию образуется цепь питания катушки вентиля 77 по проводу 394. Одновременно по проводу 489 первой секции, по проводу 489—489 кабеля междутепловозного соединения и по проводу 489 второй секции получит питание катушка вентиля 77 на второй секции.
Кроме того, как известно, образуется цепь питания катушки реле управления РУ2 по проводу 207. А по проводам 491 первой и 491 второй секций получит питание катушка реле РУ2 второй секции.
Если перевести главную рукоятку контроллера на третью позицию, то по проводу 395 получит питание катушка вентиля Т2 первой секции, а по проводу 492 катушка вентиля Т2 второй секции. Кроме того, по проводу 205 получит питание катушка реле управления РУЗ первой секции, а по проводу 490 — катушка РУЗ второй секции.
Если перевести главную рукоятку на четвёртую позицию, то будет обеспечено включение вентилей 77 и Т2 на обеих секциях.
Когда главная рукоятка контроллера будет переведена на пятую позицию, то по проводу 397 получит питание катушка вентиля ТЗ, а по проводу 216 — катушка промежуточного реле ПР регулятора напряжения РН первой секции. Одновременно по проводу 493, по проводу кабеля междутепловозного соединения и по проводу 493 второй секции будет обеспечено питание вентиля ТЗ и катушки промежуточного реле ПР второй секции.
Так перестановкой рукоятки контроллера первой секции будет обеспечено одновременное включение вентилей ТІ, Т2 шли ТЗ на обеих секциях, чем и гарантируется работа двигателей обеих секций на равных оборотах.
Переключение в силовой цепи с последовательного на последовательно-параллельное соединение двигателей, а также включение и выключение шун-тировки поля будет производиться на обеих секциях автоматически.
Управление песочницами. Для включения песочниц нужно нажать ножную педаль песочниц 109, тогда по проводам 71, 85 и 199 пойдёт ток к блокировке реверсора 101, которая соединит провод 199 с проводом 270, идущим к клапану 103 передней песочницы первой секции. Одновременно от клеммы 2113 ток пойдёт по проводу 494 к штырю 494 правой розетки 124, затем по проводу 494—494 кабеля междутепловозного соединения к штырю 494 розетки 124 второй секции. От штыря 494 по проводам 494 и 199 ток пойдёт к блокировке реверсора второй секции. Вследствие того, что этот реверсор повёрнут в положение «Назад», блокировка 101 соединит провод 199 с проводом 271, идущим к клапану 103 задней песочницы, и песок будет подаваться под передние по ходу колёса второй секции.
Действие реле боксования. Цепи включения реле боксо-
вания каждой секции независимые. После включения реле боксования на одной из секций оно снимает возбуждение возбудителя данной секции, так как разрывает своей блокировкой цепь питания катушки контактора ВВ, и по проводам 273, 64 и 28 создаёт цепь питания зуммера, установленного на пульте управления данной секции. Одновременно от клеммы 2115 по проводу 498 пойдёт ток на питание зуммера на другой секции. Таким образом, при начавшемся боксовании одной из колёсных пар снимается возбуждение возбудителя данной секции и включаются зуммеры на обеих секциях тепловоза.
Действие реле заземления. При срабатывании реле заземления снимается возбуждение возбудителя и возбуждение генератора дайной секции. Включением прямой блокировки реле создаётся цепь питания лампы левого красного сигнала на пульте управления данной секции по проводам 198, 57 и 35. Одновременно ток по проводу 501 пойдёт к штырю 501 левой розетки 125, а затем по проводу 501—502 кабеля междутепловозного соединения и по проводу 502 второй секции к лампе правого красного сигнала на пульте управления второй секции.
Таким образом, при включении реле заземления снимается возбуждение возбудителя и генератора данной секции и на обоих пультах управления загораются лампы красных сигналов, причём при включении реле заземления на данной секции загорается левый красный сигнал, а при включении реле заземления на другой секции загорается правый красный сигнал.
Включение муфты вентилятора и жалюзи холодильника. Включение муфты вентилятора и жалюзи холодильника может быть произведено непосредственным механическим приводом или дистанционным электропневматическим. Механический привод является индивидуальным. Электропневматические же приводы соответствующих агрегатов имеют электрическую связь.
При включении поворотного выключателя 167 муфты вентилятора первой секции по проводам 431, 432, 433 и 434 пойдёт ток к клапану 166 привода муфты данной секции, а по проводу 508 и далее по проводу 508—508 кабеля междутепловозного соединения левых розеток, а затем по проводам 508 и 434 второй секции ток пойдёт к клапану 166 второй секции.
Таким образом, включение одного поворотного выключателя обеспечивает включение муфт вентилятора на обеих секциях тепловоза.
При включении поворотного выключателя 168 по проводам 420, 421, 422 и 423 будет обеспечено питание клапана привода жалюзи с правой стороны данной секции, а по проводу 511 и далее по проводу 511—511 кабеля междутепловозного соединения левых розеток и по проводам 511 и 423 второй секции пойдёт ток к клапану привода жалюзи с правой стороны (по отношению к её посту управления или левой по ходу) второй секции.
Включение электроманометра и электротермометра. Давление масла и температура воды в системах данной секции тепловоза контролируются по показаниям так называемых микроаэроприбо-ров. При сочленённой работе секций машинист должен следить за давлением масла и температурой воды в системах обеих секций. Применить для этой цели аэроприборы не представляется возможным, а поэтому применены так называемые электротермометры и электроманометры.
Электротермометр состоит из датчика и указателя,соединённых проводами. Датчик 146 представляет собой спираль, сопротивление которой изменяется при изменении температуры. Указатель 148 представляет собой электрический мостик с гальванометром, шкала которого отградуирована на градусы.
Электроманометр состоит из датчика 147 и указателя 149. Датчик 147 электроманометра представляет собой угольный реостат, набранный из шайб. При увеличении усилия, сжимающего шайбы, сопротивление реостата уменьшается. Указатель 149 электроманометра представляет собой мостик с гальванометром, шкала которого отградуирована на атмосферы.
Электрические цепи электроманометра и электротермометра питаются напряжением 26 в от аккумуляторной батареи по проводу 59, причём датчик
первой секции включён в цепь указателя второй секции, и наоборот, датчик второй секции включён в цепь указателя первой секции.
На первых тепловозах серии ТЭ2 между датчиками и указателями стояли переключатели. Вследствие значительного переходного сопротивления в контактах переключателей электроманометры и электротермометры часто давали неправильные показания. Для устранения указанного недостатка переключатели в данных цепях были сняты.
При обесточенных цепях стрелки приборов не стоят на нуле, а лежат на левом упоре.
При включении приборов стрелка электротермометра должна отклониться вправо и правильно показывать температуру воды в системе другой секции. Если стрелка после включения кнопки «Электротермометр и манометр» встаёт на нуль, то значит, в цепи электротермометра имеется короткое замыкание. Если же термометр даёт завышенные показания, то нужно найти и устранить плохой контакт.
Регулятор мощности. В рассмотренной выше схеме электрических соединений основное регулирование мощности двигатель-генераторной группы осуществляется возбудителем с продольно-расщеплёнными полюсами. При этом внешняя характеристика главного генератора в эксплуатационных условиях зависит от температуры обмоток возбуждения, что при переменной температуре наружного воздуха (в зависимости от времени года и ночного или дневного времени работы тепловоза) вызывает или значительное недоиспользование мощности двигателя или его перегрузку.
Недостатком схемы является также и то обстоятельство, что при выключении одного цилиндра нагрузка на двигатель автоматически не уменьшается. Вследствие этого обороты двигателя понижаются, что ведёт к ухудшению его работы.
С другой стороны, при выключении вспомогательной нагрузки (компрессора, вентилятора, главного холодильника) освободившаяся мощность двигателя не используется для увеличения скорости тепловоза.
На ряде тепловозов ТЭ2 для реализации полной мощности двигателя вне зависимости от температуры обмоток возбуждения и выключения вспомогательной нагрузки был успешно применён электрогидравлический регулятор мощности.
В настоящее время авторами указанного регулятора Т. Н. Хохловым и Е. В. Платоновым совместно с В. Л. Равичем разработан регулятор мощности с вибрационным замыкателем, внедряемый на эксплуатируемых и вновь строящихся тепловозах.
На фиг. 245а приведена принципиальная схема регулировки электропередачи тепловоза ТЭ2 при наличии регулятора мощности с вибрационным замыкателем.
Регулятор 6 состоит из вибрационного замыкателя с подвижным / и неподвижным 2 контактами, включёнными в цепь независимого возбуждения возбудителя В, сопротивления 5 (3,5 ома), установленного в ту же цепь, и конденсатора 4. Подвижный контакт / приводится в движение от вала реек топливного насоса двигателя рычагом 9.
При работе двигателя тепловоза с мощностью, изменяющейся от нулевой до номинальной, контакты / и 2 замкнуты, дополнительное сопротивление 5 поэтому зашунтировано, и регулятор мощности практически не работает. Он начинает действовать только тогда, когда мощность двигателя начинает превышать номинальную, точнее, тогда, когда рейки топливных насосов достигнут положения, соответствующего подаче топлива в цилиндры двигателя, необходимой для обеспечения установленной номинальной мощности или несколько большей.
В этом случае (т. е. когда мощность двигателя равна или больше номинальной) рычаг замыкателя 13 (фиг. 2456) нажимает на маятник 3 и контакты 8 и 9 размыкаются. При размыкании контактов в цепь независимого возбуждения возбудителя включается сопротивление 5 (см. фиг. 245а), умень-
шающее магнитный поток и нагрузочный момент генератора. двигатель раз гружается, угловая скорость вращения его коленчатого вала увеличивается и регулятор числа оборотов двигателя поворачивает вал /7 рычагов реек топ-

Фиг. 245а. Принципиальная схема включения регулятора постоянной мощности вибрационного типа:
/ — подвижный контакт замыкателя регулятора мощности; 2 —неподвижный контакт; 3 — привод к рычагу подвижного контакта; 4 — конденсатор; 5 —постоянное сопротивление регулятора мощности; 6-регулятор мощности; 7 —сопротивление в цепи независимого возбуждения возбудителя; 8 — сопротивление в цепи возбуждения; 9 — рычаг
ливного насоса (см. фиг. 2456) так, что контакты 8 и 9 снова замыкаются. При этом включается сопротивление 5 (см. фиг. 245а), увеличивается маг-

Фиг. 2456. Замыкатель регулятора мощности:
/—кожух; 2 —кронштейн замыкателя; 3 — маятник; 4 — колодка; 5 —шунт подвижного контакта; 6 — шунт неподвижного контакта; 7 —изоляционные втулки; 8 — подвижный контакт; 9 — неподвижный контакт; 10 — установочный винт; //— вал рычагов реек топливного насоса; 12 — пружина; 13 — рычаг замыкателя; /4 —регулирующий винт; 15 — кожух регулирующего винта; 16 — гайка крепления кожуха; 17 — валик
нитный поток и соответственно нагрузочный момент генератора. двигатель снова нагружается выше номинальной мощности и повторяется описанный выше процесс: размыкаются контакты 1 и 2, включается в цепь независимого возбуждения возбудителя сопротивление 5 и уменьшается нагрузочный момент
генератора. Таким образом периодически размыкаются и замыкаются контакты / и 2 и включается сопротивление 5, что происходит со значительной частотой.
Частота колебаний рычага 9 зависит от скорости изменения нагрузки и угловой скорости вала двигателя, т. е. от работы регулятора оборотов двигателя. Установленная мощность при работе всех цилиндров, а также соответственно уменьшенная мощность при работе пяти цилиндров поддерживается с точностью 3—4%. Конденсатор 4 ёмкостью ] мкф служит для уменьшения искрения контактов замыкателя.

Фиг. 246. Стеклообогреватель:
/ — рамка; 2 — болты; 3 — стекло стеклообогревателя; 4 — жгут; 5 — окантовка; 6 — изолятор; 7 — нихро-мовая проволока; « — стекло рамы; 9 — выводной шнур с вилкой; 10 — клеммная колодка
Вибрационный замыкатель (см. фиг. 2456) закреплён на корпусе топливного насоса со стороны, противоположной регулятору оборотов двигателя. Маятник 3 шарнирно подвешен на валике 17 в кронштейне 2 и притягивается пружиной 12, заставляющей находиться в замкнутом положении контакты 8 (подвижный) и 9 (неподвижный). Контакты через шунты 5 и 6 соединены с дополнительным сопротивлением в цепи независимого возбуждения возбудителя. Рычаг замыкателя 13 надет на свободный конец вала 11 рычагов реек топливного насоса (вала наполнения) и связан с ним установочным винтом 10 и стяжным болтом. В верхний конец рычага 13 ввёрнут регулирующий винт 14, имеющий пломбируемый кожух 15. ' ■
Регулировка регулятора мощности производится во время нагружения генератора реостатом на восьмом положении контроллера машиниста. При достижении генератором мощности порядка 610—615 кет должно происходить размыкание контактов 8 и 9. Этого добиваются, изменяя величину выхода регулирующего винта 14 из рычага 13.
Обогрев окон. На всех тепловозах, выпущенных в 1954 г., применён электрический обогрев стёкол боковых передних окон в кабине машиниста.
Стеклообогреватели выполнены в виде отдельной металлической рамки / (фиг. 246) с укреплённым на резиновой окантовке 5 стеклом 3. Внутри рамки обогревателя на фарфоровых изоляторах 6 натянута нихромовая проволока диаметром 0,8 мм и длиной около 9 м. Рамка / крепится болтами 2 к бонкам,

Ледая сторона.
Фиг. 247. Электрическая цепь питания стеклообогревателей
расположенным на лобовой стенке кабины машиниста. Стеклообогреватель снабжён выводным шнуром 9 с вилкой для включения в электрическую цепь. Электрическая цепь питания стеклообогревателей показана на фиг. 247.










