§ 31. ЭЛЕКТРИЧЕСКИЕ АППАРАТЫ
Общие сведения. На тепловозе имеются защитные и управляющие электрические аппараты.
Защитные аппараты предохраняют электрические машины от перегрузки токами и боксования, не допускают работу двигателя тепловоза при пониженном давлении масла в масляной системе и пр.
Управляющие электрические аппараты разделяются на автоматические и неавтоматические, которые включаются и выключаются вручную посредством аппаратов управления. Аппараты управления имеют или непосредственное или косвенное управление. Косвенное (дистанционное) управление характе-
ризуется тем, что машинист воздействует не на данный аппарат, а лишь замыкает цепь питания катушки привода этого механизма.
Косвенная, или дистанционная, система даёт возможность изолировать машиниста от соприкосновения с высоковольтными аппаратами, упрощает размещение электроаппаратуры в стеснённых габаритах тепловоза и, что самое главное, позволяет легко решить вопрос об управлении несколькими секциями тепловоза с одного поста.
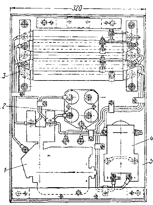
Большая часть электрической аппаратуры располагается в высоковольтной камере (фиг. 220) и на пульте управления (фиг. 221).
Ниже даётся описание всех электрических аппаратов.

Фиг. 220. Расположение электрических аппаратов в высоковольтной
камере:
156 — электромагнитный привод клапана тифонов; ОМ1-2 — отключатель электродвигателей (1-го и 2-го); РОТ — реле обратного тока; Б — контактор зарядки батареи; СЗБ — сопротивление зарядки батареи; 119 — шунт амперметра зарядки батареи; ;/4 — предохранители вспомогательного генератора и аккумуляторной батареи; СК1, СК2. СКЗ — клеммные рейки; ОМЗ-4 — отключатель электродвигателей (3-го и 4-го); СВГ — разрядное сопротивление возбуждения генератора; СПП — межтепловозное сопротивление; КС1, КС2 — пусковые контакторы; СП — сопротивление прожектора; 106 — рубильник аккумуляторной батареи; 115 — щитки с предохранителями; РУ2 — реле управления; РТ — токовое реле перегрузки; 152 — шунт амперметра силовой цепи; СШі — сопротивление шунтировки поля электродвигателей передней тележки; СШ2 — сопротивление шунтировки поля электродвигателей задней тележки; СП1, С, СП2 — электропневматические контакторы; Ш/— контактор шунтировки поля электродвигателей передней тележки; Ш2 —контактор шунтировки поля электродвигателей задней тележки; СРБ1 — сопротивление реле боксования передней тележки; СРБ2 — сопротивление реле боксования задней тележкн; ВВ — контактор возбуждения возбудителя; РВ — реле времени; СРП — сопротивление реле перехода; ВГ — контактор возбуждения генератора; 103 — клапаны песочницы; 101 — реверсор; РБ2 — реле боксования задней тележки; РБ1 — реле боксования передней тележки; СВВ — сопротивление возбуждения возбудителя; РН — панель регулятора напряжения; РП — реле переходов; РУ1, РУЗ — реле управления; 105 — отключатель реле заземления; РЗ — реле заземления; СРЗ — сопротивление реле заземления
Контакторы. Контактором называют электрический аппарат, служащий • для включения и выключения электрических цепей.
Принципиально контактор состоит из двух контактов — подвижного и неподвижного.
Рычаг, на котором крепится подвижный контакт, связан со специальным механизмом — приводом. Привод контактора может быть пневматический или магнитный. В зависимости от этого различают контакторы электропневматические и электромагнитные. Каждый из этих двух видов контакторов в зависимости от конструктивного выполнения тех или иных деталей разделяется на несколько типов.
Электропневматических контакторов на тепловозе имеется три, а именно: сериесный С, сериес-параллельныеСШ яСП2. Все они предназначены для переключений в силовой цепи тяговых электродвигателей и поэтому имеют очень развитую контактную систему.
Электропневматические контакторы типа ПК-753-А1 монтируются на асбесто-цементной доске / (фиг. 222), к которой после сборки контактора крепится винтами гетинаксовая прокладка 2.
Для удобства изучения условно разделим контактор на ряд конструктивных узлов, а именно: узел неподвижного контакта, узел подвижного контакта, привод, блокировочное устройство, дугогасительная камера и вентиль.
Узел неподвижного контакта состоит из неподвижного контакта 36, кронштейна 35 и дугогасительной катушки 42 с сердечником 46.
Неподвижный контакт изготовляется из твёрдой меди специального профиля. Твёрдая медь обладает хорошей электро- и теплопроводностью, достаточной механической прочностью и немагнитна, поэтому является наиболее подходящим материалом для выполнения контактов. Ширина контакта 35 мм, толщина зажимной части и рабочей у основания 12 мм. Пятка контакта делается прямой, наклонённой под углом 3°, а затем переходит в кривую радиусом 132 мм. Закругление пятки сделано радиусом 5 мм. Затылочная часть прямая. Контакт крепится двумя болтами М8 X 35—30 к кронштейну 35.
Кронштейн 35 обладает значительной механической прочностью, так как несёт на себе неподвижный контакт и дугогасительную катушку, поддерживает дугогасительную камеру и воспринимает удары при включении контактора, кроме того, вытягивает дугу при гашении, поэтому имеет специальную форму и изготовляется из немагнитного электропроводного материала. Кронштейн представляет собой сложную пустотелую отливку из свинцовистой бронзы Бр. ОЦС 3-11-15. В полости кронштейна 35 находится дугогаси-тельный рог 47 — латунная пластинка толщиной 2,5 мм и шириной 38 мм. Развёрнутая длина её 64 мм. Для задержки дуги в конце рога кронштейна имеется выступ4 Дугогасительная катушка 42 служит для создания электромагнитного поля, выталкивающего электрическую дугу. Катушка состоит из четырёх витков обмотки и сердечника 46. Обмотка выполнена из профильной шины сечением 315,2 мм2. Эта шина имеет размеры: высоту — 32 мм, нижнее основание 8 мм и верхнее основание— 11,7 мм. При навивке шины её нижнее основание несколько увеличивается, а верхнее, наоборот, за счёт растяжения уменьшается. Этим и обеспечивается параллельность сторон навитой обмотки. Витки •обмотки изолируются асфальтовым лаком со слюдяной пылью. Обмотка катушки навивается против часовой стрелки (правый винт) на стальной сердечник диаметром 37 мм, изолированный предварительно пропитанной телефонной бумагой, которая образует на сердечнике трубку' толщиной 2 мм. По бокам об-

Фиг. 221. Пульт управления:
А —контроллер; 2 — кран машиниста; 3 — сигнальные лампы; 4 — панель с приборами; 5 — скоростемер; 6 — вспомогательный кран; 7 — кнопочный выключатель; 8 — ключ кно-•почного выключателя; 9 — зуммер; 10— педаль песочницы; //— педаль тифона; 12 — рукоятка контроллера машиниста; 13 — реверсивная рукоятка
мотки ставятся прессшпановые шайбы, которые надеваются на изоляцию сердечника. Затем ставятся стальные оцинкованные шайбы диаметром 94 мм, которые своими наружными загнутыми концами плотно прижимают прессшпановые шайбы к обмотке. Стальные шайбы крепятся к сердечнику катушки путём развальцовки его осевых выступов диаметром 9 мм в центральных конусных отверстиях шайб.
Короткий конец катушки прикреплён к кронштейну 35 тремя медными заклёпками 41 диаметром 5 мм, и место соединения пропаяно серебряным припоем ПСР-70.

Фиг. 222. Электропневматический контактор ПК-753-Al:
/—доска; 2 — прокладка; 3 — крепящие болты; 4— крышка задняя; 5 — дугогасительная камера; 6 — рог; 7 — соединение; 8 — пружинящая плаика; 9 — притирающая пружина; 10 — валик; // — фигурный рычаг; 12 — колодка фибровая; 13 —контактные планки; 14 — неподвижные пальцы блокировки; /5— изоляционные подкладки; 16 — колодка деревянная; /7 —валик; /« — шунт; 19 — клеммный угольник; 20 — крышка передняя; 21 — прокладка; 22 — медная шайба; 23 — шайба поршня; 24— кожаные шайбы; 25 — шайба; 26 — пружинящая шайба; 27 — гайка; 28 — цилиндр; 29 — прокладка; 30 — изолятор; 31 — включающий вентиль; 32 — контактные болты; 33 — пружинящие шайбы; 34 — изоляционные головки крепящих болтов; 35 — кронштейн; 36 — неподвижный контакт; 37 — подвижный контакт; 38 — соединение; 39 — валик; 40 — держатель подвижного контакта; 41 — заклёпки; 42 — дугогасительная катушка; 43 — шток; 44 — выключающая пружина; 45 — лепестковые пружины; 46 — сердечник дугогасительной катушки; 47 — дугогасительный рог
Между обмоткой катушки и неподвижным контактом имеется соединение 38.
Длинный вывод дугогасительной катушки, изолированный тремя слоями1 ленты № 3306 вполуперекрышу, а поверх обвёрнутый одним слоем вполупере-крышу киперной лентой № 3208 и покрытый два раза эмалью № 2209, выведен вдоль панели вниз и образует клеммный хвостовик.
Узел подвижного контакта состоит из контакта 37, держателя 40, фигурного рычага 11, притирающей пружины 9 и соединения 7" с шунтом 18 и клеммным угольником 19.
Подвижный контакт является взаимозаменяемым с неподвижным.
Держатель подвижного- контакта 40 отлит из свинцовистой бронзьг Бр. ОЦС 3-11-15. К верхнему концу его болтами крепятся подвижный контакт и соединение 7. В средней части держатель имеет отверстие с запрессованной
'бронзовой втулкой. В это отверстие входит валик 10, на котором держатель может поворачиваться под действием притирающей пружины 9. Поворот держателя влево ограничивается нижним хвостовиком, а поворот вправо — верхним упором, который при включении контактора садится на верхний обрез фигурного рычага.
Фигурный рычаг 11 предназначен для передачи движения от привода контактора к держателю подвижного контакта, шарнирно соединённому с ним валиком 39, и фибровой колодке 12, укреплённой на нём неподвижно. Средней своей частью рычаг шарнирно связан валиком 10 с верхним кронштейном крышки 20. Нижним концом рычаг шарнирно связан со штоком 43.
Притирающая пружина 9, предназначенная для создания определённого нажатия контактов при первом их касании, для притирки контактов и смягчения удара при включении контактора помещена в полости фигурного рычага 11 и упирается в выступ этого рычага и в держатель подвижного контакта 40. Притирающая пружина ставится на место с первоначальным сжатием, которым и обеспечивается начальное нажатие контактов. При включении контактора притирающая пружина будет сжиматься дополнительно, и максимальное усилие притирающей пружины будет иметь место после включения контактора.
Двойной плетёный шунт 18 с соединением 7 и держателем 40 соединяет .подвижный контакт с латунным лужёным клеммным угольником 19'»
Приводом контактора называют механизм, служащий для включения и выключения. Он состоит из цилиндра 28 с двумя крышками 4 и 20, поршня со штоком 43, выключающей пружины 44 и включающего вентиля 31 типа ВВЗ. Привод монтируется на задней чугунной цилиндровой крышке 4, которая крепится к панели контактора болтами 3.
К крышке крепятся цилиндр привода 28 и вентиль 31. Между крышкой и торцом цилиндра ставится кожаная прокладка толщиной 1 мм, а между крышкой и вентилем 31 — изолятор 30.
Цилиндр отливается из цилиндрового чугуна, после чего растачивается внутри до диаметра 58 мм и обрабатывается по торцам, которыми он через прокладки зажимается между двумя крышками. У переднего фланца цилиндра имеются отверстия для выхода воздуха, проникшего через манжеты, и для смазки цилиндра. Передняя крышка 20 цилиндра имеет центральное отверстие для прохода штока 43 и два кронштейна. На верхнем, коротком, кронштейне крепится шарнирно фигурный рычаг 11, а к нижнему, длинному, крепится деревянная колодка 16.
Поршень привода ввиду односторонней пневматической работы выполнен с кожаными уплотняющими шайбами-манжетами. Поршень состоит из собственно поршня — стальной оцинкованной шайбы 23, комплекта кожаных шайб 24, двухлепестковых пружин 45 и стальной оцинкованной шайбы 25.
Поршень собирается на штоке 43 в такой последовательности. На заточку штока надевается медная шайба 22, служащая для предотвращения утечки воздуха между поршнем и заплечиком штока. Затем надевается поршневая шайба 23. В углубление поршневой шайбы вводят комплект кожаных шайб 24 и две лепестковые пружины 45, сделанные из листовой твёрдой бронзы в виде шайб с прорезями по краям. После этого надевается стальная оцинкованная шайба 25 и весь комплект плотно прижимается гайкой 27 с пружинящей шайбой 26 к заплечику штока. Ход поршня равен 23 мм.
Выключающая пружина 44, упирающаяся одним концом в поршневую шайбу 23, а другим — в переднюю крышку цилиндра 20, стремится всегда отжать поршень до упора головки штока в выступ передней крышки цилиндра 20. Пружина ставится с первоначальным сжатием примерно в 30 кг. После включения контактора сила сжатия достигает 42—44 кг.
Блокировки. Для создания определённой зависимости в электрической цепи контакторы имеют блокировочные контакты, включающиеся или выключающиеся в зависимости от положения основного силового контакта.
На электропневматических контакторах применены блокировки пальцевого скользящего типа.
Блокировка состоит из неподвижных пальцев 14, укреплённых на деревянной колодке 16, которая крепится на передней крышке цилиндра привода контактора 20, и подвижных медных планок 13, привёрнутых к фибровой колодке 12, установленной на фигурном рычаге 11. Контактные пальцы делаются из стальной пружинящей ленты и полируются в рабочей части. .
Дугогасительная камера (фиг. 223) представляет собой узкую коробку, имеющую две боковые стенки и два вертикальных основания с внутренними перегородками.
Боковая стенка состоит из фигурной доски 3 и полюса. Доска 3 вырезана из пластины асбесто-цемента № 6106 толщиной 6 мм. Полюс состоит из стальной оцинкованной пластины 1 толщиной 3 мм, обвёрнутой лакотканью № 3304 толщиной 0,2 мм, и чехла 7, представляющего собой текстолитовую пластину толщиной 1,5 мм. Полюсная стальная пластина крепится к чехлу пятью трубчатыми заклёпками 8 диаметром 8 мм.

Фиг. 223. Дугогасительная камера:
/ — стальная пластина; 2 — лакоткань; 3— фигурная доска; 4 — специальный винт; 5 — болты; 6 — удерживающий болт; 7 — чехол; 8— трубчатые заклёпки; 9 — основания; 10— удерживающие болты; //—асбесто-цемент-ные Доски-перегородки; 12 — распорные шайбы
Чехлы полюсов и боковые стенки крепятся к асбесто-цементным основаниям 9 болтами 5, удерживающими стенки камеры на расстоянии 52 мм одна от другой.
Переднее основание имеет специальный винт, а задние — два крючка, которыми камера удерживается на контакторе. Крючки изготовляют из стальной пластины сечением 3 X 20 мм и для защиты от коррозии оцинковывают.
Внутренняя перегородка собрана из трёх асбесто-цементных досок 11 и удерживающих болтов 10 и 6. Асбесто-цементные доски // изготовляются из листов толщиной 8 мм. Внутренние концы перегородок заострены для облегчения деления дуги на параллельные части. Два крайних болта 10 сделаны такой длины, что своими концами входят в специальные отверстия в наружных досках 3. Благодаря этому перегородка удерживается в дугогасительной камере в определённом месте. Конец среднего болта 6 обрезается и запиливается по гайке.
Для фиксирования определённого положения пластин внутренней перегородки относительно удерживающих болтов на последние надеваются распорные шайбы 12 общей высотой по 7,5 мм.
Действие. При возбуждении катушки вентиля 31 (см. фиг. 222) воздух из специального резервуара идёт в канал задней крышки 4 и перемещает поршень привода, преодолевая сопротивление выключающей пружины 44. Шток 43 будет давить на фигурный рычаг 11 и заставит его повернуться вокруг валика 10. При этом перемещается и держатель подвижного контакта 40.
С момента касания контактов 37 и 36 держатель подвижного контакта 40, помимо движения вместе с фигурным рычагом 11, будет, сжимая притирающую пружину 9, поворачиваться относительно рычага на валике 39, чем обеспечит притирание контактов.
После прекращения питания катушки вентиля 31 цилиндр привода сообщается с атмосферой и поршень со штоком быстро перемещаются под действием сильной выключающей пружины 44.
Электромагнитные контакторы. Электромагнитные контакторы предназначены для переключений во вспомогательных электрических
цепях (возбуждения машин, зарядки аккумуляторной батареи и т. п.).
На секции тепловоза имеется семь элекромагнитных контакторов, а именно: контактор зарядки батареи Б типа КПМ-2208-10, контактор возбуждения возбудителя ВВ типа КПМ-2208-10, контактор возбуждения главного генератора ВГ типа КПМ-220-А-10, два пусковых контактора КС1 и КС2 типа КПД-46А-1 и два контактора шунтировки поля тяговых электродвигателей Ш1 и Ш2 типа КПД-45Б-1.
Электромагнитный контактор состоит из электромагнитного привода, контактного механизма с дугогасительной камерой и блокировочных контактов.
Электромагнитный контактор КПМ-220 (фиг. 224) монтируется на асбесто-цементной доске 1 размером 100 X 300 X 25 мм с прессшпано-вой прокладкой 2.
К доске болтами (М8 X 20—20) крепится кронштейн 10, на котором установлена тяговая катушка 11 с сердечником 9. К горизонтальной полке кронштейна прикреплены винтами (М5 X 15 — 5) пластины 24, между которыми качается якорная пластина 20, имеющая косые боковые вырезы. Правые концы пластин 24 соединяются между собой полкой угольника 23. Другая полка угольника 23 имеет нарезанное отверстие для винта 26 (Мб X Х25—25).
При обесточенной катушке пружина 25 помещённая между тарелкой, укреплённой на винте 26, и упором, прикреплённым к якорной пластине, поворачивает якорь по часовой стрелке до упора в стойку 34. При этом подвижный контакт 18 будет отсоединён от неподвижного контакта 15. Если тяговой катушке// будет обеспечено питание, то сердечник 9 притянет якорную пластину 20. При этом подвижный контакт 18 замкнётся с неподвижным контактом 15. Для смягчения удара при включении и обеспечения притирки контактов служит притирающая пружина 19.
Ток силовой цепи при включённом контакторе идёт от клеммы 3 по шине 6 и далее по кронштейну 10, по пластинам 24, угольнику 23 и шунту 22 к подвижному контакту, а затем по включённым контактам 18 и 15 и по обмотке дугогасительной катушки 13 к клемме 14 контактора.

Фиг. 224. Электромагнитный контактор КПМ-220:
/ — доска; 2— прокладка; 3 — клемма силовая; 4 и 5— стойки; 6 — шина; 7— клемма блокировки; 8 — шунт; 9 — сердечник катушки; 10— кронштейн; // — тяговая катушка; 12 — угольник; 13 — дугогаси-тельная катушка; 14 — клемма силовая; 15 — неподвижный контакт; 16 — полюсные пластины; 17 — асбесто-цементные доски; 18 — подвижный контакт; 19 — притирающая пружина; 20 — якорная пластина; 21 — пластина контакта; 22 — шунт; 23 — угольник; 24 — пластины; 25 — пружина; 26 — винт; 27 — изолятор; 28, 33 — притирающие пружины; 29, 32 — неподвижные контакты; 30 — подвижный палец обратной блокировки; 31 — подвижный палец прямой блокировки; 34 — стойка
Появляющаяся при выключении контактов электрическая дуга будет гаситься в дугогасительной камере, состоящей из двух фигурных асбесто-цементных досок 17 и стальных полюсных пластин 16.
Блокировочное устройство контактора состоит из укреплённого на якорной пластине изолятора 27, к которому прикреплены подвижные пальцы блокировок 30 и 31, и неподвижных блокировочных контактов 29 и 32, укреплённых на стойках 4 и 5. Как подвижные, так и неподвижные блокировочные контакты имеют серебряные наплавки.
Для притирания контактов служат притирающие пружины 28 и 33.

Фиг. 225. Электромагнитный контактор КПД:
/ — Доска; 2 — дугогасительная катушка; 3 — держатель неподвижного контакта; 4 — шина; 5—шуит; 5 — скоба; 7 — ось якоря; 8 — якорь; 9 — катушка; 10 — сердечник; // —изолятор блокировки; 12 — панель изоляционная; 13 — контактные штыри блокировки; 14 — стержни со шплинтами; 15 — контактная планка обратной блокировки; 16 — притирающая пружина; 17 — контактная планка прямой блокировки; 18 — кронштейн с валиком; 19 — фигурный рычаг; 20 — притирающая пружина; 21 — подвижный контакт; 22 — защитная коронка; 23 — неподввжный контакт; 24 — дуго-. гасительная рамка; 25 —пластины дугогасительной камеры; 26 — полюсная пластина
Подвод тока к подвижным контактам блокировок производится по шунтам 8.
Электромагнитный контактор КПД (фиг. 225) монтируется на асбесто-цементной доске 1 размером 130 X 405 X 40 мм.
Контактор предназначен для включения цепей с большими токами, поэтому он имеет развитую контактную систему и закрытый тип привода.
Привод контактора состоит из П-образной скобы 6, к верхней полке которой крепится катушка 9 с сердечником 10.
Якорь 8 контактора, состоящий из фигурной пластины и П-образной скобы, качается на оси 7 так, что боковые пластины скобы якоря будут перемещаться в зазорах между тяговой катушкой и скобой привода. Такой закрытый тип магнитного привода уменьшает магнитное рассеяние, поэтому привод обеспечивает большое тяговое усилие якорю, чем гарантирует надёжное нажатие контактов.
Притирку и первоначальное нажатие контактов обеспечивает притирающая пружина 20.
Гашение электрической дуги происходит в дугогасительной камере, состоящей из боковых асбесто-цементных фигурных пластин 25 и стальных полюсных пластин 26.
Магнитное дутьё осуществляется дугогасительной катушкой 2, имеющей 4,75 витка сечением 6 х 22 мм.
Блокировочное устройство состоит из пластины 8, изолятора 11 с двумя контактными планками 15, 17 и изоляционной панели 12 с неподвижными контактами блокировки.
Электромагнитные вентили. Электромагнитным вентилем называют электрический прибор, предназначенный для управления впуском

Фиг. 226. Электромагнитные вентили:
/ — корпус; J —втулка; 3 — сердечник; 4 —катушка; 5 — латунные штифты; 5 —клапанная коробка или угольник; 7 — пуговка или штифт; 8 — пружина; 9 —якорь; 10 — магнитопровод; // —клапан выпускной; 12 — хвостовик впускного клапана; 13 — клапан впускной; 14 — выключающая пружина; IB — уплотнительные шайбы; 16 — пробка; А, Р, Ц — каналы
сжатого воздуха в привод аппарата и для выпуска его в атмосферу. На секции тепловоза имеется 13 электромагнитных вентилей включающего типа, г. е. впускающих сжатый воздух в аппарат при включённом положении.
Все вентили имеют примерно одинаковое устройство и могут быть разделены на три типа: ВВІ, ВВ2 и ВВЗ.
Три вентиля ВВІ служат для управления электропневматическим механизмом затяжки пружины всережимного регулятора двигателя.
Два вентиля ВВ2 управляют пневматическим приводом реверсора.
Вентили ВВЗ с некоторыми конструктивными изменениями корпуса употребляются для управления электропневматическими контакторами, песочницами, жалюзи холодильника и муфтой вентилятора.
Разрез вентиля типа ВВ2 и ВВЗ дан на фиг. 226, б, а типа ВВІ — на фиг. 226, а.
Вентиль состоит из корпуса /, в котором помещена пневматическая система, сердечника 3 с катушкой 4, магнитопровода 10, якоря 9 и клапанной коробки или угольника 6.
Оцинкованный корпус вентиля / изготовляется из мягкой стали. Мягкая; сталь обладает малым остаточным магнетизмом, т. е. способна легко пере-
•магничиваться. Корпус вентиля, как и другие детали, по которым проходит магнитный поток, отожжён, так как это способствует уменьшению остаточного ■магнетизма. Фланец корпуса имеет три воздушных канала А, Ц и Р и крепёж-'' ные отверстия. Верхний канал Ц соединён с цилиндром контактора, нижний' Р — с резервуаром сжатого воздуха, а канал А — с атмосферой. Вертикаль-' ный канал корпуса вверху и внизу имеет нарезку, по которой ввёртываются снизу пробка 16, сверху сердечник катушки 3. Под головку стальной оцинкованной пробки 16 подкладывают две уплотнительные шайбы 15 из мягкой листовой меди толщиной 0,5 мм. Конец пробки имеет конический выступ для установки пружины 14.
Втулку 2 вытачивают из фосфористой бронзы в виде пустотелого цилиндра с закраинами и впрессовывают в корпус. После этого во втулке через канал ■в корпусе вентиля сверлят боковое отверстие. Для постановки клапанов продольный канал втулки по концам раззенковываюг.
Впускной клапан состоит из собственно клапана 13 и хвостовика 12. Клапан изготовляют из бронзы Бр. АЖМЦ 10-3-1,5 в виде цилиндра диаметром 5 мм, снабжённого в конце шайбой диаметром 13 мм и хвостовиком диаметром "9 мм. Шайба клапана служит упором, а хвостовик — направляющей для выключающей пружины 14, навитой из прутка фосфористой бронзы диаметром ■0,8 мм.
Хвостовик 12 впускного клапана изготовлен из проволоки диаметром 1,5 мм.
Выпускной клапан // различен по своим размерам и форме у всех еєнти-.лей. Его нижняя часть у вентиля ВВІ имеет диаметр 9 мм, у вентилей ВВ2 и ВВЗ—5,3 мм. Как нижний впускной, так и верхний выпускной клапаны •притирают к седлу втулки 2.
У вентиля ВВЗ верхнюю часть втулки растачивают до диаметра 7 мм, а нижнюю — до диаметра 3,2 мм. У вентиля ВВ2 верхнее отверстие имеет диаметр 3,6 мм, а нижнее—2,9 мм. Вентиль ВВІ имеет наименьшее отверстие -седла, а именно: верхнее 2,2 мм и нижнее 1,7 мм.
Сердечник 3 катушки изготовлен в виде втулки со штуцером на одном конце и бортиком на другом из мягкой стали, отожжён и оцинкован. Бортиком -сердечник удерживает на себе катушку 4, а штуцером его ввёртывают в корпус / и стопорят винтом. В верхний торец сердечника запрессовывают латунные '.штифты 5, которые предотвращают возможное прилипание якоря к сердечнику.
Катушка 4 каркасного типа, двухсекционная. Намотку обеих половин катушки производят в разные стороны и начинают от средней шайбы, а потому оба выводных конца получаются сверху.
Корпуса вентилей ВВ2 и ВВЗ несут на себе Г-образный магнитопровод 10, к которому винтами крепится клапанная коробка 6 с крышкой (см. фиг. 226, б).
Магнитопровод 10 вентиля ВВІ, имеющий вид оцинкованной стальной «пластины, несёт на себе угольник 6 (см. фиг. 226, а).
Якорь 9 вентиля лежит одним своим концом на торце магнитопровода, •а другим — на стволе выпускного клапана.
Магнитопровод /<7 и якорь 9 изготовляют из мягкой отожжённой стали и оцинковывают. Коробку и крышку отливают под давлением из специального цинкового сплава (алюминия 3,5—4,5%, меди 2,5—3,5%, марганца не более 0,2% и остальное цинк).
В крышках вентилей ВВ2 и ВВЗ установлены пуговки 7 с возвратной •пружиной 8 под колпачком, а у вентиля ВВІ — штифт 7 с пружиной 8.
Действие. При возбуждённой катушке 4 вентиля в её сердечнике 3 и магнитопроводе 10 наводится электромагнитный поток, который притягивает •якорь 9 к сердечнику 3. Якорь 9 давит на стержень выпускного клапана // и он, преодолевая давление сжатого воздуха и пружины 14, садится на своё гнездо и отжимает впускной клапан 13 вниз.
Сжатый воздух из резервуара электропневматических механизмов по каналу Р, по зазору между впускным клапаном 13 и седлом, по каналу Ц пойдёт ;в привод аппарата.
После прекращения питания катушки вентиля сжатый воздух и возвратная пружина прижмут впускной клапан к своему седлу, а его хвостовик поднимет выпускной клапан. В этом положении канал Ц окажется сообщённым с атмосферой, а впускной клапан отсоединит канал, Р. Воздух из привода аппарата выйдет, и аппарат выключится.
Реле. Реле называют электрический аппарат, автоматически контролирующий параметры той или иной электрической цепи. Реле в отличие от контакторов и автоматов не имеют мощных силовых контактов, а обладают лишь блокировочными контактами, которые воздействуют на цепи управления других аппаратов. Это позволяет выполнять всю конструкцию реле очень лёгкой и обладающей большой точностью действия.
На секции тепловоза установлено шесть управляющих реле, а именно: реле обратного тока РОТ, реле переходов РП, три реле управления РУ1У РУ2 и РУЗ и реле времени РВ; четыре защитных реле, а именно: токовое реле перегрузки РТ, реле заземления РЗ, два реле боксования РБ1 и РБ2; два вспомогательных аппарата, а именно: регулятор напряжения РН и блокировочный магнит 114* (соленоид) регулятора, управляемый механическим реле давления масла.
Реле обратного тока. Реле обратного тока РОТ предназначено для защиты аккумуляторной батареи Б А от разряда её на вспомогательный генератор при понижении его напряжения ниже напряжения аккумуляторной батареи.
Реле обратного тока управляет контактором зарядки батареи Б. Когда напряжение вспомогательного генератора достаточно для зарядки батареи, реле включает контактор, и вспомогательный генератор заряжает аккумуляторную батарею. Когда же напряжение вспомогательного генератора становится меньше напряжения аккумуляторной батареи, реле обратного тока выключает контактор зарядки батареи Б.
Реле обратного тока типа ПР-26А (фиг. 227) состоит из асбесто-цементной доски 1 с прессшпановой прокладкой 2 толщиной 3 мм, на которой установлено собственно реле типа Р-44А и две трубки сопротивлений типа ТСМ, а именно: трубка /7 на 100 ом и трубка 10 на 400 ом, состоящая из двух секций в 25 и 375 ом.
Реле монтируют на основании 3, которое представляет собой стальную оцинкованную пластину размером 50 X 190 X 9 мм.
К основанию 3 реле латунными винтами 5 (Мб X 25—25) крепят сердечники катушек диаметром 19 мм. Между сердечниками и основанием ставят немагнитные латунные шайбы 31. На сердечники надеты катушки: шунтовая (напряжения) 8, сериесная (токовая) 21 и встречная, или дифференциальная, 30.
Шунтовая и встречная катушки каркасные, а сериесная представляет собой спираль, навитую из медной шины 1,81 X 13,5 на узкое ребро.
Для изоляции обмотки сериесной катушки на сердечник надевают бакелитовую трубку 7, а по концам ставят гетинаксовые шайбы.
Сердечник сериесной катушки несёт на себе держатель 20, на котором может качаться якорь реле.
Якорь реле состоит из стальной оцинкованной пластины толщиной 9 мм и размером 50 X 160 мм, в верхний конец которой ввёрнут латунный регулировочный винт 14 с контргайкой 13, а в нижний конец — контактный латунный винт 28 с контактом (серебряной наплавкой) 27 диаметром 8 мм и высотой 2 мм.
К верхнему плечу якорной пластины ближе к середине привинчен упор 1&г представляющий собой изогнутую под углом 40° стальную пластину сечением 20 X 10 мм. В отогнутой части упора поставлена специальная заклёпка с высокой головкой, которая служит направляющей для регулировочной пружины 19. Изменение нажатия пружины производится регулировочным винтом 16, ввёрнутым в специальную скобу 15. Скоба, изготовленная в виде салазок из.
* Условное обозначение на схеме электрических соединений.
стальной оцинкованной полосы размером 3 х 10 X 247 мм, крепится к держателю якоря и несёт на себе гетинаксовую изоляционную планку 23.
К изоляционной планке 23 крепится бронзовая пластинка 25 сечением 0,3 х 10 мм, зажатая между упорной стальной планкой 22 и предохранительной стальной планкой 24.
Регулировка реле может быть произведена в следующем порядке.
1. Установить ток во встречной катушке равным 0,14 а и в шунтовой катушке — 0,576 а.
2. Постепенно уменьшать ток во встречной катушке до нуля. Затем, пересоединив провода, изменить направление тока во встречной катушке и медленно, плавно увеличивать ток. Реле должно включаться при токе, меньшем 0,008 а.

Фиг. 227. Реле обратного тока:
t—доска: 2— прокладка: 3 — основание: 4 — крепёжные болты; 5 — винты; б— шунт; 7—бакелитовая трубка; 8 — шунтовая катушка; 9 — крепление катушек: 10 и // — трубки сопротивлений; 12 — соединение; 13 — контргайка; 14, 16 — регулировочные винты: 15 — скоба; 17—контргайка; 18 — упор; 19 — регулировочная пружина; 20 — держатель; 21 — сериесная катушка; 22— планка; 23 — изоляционная планка; 24 — предохранительная планка; 25 — гибкая пластинка подвижного контакта; 26 — неподвижный блокировочный контакт; 27 — подвижный блокировочный контакт; 28, 32 — винты; 29 — якорная пластина; 30 — встречная катушка; 31 — немагнитные шайбы
Подрегулировку следует производить, изменяя нажатие на регулировочную пружину. Для уменьшения тока включения нужно увеличить нажатие регулировочной пружины.
3. Отключить встречную катушку. Медленно и плавно понижать ток в шунтовой катушке до выключения якоря реле. Выключение должно произойти при токе не меньше чем 0,075 а. Регулировка тока отпадания якоря должна производиться регулировочным винтом.
4. Установить ток в шунтовой катушке равным 0,135 а и включить якорь реле вручную. Затем медленно повышать ток в сериесной катушке до отключения якоря. Ток отключения должен быть не более 8,5—-9 а.
После этого нужно проверить всю регулировку полностью.
Реле переходов. Реле переходов РП совместно с реле управления РУ1 и реле времени РВ управляет автоматическим переходом (переключением) с последовательного соединения тяговых электродвигателей на последовательно-параллельное при скорости движения тепловоза 15—16 км/час, с последовательно-параллельного соединения с полным полем на последовательно-параллельное соединение с ослабленным полем электродвигателей при достижении скорости движения порядка 30—32 км/час и с последовательно-па-
раллельного соединения с ослабленным полем на последовательно-параллельное с полным полем при снижении скорости движения ниже 24—23 км/час.
Реле переходов типа Р-42Б-1 монтируется на асбесто-цементной доске 1 (фиг* 228) толщиной 25 мм с прессшпановой прокладкой 2 толщиной 3 мм. К доске / винтами 7 крепится магнитная рама, состоящая из пластины 4 размером 6 X 68 X 160 мм, двух стоек 10 и планки 25. прикреплённой к стойкам винтами.
Все детали магнитной рамы изготовляются из мягкой отожжённой стали и для защиты от коррозии оцинковываются.
К пластине 4 винтами 5 прикрепляют сердечник шунтовой катушки б и сердечник сериесной катушки 12. Сердечники представляют собой стальные-оцинкованные цилиндры диаметром 19,5 мм и длиной 35 мм.

Фиг. 228. Реле переходов:
/—доска; 2 —прокладка; 3, 13— плунжеры; 4— стальная пластина; 5 —винт для крепления сердечника; в— сердечник шунтовой катушки; 7 — вннт для крепления пластины; « — противовес; 9 — ось якоря; /о — стовки, // — якорь; /2 —сердечник сериесной катушки; 14 — планка; 15, 29— гибкие пластины; 1Ь — подвижный контакт блокировки; 17 32 — неподвижные контакты блокировки; /« — держатель изоляционный; 19 — держатель неподвижного контакта; 20, 28 — защитные планки; 21, 25—держателя; ^„^7 —шунты; 23 — регулировочная пружина; 24 — регулировочный винт; 25 — планка; 30 — держатель неподвижного контакта: 31— подвижный блокировочный контакт
На оси 9, укреплённой в стойках 10, качается якорь реле, состоящий из собственно якоря 7/, противовеса 8, плунжеров 3 и 13, укреплённых в якорной пластине своими нарезанными хвостовиками, и двух держателей контактов
21 и 26
Плунжеры 3 и 13 представляют собой стальные цилиндры диаметром 17 мм с нарезанными хвостовиками Мб и напайкой А-59.
Держатели 21 и 26, представляющие собой фибровые или текстолитовые пластинки, несут на себе подвижные контакты, состоящие из пружинящих гибких пластин 15 и 29 с напаянными серебряными контактами 16 и 31, зажимных планок 14 и защитных планок 20 и 28,
Подвод тока к подвижным контактам производят по гибким шунтам.
22 и 27.
К планке 25 винтами крепят держатель контактов 19, который несёт на себе два серебряных неподвижных контакта 17 и 32, напаянных на держателях
18 и 30. Наружные концы держателей 18 и 30 служат клеммами. В качестве двух других клемм блокировок используют концы винтов, крепящих шунты 22 и 27.
Для регулировки положения плунжеров их хвостовики имеют прорези под отвёртку, а держатель 19 имеет два цилиндрических отверстия.
При обесточенных катушках якорь реле поворачивается против часовой стрелки до упора наплавкой плунжера 13 в сердечник 12 сериесной катушки под действием регулировочной пружины 23, помещённой между нижним плечом якоря и регулировочным винтом 24.
Прежде чем приступить к регулировке реле, проверяют разделку его блок-контактов.
Пружинящая планка нижнего контакта должна быть изогнута так, чтобы в свободном состоянии (контакт разобран) она имела стрелу прогиба 1—2 мм. Этот прогиб создаёт первоначальное усилие на контакте, которое заставляет его чётко, без вибрации прижиматься к скобе контакта, если отвести контакт пальцем.
Пружинящая планка верхнего контакта должна быть изогнута так, чтобы после сборки контакта она прижималась полностью к скобе лишь после того, как контакту будет дано смещение на 1,5—2,0 мм.
Регулировку реле производят в рабочем положении, т. е. панель устанавливают вертикально, шунтовой катушкой кверху.
Плунжер шунтовой катушки должен быть ввинчен так, чтобы резьба его хвостовика выглядывала на 1 —1,5 витка. Плунжер сериесной катушки должен быть ввинчен по возможности больше, но так, чтобы якорь реле не упирался в каркас катушки. Упираться должен плунжер в сердечник катушки.
Вначале проверяют полярность катушек. Для этого при обесточенной сериесной катушке устанавливают в шунтовой катушке ток порядка 20 ма и замечают направление отклонения северного конца стрелки компаса, поднесённого к катушке Затем отключают шунтовую катушку, а в сериесной катушке устанавливают ток порядка 0,2 а. Северный конец стрелки компаса, поднесённого к сериесной катушке, должен отклониться в другую сторону. Если же конец стрелки компаса отклоняется в ту же сторону, то это указывает на неправильность нанесения клемм на панели, следовательно, нужно клеммы одной из катушек поменять.
Регулировку можно вести в такой последовательности.
1. Установить в сериесной катушке ток в 1 а. Затем нужно медленно повы--шать ток в шунтовой катушке. Включение реле должно произойти при токе в шунтовой катушке, равном 157 ма. Если включение реле происходит при токе в шунтовой катушке, большем чем 157 ма, то нужно, ввёртывая плунжер сериесной катушки, уменьшить зазор между плунжером и сердечником шунтовой катушки. Если же реле включается при токе, меньшем 157 ма, то нужно несколько вывернуть плунжер сериесной катушки.
2. Выключить ток в сериесной катушке. Медленно .повышать ток в шунтовой катушке и изменением натяжения регулировочной пружины добиться включения реле при токе 48—50 ма. После этого нужно проверить, включается ли реле при токе 1 а в сериесной катушке и 157 ма — в шунтовой и откорректировать изменением положения плунжера сериесной катушки.
3. Установить ток в сериесной катушке 1,6 а, а в шунтовой катушке 100—120 ма и вручную включить реле. Затем медленно снижать ток в шунтовой катушке. Размыкание должно произойти при токе 32—33 ма. Если размыкание контактов происходит при токе, большем 32—33 ма, то это указывает на то, что на плунжере шунтовой катушки латунная прокладка толще требуемой. Если отключение реле происходит при токе, меньшем 32—33 ма, значит латунная прокладка тонка. Осторожно подпиливая или напаивая латунные прокладки на плунжере, добиваются отключения реле при токе в шунтовой катушке 32—33 ма.
При отыскании места спиливания прокладки нужно пользоваться краской, которую наносят на торец сердечника катушки.
4. Нормально отрегулированное реле с правильно выставленными плунжерами должно выключаться при токе 0,8 а в сериесной катушке и при 16— 18 ма — в шунтовой.
Если размыкание контактов получается при токе, большем 18 ма в шунтовой катушке, то это указывает на то, что в начале регулировки плунжер шунтовой катушки был мало ввинчен, а плунжер сериесной катушки был мало вывинчен. Ниже приведена таблица значений токов, при которых срабатывает реле переходов.
Таблица значений токов, при которых срабатывает реле переходов

Вследствие неизбежных в производстве отклонений электромеханических характеристик главного генератора и возбудителя от расчётных приходится производить дополнительную регулировку реле переходов на каждом тепловозе. Эта регулировка должна производиться исключительно изменением величин сопротивлений панели СРП.
Реле заземления. Реле заземления типа Р-45Г-2 разрывает цепи возбуждения возбудителя и главного генератора при замыканиях в силовой цепи на корпус. Одновременно реле замыкает цепь лампы красного сигнала, установленного в кабине машиниста. Реле подключено к минусовому проводу первой тележки через отключатель 105 типа ГВ 25А-1 и сопротивление панели СРЗ типа ЩС 44А-1, состоящее из 4 элементов сопротивлений типа СР-2 по 1,9 ом. Второй конец катушки припаян к каркасу высоковольтной камеры.
Реле заземления контакторного типа смонтировано на вертикальной асбесто-цементной доске 1 (фиг. 229) с прессшпановой прокладкой толщиной 2 мм. К доске панели винтами крепится Г-образный кронштейн 12. На кронштейне укреплён специальным винтом // сердечник 9 с тяговой катушкой 7 и планки 13 сечением 3 X 15 мм. Планки изогнуты под углом Т и прикреплены винтами М5 X 15—15.
На скосе кронштейна 12 между планками 13 качается якорь реле. Якорь 10 реле изготовлен из мягкой стальной отожжённой пластины толщиной 6 мм. В средней части якорь изогнут и по краям имеет косые вырезы, которыми он удерживается на изогнутых планках 13.
К изогнутым планкам 13 (болтами М5 х 15—15) крепится угольник 14, выполненный из оцинкованной стальной полосы толщиной 2 мм. В нарезанное отверстие этого угольника ввёрнут регулировочный винт 17 (М6Х25—25) с контргайкой.
При обесточенной катушке якорь реле под действием регулировочной пружины 16 находится в выключенном положении. При этом изолятор 18, выполненный из композиции 6208, вместе с шарнирно укреплёнными на нём пальцами подвижных контактов 20 переместится так, что пальцы прижмутся к неподвижным контактам стоек 21. Для первоначального нажатия и притирания контактов служат притирающие пружины 19, а для уменьшения переходного сопротивления на контактных поверхностях наплавлены серебряные контакты. Одновременно якорь давит на штырь 22, который, сжимая пру-
жину 23, перемещает мостик 26 вместе со штырём так, что серебряные контакты мостика отходят от серебряных контактов угольников 25.
Если же по обмотке тяговой катушки реле пройдёт ток величиной в 10 а, то сердечник 9, сжимая регулировочную пружину 16, включит якорь 10. При этом планка 8 войдёт в вырез рычага защёлки 6, а рычаг под действием пружины 4 повернётся и запрёт якорь во включённом положении.
При включённом положении якоря пальцевые, нормально замкнутые блокировки окажутся выключенными, а мостиковая, нормально разомкнутая блокировка реле — включённой.
Реле управления. На тепловозе имеется три реле управления: реле управления РУ1, управляющее совместно с реле переходов переключением электродвигателей с последовательного на последовательно-параллель-

Фиг. 229. Реле заземления:
; —доска; 2 —угольник; 3 — болт; 4 — пружина защёлки; 5 —ось; 5 —рычаг защёлки; 7 — катушка; 8, 13 — планки; 9 — сердечник катушки; 10 — якорь; // — винт крепления катушки; /2— кронштейн; 14 — угольник; 15 — шунт; 16 — регулировочная пружина; /7— регулировочный винт; 18 — изолятор; 19 — притирающая пружина; 2о — подвижный контакт; 21 —стойки с неподвижны ми контактами; 22 —штырь; 23 — пружина; 24 — изолятор блокировки; 25 — клеммный угольник; 26 — контактный мостик; 27 — пружина
ное соединение и удерживающее это соединение; реле управления РУ2, закорачивающее часть сопротивления плавного пуска, и реле управления РУЗ, закорачивающее всё сопротивление плавного пуска.
Реле управления РУ1 типа Р-45Е-2 и реле управления РУ2 и РУЗ типа Р-45Д-2 являются разновидностью реле типа Р-45 и отличаются от реле заземления типа Р-45Г-2 только параметрами тяговой катушки, числом блокировочных контактов и отсутствием защёлки.
Реле управления РУ1 имеет один нормально разомкнутый и один нормально замкнутый блокировочные контакты.
Реле управления РУ2 и РУЗ имеют по два нормально разомкнутых блокировочных контакта, причём подвижные контакты каждого реле постоянно соединены между собой, а поэтому оба контакта каждого реле включаются в одну цепь в виде мостика.
Реле боксования. Реле боксования — защитное, оно включается при начавшемся боксовании хотя бы одной колёсной пары тепловоза. При срабатывании реле отключает цепь питания обмотки возбуждения возбудителя от вспомогательного генератора, снимая тем самым пвчти полностью возбуждение главного генератора, и создаёт цепь питания зуммеров, чем подаётся звуковой сигнал машинисту.
На секции тепловоза установлено два реле боксования РБ1 и РБ2 типа Р-46Б-1. Реле боксования РБ1 включено в цепь первой тележки, а реле РБ2 — в цепь второй тележки.
Для создания цепи включения реле боксования РБ1 между зажимом се-риес-параллельного контактора СП2 и верхними силовыми пальцами реверсора включены сопротивления СРБ1 панели ЩС27А-4 (см. вклейку фиг. 244). На изоляционной доске панели установлено 4 элемента сопротивлений типа ТС по 500 ом.
Суммарное падение напряжения на сопротивлениях равно падению напряжения на двух последовательно соединённых тяговых электродвигателях первой тележки. Катушка реле включена между первым и вторым электродвигателями и между третьей и второй трубками сопротивлений панели.

Фиг. 230. Реле боксования:
/—доска: 2 — держатель; 3 — задний неподвижный контакт; 4—гибкий держатель контакта; 5 —жёсткий держатель контакта; 5 — передний неподвижный контакт; 7— сухарь; 8 — коромысло; 9 — ось; 10 — кронштейн; // — шунт; 12 — изогнутая пластина; 13 — регулировочный винт; 14 — специальный держатель пружины; 15 — регулировочная пружина; 16 — пластина якоря; 17 — плунжер; 18 — катушка; 19 — сердечник катушки; 20 — вннт крепления сердечника катушки; 21—винты крепления кронштейна:
22 — винты крепления катушки
При нормальной работе электродвигателей по катушке реле ток не проходит, так как она подключена к точкам с равными потенциалами. Если одна из колёсных пар начнёт боксовать, то сопротивление её электродвигателя возрастает вследствие увеличения противоэлектродвижущей силы. Это вызовет увеличение напряжения на данном электродвигателе, и катушка реле окажется подключённой к точкам с разными потенциалами, а потому по ней пойдёт ток. Реле очень чувствительное и включается уже при токе 0,05 а.
Реле монтируется на вертикальной асбесто-цементной доске / (фиг. 230) толщиной 25 мм с прессшпановой прокладкой толщиной 2 мм.
К панели двумя винтами 21 (Мб X 22 — 22) крепится стальной оцинкованный кронштейн 10. На кронштейне винтом 20 (Мб X 18— 18) укреплён сердечник 19 катушки 18 реле. Сердечник 19 представляет собой стальной оцинкованный цилиндр диаметром 18 мм и длиной 33 мм с головкой диаметром 19,5 мм и высотой 2 мм. Катушка 18 реле каркасного типа крепится винтами 22 к доске.
На оси 9, проходящей через кронштейн 10, качается якорь реле. Якорь реле состоит из коромысла 8, изготовленного из алюминиевой пластины толщиной 4 мм, стальной пластины 16 толщиной 5 мм, плунжера 17 и двойного подвижного контакта.
Плунжер реле представляет собой стальной оцинкованный цилиндр диаметром 16 мм и длиной 11 мм с латунной наплавкой высотой 0,3 мм с одной стороны и хвостовиком с нарезкой с другой.
Двойной подвижный контакт присоединяется к якорю через алюминиевый сухарь 7 винтом (М4 X 25 — 25) и состоит из гибкого держателя 4 толщиной 0,1 мм с контактом и жёсткого стального держателя 5 толщиной 1 мм с контактом.
Между якорем и стальной изогнутой пластиной 12 сечением 4 X 12 мм находится регулировочная пружина 15.
Если по катушке реле пропустить ток величиной 0,05 а, то её сердечник, преодолевая натяжение регулировочной пружины 15, притянет плунжер, чем заставит повернуться якорь реле. При этом нормально замкнутый блокировочный контакт выключается, а подвижный контакт и неподвижный б, укреплённый на винте, включаются.
Подрегулировку реле на ток включения производят изменением натяжения регулировочной пружины.
Выключаться реле должно при токе 0,042—0,043 а. Подрегулировку реле на ток выключения производят изменением положения плунжера.
Реле перегрузки. Реле перегрузки РТ — защитное, оно предназначено для защиты главного генератора от перегрузки токами большой величины при последовательно-параллельном соединении тяговых электродвигателей уменьшением возбуждения возбудителя.
На тепловозе установлена панель реле перегрузки типа ПР 27А-1, состоящая из пропитанной и лакированной асбесто-цементной доски 1 (фиг. 231) и размещённых на ней собственно реле типа Р-47А, двух конденсаторов //, трубки сопротивления 8 панели типа ЩС 40А-1 и добавочного сопротивления в цепи конденсатора.
Реле типа Р-47А отличается от реле боксования только катушкой и подвижным контактом.
Катушка реле перегрузки состоит из короткого сердечника, изоляционной трубки 5, шунтовой обмотки 4 и сериесной обмотки 6. Шунтовая обмотка катушки представляет, по сути дела, обычную каркасную катушку. Сериесная обмотка катушки состоит из 1,25 витка, намотанного из медной шины сечением 8 X 18 мм. Концы этой обмотки снабжены кабельными наконечниками 21.
Подвижный блокировочный контакт 12 реле представляет собой стальную пластинку толщиной 1 мм с напаянными на неё серебряными контактами.
Трубка сопротивления 8 типа ЩС 40А-1 представляет собой один столбик сопротивления типа СР-2, разделённый на две секции.
Величина сопротивления верхней секции составляет примерно 3,5 ом, а нижней — 6,1 ом.
Конденсаторы // типа ВЗК-153 ёмкостью по 0,5 мкф.
Добавочное сопротивление в цепи конденсаторов представляет собой спираль в 32 витка из нихромовой проволоки диаметром 0,6 мм и общей длиной 675 мм. Сопротивление её составляет 2,25—2,45 ом.
Реле и конденсаторы панели закрываются металлическим кожухом 15.
Регулировка. Регулировку реле можно производить практически только во время реостатных испытаний тепловоза. Реле должно быть отрегулировано так, чтобы при токе в шунтовой обмотке катушки в 1,5 а и токе 640—660 а в сериесной обмотке катушки происходила вибрация подвижного контакта у заднего неподвижного.
При токе в сериесной катушке 680—700 а якорь реле должен занимать . среднее положение, а при токе 700—715 а должна происходить вибрация подвижного контакта у переднего неподвижного,
Производить какую-либо подрегулировку реле во время эксплуатации -•категорически воспрещается.
Реле времени. Реле времени РВ предназначено для устранения возможности повторных включений реле переходов РП и контакторов шунтиров-ки поля Ш1 и 1112 при автоматическом переходе с последовательно-параллельного соединения тяговых электродвигателей с шунтировкой поля на последовательно-параллельное соединение с полным полем.
При отключении шунтирующих сопротивлений СШ1 и СШ2 происходит значительное уменьшение величины тока в силовой цепи и некоторое увели-

Фиг. 231. Реле перегрузки:
/ — доска; 2 —прокладка; 3 — плунжер; 4 — шунтовая обмотка; 5 — изоляционная трубка; 6 — сериесная -Обмотка; 7 —кронштейн; «—трубка сопротивления; 9 — коромысло; 10 — ось; // — конденсаторы; /2 —двусторонний подвижный контакт; 13 — задний неподвижный контакт; 14 — передний неподвижный контакт; 15 — кожух; 16 — угольник; /7 —шунт; /« — регулировочный винт; 19 — регулировочная пружина; 20 — кронштейн трубки сопротивления; 21— кабельные наконечники
чение напряжения. Это изменение соотношения величины тока и напряжения, вызванное не увеличением скорости движения, а являющееся результатом переходного процесса, вызывает нежелательное включение реле переходов.
После выключения контактора шунтировки поля Ш1 разрывается цепь питания катушки реле времени РВ, но якорь реле не отпадает ещё 3—4 сек., а потому его обратная блокировка (нормально закрытый блокировочный контакт) в цепи сопротивлений СРП не замыкается, не давая возможности включиться реле переходов.
Через 3—4 сек. реле времени отключится, но за это время переходный процесс закончится и реле своей блокировкой подготовит реле переходов к включению.
Реле времени типа Р-3200-Б-0/1 монтируется на асбесто-цементной доске / (фигч 232), к которой винтами крепится кронштейн 2 толщиной 12 мм, высотой 100,5 мм и широким основанием в 75 мм. К основанию кронштейна прикреплён сердечник 5 диаметром 35 мм. На сердечник надевается тяговая катушка 3.
Катушка каркасного типа двухсекционная наматывается на гильзу 4, выполненную из чистой электролитической меди с внутренним диаметром-36 мм и со стенками толщиной 11 мм. Катушка на сердечнике удерживается специальной бронзовой лужёной шайбой 6 толщиной 3 мм и диаметром 70 мм. Шайба 6 имеет вид предельной скобы и входит в круговую проточку на сердечнике.
К кронштейну крепится специальный упор 17, изготовленный из мягкой стали в виде уголка. Горизонтальная полка упора имеет фигурное отверстие и хвостовик 19.
В отверстие упора входит якорь реле, состоящий из наружной планки 16, средней планки 13, собственно якоря 15 и регулировочных прокладок 8. Наружная планка имеет толщину 4 мм и ширину 20 мм. Эта планка входит своим-

Фиг. 232. Реле времени:
/ — доска; 2 — кронштейн; 3 — катушка; 4 — медная гильза; 5 —сердечник катушки; 5 —бронзовая шайба;. 7 —держатели неподвижных контактов; « — регулировочные прокладки; 9 — текстолитовый держатель-контакта; 10— пружина подвижного контакта; // — подвижный мостиковый контакт; 12 — неподвижный контакт; 13 — средняя планка якоря; 14 — упорный винт; /5 —собственно якорь; 16 — наружная-планка якоря; /7 —специальный упор; /« — регулировочная пружина; 19 — хвостовик полки упора
отогнутым верхним концом в отверстие упора и принимает на себя давление регулировочной пружины 18. Средняя планка 13 несёт на своём нижнем конце держатель 9 контакта. Планки 16, 13 и якорь 15 изготовляются из мягкой отожжённой стали и оцинковываются. Регулировочные прокладки 8 изготовляются из листовой бронзы толщиной 0,1 мм и для защиты от коррозии лудятся.
На держателе контакта 9, изготовленном из композиции 6208, укреплён-подвижный мостиковын контакт 11. Неподвижные контакты 12, изготовленные в виде серебряных цилиндриков, припаяны к специальным оцинкованным шпилькам-держателям 7. Для обеспечения первоначального нажатия подвижный контакт отжимается пружиной 10.
Регулировка. Выдержка времени перед отпаданием якоря получается за счёт искусственного замедления спадания потока в магнитной цепи реле после прекращения питания тяговой катушки.
Действительно, при выключении тока спадает электромагнитный поток катушки, и в медной гильзе, как в замкнутом витке трансформатора, возникает ток. Этот ток наводит магнитный поток, который задерживает спадание первоначального потока. Выдержка реле зависит от зазора между железом сердечника катушки и якорем, что и используется для грубой регулировки реле методом подбора бронзовых прокладок. Точная регулировка реле производится изменением натяжения регулировочной пружины 18.
При регулировке реле нужно иметь в виду следующие два фактора. Во-первых, движение якоря начинается при потоке, несколько меньшем установившегося, а потому после притяжения якоря магнитный поток продолжает некоторое время увеличиваться. Если выключение катушки реле будет произведено раньше времени, необходимого для достижения потоком установившегося состояния, то выдержка времени аппаратом будет несколько меньше.
Во-вторых, выдержка времени реле зависит от сопротивления катушки и при этом выдержка тем меньше, чем больше сопротивление.
Сопротивление же, как известно, зависит от температуры. Поэтому реле .должно регулироваться при нагретой катушке и медной гильзе. Если же
реле будет отрегулировано при температуре катушки 20°, то время выдержки при предельно допустимой температуре катушки составит не более 70% от нормального.
Вспомогательные электрические аппараты. К вспомогательным электрическим аппаратам относят регулятор напряжения, блокировочный магнит (соленоид) регулятора двигателя, привод тифона, зуммер и пр.
Регулятор напряже-н и я. Питание цепей возбуждения возбудителя, освещения, управления и зарядка аккумуляторной батареи осуществляются на тепловозе от вспомогательного генератора. Все эти потребители требуют для нормальной своей работы постоянства напряжения.
Вспомогательный генератор представляет собой шунтовую электрическую машину, число оборотов и нагрузка которой изменяются в широких пределах. Для поддержания напряжения вспомогательного генератора примерно постоянным независимо от оборотов двигателя и от нагрузки в цепях служебного тока применяется специальный аппарат—регулятор напряжения.
Регулятор напряжения монтируется на специальной панели типа ПР-29А-1.
На панели ПР-29А-1, кроме собственно регулятора / (фиг. 233) типа СРН-2В, установлено промежуточное реле 4 типа Р-45Ж, четыре конденсатора 2 типа В-ЗК-153 по 0,5 мкф и пять трубок сопротивлений 3 типа ТСБ, а именно: сопротивление £>0— трубка ТСБ-5; сопротивление 7^1 —трубка ТСБ-55; сопротивление #2—трубка ТСБ-14 и сопротивления #3 и #4— трубки ТСБ-40.
Собственно регулятор (фиг. 234) состоит из ярма с сердечником, подвижной и неподвижной катушек, якоря с контактами и регулировочной пружины.
Ярмо 1 представляет собой оцинкованную скобу, изготовленную из мягкой отожжённой полосовой стали. В отверстие, просверленное в левой части •скобы, запрессовывается стальная втулка 2. В середине правой части скобы крепится сердечник 3 с надетой на него неподвижной катушкой 16. Сердечник выходит за пределы неподвижной катушки и проходит внутри стальной втулки, так что между ними образуется кольцевой зазор, в котором перемещается вдоль оси подвижная катушка 5. Такая конструкция сделана с целью получения равномерного магнитного потока на всей длине движения подвижной катушки.
Подвижная катушка наматывается на каркас — латунную втулочку, укреплённую на якоре регулятора. Один конец катушки во избежание потери обмо-

•Фиг. 233. Панель регулятора напряжения:
/— регулятор; 2— конденсаторы; 3 — сопротивления; 4 — промежуточное реле; 5 — панель (доска)
точного пространства на вывод и по конструктивным соображениям припаивается к каркасу, а второй имеет гибкий вывод.
Якорь реле изготовлен в виде фигурного рычага из двух алюминиевых пластинок 4. К нижнему концу якоря прикрепляется каркас подвижной катушки, а к верхнему — изоляционная планка 6, несущая на себе держатель 7 подвижного контакта 10. В средней своей части якорь имеет ось. Ось изготовляется из стального прутка диаметром 4 мм. Призматические концы оси цементируются. Призмами оси якорь опирается на стальную скобу, укреплённую вверху левой части магнитного ярма. Несколько выше оси качания якоря, между боковыми пластинами, помещается специальный валик, к которому крепится регулировочная пружина 12.
Натяжение пружины регулируется специальным винтом 14, проходящим через ось скобы 15, укреплённой вверху правой части ярма.
Подвижный контакт 10 и правый неподвижный И изготовляются из графита, левый неподвижный контакт 9 — из серебра. Иногда правый неподвижный контакт изготовляется также из серебра. Неподвижные контакты подвешиваются на биметаллических пластинах 8, которые в свою очередь крепятся к жёстким стальным угольникам. Биметаллическая пластина, состоящая из двух слоев разных металлов с разными коэффициентами температурного расширения, при нагревании изгибается и сдвигает соответствующий неподвижный контакт относительно оси подвижного контакта. Ввиду того что температура биметаллических пластин меняется, они сдвигают контакты
один относительно другого на 1—2 мм, что способствует равномерному износу контактов.
Так называемые угольные контакты изготовляются из специального твёрдого электрографитированного угля с содержанием золы не более 0.3%. Увеличенная твёрдость угля диктуется желанием увеличить срок работы регулятора без его подрегулировки и смены контактов. Зола, содержащаяся в угле, образует на контактах изоляционный слой, увеличивающий переходное сопротивление.
Применением серебряных контактов обычно пытаются улучшить работу регулятора. Левый контакт, пропускающий более сильные токи, делается всегда серебряным.
Промежуточное реле типа Р-45Ж по устройству и техническим данным ничем не отличается от реле управления типа Р-45Д-2, но имеет нормально замкнутую блокировку.

Фиг. 234. Регулятор напряжения:
/ — ярмо; 2 — стальная втулка; 3 — сердечник неподвижной катушки; 4 — якорные пластинки; 5 — подвижная катушка; 6— изоляционная планка; 7 —держатель подвижног ■ контакта; 8 — биметаллические пластины; 9 — неподвижный контакт (серебряный); 10 — подвижный контакт; // — неподвижный контакт (угольный); 12 — регулировочная пружина; 13 — держатель пружины; 14 — регулировочный винт; 15 — скоба; 16 — неподвижная катушка
Конденсаторы типа ВЗК-153 имеют ёмкость поО,5 мкф. На схемах регулятор ра показаны только два конденсатора, так как два других являются запасными.
Сопротивления панели регулятора — трубчатые эмалированные типа ТСБ. Расположены они горизонтально в верхней части панели в два ряда.
Блокировочный магнит регулятора. Блокировочный магнит, или соленоид, как его часто называют, предназначен для управления специальным клапаном, перекрывающим перепускной канал под силовым поршнем сервомотора регулятора числа оборотов двигателя.
Соленоид состоит из ярма, катушки, сердечника, коробки и блокировочного устройства (фиг. 235).

/ — ярмо; 2— катушка; З — пластина; 4 — сердечник катушки; б — хвостовик плунжера; 6 — пружина коробки; 7 —плунжер; 8 — ось роликов; 9 — ролики плунжера; 10— коробка; // — крышка ярма; /2 —верхний штырь блокировки; 13 — пружина верхняя; 14 — изолятор блокировки; 15 — пружина нижняя; 16 — нижний штырь; 17 — клеммные уголки (верхние); 18 — верхний мостик блокировки; 19 — нижний мостик блокировки; 20 — клеммиые уголки (нижние)
Ярмо / соленоида образует скоба, выгнутая в виде опрокинутого П из пластины толщиной 7 мм, нижней пластины 3 толщиной 2 мм, сердечника 4 высотой 37 мм и крышки // толщиной 10 мм. Все эти детали оцинкованы и изготовлены из мягкой отожжённой стали.
На сердечник 4 надевается катушка соленоида 2. Внутри катушки перемещается плунжер 7 с хвостовиком 5.
Плунжер 7 представляет собой стальной оцинкованный цилиндр диаметром 18 мм, а хвостовик 5 — латунный цилиндр диаметром 5 мм и длиной 18 мм. Ход плунжера соленоида 2 мм.
Коробка соленоида 10 опирается одним концом на крышку 11, а другим на штырь 12.
Вниз коробка опускается роликами 9, сидящими на оси 8, а вверх поднимается пружиной коробки 6.
Блокировочное устройство состоит из изолятора 14, штырей 12 и 16, неподвижных контактов, напаянных на уголках 17 и 20, и подвижных контактов, напаянных на мостики 18 и 19.
Изолятор 14 изготовлен из композиции 6205, а штыри 12 и 16 из текстолита.
Мостики 18 и 19 представляют собой пластинки толщиной 2 мм с габаритными размерами 14 X 43 мм. Подвижные и неподвижные контакты представляют собой серебряные цилиндрики высотой 1,5 мм и диаметром 8 мм.
При обесточенной катушке пружина 6 совместно с пружинами блокировочного устройства поднимает коробку 10. Коробка посредством роликов 9 поднимает плунжер 7 так, что между концом хвостовика 5 и основанием соленоида получается зазор 8—9,5 мм.
Если по катушке пропустить ток, то её сердечник 4 притянет плунжер 7, чем заставит опуститься хвостовик 5 на 2 мм.
При выключенном соленоиде замыкаются неподвижные контакты уголков 17 мостиком 18, а при включённом положении замыкаются неподвижные контакты уголков 20 мостиком 19.
Привод тифона. Электромагнитный привод тифона выполнен на магнитной основе специального прибора ЭЛС-1. Катушка соленоида привода тифона намотана из провода марки ПЭЛ-1 диаметром 0,44 мм. Для намотки катушки требуется 360 г провода. Ход сердечника привода должен быть не более 8,5 мм, а тяговое усилие не менее 8 кг (в начале хода).
Аппараты управления. Общие сведения. Аппаратами управления обычно называют контроллер, реверсор, кнопочный выключатель и различные переключатели.
Все аппараты управления имеют ручной непосредственный привод, за исключением реверсора, имеющего электропневматическое дистанционное управление.
Контроллер машиниста, кнопочный выключатель и выключатель реле переходов расположены в кабине машиниста. Реверсор расположен в высоковольтной камере.
Контроллер машиниста. Контроллер машиниста предназначен для управления движением тепловоза.
Контроллером машиниста производятся переключения в цепях управления, необходимые для трогания с места, изменения направления движения тепловоза и изменения чисел оборотов двигателя.
Контроллер машиниста типа КВ-15А собирается в корпусе, состоящем из уголков 1 (фиг. 236) и крышек 4 и 14, отлитых из чугуна СЧ 12-28.
В латунных втулках, укреплённых в крышках контроллера, вращается главный вал 8, на котором укреплены шайбы фиксатора 7, реверсивный бара: бан 10 и славный барабан, состоящий из кулачковых шайб 20.
Помимо главного вала, в контроллере имеется ещё так называемый реверсивный вал 3.
Оба вала контроллера имеют на своих концах рукоятки 5 и 6.
Рукоятка реверсивного барабана 5 имеет три положения: «Вперёд», «Стоп*, и «Назад». п
Рукоятка главного вала 6 имеет холостой ход и восемь рабочих положений. ;
Реверсивный барабан 10 контроллера состоит из двух кулачковых латунных шайб, между которыми помещены изоляционные шайбы.. Главный бар а-» бан состоит из восьми кулачковых шайб.
Текстолитовая доска 9 несёт на себе девять неподвижных контактов, состоящих из планки 29 и серебряной наплавки 28 размером 1,5 X 8 х 10 мм.
На текстолитовой доске // укреплены девять контактных пальцев, состоящих из угольника 21, собственно пальца 24, ролика 23, включающей пружины 22, шунта 25 с концевыми сплющенными трубочками, притирающей пружины 26 и серебряной наплавки 27 размером 1,5 X 8 х 10 мм.
Угольник 21 контакта, изготовленный из латуни толщиной 6 мм и шириной 10 мм, имеет развёрнутую длину 80 мм.
К угольнику шарнирно крепится палец 24, изготовленный из мягкой оцин- . кованной стали толщиной I мм, в виде фигурного корыта длиной 104 мм и шириной 12 мм.
На стальной оси диаметром 3 мм в корыте пальца шарнирно укреплён ролик 23 диаметром 10 мм и длиной 9,5 мм. Ось изготовлена из Ст. 5, а ролик— из Ст. 2 и зацементирован на глубину 0,5 мм.
Пружина 22 предназначена для включения пальца, когда ролик 23 попадёт в выемку кулачковой шайбы 20.
Главная и реверсивная рукоятки механически между собой сблокированы следующим образом: реверсивная рукоятка может быть переставлена

Фиг. 236. Контроллер машиниста:
/ — уголки; 2—планки для крепления; 3 — реверсивный вал; 4 — крышка верхняя; 5 —реверсивная рукоятка; &— главная рукоятка; 7 —шайбы фиксатора; в —главный вал; 9 — доска с неподвижными контактами; /0 — реверсивный барабан; // — доска с контактными пальцами; /2 —пальцы реверсивные; 13 — пальцы контактные; 14 — крышка нижняя; /5 —«собачки»; 16 — пружины «собачек»: 17 — фиксатор блокировки; 18 — пружина фиксатора; 19 — зубчатый сектор; 20— шайбы контроллера; 21 — угольник; 22 — пружины включающие; 23— ролик; 24 — палец; 25 — шунт; 26 — притирающая пружина; 27 —серебряная наплавка пальца; 28 — серебряная наплавка неподвижного контакта; 29 — планка
неподвижного контакта
в другое положение, когда главная рукоятка находится в положении «Холостой ход». Главная рукоятка может быть переведена на рабочие позиции, когда реверсивная рукоятка находится в положении «Вперёд» или «Назад».
Реверсивная рукоятка может быть снята только, когда она находится в положении «Выключено». Таким образом, при снятой реверсивной рукоятке контроллер заперт и перевести главную рукоятку на рабочие позиции невозможно.
Блокировочное устройство, помимо запора, фиксирует позиции главной рукоятки контроллера. Оно состоит из шайб 7, укрепленных на главном валу 8, сектора 19 с тремя выемками, укреплённого на реверсивном валу 3, фиксатора /7. «собачек» 15 и пружин 16 и 18.
:• При выведении, реверсивной рукоятки контроллера из рабочего положения в выключенное сектор 19 поворачивается так, что зуб фиксатора из одной
крайней глубокой выемки должен будет переместиться в среднюю неглубокую выемку. При этом фиксатор, растягивая пружину 18, повернётся на своей оси и второй его зуб войдёт в выемку шайбы 7. Главная рукоятка теперь не сможет быть выведена из положения «Холостой ход» в одну из рабочих позиций.
Если реверсивную рукоятку поставить в одну из крайних позиций, то сектор 19 повернётся так, что фиксатор 17 под действием пружины 18 войдёт одним своим зубом в глубокую выемку сектора. Тогда второй зуб фиксатора выйдет из шайбы 7. В таком положении главную рукоятку контроллера можно ставить на любую позицию, которая будет фиксироваться «собачками» 15, прижимаемыми к храповику пружинами 16.
После постановки главной рукоятки контроллера в одну из рабочих позиций повернётся и шайба 7, а поэтому выемка в нижней шайбе не будет больше совпадать с зубом фиксатора. Теперь реверсивная рукоятка контроллера не сможет быть поставлена в среднее положение, этим и обеспечивается невозможность реверсирования тепловоза во время движения под током.
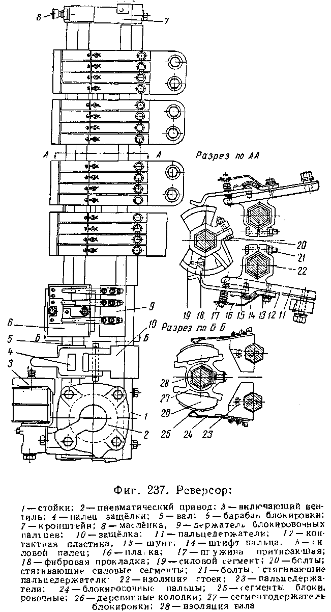
Реверсор. Реверсор предназначен для изменения направления движения тепловоза методом изменения направления тока в обмотках ' возбуждения тяговых электродвигателей.
Известно, что при изменении направления тока в обмотке возбуждения или в обмотке якоря электродвигателя изменится направление вращения якоря двигателя.
Целесообразно изменять направление тока в обметках возбуждения, так как в них происходит меньшее падение электродвижущей силы, следовательно, между сегментами реверсора можно принять меньшее расстояние, что очень важно в стеснённых габаритах тепловоза.
Реверсор типа ПР-758 собирается на двух стальных шестигранного сечения изолированных стойках 7 (фиг. 237), которые сверху крепятся к специальному кронштейну 7, а снизу — к корпусу пневматического привода 2 реверсора.
Во втулочных бронзовых подшипниках, укреплённых в кронштейнах, вращается вал реверсора 5 с укреплёнными на нём четырьмя сегментами 19, сегментодепжателем 27, пальцем защёлки 4 и мотылём с вилками.

Вал реверсора изолирован опрессовкой составной изоляцией 28, состоящей из 70% изоляции № 5403 и 30% миканита толщиной 3,5 мм, и сверху покрыт лаком № 2209.
Отлитые из свинцовистой бронзы сегменты крепятся на валу болтами 21. Сегменты, имеющие наружный диаметр 127 мм, собираются попарно и изолируются друг от друга фибровыми прокладками 18 толщиной 12 мм.
Сегментодержатель 27, отлитый из стали, несёт на себе две колодки 26, сделанные из пропитанного ясеня, на которых крепятся медные сегменты 25.
Палец защёлки 4 и мотыль с вилками отливаются из стали.
Стойки реверсора /, изолированные так же, как и вал, несут на себе по восемь пальцедержателей //, отлитых из свинцовистой бронзы, и по одному

Фиг. 238. Привод реверсора:
/ — цилиндр; 2— пружинные шайбы; 3 — кожаная прокладка; 4 — поршень; 5 —штифт; 5 —болт; 7 —стойка; в —крышка; 9 — мотыль; 10 — болт; //—маслёнка; /2 —вал;
13 — вентиль
держателю 9 блокировочных пальцев, сделанному из пропитанного ясеня. Пальцедержатели // попарно объединяются пластинами 12. Каждая пара паль-цедержателей несёт на себе по четыре силовых пальца.
Силовой палец состоит из собственно пальца 15, нажимного устройства и шунта 13. Собственно палец изготовляется из шинной твёрдой меди сечением 6 X 19,5 мм и имеет развёрнутую длину 122 мм. Один конец пальца изогнут и является контактом, другой — имеет стальной штифт 14. Нажатие пальца обеспечивается специальной пружиной 17.
К пропитанным и лакированным пальцедержателям 23 из ясеня крепятся блокировочные пальцы 24, изготовленные из стальной ленты толщиной 1,25 мм.
Ширина пальца у основания 11 мм, габаритная длина 98 мм. Под палец подкладывается установочная пластина размером З X 12 X 65 мм с выгнутым концом.
Электропневматический привод реверсора (фиг. 238) представляет собой двухпоршневой механизм, управляемый двумя включающими электропневматическими вентилями типа ВВ-2А.
Поршни 4 привода имеют кожаное уплотнение с пружинными шайбами и связаны между собой ползуном. Ползун имеет в средней части штифт 5, который входит в малую вилку мотыля 9.
Цилиндры закрыты крышками на прокладках из паронита (клингерита) толщиной 1 мм.
Сжатый воздух, поступивший в цилиндр, давит на поршень привода и перемещает его, а вместе с ним и ползун. Мотыль вала поворачивается сам и поворачивает вал реверсора с сегментами.
Сегменты, повернувшись вместе с валом, обеспечат то или иное включение обмоток возбуждения тяговых электродвигателей в силовую цепь.
При прекращении питания катушки сжатый воздух выходит из цилиндра привода реверсора в атмосферу.
На тепловозах № 342, 343 и 344 установлены реверсоры с опытными приводами диафрагменного типа.
Кнопочный выключатель. Кнопочный выключатель предназначен для управления цепями пуска двигателя, топливного насоса, возбуждения вспомогательного генератора, цепями освещения и электродвигателя калорифера.
На пульте управления тепловоза установлен кнопочный выключатель типа КУ 26А-2, представляющий собой группу специальных кнопок, смонтированных в общем корпусе.
Выключатель имеет 12 кнопок, из которых две снабжены возвращающей пружиной, заставляющей контактный ползун вернуться в выключенное положение, как только кнопка будет отпущена.
Последовательно с 8 кнопками включены плавкие предохранители на 10 а и последовательно с 3 кнопками — на 15 а.
Каждая кнопка (фиг. 239, а) состоит из двух неподвижных контактных пальцев 5, укреплённых на деревянной изоляционной рейке 10, и подвижного контактного ползуна 4, связанного стержнем 2 с головкой (пуговкой) кнопки 1.
Подвижный контактный ползунок, изготовленный из фибры, несёт на себе медную контактную планку 3 и имеет канавку для фиксации кнопки в выключенном положении. в
Кнопки пуска двигателей (фиг. 239, б) имеют возвратные пружины //.
Кнопочный выключатель имеет приспособление для запирания кнопок, включение которых на обоих пультах тепловоза запрещено. Приспособление состоит из вала 12 с рожками и съёмного ключа.
При отправлении тепловоза кнопочный выключатель на ведомой секции должен быть обязательно заперт и ключ передан машинисту.
Педали песочницы и тифона смонтированы в литом корпусе 1 (фиг. 240), закрываемом крышкой 2. Ко дну корпуса / винтами 16 укреплён изолятор 13, который несёт на себе стальную планку 12 и два пружинных контактных пальца 4.
На оси 7, удерживаемой шплинтами в отверстиях выступов корпуса /, качается рычаг 8. При нажатии на педаль рычага 8 ногой стакан 9, сжимая возвратную пружину 10, переместит стержень //, а вместе с ним и ползун 5. При этом контактная планка 6, соединив пальцы 4, создаст электрическую цепь питания соответствующего прибора.
Сопротивления. В электрических цепях тепловоза имеется большое количество сопротивлений, установленных на панелях аппаратов и на специальных панелях сопротивлений. Сопротивления предназначены для ограничения и регулирования величины тока в различных цепях.
Панели сопротивлений — асбесто-цементные, пропитанные и лакированные доски. Собственно сопротивления, представляющие собой проволоку из материала с высоким удельным сопротивлением, наматываются на изолятор.
Различают следующие три типа сопротивлений: СР, ТС и КФ.
Сопротивления типа СР представляют собой фарфоровую трубку ГОСТ 1232—44 с винтовыми желобками, в которые укладывается проволока из константана или нихрома.
Сопротивления ТС представляют собой фарфоровую трубку / (фиг. 241), на поверхности которой уложена проволока из" материала с высоким удельным сопротивлением. К концам проволоки припаиваются медные выводы 8. Дру-
ґие концы этих выводов при сборке припаиваются к стальным оцинкованным стойкам 4.
Стойки крепятся к трубке специальным стержнем 2, проходящим сквозь трубку / и фарфоровые втулки 3.
Поверхность трубки с намотанной на неё проволокой покрывается стекловидной эмалью. Эта эмаль предохраняет проволоку от окисления, удерживает

Фиг. 239. Кнопки кнопочного выключателя: а — с возвращающей пружиной; б — без возвращающей пружины:
/ — пуговка; 2 — стержень; 3— контактная планка; 4 — ползун; 5— неподвижные пальцы; 6 — винт пальца; 7— изолятор; в —стальная планка; 9 — винты планки; 10— деревянная рейка; — пружина возвратная;
12 — вал
её на трубке и является изоляцией между витками. Благодаря этому трубчатые сопротивления типа ТС выполняются на большие величины сопротивления при малых габаритах.
Если сопротивление не регулируемое, то покрывается вся поверхность трубки. Если же сопротивление регулируемое, то оставляется непокрытая полоска вдоль трубки и на трубку надевается контактный хомут 6. Этот хомут стягивается винтом 7 и присоединяется проволокой к одной из клемм трубки.
Сопротивления типа КФ применяются на тепловозах в качестве шунтирующих сопротивлений и состоят из стального держателя, фарфоровых изоляторов с канавками и фехралевой ленты (Хромоалюминиевая сталь), навитой по канавкам изолятора на ребро.

Предохранители. Предохранители на тепловозе применены для защиты низковольтных цепей освещения и возбуждения.
В электрических цепях в каждой секции тепловоза включено 22 предохранителя, из них 1—на 100 а, 1 — на 80 а, 3 — на 15 и 17 десятиамперных.
Предохранители на 10 и 15 а представляют собой фибровую трубку диаметром 8,5/11,5 мм и длиной 70 мм, закрытую с двух сторон латунными колпачками толщиной 0,5 мм, служащими клеммами предохранителя. Внутри трубки проходит медная вставка, концы которой припаиваются к колпачкам: Вставка для предохранителя на 10 а представляет собой медную проволоку диаметром 0,29 мм, а для предохранителя на 15 а — диаметром 0,35 мм.
Внутрь трубки при её зарядке засыпается толчёный мел для защиты фибровой трубки от прогорания при расплавлении медной вставки.
Предохранители на 80 и 100 а монтируются на асбесто-цементной доске толщиной 2Фмм с прессшпановой прокладкой толщиной 3 мм.
Предохранители собираются в фибровых трубках 5 (фиг. 242) диаметром 24/33, длиной 55 мм.
На заточенные под меньший диаметр края трубки надеваются латунные втулки 4 и приклёпываются десятью штифтами 7.
Плавкая вставка 6 предохранителей представляет собой цинковую пластинку толщиной 0,6 мм с двумя шейками. Для 80-а предохранителя ширина шеек вставки равняется 2,8 мм, а для 100-а—4,2 мм.
Фиг. 240. Педаль песочнииы или тифона:
/ — корпус; 2—крышка; 3 — изолятор; 4 — пальцы; 5— ползун; 6 — контактная планка; 7 — ось; 8 — рычаг; 9 — стакан; 10 — пружина; //— стержень; 12 — стальная планка; 13— изолятор; 14 — винты; 15 — наконечники; 16 — винты изолятора

Фиг. 241. Сопротивление типа ТС:
1 — фарфоровая трубка; 2 — стержень; 3 — фарфоровая втулка; 4—стойка; 5 — гайка; 6 — хомут; 7 — винт хомута; 8 — гибкие выводы
Плавкие вставки прикрепляются болтами 3 (Мб х 12 — 12) к контактным ножам / толщиной 3 мм.
Для предохранения плавких вставок от скручивания при сборке предохранителя на контактные ножи надеваются шайбы 8 с вырезами, в которые входят выступы втулок трубки.
Соединительная аппаратура. К соединительной аппаратуре должны быть отнесены междутепловозные соединения, соединительные коробки, клеммовые рейки и штепсельные розетки.
Все эти аппараты предназначены для соединения проводов цепей управления, освещения и возбуждения.
Междутепловозные соединения предназначены для соединения между собой поездных проводов при работе тепловозов по системе многих единиц.
Соединительные коробки предназначены для соединения между собой проводов цепей управления и освещения при монтаже их на тепловозе.

Фиг. 242. Предохранители:
/—контактные ножи; 2 — колпачок; 3—болты, крепящие вставку; 4 — втулка; 5 —трубка; 6 — плавкая вставка; 7 —штифты; в —шайба фасонная
Клеммовые рейки (соединительные зажимы) предназначены для соединения большого количества проводов цепей управления и освещения, идущих к отдельным аппаратам. Штепсельные розетки предназначены для включения двухполюсных штепселей ламп освещения.
Междутепловозное соединение. Междутепловозное соединение состоит из четырёх концевых розеток (по две на каждой хвостовой части секции) и двух шестнадцатижильных кабелей со штепселями.
Разрез по вв

Фиг. 243. Междутепловозное соединение:
/ — корпус розетки; 2— крышка с зубом; 3—ось; 4— пружина; 5 — корпус штепселя; 6 — уплотнение; 7 —накидная гайка; « — направляющий вннт; 9 — изоляционная шшба штепселя; 10 — гнездо контактное; //—изоляционная шайба розетки; 12 — пружинящая шайба; /5-^щтырь контактный; 14 — наконечник; /5 —резиновая прокладка; 16 — винты крепленая шайб; А, Б — полости
Розетки типа Р32А-1 состоят из чугунного литого корпуса / (фиг. 243) с крышкой 2, которая вращается на оси 3 и постоянно прижимается к корпусу пружиной 4.
Для обеспечения герметичности крышка имеет уплотнение, а для запирания вставленного в розетку штепселя — зуб.
Внутри корпуса на трёх винтах 16 диаметром 8 мм держится бакелитовая изоляционная шайба //. Между шайбой и заплечиками корпуса ставится резиновая прокладка 15.
Изоляционная шайба // имеет 16 отверстий, в которые вставлены разрезные контактные штыри 13 из фосфористой бронзы.
Между заплечиками штырей и изоляционной шайбой поставлена пружинящая шайба 12, а в хвостовики штырей ввинчены зажимы, являющиеся одновременно наконечниками 14 проводов.
Для улучшения изоляции проводов и для устранения возможности попадания и скопления воды в розетке полость А в корпусе заливается специальной компаундной массой с температурой плавления около 90°.
Розетка крепится специальным приливом корпуса к раме тепловоза. При этом корпус розетки занимает наклонное положение.
Штепсели типа ШУ-2А монтируются в литом чугунном корпусе 5 (см. фиг. 243) с полостью Б для ввода шестнадцатижильного кабеля. Внутри корпуса укреплена такая же, как и в розетке, изоляционная шайба 9. В шестнадцати отверстиях этой шайбы укреплены контактные гнёзда, навинченные на такие же, как в розетке, зажимы.
Для уплотнения кабеля в горловине штепселя последний снабжён специальным сальником, состоящим из резинового уплотнения 6 и накидной гайки 7.










