§ 4. Система охлаждения дизеля
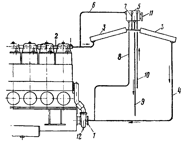
лельно в 5 секций одной стороны и проходит затем соответственно 5 секций другой стороны, откуда направляется во всасывающий трубопровод 4 водяного насоса. Для возможности расширения воды при нагревании, а также для того, чтобы иметь некоторый запас воды выше холодильников, установлен расширительный бак, который соединён тонкой трубкой 6 с трубопроводом 2 нагретой воды и трубкой 7 с верхней точкой секций холодильника; кроме того, бак 5 уравнительной трубой 8 соединён со всасывающим трубопроводом 4. Расширительный бак имеет также отливную трубу 9 и наполнительную трубу 70.

Фиг. 110. Схема трубопровода охлаждающей воды
Водомерное стекло 77 на расширительном баке имеет отметку «full», показывающую на заполнение системы водой. Если дизель наполняется водой заново, то после нескольких минут работы, когда воздух из системы полностью удалится, следует добавить воду до указанного на водомерном стекле уровня (всего воды необходимо 1 100 л). Для спуска воды из системы служит спускной кран 72 в нижней части водяного насоса. Температура замеряется на входе и выходе воды из дизеля, причём указатель последней выведен в будку машиниста. Рекомендуемая температура воды от +62° до +71°; допускаемая +82°.
Температура воды, как уже упоминалось, регулируется автоматически термостатным устройством, устанавливающим при помощи пневматического цилиндра, помещённого сзади холодильника, большее или меньшее открытие жалюзи: Возможна также и дополнительная ручная регулировка открытия жалюзи.










