§ 2. Механическая часть силовой установки
Основной силовой агрегат тепловоза — дизель — представляет собой восьмицилиндровую четырёхтактную машину простого действия, диаметр цилиндра которой 324 мм и ход поршня 394 мм. Полное
число оборотов в минуту равно 625, мощность — I (ШЛС (фит. 96). Вес двигателя равен 14 ООО кг, т. е. 14 кг на лошадиную силу. Такой сравнительно небольшой вес достигнут в основном благодаря применению сварной конструкции стального блока и картера.
На фиг. 97 видны упоминавшиеся ранее лаяы /, которыми дизель крепится к хребтовой балке рамы локомотива.
Нижняя часть картера соединяется с блоком болтами и шпильками 2 и 3. Гайки последних представляют собой пустотелые цилиндры
с внутренней резьбой и гранями, имеющие сквозные поперечные отверстия для Шплинтов. Верхние крышки рамо-вых подшийников крепятся к нижним четырьмя болтами 4. Вкладыши рамовых подшипников имеют стальные корпусы, залитые баббитом, ЙГ выполнены с точностью, позволяющей не производить шабровки затылочной и Лицевой стороны при постановке нового вкладыша. Вал цельнокованый, сверлёный для подвода смазки под давлением ко вСем подшипникам. Шатуны штампованные, имеют отверстия, обеспечивающие подвид смазки к бронзовым: втулкам, впрессованным в верхнюю головку шатуна.
Поршни отлиты из алюминиевого сплава. Каждый поршень имеет пять рабочих компрессионных колец й три маслосрезывающйх. Поршневые пальцы плавающего типа. Пробки 5 (фиг. 98) пальца пригоняются к поршню и служат для фиксации пальца в необходимом Положении. Цилиндровые крышки отлиты из легированного чугуна. В каждой крышке размещены клапан»; выхлопной 6 и всасывающий 7, а также вихревая камера сгорания 8 (фиг. 97). Клапанный механизм на крышке закрывается^ колпаком.
Соединение охлаждаемых водой полостей блока и крышек осуществляется съемными перемычками-.
Цилиндровые втулки 0 отлиты ИЗ легированного чугунач Уплот неи»е водяной' полосат достигаемся установкой ягеднЫ! прхистад-


Фиг. 97. Поперечный разрез дизеля
а—топливный насос, б—рычаг для ручной прокачки топлива, в— сборная труба для воды, выходящей из двигателя, г—выхлопной коллектор, д—всасывающий коллектор, г—труба охлаждённой воды, ж—труба смазочного масла
ки между буртами втулки и блока в верхней части; в нижней части втулки поставлены два уплотнительных резиновых кольца 10.

Фиг. 98. Продольный разрез дизеля
Выхлопные и всасывающие клапаны изготовляются из легированной стали. Каждый клапан имеет по две концентрично расположенные пружины со свободной длиной 232 и 173 мм (наружная и внутренняя).
Выхлопной клапан имеет отметку «ЕХ», а всасывающий «Ш» на тарелке клапана. Направляющие клапанов 11 (фиг. 98) представляют собой сменяемые втулки. Клапаны приводятся в действие посредством

Фиг. 99. Вид на дизель со стороны генератора (кожух цепной передачи снят)
роликовых рычагов и штанг от распределительного вала 14. Штанги заключены в защитные трубки 12 (фиг. 99). Вся система привода клапанов смазывается от общей смазочной системы дизеля под давлением. Особенностью рычагового привода являются гидравлические толка-
тели клапанных рычагов, обеспечивающие безударную работу клапанного механизма благодаря почти полному отсутствию зазора между клапаном и рычагом.
Гидравлический толкатель (фиг. 100) состоит из корпуса 7, в который входит цилиндрик толкателя 2. В свою очередь в цилиндрике имеется снабжённый пружиной плунжер 3. Упором для плунжера служит регулировочный винт 4, закрепляемый контргайкой 5. В нижней части цилиндрика расположен обратный шаровой клапан 6. Усилие от штанги 10 передаётся через заплечики корпуса толкателя, бурт цилиндрика, слой масла между нижними поверхностями цилиндрика и плунжера и далее через регулировочный винт, рычаг 7 и ролик 8

Фиг. 100. Гидравлический толкатель клапанных рычагов
7—корпус толкателя, 2—цилиндрик толкателя, 3—плунжер, 4—регулировочный винт, 5—контргайка, б—обратный шаровой клапан,?—клапанный рычаг, в—ролик, о—стержень клапана, 10—штанга
на стержень клапана 9. Внутрь толкателя масло поступает из общей смазочной системы через сверление в теле рычага и корпуса толкателя. Нормальное расстояние между донышком цилиндрика и нижней плоскостью плунжера (высота слоя масла) должно составлять во время работы примерно 1,6 мм.
Топливоподающая система бескомпрессорная, типа Бош, с закрытыми форсунками и многодырчатыми соплами, имеющими по 7 отверстий диаметром 0,32мм. Для каждого цилиндра предусмотрен отдельный насос. Плунжер насоса приводится в действие через направляющий стакан и ролик 13 (фиг. 97) от шайбы распределительного вала 14. Давление топлива, открывающее иглу форсунки, равно 280 кг/см2 и может быть установлено на испытательном стенде изменением натяжения пружины иглы посредством регулировочного винта, расположенного вверху корпуса форсунки. Подача топлива для отдельного цилиндра может быть установлена при помощи устройства, соединяющего рычаг вала наполнения с рейкой топливного насоса. Ввёртывая регули-
роаоадый вадт (поворачивая винт но часовой стрелке), увеличивают подачу тон лита; вывёртывая — уменьшают подачу. Установка реек всех топливных насосов должна быть произведена так, чтобы указатели на рейках давали показания, разнящиеся одно от другого не более чем на два деления.
Регулировка подачи топлива всеми насосами осуществляется посредством вала наполнения 15 (фиг. 97), проходящего вдоль дизеля и рычажно соединённого с рейками всех насосов и с регулятором дизеля. Соединение с регулятором выполнено таким образом, что вал наполнения может быть принудительно повёрнут в сторону выключения насосов либо регулятором безопасности 16, либо предохранительным выключающим устройством, связанным с реле предельного масляного давления.
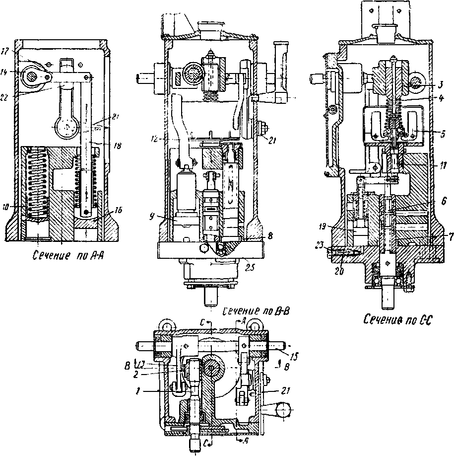
Регулятор безопасности (фиг. 101) связан коническими шестернями с распределительным валом и вращается с удвоенным числом оборотов по сравнению с валом дизеля. Назначение регулятора заключается в том, чтобы остановить дизель при достижении последним числа оборотов, превышающего примерно на 10% максимально допустимое. Таким образом, для оборотов дизеля п — 625 об/мин. регулятор должен срабатывать при 1 375 об/мин. (625 х 2 х Ы). Необходимые обороты устанавливаются подтягиванием или ослаблением пружины 1 при помощи регулировочного винта 2-
Работа регулятора протекает следующим образом. Центробежная сила груза 3 при превышении допустимого числа оборотов преодолевает усилие, развиваемое пружиной 7, и груз, поворачиваясь вокруг шарнира 4, заставляет двунлечий рычаг 5 освободить угловую защёлку 6, удерживающую в свою очередь шток 7. Под действием мощной пружины 8 шток резко поднимается вверх и заставляет повернуться рычаг 0, закреплённый на валу наполнения 15 (фит. 97), выключая тем самым все топливные насосы. Число оборотов регулятора, а следовательно и коленчатого вала дизеля, может быть определено тахометром, стержень которого следует вставить в отверстие в крышке мерного клапана, установленного на корпусе регулятора безопасности.
Восстановление рабочего положения . регулятора производится посредством рычага ручной прокачки топливных насосов. Для этого защёлку 6 отжимают вниз до захвата её рычагом 5.
Предохранительное выключающее устройство (фиг. 102) имеет следующую конструкцию.
Реле масляного давления 7 (см. также стр. 85) при нормальном давлении в масляном трубопроводе 2 замыкает цепь соленоида 4 электромагнитного клапана. При этом клапан 6 закрыт, а клапан 5 стержнем клапана б отжат вниз и открыт.
Когда клапан 5 открыт, топливоподводящая линия соединена через трубопровод 8 с выключающим цилиндром 3. Его поршень давлением топлива отжимается влево, и рычажок /, укреплённый на валу наполнения //, может свободно перемещаться в прорези штока.
При падении давления в масляной магистрали ниже Ь05 кг\смг реле разрывает цепь тока в соленоиде и тем самым заставляет закрыть-
ся клапан 5 и открыться клапан 6. Топливо из цилиндра 3 сливается через трубопровод и клапан 6 в бак, а поршень под воздействием

пружины переходит вправо, устанавливая при этом рычажок / и вал наполнения в положение выключения двигателя.
При пуске, как будет видно из дальнейшего, цепь соленоида замыкается помимо реле, однако наличие давления в топливном трубопроводе обязательно; поэтому при невключённом предварительно вспомогательном нефтяном насосе запуск дизеля невозможен.
Важной особенностью дизеля тепловоза ДБ является цепной привод распределительного вала (фиг. 99), а также привод масляного и водяного насосов (фиг. 103). Как для первого, так и для второго приводов имеются натяжные устройства 19 (фиг. 99), а также маслоразбрыз-гивающие сопла 17 и 18, обеспечивающие обильную смазку. Масляный насос шестерёнчатый, водяной — центробежный (фиг. ЮЗ)1.
Число оборотов дизеля, а следовательно и режим работы тепловоза, устанавливается, как уже упоминалось выше, рукояткой 2 ездового пневматического регулятора 3 тепловоза (фиг. 104), поворотом которой от положения холостого хода до положения полных оборотов из-

Фиг. 102. Предохранительное устройство, выключающее дизель при предельном понижении давления масла 1 — реле масляного давления, 2 — масляный трубопровод, 3 — выключающий цилиндр, 4 — соленоид электромагнитного клапана, 5—6 клапаны, 7 — топливопровод, 8 — трубопровод
меняется давление в воздушном трубопроводе, ведущем к цилиндру управления 11; поршень последнего связан рычажной передачей 12 с валом регулятора дизеля.
Перемещение поршня цилиндра управления влечёт за собой поворот вала 15 и изменение числа оборотов дизеля; при этом перемещение вправо (см. схему) вызывает увеличение оборотов, перемещение влево — уменьшение. Манометрическое давление в трубопроводе изменяется от нулевого, при положении холостого хода, до 0,7 — 0,85 кг]смг при установке рукоятки в первое положение и до 3,5 кг/смг при рукоятке, установленной на полное число оборотов.
1 Подробно о вспомогательном цепном приводе см. стр. 194.
Указанный на схеме пневматический выключатель 7 цепи тока управления замыкает цепь при 0,5 — 0,6 кг]смг и размыкает её при 0,3 кг/см2 давления воздуха в трубопроводе управления, куда он подаётся из отдельного резервуара через редукционный клапан регулятора тепловоза.
Назначение клапана боксования 8 заключается в том, что во время пробоксовывания какой-либо оси тепловоза он понижает давление в трубопроводе, выпуская воздух в атмосферу под воздействием реле.
Натяжение пружины внутри цилиндра управления, стремящейся ставить поршень в положение выключения (влево), устанавливается

Фиг. 103. Цепной привод масляного и водяного насосов
7—цепное колесо коленчатого вала (венец колеса соединён со ступицей пружинами), 2-цепное колесо водяного насоса, 3—цепное колесо масляного насоса, 4—натяжное цепное колесо, 5—цепь, б—кронштейн натяжной зубчатки, 7—болты, 8-место для замера прогиба цепи,
9—лючок, 10—11—лючки
при помощи прокладок 14 (при давлении 0,7 — 0,85 кг[смг поршень не должен перемещаться).
Ограничителем выхода штока, а следовательно и ограничителем оборотов, является упорная регулировочная гайка 13. Трубопровод 6 служит для присоединения к ездовому регулятору второго тепловоза при езде по системе многих единиц. Кран 5 разобщает ездовой регулятор от цилиндра управления.
Указанные выше давления в трубопроводе управления проверяются по манометру, устанавливаемому на тройнике 9. Установка давления холостого хода (0 кг]смг) производится гайкой 4; установка давления от первого до последнего положения — винтом 1.
Регулятор дизеля работает следующим образом (фиг. 105 и 106).
При установившихся оборотах дизеля центробежная сила, развиваемая грузами 5, уравновешивается усилием пружины 4. Изменение натяжения этой пружины производится цилиндрической рейкой 3, перемещаемой в вертикальном направлении при помощи шестерёнки 2, сидящей на валике 7. Последний связан рычажной передачей с поршнем цилиндра управления, перемещение которого зависит от изменения давления в трубопроводе управления (фиг. 104).
Таким образом, изменение натяжения пружины регулятора дизеля осуществляется с поста управления машиниста. При равновесном положении грузов золотник 6 (фиг. 106) закрывает окно 8 и масло, нагнетаемое вспомогательным насосом регулятора, свободно проходитвверх-нюю камеру диферен-циального силового поршня 9, но не может проникнуть через окно 8 в нижнюю камеру. С другой стороны, масло из нижней ка-

меры, где оно также находится под давлением, не может выйти через окно 8 и среднее отверстие втулки золотника в картер регулятора.
Таким образом, силовой поршень 9, а вместе с ним и рычаг 14—13. сидящий на валу наполнения топливных насосов, фиксируется в определённом положении.

Фиг. 105. Регулятор Вудварда
Для поддержания постоянного давления масла, независимо от числа оборотов дизеля, служит нагруженный пружиной поршень 10, который перепускает в картер регулятора избыток масла, подаваемого насосом.
Увеличение нагрузки на дизель вызывает понижение оборотов и уменьшает центробежную силу грузов 5. Вследствие этого пружина 4 заставит сместиться вниз шток 11 и шарнирно связанный с ним золотник 6, который откроет окно 8. Масло под давлением начнёт поступать под нижнюю часть диференциального силового поршня 9, имеющую
большую рабочую площадь по сравнению с верхней, и заставит его подняться вверх. Это перемещение сообщится рычагу 14—13 и через него валу наполнения топливных насосов, который увеличит подачу топлива в цилиндры дизеля до величины, необходимой для поддержания установленных оборотов. Для того чтобы предохранить регулятор, а вместе с ним и дизель от неравномерной работы, предусмотрена компенсирующая система масляного успокоителя, состоящая из рабочего поршня 16 и приёмного поршня 19, снабжённого пружиной, которая стремится вернуть его в первоначальное положение.

Фиг. 106. Схема регулятора Вудварда
Поршень 16 связан шарнирно с силовым поршнем 9, рычагом 17, поворачивающимся вокруг точки 24 (фиг. 106). Поэтому поршень 16 точно следует за всеми перемещениями поршня Р. Камеры под поршнями 16 и 19 соединены между собой каналом. Работа успокоителя протекает следующим образом: в рассмотренном выше случае, когда золотник 6 опускается вниз, а силовой поршень 9 поднимается, рабочий поршень 16 опускается, заставляя подняться приёмный поршень 19 успокоителя. Перемещение поршня 19 вверх возвращает золотник б в среднее положение, прекращая дальнейшее перемещение силового поршня 9 и фиксируя его в новом положении.
В целях удержания золотника в среднем положении до тех пор, пока обороты дизеля достигнут установленной величины и грузы примут нормальное вертикальное положение, на успокоителе предусмо-
трена регулируемая игла 20, которая позволяет маслу под воздействием пружины и поршня 19 перетекать в картер регулятора. Перетекание рассчитано так, что возвращение поршня 19 к начальному положению происходит с той же скоростью, как и возвращение грузов в вертикальное положение. Таким образом новое положение займут силовой поршень 9 и рабочий поршень успокоителя 76; все остальные части регулятора вернутся в исходное состояние.
При понижении нагрузки перемещение деталей регулятора будет происходить в обратном порядке, а именно: центробежная сила грузов 5 из-за увеличившихся оборотов возрастёт, вследствие чего грузы, преодолевая давление пружины, разойдутся и поднимут шток 77 и золотник 6. Последний сообщит пространство под силовым поршнем 9 через окно 8 с картером регулятора. Давление масла на верхнюю диференциальную площадь поршня 9 заставит его опуститься, поворачивая при этом рычаг 13—14 и вал наполнения топливных насосов в сторону уменьшения подачи топлива. Опускание поршня 9 вызовет немедленное же поднятие поршня 16 успокоителя, и так как проход между иглой 20 и её седлом очень невелик, то под приёмным поршнем 19 создаётся разрежение, благодаря чему поршень опустится и поставит золотник 6 в среднее положение.
Возвращение поршня 19 в начальное положение будет происходить по мере подсасывания масла из картера через иглу 20 и совпадает по времени с возвращением грузов 5 в вертикальное положение.
При неравномерной работе регулятора следует проверить установку компенсирующей системы успокоителя следующим порядком:
1) ослабить гайку, крепящую указатель 27, и повернуть стрелку до крайнего нижнего положения. Рычаг 22 благодаря этому передвинется по направлению к рабочему поршню и уменьшит величину его перемещений относительно перемещений силового поршня 9;
2) отвернуть пробку 23 и повернуть на два-три оборота иглу 20 (против часовой стрелки);
3) пустить дизель и дать ему поработать примерно полминуты (работа дизеля при этом будет неравномерной);
4) постепенно ввёртывать иглу 20 до тех пор, пока неравномерность работы дизеля прекратится или пока до полного закрытия иглы останется примерно у8 оборота;
5) если после этого неравномерная работа дизеля не прекратится, то следует вывернуть иглу на один оборот и поднять указатель 27 на два деления;
6) ввёртывать иглу 20> повторяя действия пункта 4;
7) повторять описанное в предыдущих пунктах до тех пор, пока будет установлена равномерная работа дизеля.
Желательно, чтобы компенсация была, по возможности, малой. Чрезмерное закрытие иглы служит причиной медленного восстановления оборотов после изменения нагрузки. Излишне же большой ход рабочего поршня успокоителя, являющийся следствием увеличенного плеча рычага 17, будет вызывать ненормально быстрое изменение оборотов при перемене нагрузки. Для заливки регулятора необхо-
димо применять только новое, чисто профильтрованное масло. Маслёнка и воронка перед заливкой масла должны тщательно промываться керосином. Масло в регуляторе должно быть на уровне середины маслоуказательного стекла. После заполнения регулятора маслом необходимо выпустить попавший вместе с маслом воздух; для этого следует пробоксовать двигатель несколько раз, и если двигатель после этого будет работать неравномерно, то следует отвернуть иглу успокоителя на один-два оборота и дать дизелю поработать несколько секунд для полного удаления воздуха из каналов регулятора; после этого игла должна быть завёрнута до начального положения.
Система автоматического управления нагрузкой служит для предохранения дизеля от перегрузки (фиг. 107), и связана с карбонстатом (см. § 10, «Электроаппаратура»). Действие и конструкция этой системы заключаются в следующем. На конце вала 6 регулятора, связанного с валом наполнения топливных насосов, имеется рычаг 3, поворачивающийся вместе с этим валом. Когда вал

і>иг. 107, Автоматическое регулирование нагрузки дизеля
1 — подвод ма-ла от насоса регулти^а ^удварда, 2 —золотник, 3 — рычаг регупятора, 4 — отверстие в теле мерного клапана, 5 — трубопровод, 6 — вал регулятора Вудварда. 7 — указатель, 8 — трубопровод, 9 — цилиндр карбонстата, 10 — вращающийся золотник мерного кг- апана, 11 — отверстие, 12 — сливное отверстие, 13 — мерный клапан, 74—канал, 15 — сливной трубопровод
наполнения начнёт занимать положение, определяющее подачу топлива, превышающую максимальную, рычаг 3 коснётся стержня золотника 2 регулировочного клапана и при дальнейшем увеличении нагрузки будет его поднимать.
Масло под давлением, создаваемым насосом регулятора, через трубопровод 5, отверстие 1 и выточку на золотнике 2 пройдёт в канал 14 и далее через отверстие 11 в корпусе мерного клапана 13 к вращающемуся золотнику 10. Золотник 10 имеет два взаимно перпендикулярных отверстия, при вращении периодически совпадающих с отверстием 11, подводящим масло, и с каналом 4, по которому оно через трубопровод 8 проходит к цилиндру 9 карбонстата, сдвигая поршень последнего влево. Этим сопротивление в цепи независимого возбужде-
ния возбудителя увеличивается, а следовательно, мощность генератора понижается. Нагрузка на дизель снизится до нормальной величины, золотник регулировочного клапана закроет отверстие 14, и поступление масла к мерному клапану и в цилиндр карбонста-та прекратится.
При изменившихся условиях работы тепловоза нагрузка снизится ещё больше, и золотник регулировочного клапана, опустившись, соединит отверстие 14, мерный клапан и цилиндр карбонстата с верхней полостью регулировочного клапана, откуда через центральное отверстие в теле золотника масло сливается в картер регулятора.
Поршень цилиндра переместится вправо и соответственно уменьшит сопротивление в цепи обмотки возбуждения возбудителя. Указатель 7 при совпадении с риской на стержне золотника определяет положение последнего, соответствующее перекрытию отверстия 14, т. е. полной нагрузке дизеля.
Отверстие 12 и трубопровод 15 служат для слива масла, просочившегося между золотником и корпусом мерного клапана.
Соответствие установки регулировочного клапана полной нагрузке дизеля проверяется либо при помощи реостата, либо в пути при полной нагрузке, зафиксированной приборами. Если заснятая кривая] — /(«) проходит ниже нормальной характеристической кривой генератора, то следует удлинить тягу, соединяющую вал наполнения с регулятором дизеля, поворачивая муфту с правой и левой резьбой по часовой стрелке. Если кривая проходит выше характеристической кривой генератора, то муфту следует повернуть в направлении, противоположном движению часовой стрелки.










