9.6. Бесконтактные аппараты
В последние годы на тепловозах все большее применение находят бесконтактные аппараты. Отсутствие движущихся, а следовательно, и изнашиваемых частей и большие сроки службы определяют высокую надежность таких аппаратов. Бесконтактные аппараты можно разделить на две основные группы: магнитные и полупроводниковые.
Магнитные аппараты. Одним из основных магнитных аппаратов является амплистат, применяющийся в системе возбуждения тепловозов ТЭ10. Амплистат, принципиальная схема которого показана на рис. 9.28, а, предназначен для усиления сигнала, вырабатываемого селективной схемой, и представляет собой магнитный усилитель с внутренней

обратной связью. Рабочие обмотки Н1—К1 и Н2—К2 амплистата установлены на отдельных сердечниках, а обмотки управления У, Р, 3 и С охватывают оба сердечника. Рабочие обмотки соединены последовательно и встречно. Выходное напряжение {/„„и амплистата через выпрямитель ВМ подводится к обмотке возбуждения Н—НН возбудителя В тягового генератора. Зависимость напряжения на выходе амплистата от суммарной намагничивающей силы Е/7 обмоток показана на рис. 9.28, б.
В системах возбуждения тяговых генераторов тепловозов ТЭ10, ТЭ116, М62 и др. применяют трансформаторы постоянного тока ТПТ и напряжения ТПН. Первые предназначены для измерения токов тяговых генераторов или двигателей, а вторые — соответствующих напряжений. Аналогично амплистату трансформаторы постоянного тока и напряжения также имеют рабочие обмотки Н1—К1 и Н2—К2 (рис. 9.29, а и 9.30, а), включенные последовательно и встречно и расположенные на отдель-

ных сердечниках. На трансформаторах постоянного тока в качестве обмотки управления используется провод, проходящий через окно сердечника, по которому протекает измеряемый ток /г, а обмотка управления У трансформатора постоянного напряжения охватывает оба сердечника и через резистор СТПН подключена к напряжению тягового генератора 1/г. Выходные токи /р трансформаторов выпрямляются и поступают в схему управления возбуждением тягового генератора. Характеристики трансформаторов показаны на рис. 9.29, б и 9.30, б.
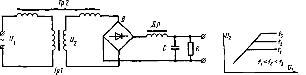
Тахо метрический блок предназначен для выработки напряжения, пропорционального частоте вращения коленчатого вала дизеля (рис. 9.31). Напряжение £Л от источника переменного тока, частота / которого пропорциональна частоте вращения коленчатого вала, подводится к первичной обмотке насыщающегося трансформатора Тр1. Параметры трансформатора (материал и размеры сердечника, число витков обмо-
Рис. 9.29. Схема включения и характеристика трансформатора постоянного тока

ток) выбраны так, что в определенных пределах напряжение 1/2 на его вторичной обмотке пропорционально частоте / и почти не зависит от напряжения 1/\ (рис. 9.32). Для обеспечения строго линейной зависимости {/2 от / в схему (см. рис. 9.31) включен трансформатор Тр2, первичная обмотка которого соединена согласно с первичной обмоткой Тр1, а вторичная — встречно с выходной обмоткой Тр1. Выходное напряжение выпрямляется выпрямителем В и сглаживается фильтром, состоящим из дросселя Др и конденсатора С.
Индуктивный датчик служит для поддержания равенства эффективной мощности дизеля и мощности нагрузки. Датчик состоит из магни-топровода / (рис. 9.33, а), катушки 2 и якоря 3, связанного со штоком сервомотора мощности регулятора частоты вращения дизеля (см. гл. 4). При перемещении якоря изменяется индуктивное сопротивление катуш-
ки и, если напряжение 1!\ (рис. 9.33, б) постоянно, то изменяется и ток, проходящий по катушке датчика ИД. Этот ток выпрямляется, и с нагрузочного резистора У? снимается напряжение £/2, примерно пропорциональное перемещению г якоря (рис. 9.33, в).
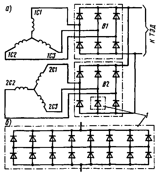
Полупроводниковые аппараты. Выпрямительная установка предназначена для преобразования переменного напряжения, вырабатываемого тяговым синхронным генератором, в постоянное. Схема выпрямительной установки (рис. 9.34, а) трехфазная мостовая. Так как генератор имеет две статорные обмотки (1С1—1СЗ и 2С1—2СЗ), то выпрямительная установка состоит из мостов В1 и В2, соединенных между собой параллельно. Промышленность не выпускает диодов, способных пропустить полный ток, который должен проходить через плечо / выпрямителя. Поэтому в плече (рис. 9.34, б)

Рис. 9.31. Схема тахометрического блока
Рис. 9.32. Характеристики насыщающегося трансформатора

Рис. 9.33. Индуктивный датчик
диоды соединены параллельно. Количество диодов определяется током, проходящим по плечу. Так, в выпрямительной установке УВКТ-5 тепловоза 2ТЭ116, комплектующейся диодами ВЛ2-200, рассчитанными на ток 200 А, параллельно включаются 8 диодов. Кроме того, для повышения надежности выпрямителя при пробое одного диода их включают по два последовательно. Таким образом установка УВКТ-5 имеет 240 диодов типа ВЛ2-200.
На тепловозах последних выпусков все большее применение получают управляемые выпрямители, обеспечивающие не только выпрямление напряжения, но и регулирование его. На рис. 9.35, а показана схема такого выпрямителя, используемого на тепловозах 2ТЭ116 в системе возбуж-

Рис. 9.34. Схема выпрямительной установки
дения тягового генератора. Управляемый выпрямитель собран по однофазной мостовой схеме, в одном плече которой включены тиристоры 77 и Т2, а в другом — диоды ДЗ и Д4. При подаче в момент времени а (рис. 9.35, б) импульса на управляющий электрод тиристор открывается и напряжение источника питания прикладывается к нагрузке. Таким образом, изменяя а, можно регулировать напряжение, прикладываемое к обмотке возбуждения ОВ тягового генератора ТГ.
Диоды Д1 и Д2 являются резервными: при выходе из строя тиристоров или блока управления БУТ необходимо переключить рубильник АП и выпрямитель будет работать как неуправляемый. Это обеспечивает возможность работы тепловоза до основного депо. Для защиты тиристоров и диодов от перенапряжений, возникающих при переключении тиристоров, параллельно каждому из них включены цепочки ЯС.
Для выработки импульсов управления тиристорами используется блок БУТ, схема которого показана на рис. 9.36. На входы 9 и 10 блока подается переменное напряжение II ^ (рис. 9.37), синхронное с напряжением, подводимым к управляемому выпрямителю. С помощью стабилитронов Сш1 и Сш2 (см. рис. 9.36) вырабатывается напряжение 11 с (см. рис. 9.37), которое через резистор /?/ и диоды Д1 и Д2 поочередно через полупериод напряжения питания подводится к эмиттер-базовым переходам транзисторов 77 и Т2. Эти транзисторы поочередно подключают обмотки 1^1 и Ц^2 трансфор-
матора Тр1 к источнику постоянного напряжения, подключенного к входам II и 12. Обмотки обратной связи №3 и 1^4 обеспечивают четкое включение транзисторов. В результате на вторичной обмотке №5 трансформатора Тр1 вырабатывается переменное напряжение 1)п (см. рис. 9.37) прямоугольной формы. Это напряжение подводится к рабочим обмоткам Р1 и Р2 (см. рис. 9.36) магнитного усилителя, обмотка управления ОУ которого включена на выход селективной схемы. В результате на выходе магнитного усилителя появляется напряжение £/му (см. рис. 9.37), передний фронт / которого в каждый полупериод определяется током, протекающим по обмотке управления усилителя. Это напряжение через резистор Р8 (см. рис. 9.36), конденсатор С/, стабилитроны СтЗ и Ст4 и диоды Д7 и Д8 прикладывается к эмиттер-базовым переходам транзисторов ТЗ и Т4 соответственно. Транзисторы поочередно подключают обмотки №| и и73 трансформаторов Тр2 и ТрЗ к источнику постоянного напряжения. В результате на выходе вторичных обмоток и 1^4 появляется импульс напряжения иу прямоугольной формы (см. рис. 9.37), положение которого относительно напряжения

Рис. 9.35. Управляемый выпрямитель
U_ источника питания определяется током в обмотке управления магнитного усилителя. Этот импульс через диод ДІЇ и резистор R11 (или соответственно Д10 и RIO) подается на управляющий электрод тиристора ТІ или Т2 (см. рис. 9.35, а), включая его. Стабилитроны Ст5 и Спгб служат для защиты транзисторов ТЗ и Т4 от перенапряжений, а диоды Д9 и Д12 — для защиты

Рис. 9.36. Схема блока управления тиристорами

Рис. 9.37. Диаграмма напряжений блока управления тиристорами
управляющих переходов тиристоров от обратных напряжений.
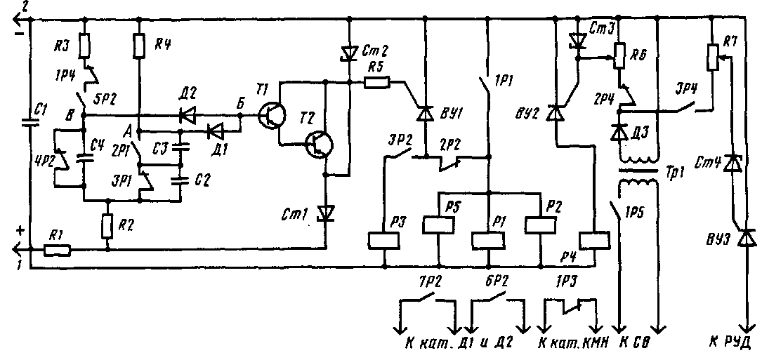
Блок пуска дизеля, упрощенная схема которого показана на рис. 9.38, служит для управления схемой пуска дизеля на тепловозах 2ТЭ116. Блок обеспечивает: контроль времени работы электродвигателя масло-прокачивающего насоса (60 с), контроль времени пуска дизеля (12 с), контроль времени стопового режима (3 с), отключение схемы пуска при достижении определенной частоты вращения коленчатого вала дизеля (конец пуска).
В исходном положении реле /?/— Р5 блока выключены. При подаче команды на пуск дизеля (см. гл. 10) на выводы 1 а 2 подается напряжение от аккумуляторной батареи.
В этот момент напряжение источника через резистор R2, контакт ЗР1 и конденсатор СЗ прикладывается к резистору R4. Потенциал в точке А выше, чем в точке Б, в результате чего диод Д1 и транзисторы 77 и Т2 заперты. Через размыкающий контакт 1РЗ подается питание к катушке контактора КМН, включающего электродвигатель МН маело-прокачивающего насоса. По мере заряда конденсатора СЗ потенциал в точке А уменьшается и после окончания установленной выдержки времени 60 с становится меньше потенциала в точке Б. Диод Д1 и транзисторы 77 и Т2 открываются, и через резистор R5 напряжение подводится к управляющему электроду тиристора ВУ1. Тиристор открывается и через контакт 2Р2 включает реле PI, Р2 и Р5. При этом контакт 1Р1 обеспечивает питание катушек реле PI, Р2 и Р5, минуя тиристор ВУ1; контакты 2Р2 и ЗР2 отключают эти реле от тиристора ВУ1 и подключают к нему реле РЗ. В момент переключения контактов тиристор ВУ1 отключается; контакт 2Р1 закорачивает конденсатор СЗ, в результате чего транзисторы 77 и Т2 запираются; контакт ЗР1 включает в работу конденсатор С2, начиная отсчет второй выдержки времени; контакты

Рис. 9.38. Принципиальная схема бчока пуска дизеля
4Р2 и 5Р2 включают в работу конденсатор С4, начиная отсчет третьей выдержки времени; контакты 6Р2 и 7Р2 включают контакторы Д1 и Д2, обеспечивающие начало пуска дизеля; контакт 1Р5 подключает первичную обмотку трансформатора Tpl к синхронному возбудителю СВ.
В процессе пуска возможны два случая:
если за время не более 3 с стартер-генератор раскрутит коленчатый вал дизеля до заданной частоты вращения, что свидетельствует о нормальном начале процесса пуска, то напряжение на вторичной обмотке трансформатора Tpl достигает значения, достаточного для включения тиристора ВУ2. Тиристор включает реле Р4, которое контактом 1Р4 отключает конденсатор С4, контактом 2Р4 отключает управляющий электрод тиристора ВУ2, а контактом ЗР4 подключает управляющий электрод тиристора ВУЗ;
если за время 3 с коленчатый вал дизеля не достигнет заданной частоты вращения, что свидетельствует о ненормальном начале пуска (плохое состояние аккумуляторной батареи, заклинен поршень дизеля и т. д.), то конденсатор С4 зарядится, потенциал в точке В станет меньше, чем в точке А, диод Д2 и транзисторы 77 и Т2 откроются и включат тиристор ВУ1. Тиристор включит реле РЗ, которое разомкнет контакт 1РЗ и выключит контактор КМН, прекратив пуск дизеля.
Если начальная часть пуска дизеля проходит нормально, то в дальнейшем также возможны два случая:
если дизель начал работать за время менее 12 с, то напряжение на вторичной обмотке трансформатора Тр1 достигает значения, достаточного для включения тиристора ВУЗ. Тиристор включает РУ9 (см. гл. 10), которое разбирает схему пуска;
если за это время дизель не начнет работать, что свидетельствует о неисправности, то конденсатор С2 зарядится, потенциал в точке А станет меньше, чем в точке Б, и диод Д1 и транзисторы 77 и Т2 откроются и включат тиристор ВУ1. Тиристор включит реле РЗ, которое отключит контактор КМН, и, следовательно, всю схему пуска. При этом блок пуска дизеля отключается от источника напряжения и возвращается в исходное состояние.
Блок пуска компрессора (ВПК) предназначен для управления электродвигателем привода тормозного компрессора. Питание электродвигателя на тепловозе 2ТЭ116 осуществляется от стартер-генератора. Для уменьшения пусковых токов при подключении электродвигателя необходимо снизить напряжение стартер-генератора со 110 до 22—25 В, подключить электродвигатель компрессора, плавно поднять напряжение стартер-генератора до 110 В. В исходном положении к входу 2 (рис. 9.39) блока подводится напряжение стартер-генератора СТГ. Этим

напряжением через резисторы #2 и /?// и стабилитрон Ст2 открывается транзистор 77, соединяя управляющий электрод тиристора ВУ с катодом.
При снижении давления воздуха в главных резервуарах реле давления воздуха РДК (см. гл. 10) включает реле Р блока БПК (см. рис. 9.39). При этом через катушку контактора КДК напряжение от СТГ подается на вход 3 блока. По цепи диод Д1, резистор Я4, эмиттер-базовый переход транзистора Т2 протекает ток, отпирающий этот транзистор. Одновременно происходит заряд конденсатора С7. Транзистор Т2 закрывает транзистор ТЗ, и полное напряжение цепей управления через резисторы Я8, Я9 и диод Д4 подается на вход регулятора напряжения стартер-генератора, вызывая снижение напряжения СТГ. При падении напряжения до 22—25 В прекращается ток по базе транзистора 77, транзистор запирается, что приводит к включению тиристора ВУ и контактора КДК, который подключает якорь электродвигателя компрессора к стартер-генератору. Тиристор ВУ шунтирует цепь базы транзистора Т2, и по мере разряда конденсатора С2 транзистор Т2 начинает закрываться, а ТЗ — открываться. В результате уменьшается напряжение, вводимое в регулятор напряжения, и напряжение стартер-генератора начинает увеличиваться. До тех пор, пока это напряжение не достигнет напряжения пробоя стабилитрона Спг4, рост напряжения происходит
достаточно быстро, что обеспечивает наиболее тяжелую, начальную, стадию пуска. После пробоя стабилитрона Ст4 темп роста напряжения СГ замедляется за счет протекания по базе транзистора Т2 тока заряда емкости С2. По мере заряда емкости С2 транзистор Т2 полностью запирается, а напряжение стартер-генератора возрастает до номинального значения — 110 В. При достижении заданного давления РДК отключает реле Р и схема возвращается в исходное положение.
Рассмотрим работу полупроводникового реле времени (рис. 9.40). При включении напряжения на вход включается реле Р2, вводя в работу конденсатор С7. Контакты 2Р2 и ЗР2 используются в схеме тепловоза как контакты без выдержки времени. При включении напряжения конденсатор Сі разряжен и напряжение на нем равно 0. Диод Д заперт напряжением средней точки делителя R2— R3. По мере заряда конденсатора С1 напряжение на нем увеличивается и в определенный момент времени диод Д открывается. Импульсы напряжения от генератора импульсов ГИ через конденсатор С2 поступают на вход триггера Т, который включает реле РЗ. Контакт 1РЗ включает реле Р1, контакты 1Р1 и 2Р1 которого используются в схеме тепловоза как контакты с выдержкой времени.
Регулируя сопротивление резистора R1, можно изменять скорость заряда конденсатора С1, т. е. и выдержку времени реле.










