9.5. Аппараты защиты
Реле заземления служит для снятия напряжения в силовой цепи при пробое изоляции на корпус. При работе электрической передачи замыкание на корпус может быть вызвано пробоем изоляции или другими причинами. Замыкание на корпус на тепловозе само по себе не может вызвать изменений в работе электрического оборудования. Однако если произойдет еще одно замыкание на корпус, то это может привести к тяжелой аварии. Поэтому на тепловозах устанавливают реле заземления РЗ.
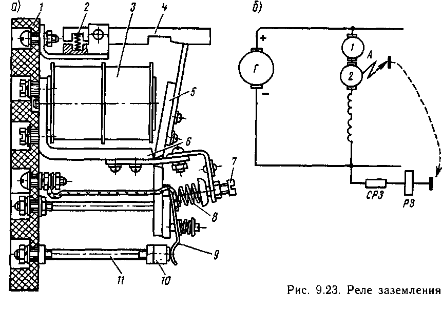
Реле, смонтированное на панели / (рис. 9.23, а), имеет катушку 3, маг-нитопровод 6 и якорь 5. Якорь удерживается в выключенном положении пружиной 8. Натяжение пружины, а значит, и ток включения реле регулируют болтом 7. На якоре установлен подвижный контакт 9. Стойка // неподвижного контакта 10
укреплена на панели реле. Во включенном положении якорь реле удерживается защелкой 4 с пружиной 2.
Схема включения реле показана на рис. 9.23, б. При пробое изоляции на корпус, например в точке А, часть тока генератора проходит по цепи: плюс генератора Г, место пробоя А, корпус тепловоза, катушка РЗ, ограничивающий резистор СРЗ, минус генератора Г. Реле включается и своими контактами разрывает цепи катушек контакторов, выключающих возбуждение возбудителя и тягового генератора Г. В результате полностью снимается напряжение тягового генератора. При этом ток в катушке РЗ исчезает, но защелка исключает возможность выключения реле, так как повторное толчковое включение напряжения генератора Г приводит к тяжелым последствиям.
К недостаткам такой схемы включения реле следует отнести отсутствие защиты значительной части силовой цепи со стороны минуса главного генератора из-за малой величины падения напряжения на этой части цепи. Дело в том, что для ограничения тока через катушку реле при пробое изоляции последовательно с катушкой включен ограничивающий резистор СРЗ.


Поэтому реле может сработать только в том случае, если потенциал в точке пробоя изоляции относительно корпуса не менее 80— 90 В. В результате обмотки главных полюсов электродвигателей, реверсоры, контакторы и резисторы ослабления возбуждения оказываются не защищенными в случае пробоя изоляции.
Реле боксования служит для обнаружения боксования колесных пар тепловоза, воздействия на электрическую передачу с целью подавления возникшего боксования и сигнализации машинисту о его возникновении.
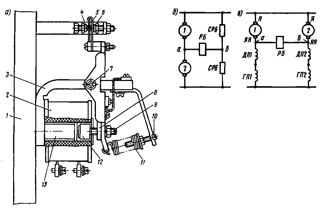
Реле боксования (рис. 9.24, а) имеет катушку 2 с сердечником 13, закрепленную на магнитопроводе 3. На оси 7 устанавливается якорь 8 с плунжером 12 и подвижным контактом 5. Положение плунжера регулируется винтом 9. Якорь удерживается в выключенном положении пружиной // с регулировочным винтом 10. Неподвижные контакты 4 и 6 установлены на общей стойке. Три реле боксования, смонтированные на общей панели /, образуют блок боксования. о*
Рис. 9.24. Реле боксования
Принцип обнаружения возникшего боксования основан на сравнении напряжений или токов тяговых двигателей боксующей и небоксующей колесных пар. При увеличении частоты вращения колесных пар (возникновении боксования) и последовательном соединении двух или более тяговых двигателей напряжение на двигателе, связанном с боксующей колесной парой, увеличивается, а на двигателе, соединенном с ним последовательно,— уменьшается. В диагонали моста, образованного якорями двигателей / и 2 и резисторами СРБ (рис. 9.24,6), создается разность потенциалов и реле РБ включается. При параллельном соединении тяговых двигателей (рис. 9.24, в) катушка реле РБ включена между выводами ЯЯ якорей тяговых двигателей. При боксовании одной из колесных пар ток якоря связанного с ней тягового двигателя уменьшается и потенциал в точке а (или б) также уменьшается (уменьшается падение напряжения на обмотках главных ГП и добавочных ДП полюсов). Под действием разности потенциалов между точками а и б по катушке проходит ток и реле включается.
259

Рис. 9.25. Схема включения реле боксо-вания
Схемы обнаружения боксования, основанные на сравнении напряжений или токов тяговых двигателей, имеют общий недостаток: при одновременном боксовании с равными или близкими скоростями колесных пар, двигатели которых контролируются одним реле, боксование обнаружить невозможно. Действительно, и в схеме рис. 9.24, б, и в схеме рис. 9.24, в при одновременном боксовании ко-

Рис. 9.26. Термореле типа КРД-2
лесных пар разность потенциалов в точках о и б не возникает и реле не включается. Поэтому на тепловозах 2ТЭ116 и 2ТЭ10В используется схема, показанная на рис. 9.25. При боксовании, например, колесной пары тягового двигателя 1 потенциал точки о уменьшается и через катушку реле РБ проходит ток от точки с большим потенциалом (б или в) через диод Д2 (ДЗ), катушку РБ, диод Д4 к точке а. Такая схема позволяет обнаружить боксование, если имеется хотя бы одна небок-сующая колесная пара. Но при боксовании всех колесных пар и эта схема оказывается неработоспособной.
Для прекращения боксования нужно уменьшить момент (или мощность) тягового двигателя боксую-щей колесной пары. Для этого один контакт реле боксования включается в схему возбуждения ТЯГОВОГО генератора, обеспечивая снижение возбуждения, т. е. и мощности тягового генератора. Второй контакт включает звуковой (или световой) сигнал машинисту.
Так как снижение мощности тягового генератора приводит к уменьшению силы тяги всего тепловоза, то желательно насколько возможно уменьшить эти потери тяги, т. е. при прекращении боксования необходимо восстановить полную мощность генератора. Поэтому реле боксования выполняют с большим коэффициентом возврата: реле имеет незамкнутую магнитную систему (якорь выполнен из алюминия — немагнитного материала), и поэтому при включении реле изменение зазора между плунжером и сердечником мало сказывается на общем магнитном сопротивлении цепи. В результате небольшое уменьшение тока в катушке при прекращении боксования приводит к выключению реле и восстановлению мощности тягового генератора. Однако если в этот момент боксование прекратилось не полностью, то резкое восстановление мощности может привести к повтор-
ному боксованию. Поэтому на современных тепловозах 2ТЭ10В и 2ТЭ116 предусматриваются специальные схемы прекращения боксования, которые будут рассмотрены ниже.
Реле типа КРД-2 предназначено для контроля температуры воды или масла в системах дизеля. Приемная система термореле, состоящая из корпуса 2, сильфона 3 (рис. 9.26) и термобаллона 9, соединенных капиллярной трубкой /, заполнена легкокипящей жидкостью. Термобаллон устанавливают в трубе, по которой протекает контролируемая жидкость. При повышении ее температуры рабочая жидкость в приемной системе испаряется и давление паров действует на дно сильфона, преодолевая усилие пружины 5 и перемещая шток 4, нажимающий на кнопку микропереключателя 8. Гайка 7 со стопорным винтом 6 служит для изменения натяжения пружины, т. е. для установки температуры, при которой происходит срабатывание реле. Блок-контакты микропереключателя включены в соответствующие цепи управления тепловоза. При не обходи мости в корпус реле КРД могут устанавливаться до четырех термоэлементов.
Реле давления масла типа КРД предназначено для контроля давления масла в системе смазки дизеля и устроено аналогично температурному реле, только к сильфону вместо капиллярной трубки с гермобалло-ном непосредственно подводится масло от соответствующих точек системы смазки.
Реле давления воздуха типа АК-11Б (рис. 9.27) контролирует давление воздуха в магистрали тормозной системы тепловоза. Воздух подводится к мембране 10 и перемещает шток 3, преодолевая усилие пружины 2 и поворачивая рычаг 4 вокруг оси 9. При заданном давлении воздуха, величина которого определяется затяжкой пружины 2 винтом /, рычаг пройдет положение равновесия и контактная вилка 7

Рис. 9.27. Реле давления воздуха
под действием пружины 6 перебросится влево, замыкая цепь на контакт 5. Реле смонтировано на панели 8.










