ГЛАВА 9
ЭКИПАЖНАЯ ЧАСТЬ
КУЗОВ И РАМА ТЕПЛОВОЗА
В кузове размещено оборудование и постьі машиниста. Кузов должен: защищать обслуживающий персонал и оборудование от воздействия атмосферной среды; обладать достаточной прочностью, жесткостью и долговечностью, предусматривать компановку, обеспечивающую свободный доступ к элементам оборудования и замену его; обеспечивать безопасность обслуживающего персонала. Масса главной рамы с кузовом колеблется от 20 до 25% общей массы металла тепловоза, отсюда следует, что рама с кузовом весьма металлоемки и выбор их рациональной конструкции является важной и сложной задачей.
На магистральных тепловозах применяются два основных типа кузовов: с несущей рамой и цельнойесущей. В кузове с несущей рамой главная рама рассчитывается на воспринятие всех нагрузок независимо от степени участия в ее работе кузова. Характерным примером является рамно-кузовная система тепловозов ТЭЗ, 2ТЭ10Л, 2ТЭ10В.
В последнее время находят применение конструкции несущего кузова ферменной (тепловоз ТЭП60) или оболочковой (тепловозы ТЭ10, ТЭ109) конструкции. В кузовах такого типа свариваются в единое целое главная рама, топливный бак и стенки кузова. Получается единая пространственная система, воспринимающая все виды нагрузок. При такой конструкции за счет снижения массы рамы достигается снижение массы всего кузова. Однако несущие кузова более трудоемки в изготовлении. Кузова с несущей рамой получили наиболее широкое распространение в Советском Союзе, особенно для массового серийного выпуска тепловозов на Ворошиловградском тепловозостроительном заводе имени Октябрьской революции.
Кузов тепловоза. На тепловозе М62 кузов спроектирован на базе кузова с несущей рамой тепловозов ТЭЗ и 2ТЭ10Л. Чтобы повысить прочность и жесткость стенки кузова над дизелем по всему периметру с трех сторон сварены с рамой и смежными элементами, а не соединены болтами, как на тепловозах ТЭЗ и 2ТЭ10Л. Внутренняя обшивка кузова крепится самонарезными шурупами М4, непосредственно ввертываемыми в металлические полки каркаса. Крепление обшивки непосредственно к металлическому каркасу снизило' трудоемкость изготовления, а отмена деревянных брусков, применяющихся на тепловозах ТЭЗ и 2ТЭ10Л для крепления обшивки, улучшила противопожарную безопасность тепловоза.
Основным"преимуществом кузова с несущей рамой является возможность организации посекционной блочной сборки отдельных частей кузова в специализированных цехах и участках. В сборочный цех подаются готовые части кузова со смонтированным на нем оборудованием. Для транспортировки между цехами частей кузова используются специальные автомашины с приспособлением для погрузки и разгрузки. Такая организация производства позволяет сравнительно легко организовать складирование технологического задела кузовов на территории завода, не занимая железнодорожных путей. дизель-генератор и другие механизмы во время сборки тепловозов устанавливают на открытой раме, что позволяет расширить фронт работ и облегчает подачу кузовов к местам их установки. После установки основного оборудования трубопроводов и монтажа проводов отдельные части кузовов с закрепленными на них механизмами опускают на раму и приваривают к ней и между собой.
Кузов тепловоза М62 (рис. 177) состоит из четырех частей: несущей рамы 4, блока передней кабины с кузовом над камерой электрооборудования (проставки) /, блока задней кабины с холодильной камерой 3; кузова над дизелем 2 и путеочистителей 5. Конструкция передней и задней кабины одинаковая. В 1964 г. кузов был всесторонне испытан на прочность. Испытания показали, что кузов полностью удовлетворяет требованиям прочности по усталости, а также прочности при предельных статической и ударной нагрузках 250 тс. Кроме того, кузов обладает необходимой прочностью при аварийной подъемке тепловоза. При аварийной подъемке полностью экипированного тепловоза его можно поднимать вместе с тележкой за один конец рамы (за выступы для крепления буферов), если рама опирается противоположным концом на другую тележку. При этом тележка поднимается вместе с кузовом при помощи специального устройства, размещенного в шкворне рамы.
Блок передней кабины с кузовом над камерой электрооборудования-. При проектировании тепловоза была поставлена задача создать кабину, удовлетворяющую требованиям санитарных норм железных дорог СССР, а также иностранных заказчиков: Венгрии, Германской
Демократической Республики, Чехословакии, Польши, КНДР. Завод совместно с научно-ис-следов ател ьс ким и и нети тутам и провел исследования, в результате которых создана кабина тепловоза М62, удовлетворяющая этим требованиям.
Положительную роль в уменьшении шума в кабине машиниста сыграла выбранная компановка тепловоза, предусматривающая установку промежуточных стенок между кабинами и дизельным помещением, образующих тамбуры. Уменьшению шума также способствовала установка дизель-генератора на резиновых амортизаторах и глушителя выпуска отработавших газов дизеля. Спектрограмма шума в кабине машиниста представлена на рис. 178.
Особое внимание уделено уплотнению трубопроводов, кондуитов, кардана привода скоростемера, проходящих через стенки и полы.
В кабине установлены удобный пульт управления тепловозом, переносные сидения для машиниста и его помощника, откидное сидение для сопровождающих лиц, радиостанция. На задней стенке кабины расположены штурвалы привода ручного тормоза.
Для создания нормальной температуры в столике помощника машиниста установлен (в обеих кабинах) отопительно-вентиляционный агрегат.
Звукоизоляция кабин машиниста (рис. 179) обеспечивается нанесением шумоизоляционной мастики толщиной 2—3 мм с внутренней стороны на стальные стенки кабины и установкой пакетов', состоящих из стеклоплит толщиной 40 мм, обвернутых в полиэтиленовую пленку, и пакетов из отходов штапельного волокна толщиной 30 мм, разделенных между собой фанерой толщиной 5 мм. Кабина облицована перфорированным алюминиевым листом толщиной 2 мм с коэффициентом перфорации 0,28 (диаметр отверстий 3 мм, расстояние между отверстиями 4—5 мм). Перфорированные листы с прикрепленной к внутренней стороне тканью из стекловолокна прикреплены к стальному зетобразному каркасу закаленными самонарезными шурупами М4. На полки каркаса в местах прилегания перфорированных листов приклеены мастикой полосы из термоизоляционного картона. Для доступа к оборудованию, расположенному под кабиной, полы (см. рис. 179) выполнены из пяти одинаковых щитов толщиной 100 мм. Они установлены в проемы на резиновых амортизаторах.
Рис. 178. ъ'пектры шума в кабинах А и Б тепловозов М62 и 2ТЭ116:
/ — место машиниста кабины А тепловоза М62;
2 — место машиниста кабины Б тепловоза М62;
3 — место машиниста секции А тепловоза 2ТЭН6; 4 — место машиниста секции Б тепловоза 2ТЭпй; 5 — спектрограмма воздушного шума в кабине машиниста тепловоза 2ТЭ10Л в обычном исполнении
В кабине созданы благоприятные условия для управления тепловозом. Обеспечивается хороший передний и боковой обзор. Боковые окна открываются передвижением вперед по ходу тепловоза. Подвижное окно заключено в алюминиевую рамку, изготовленную в прес-сформе литьем под давлением. Примерно 1/4 часть подвижного окна может поворачиваться относительно вертикальной оси наружу и служит пораваном. Такая конструкция окна позволяет уменьшить сквозняки при открытых окнах во время движения тепловоза. Стекла изготовлены из закаленного стекла толщиной 5 мм, а передние по требованию заказчика могут изготавливаться из безосколочного стекла типа «Триплекс». Крепятся стекла фасонным резиновым профилем и дополнительно укрепляются металлическими скобами. На потолке кабины расположены два светильника и два лючка для вентиляции. Над передними окнами расположены два шкафчика для хранения мелких вещей бригады и лючок для доступа к прожектору.
Кузов над камерой электрооборудования, как и все остальные части кузовов, выполнен из стального каркаса, свариваемого в основном из зетобразного профиля толщиной 2,5 мм преимущественно размером 50 X 50 х 35 мм. Снаружи к каркасу- приварены стальные девяти-зиговые листы толщиной 2,5 мм. С внутренней стороны самонарезными шурупами крепится стальной лист толщиной 0,8—7 мм, внутренняя сторона которого покрывается шумо-поглощающей мастикой слоем толщиной 1 мм. Такая двойная стенка обеспечивает удовлетворительную звуко- и термоизоляцию. Блок задней кабины с холодильной камерой имеет аналогичную конструкцию, а кузов над дизелем отличается тем, что имеет съемную крышу для выемки дизель-генератора.
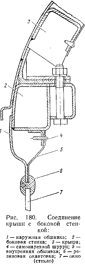
Крыша в свою очередь имеет несколько быстросъемных люков для демонтажа агрегатов. Соединение крыши с боковой стенкой изображено на рис, 180,
Рис. 179. Звукоизоляция и полы кабины:
а — задняя стенка кабины машиниста; б — боковая стенка кабины машиниста; в — полы в кабине машиниста; /, 12 — стальная наружная обшивка кузова; 2, 13 — стальной каркас; 3, 8, 14, 15 — мастика; 4, 19, 26 — стеклоплиты; 5 — перфорированный алюминиевый лист; 6, 17 — картон; 7, 16 — самонарезные шурупы; 9, 20, 25 — фанера; 10, 18 — отходы штапельного волокна; // — стеклоткань; 21 — резина; 22 — линолеум; 23 — окантовка; 24 — деревянный брусок
Главная рама кузова. Рама кузова сварной конструкции. Основными несущими элементами рамы (рис. 181) являются две продольные балки 10, выполненные из двутавровых балок № 45а, усиленных сверху и снизу полосами сечением 18 X 340 мм. Наружный контур рамы выполнен из швеллера № 16. По концам к продольным балкам приклепаны заклепками и прерывистой сваркой литые стяжные ящики 7. В них установлены поглощающие аппараты, к которым крепятся автосцепки САЗ или тяговый крюк. На переднем торце стяжных ящиков предусмотрено место для крепления буферов, а снизу прикреплены путеочистители.
Продольные балки между собой соединены вертикальными поперечными листами толщиной 10—14 мм, а с обносным швеллером — фигурными кронштейнами. Внутри рамы между продольными балками вварены воздухопроводы для подачи воздуха на охлаждение тяговых двигателей и уложены кондуиты из цельнотянутых труб, в которые заложены силовые кабели и провода цепей управления. Низ рамы между продольными балками покрыт стальными листами толщиной 6 мм, а остальная часть покрыта листами толщиной 10—12 мм. На верхней части рамы между продольными балками имеются углубления для размещения дизель-генератора и гидропривода вентилятора холодильной камеры.
Между продольными балками и обносным швеллером приварены настильные листы толщиной 4 мм. В местах, где настильные листы образуют пол тепловоза, приварены рифленые листы толщиной 4 мм. В средней части рамы с наружной стороны продольных балок приварены по два кронштейна 5 для крепления топливного бака. Снизу рамы на листах толщиной 18 мм приварены два литых шкворня наружным диаметром 300 мм, имеющих сменные кольца. Вокруг каждого шкворня на диаметре 2730 мм расположены четыре шаровых опоры 11 для передачи веса надтележечного строения. Рама в этих местах имеет усиления. В зоне передних и задних опор на усиленном кронштейне к обносному швеллеру приварены опоры 6 для подъема тепловоза на домкратах при ремонтах. Недалеко от шкворня между обносным швеллером и продольными балками вварены четыре бункера песочной системы 9 емкостью по 125 кг каждый.
Рис. 182. Опорно-возвращающее устройство: 1 — маслоуказатель; 2 —гнездо; 3 — шаровая опора; 4 — корпус; 5 — нижняя опорная плита-5 —обойма; 7 — планка; 8 — крышка; 9 — верхняя опорная плита; 10 — ролик; //— кольцо-12 — прокладка; А, Б, В, Г — поверхности
Все литые детали рамы тепловоза — стяжные ящики, шкворни, опоры для подъемки — отлиты из стали 25ЛП. Шкворневые кольца выполнены из стали 50 и термообработаны до твердости ЯВ-255—305. Продольные двутавровые балки и усиливающие полосы изготовлены из стали ВСтЗсп, все остальные детали — из стали БСтЗнт. Сварка применена в основном полуавтоматическая в среде углекислого газа. Для приварки литых деталей применен электрод Э42 или полуавтоматическая сварка под слоем флюса. Сварную раму обрабатывают на специальном станке, где с одной установки одновременно снизу обрабатываются восемь отверстий диаметром 100АЗ для шаровых опор и подрезаются их торцы, а сверху фрезеруются и сверлятся платики для установки дизель-генератора и других механизмов. Заданная точность обработки гарантируется настройкой станка.
Опорно-возвращающее устройство. Нагрузка от кузова передается через восемь роликовых опор, размещенных около шкворней, по четыре на каждую тележку. Общий вес тепловоза составляет 116,5 тс, а вес обеих тележек свыше 50 тс, следовательно, на обе тележки приходится нагрузка 66,5 тс, а на одну опору — порядка 8,5 тс. Тележки тепловоза имеют возможность поворачиваться относительно кузова в горизонтальной плоскости на угол 4°. Осью вращения является шкворень диаметром 300 мм, предназначенный для' передачи продольных и поперечных горизонтальных сил от_:тележки на раму кузова.
Шаровые опоры (рис. 182) рамы 'кузова передают нагрузку на гнезда 2, в свою очередь нагружающие опорные плиты 9, опирающиеся на ролики 10. Расстояние между роликами фиксировано обоймами 6, имеющими отверстия, в которые вставлены хвостовики роликов. Положение нижней опорной плиты 5 на раме тележки определено цилиндрическими выступами диаметром 70 мм. Весь механизм опоры расположен в литом корпусе 4, заполненном маслом, уровень которого определяется по маслоуказателю /. Необходимая плотность в стыке корпуса и нижней опорной плиты достигается уплотняющей резиновой прокладкой 12 и нажимным кольцом 11. К раме корпус 4 крепится четырьмя болтами. Опора имеет штампованную крышку 8, предназначенную для предохранения от выплескивания масла и закрепления брезентового чехла, защищающего опору от попадания пыли и влаги.
На прямом участке пути ролики занимают среднее положение. При повороте рамы тележки нижняя опорная плита перемещается относительно верхней, ролики перекатываются на наклонные поверхности, а гнездо скользит по верхней опорной плите. Горизонтальная составляющая давления ролика на плиту передается на раму тележки и называется возвращающей силой, поскольку она стремится вернуть тележку в исходное положение. При постоянном угле наклона а момент, возвращающий тележку в первоначальное положение, подсчи-тывается по формуле Мв = Рт 1£ аЯ, где Рт — нагрузка на все четы опоры тележки, а — радиус окружности, на которой расположены опоры. При перемещении в опорах возникают силы трения по поверхностям плоскостей (А, Б, В, Г). Таким образом, отклонению тележки препятствуют не только возвращающий момент, но и момент трения. Для обеспечения величины трения, необходимой для гашения колебаний тележки, каждая опора повернута на угол 5° между поперечной осью опоры и радиусом, соединяющим центр шкворня тележки с центром цилиндрического выступа нижней опоры.
Тепловоз М62 имеет следующую характеристику опорно-возвра-щающих роликовых механизмов: угол наклона плоскостей опорных плит а = 2°; угол поворота опор р* = 5°; возвращающий момент Мв = 1500 кгс • м; момент трения Мтр = 1170 кгс • м; общий момент М0 = 2670 кгс • м.
I На поверхности качения роликов и опорных плит возникают высокие контактные напряжения, поэтому ролики и опорные плиты изготавливают из высококачественных сталей. Твердость роликов после поверхностной закалки #/?С= 54—60, а опорных плит после цементации и закалки НКС > 56. Гнездо опоры изготовлено из стали 45. Цилиндрический поясок гнезда закаливается т. в. ч. до твердости НКС > 50. Корпус опоры отлит из стали 35Л1. Для повышения износостойкости и упрощения ремонта поверхностей трения по плоскостям к корпусу приварены пластины толщиной 5 мм из марганцовистой стали 60Г.
Шкворневой узел. Соединение рамы кузова с тележкой изображено на рис. 183. При подъемке тепловоза за приливы буферов рамы кузова тележка может подниматься вместе с кузовом при помощи специальной гайки 4, навинчиваемой на болт /, приваренный к раме кузова. При подъемке кузова гайка своим фланцем упирается в дно шквор -невой балки 5 тележки и поднимает ее. Для стопорения гайки применяется болт 3 с левой резьбой. Снизу шкворневое гнездо закрывается крышкой 2 с резиновым уплотнением 6. При сборке устанавливают зазор 6 ± 1 мм между фланцем гайки и дном шкворневой балки. Этот зазор необходим для обеспечения перемещения кузова относительно рамы тележки при накатывании роликов опор на наклонные поверхности плиты.










