ПРОТИВОПОЖАРНАЯ УСТАНОВКА
Тепловоз оборудован воздухопенной противопожарной установкой. В качестве пенообразующей жидкости применяется 6-процент?1ый водный раствор ПО-1 (ГОСТ 6968—70). Пенообразующая жидкость в генераторах высокократной пены перемешивается с эжектируемым из атмосферы воздухом и образует воздушно-механическую пену. Струю пены направляют на горящие предметы, пена обволакивает их, прекращает доступ к ним воздуха и очаг пожара гаснет. Получаемая пена совершенно безвредна, она не оказывает никакого действия на кожу и одежду человека, а также не агрессивна по отношению к металлу.
Противопожарная установка (рис. 175) состоит из двух генераторов высокократной пены 4 и 8, расположенных на постах управления
установкой (в дизельном помещении), резервуаров 13 и 17 для размещения пенообразующей жидкости, воздушного трубопровода для подачи воздуха к резервуарам и гидравлического трубопровода, по которому пенообразующая жидкость поступает от резервуаров к генераторам.
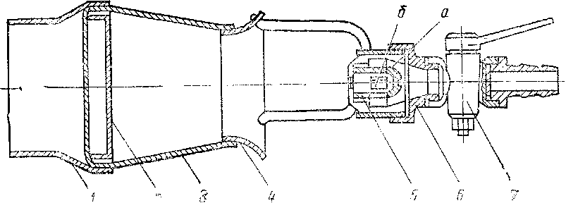
Устройство генератора высокократной пены представлено на рис. 176. Пенообразующая жидкость, пройдя разобщительный пробковый кран 7 генератора пены, попадает во внутреннюю полость а корпуса центробежного распылителя 6. Затем через тангенциальные отверстия б она проходит внутрь вихревой камеры 5. В вихревой камере жидкость закручивается и выходит из соплового отверстия (диаметр 8,4 мм) в виде резко расширяющейся распыленной струи. Струя попадает через коллектор 4 в диффузор 3 корпуса генератора пены. При этом она увлекает с собой воздух из атмосферы. Поток воздуха и капли мелкораспыленной жидкости попадают на пакет сеток 2. Образование пены происходит путем выдувания через ячейки сетки пенных пузырьков, образующихся из водного раствора пенообразователя, который в смеси с воздухом в виде пленки покрывает поверхность сетки. Насадок 1 придает струе пены форму и направление.
Воздушный трубопровод (см. рис. 175) снабжен разобщительными кранами 3 и 11, которые предназначены для включения установки в действие. Соединительный кран 14 должен быть нормально закрыт и открывается при продувке трубопровода. На трубопроводе подвода воздуха к резервуару имеется бонка 16, установленная на отверстие (d = 1 мм) в трубе, через которое стравливается воздух в случае пропуска его разобщительными кранами 3 и И. Чтобы предотвратить попадание пеногасящей жидкости в воздушный трубопровод на трубе подвода воздуха к резервуару (в районе штуцера), установлено предохранительное кольцо (мембрана) 19, которое необходимо менять после пользования системой. Разобщительный кран 15, должен быть постоянно открыт и закрыт при продувке трубопровода.
Для включения установки необходимо открыть один из разобщительных кранов 3 или /7 (см. рис. 175). При этом воздух из питательной магистрали по воздушному трубопроводу поступает в резервуары 13 и 17 и вытесняет; из него пенообразующую жидкость. Жидкость по гидравлическому трубопроводу подходит к пробковым кранам генераторов пены 4 и 8. Для тушения пожара необходимо взять генератор в руки, открыть кран и направить струю пены на очаг пожара.
Уход за установкой. После сборки противопожарной установки испытывают ее трубопроводы на плотность воздухом от питательной магистрали тепловоза давлением не менее 7,5 кгс/см2 (0,73 МПа). Для этого ставят заглушку на отверстие бонки 16, открывают один из разобщительных кранов 3 или 11 и проверяют все соединения трубопровода мыльным раствором, утечка воздуха не допускается. Пробковые краны 5 и 9 генераторов и вентиль 20 должны быть закрыты. После испытания на плотность проверяют чистоту отверстия бонки 16. Для этого снимают заглушку с бонки, при этом из отверстия должен выходить воздух, в противном случае отверстие в трубе прочищают. После перекрытия крана 3 или 11 устанавливают мембрану 19. Чтобы определить работоспособность противопожарной установки, проверяют качество ценообразования. Для этого при нормальном давлении в питательной магистрали включают установку в действие и после появления устойчивой струи пены из генератора наполняют ею какую-либо емкость (ведро), и установку выключают. Дают отстояться пене и замеряют объем жидкости в емкости! Частное от деления наполненного объема емкости пеной на объем жидкости будет являться кратностью выхода пены, которая должна быть 70—-100. Если кратность выхода пены окажется меньше 70, то необходимо проверить состояние пакета сеток генератора пены (сетки должны быть плотно натянуты, чистыми и их ячейки не засорены) и состояние центробежного распылителя, а также соосность его соплового отверстия с диффузором корпуса генератора. Если при нормальном состоянии- проверенных деталей кратность выхода пены окажется неудовлетворительной, необходимо произвести анализ пенообразователя для определения его годности.
Рис. 176. Генератор высокократной пены:
/ — насадок; 2 — пакет сеток; 3 — диффузор; 4— коллектор; 5 —вихревая камера; 6 — корпус центробежного распылителя; 7—пробковый кран; а — полость корпуса центробежного распылителя; б — тангенциальные отверстия
После кратковременного использования противопожарной установкой (пенообразующая жидкость использована частично) необходимо удалить остатки пенообразующей жидкости из трубопровода. Для этого перекрывают разобщительный кран 15, открывают соединительный кран 14 и, открыв один из разобщительных кранов 3 или 11, продувают трубопровод воздухом при открытых пробковых кранах обоих генераторов пены. Воздух по трубам через рукава и генераторы пены вытеснит оставшуюся жидкость из трубопровода. После длительного использования противопожарной установкой (пенообразующая жидкость использована полностью) необходимо промыть установку водой. При этом промывают резервуары горячей водой путем двукратного наполнения и слива ее через вентиль 20, а также промывают горячей водой и трубопровод. Для этого заправляют горячей водой резервуары, включив установку в действие, открывают оба пробковых"крана генераторов и выпускают через них воду. Установку выключают только после прекращения выхода с воздухом капель воды из генераторов. После слива из резервуара пенообразующей жидкости (при постановке в ремонт, консервации, отставлении в резерв и т. д.) резервуар промывают горячей водой. При приведении противопожарной установки] в исходное положение после ее использования и промывки необходимо перед заправкой установить мембрану.










