ПЕСОЧНАЯ СИСТЕМА
К песочной системе тепловоза (рис. 166) относятся: четыре бункера песочницы 2, расположенных в главной раме над средними колесными парами, четыре воздухораспределителя 7, по два на каждую тележку, и восемь форсунок песочницы 3, по две на каждом бункере. Песочная система приводится в действие нажатием педали под пультом управления; При этом в зависимости от направления движения тепловоза подается питание на один из двух электропневматических вентилей 1. При срабатывании вентиля воздух из системы управления поступает к двум из четырех воздухораспределителей 7, которые открывают доступ воздуха из питательной магистрали к форсункам песочницы 3. Для лучшей подачи песка по трубопроводу и его распыления по рельсу в двух точках каждой ветви трубопровода имеется дополнительный подвод воздуха. Песок подается под первые колесные пары тележек по ходу движения тепловоза.
Рис. 166. Принципиальная схема песочной системы: *
/«электропневматический вентиль; 2— бункер песочницы; 3 — форсунка песочницы; 4 — шланг; 5 — шланг концевой; 6, 10 — краны разобщительные; 7 — воздухораспределитель; 8, 9 — шланги; КР— контакты реверсора; ЯЯ—педаль песочницы
Бункер заправляют песком через люк и откидной желоб с сеткой. Песок перед заправкой должен быть сухим, без примесей пыли и посторонних включений. В процессе эксплуатации тепловоза необходимо периодически проверять и регулировать установку концевых шлангов песочной системы, которые должны быть хорошо закреплены на трубах и отстоять от головки рельса на 50—65 мм, но они не должны касаться движущихся деталей тележки.
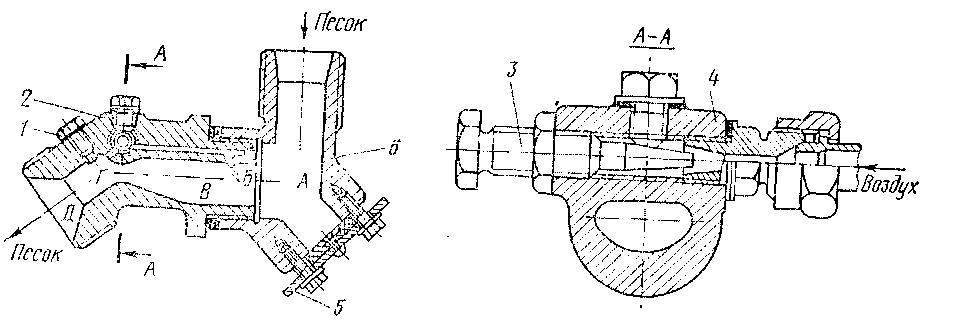
Воздухораспределитель песочницы (рис. 167) состоит из корпуса 3 с тремя штуцерами для соединения его с трубопроводами. Через штуцер 8 подводится воздух от электропневматического вентиля, через штуцер 6—-от питательной магистрали и через штуцер 7 воздух подается к форсункам песочниц. В корпусе воздухораспределителя находится клапанная система, состоящая из подпружиненного клапана 5 с уплотнением 4 и поршня 2 с манжетой 1. При срабатывании электропневматического вентиля воздух из системы управления поступает в полость А. При этом поршень 2 с манжетой /, поднимаясь вверх, откроет клапан, который соединит каналы £ и В и тем самым откроет доступ воздуха из питательной магистрали к форсункам песочниц. Чтобы исключить появление воздуха в полости над поршнем 2, она соединена с атмосферой.
Рис. 167. Воздухораспределитель песочницы:
/ — манжета; 2 — поршень; 3 — корпус; 4 — уплотнение; 5 — клапан; 6, 7, 8 — штуцеры; А — полость; Б, В — каналы
Рис. 168. Форсунка песочницы:
/-пробка; 2-корпус; 3 ~ винт регулировочный; 4 - сопло} 5 - крышка; в- угольник; А, В — полости; Б, Г, Д — каналы
В форсунке песочницы (рис. 168) имеются полости Л и В, в которые стекает песок из бункера. При включении песочницы воздух из воздухораспределителя поступает в форсунку по каналам Б я Г, взрыхляет песок и по трубопроводу уносит его под колеса. Количество подаваемого песка регулируют винтом 3.
При вращении винта изменяется проходное сечение воздушного канала, что приводит к уменьшению или увеличению количества подаваемого воздуха, а следовательно, и песка.










