ГЛАВА 8
ПНЕВМАТИЧЕСКАЯ И ПЕСОЧНАЯ СИСТЕМЫ, УСТРОЙСТВА ФИЛЬТРАЦИИ ВОЗДУХА И ВСПОМОГАТЕЛЬНОЕ ОБОРУДОВАНИЕ
ПНЕВМАТИЧЕСКАЯ СИСТЕМА УПРАВЛЕНИЯ
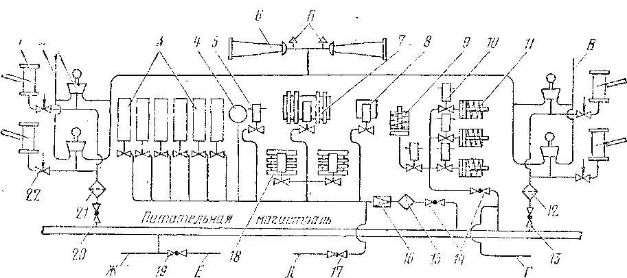
Все электропневматические аппараты и пневматические устройства управления тепловозом питаются сжатым воздухом от пневматической системы (рис. 158). В зависимости от назначения и рабочего давления воздухопровод системы управления имеет независимые друг от друга трубопроводы, подсоединенные к питательной магистрали. К стеклоочистителям, тифонам и свисткам воздух подается непосредственно из питательной магистрали через разобщительный кран 13 (20) и фильтр 12 (21). В пневматический привод стеклоочистителя 1 воздух поступает через запорно-регулировочный кран 22, которым можно регулировать скорость и цикличность работы щеток стеклоочистителя. К тифонам 6 и свистку воздух поступает через параллельно соединенные клапаны 2, которые срабатывают при нажатии шаровой ручки вперед (для тифонов) или назад (для свистка). Для четкой работм ти-фонов и разгрузки их мембран на трубопроводе имеются два калиброванных дросселирующих отверстия Б диаметром 2 мм.
<
p>Рис. 158. Схема воздухопровода системы приборов управления:
1 —- пневматический привод стеклоочистителя; 2 — клапан тифона и свистка; 3 — поездной контактор; «( — датчик электроманометра; 5 — электропневматический вентиль, песочной системы; 6 — тифон; 7 — реверсор; 8 — ускоритель пуска дизеля; 9 — цилиндр включения гидромуфты вентилятора; 10 — электропневматический вентиль; 1/— цилиндр включения жалюзи; 12, 15, 21 — фильтры; 13, 14, 17, 19, 20 — краны разобщительные; 15 — клапан максимального давления; 18 — групповой контактор; 22 — кран запорно-регулировочный; А, В — отводы к свистку; Б — калиброванное отверстие диаметром 2 мм; Г — к воздухораспределителям песочницы; Д — для обдува электрооборудования; Е — для обдува холодильной камеры; Ж — к резервуарам противопожарной установки
К цилиндрам привода жалюзи // холодильной камеры и к цилиндру включения гидромуфты вентилятора 9 воздух поступает непосредственно из питательной магистрали через разобщительный кран 14 при срабатывании электропневматических вентилей 10. К поездным 3 и групповым 18 контакторам, электропневматическому вентилю песочной системы 5, реверсору 7, ускорителю пуска дизеля 8 воздух поступает из питательной магистрали через разобщительный кран 14, фильтр 15 и клапан максимального давления 16, который поддерживает в этом трубопроводе давление 5,5—6,0 кгс/см2 (0,54—0,59 МПа). Для контроля давления воздуха в трубопроводе в камере электрооборудования установлен датчик электроманометра 4. Трубопровод системы управления имеет отводы,к воздухораспределителям песочницы (Г), резервуарам противопожарной установки (Ж) и два отвоДа с разобщительными кранами 17, 19 для использования воздуха при обслуживании тепловоза и проведении ремонтных работ.
Пневматический привод стеклоочистителя. Привод стеклоочистителя (рис. 159) имеет корпус 3, в котором помещена зубчатая рейка 5 с уплотнениями 2. На торцах через зубчатый сектор 4 и ось рейка связана со щеткой. К корпусу стеклоочистителя крепится корпус 9 распределительного механизма, внутри которого находятся золотник 10 и поршень 8 пневматической установки щетки в крайнее стационарное положение. Перед включением подачи воздуха золотник 10 находится в крайнем левом положении и своими полостями и уплотнениями соединяет канал М с каналом Р и плоскостью А, канал В с каналом Л и разъединяет каналы Л и Р. Воздух от запорно-регулировочного крапа поступает в канал М и далее по каналу Р в полость А и перемещает вправо зубчатую рейку 5. Перемещаясь, рейка вращает сектор 4 и через ось щетку стеклоочистителя. Воздух, вытесняемый из полости Б, по каналам В я Л поступает в полость Е и перемещает вправо поршень 8, после чего, проходя через отверстия в поршень, отжимает подпружиненный клапан б и по каналу Г поступает в канал X запорно-регулировочного крана (см. рис. 160) и далее через щелевое отверстие, в атмосферу.
Рис. 159. Пневматический привод стеклоочистителя 440Е: # —крышка; 2 — уплотнение; 3 — корпус;' 4 — сектор; 5 — рейка зубчатая; 6 —клапан; 7. гайка- 8 — поршень; 9 — корпус золотника; 10 — золотник; // — пробка; л. Б, Д, Ь, К, п-полости; В, Г, И, Л, М, О, П, Р — каналы
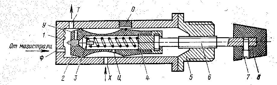
Рис. 160. Край запорно-регулировочный:
/ — корпус; 2 —золотник; 3 — клапан; 4— болт; 5 —крышка; ff —винт регулировочный; 7—, винт стопорный; 8 — ручка; Т, У, Ф, X, Ц — каналы; О — отверстие
Зубчатая рейка 5 (см. рис. 159), перемещаясь вправо, откроет своим уплотнением 2 канал Я, и воздух из полости А по каналу Я поступит в полость Я золотника и переместит его вправо. Воздух из полости К через канал Я вытесняется в. атмосферу. При этом золотник 10 соединит канал Р с Л и каналы М с В. Воздух по каналам М ш В начинает поступать в полость £, а из полости А через каналы Р и Л-в полость В и через клапан 6 уйдет по каналу Г в канал X крана (см. рис. 160) и далее через щелевое отверстие О в атмосферу. Переместившись влево, рейка 5 соединит канал В с каналом ЛЇ, и воздух по нему зайдет в полость К, золотник переместится и цикл повторится.
Запорно-регулировочный кран. В корпусе / крана (рис. 160), закрытого крышкой 5, находится золотник 2 с подпружиненным клапаном 3. При вращении регулировочного винта 6 золотник 2 соединит каналы Ф и Т и откроет доступ воздуха к пневматическому приводу-стеклоочистителя. При этом золотник своим уплотнением изменяет длину щелевого отверстия О и соответственно расход воздуха, что, в •конечном итоге, приводит к изменению скорости и цикличности работы стеклоочистителя, При совместной работе крана со стеклоочистителем (см. рис. 159 и 160) воздух по каналам Ф и Т крана поступает, через канал М в пневматический привод стеклоочистителя. После распределения в золотниковом аппарате и перемещения зубчатой рейки воздух по каналу пневматического привода стеклоочистителя каналу X и отверстию О крана уходит в атмосферу. Чтобы остановить стеклоочиститель, вращают ручку крана. При этом золотник перекрывает атмосферное отверстие и клапан, упершись во внутренний торец корпуса, откроет доступ воздуха по каналам У, Ц и X в канал Г и полость Д пневматического привода стеклоочистителя (см. рис. 159). При этом поршень 8, перемещаясь влево, передвинет влево золотник и соединит полость Е с атмосферным каналом О, и . воздух по каналу Т крана (см. рис. 160), М и.Р пневматического привода (см.-рис. 159) попадет в полость А и передвинет вправо до упора зубчатую рейку, и воздух из полости Б по каналам В, Л я полость Е уйдет через канал О в атмосферу. При дальнейшем вращении ручки крана торец золотника упрется в пояски корпуса и перекроет доступ воздуха к стеклоочистителю.
Стеклоочиститель типа СЛ-440Е имеет угол размаха щетки 100 ±8°; длину щетки 340 мм; расстояние от оси вращения рычага до места крепления щетки 288 мм; минимальное число двойных ходов — не более 30 в минуту; максимальное число двойных ходов — не менее 55 в минуту; стеклоочиститель прижимает щетку к стеклу с силой 0,35—0,4 кгс (3,4—3,9 Н); масса его—2 кг.
Тифон. Для подачи звуковых сигналов на тепловозе установлен тифон (рис. 161). Тональность сигнала регулируется изменением жесткости пружины 4 путем вращения гайки 1. При неудовлетворительной работе тифона необходимо проверить состояние пружины и мембраны. Трещины, вмятины и прогиб не допускаются. При потере жесткости пружины, ее заменяют. После замены деталей тифон регулируют, а затем гайку / и крышку 3 стопорят болтом 2.
Рис. 161. Тифон:
3 — гайка регулировочная; 2 — болт стопорный; 3 —-крышка; 4 — пружина; 5 —втулка; 6 — мембрана; 7 — корпус
Клапан тифона и свистка (рис. 162) подает к ним воздух. При нажатии на ручку коромысло 2, поворачиваясь вокруг оси, через толкатель 3 и винт 6 нажимает на клапан 7. Клапан откроется и соединит полость А с полостью Б или В, и воздух из питательной магистрали будет поступать к тифону'или свистку. При осмотрах и ремонтах клапан разбирают, детали очищают, промывают в керосине и продувают сжатым воздухом. При необходимости заменяют уплотнения и пружину. При сборке смазывают сопрягаемые поверхности движущихся деталей. После сборки клапан испытывают на утечки.
Цилиндр привода жалюзи. Жалюзи холодильной камеры открываются и закрываются при помощи цилиндра (рис. 163), внутри которого перемещается поршень 4 со штоком /. С одной стороны цилиндр закрыт крышкой 6 с прокладкой. При срабатывании электропневматического вентиля воздух подается в полость, между крышкой и поршнем. Перемещаясь, поршень через шток и систему рычагов открывает жалюзи. При отключении электропневматического вентиля полость между поршнем и крышкой сообщается с атмосферой и А_ пружина возвращает поршень в исходное положение, жалюзи при этом закрываются. При ремонтах цилиндр разбирают, детали промывают в керосине и протирают насухо. При сборке рабочую поверхность цилиндра и манжету смазывают тонким слоем смазки. Собранный цилиндр привода жалюзи проверяют на утечки воздуха.
Фильтр (рис. 164) очищает воздух от механических включений.
Внутри корпуса / между двумя перфорированными дисками 2 и 4 находится фильтрующая набивка 3. Во время ремонтов набивку фильтра заменяют.
Клапан максимального давления. Клапан усл. № ЗМД (рис. 165) регулирует и поддерживает давление воздуха 5,5—6,0 кгс/см2 (0,54—0,59 МПа). Внутри стакана 7 перемещается подпружиненный поршень 4 с манжетой 6. В корпусе перемещается клапан 3, прижимаемый к седлу пружиной 2. Под действием пружины 8 поршень 4 занимает крайнее и нижнее положение й отжимает от седла клапан 3 до упора в корпус 1. При этом воздух из питательной магистрали (полость А) поступает в трубопровод пневматической системы управления (полость Б) и через канал В под поршень 4. Как только давление воздуха под поршнем достигнет величины 5,5—6,0 кгс/см2 и его нажатие на поршень 4 окажется больше величины силы нажатия пружины 8, поршень 4 поднимается. Клапан 3 под действием пружины 2 сядет на седло и перепуск воздуха прекратится.
Рис. 165. Клапан максимального давления:
/ корпус; 2 — пружина; 3 — клапан; 4 — поршень; 5 —кольцо распорное; 6 — манжета; 7 — стакан; 8 — пружина; 9 — винт регулировочный; 10 — колпачок предохранительный; А, Б — полосі-»; В — канал
Клапан на необходимое давление регулируют винтом .9, воздействующим на пружину 8.. При повороте винта по часовой стрелке давление воздуха на выходе увеличивается. После регулировки устанавливают предохранительный колпачок 10 и клапан пломбируют.










