РЕЗИСТОРЫ
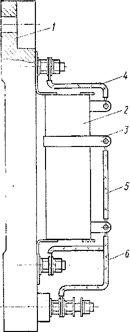
Ленточные резисторы типа ЛС. Резисторы (рис. 125) выполнены из . фехралевой ленты в виде бескаркасного, зигзагообразного элемента, который закрепляется с помощью стальных держателей между изоляторами. Изоляторы стягивают шпильками. На прямолинейных участках лента имеет выштампованные в продольном направлении гофры, придающие ей жесткость. В местах перегиба лента крепится при помощи держателей, обеспечивающих температурную компенсацию изменения длины ленты и возможные технологические отклонения. Ленточные резисторы выполняются из одного или двух элементов, в последнем случае элементы устанавливаются друг на друга и стягиваются шпильками.
Технические данные ленточных резисторов приведены в табл. 15.
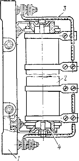
Панели с резисторами типа СР. Резисторы (рис. 126) выполнены в виде полых фарфоровых цилиндров, на которые намотана проволока высокого омического сопротивления. Цилиндры шпильками и держателями крепятся к изоляционному основанию из пластмассы (рис. 127).
Таблица 15
Отдельные пластмассовые основания стягивают шпильками и создают в случае необходимости единую панель. Монтажные провода подсоединяются к шпилькам, запрессованным в панель, к которым в свою очередь подсоединены провода, идущие к регулировочным хомутам, с помощью которых устанавливается требуемая (заданная) величина сопротивления секции (части) цилиндра СР. Технические данные панелей с резисторами тНпа СР приведены в табл. 16.
Панели с резисторами типов ПЭВ и ПЭВР. На пластмассовой панели закреплен резистор мощностью 100 Вт (рис. 128). Резисторы выполнены в виде полых керамических трубок, на которые намотана проволока из нихрома или константана, покрытая высокопрочной эмалью. Применяются нерегулируемые резисторы типа ПЭВ и регулируемые типа ПЭВР, на поверхности последних имеются свободная от эмали дорожка провода для контакта с регулировочным хомутом. Монтажные провода подсоединяют к шпилькам, закрепленным в панель, к которым в свою очередь подсоединены провода от хомутов, позволяющих устанавливать требуемую величину сопротивления секций (части) трубки ПЭВР. Технические данные панелей с резисторами типов ПЭВ и ПЭВР приведены в табл. 17.
Рис. 125. Резистор ленточный ЛС-9117:
/ — держатель; 2 — шпилька; 3 — элемент резистора; 4, 5 — изоляторы

Рис. 126. Резистор типа СР. / — цилиндр; 2— обмотка; 3 — хомут
Таблица 16

Рис. 127. Унифицированная панель с элементами резистора типа СР:
/ — панель; 2— элемент; 3—монтажный провод; 4 — держатель
Рис. 128. Панель с резисторами типа ПС;
/ — панель; 2 — резистор; 3 — хомут; 4, 5, 6 — соединения










