Электропневматические вентили и тяговые электромагниты '
Электропневматические вентили. На тепловозе установлены электропневматические вентили: ВВ1 (рис. 123, а) на дизеле и используются как ускорители пуска и отключатели ряда топливных насосов; ВВЗ на контакторах ПК-753Б, групповом контакторе ослабления возбуждения ПКТ-565; ВВ-32 (рис. 123, б) на -реверсивном переключателе ППК-8063 и клапане песочницы КЛП-32. Отдельные вентили ВВ-3 и ВВ-32 применяются также для управления жалюзи и другими механизмами тепловоза.
Технические данные вентилей приведены в табл. 13.
Рис. 123. Вентили электропневматические: а — вентиль ВВ-1: / — катушка: 2 — клапан верхний; 3~ клапан нижний; 4 — корпус; б — вентиль ВВ-32; / — клапан нижний; 2 — корпус-3 — клапан верхний; 4 — катушка; 5 — якорь
Таблица 1.3
Клапан песочницы КЛП-32. На стальном основании расположены три электропневматических вентиля типа ВВ-32. Вентили имеют общий подвод сжатого воздуха, отдельные выходные отверстия к управляемым воздушным магистралям. Номинальное давление воздуха в клапане — 5 кгс/см2; максимальное давление воздуха — 6,75кгс/см2, масса аппарата — 5,7 кг.
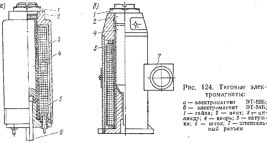
Тяговые электромагниты. Тяговый электромагнит ЭТ-52Б (рис. 124., а) предназначен для работы в качестве электромагнитного привода регулятора дизеля.
Магнитная система электромагнита — прямоходовая, якорь имеет конический стоп: обмотка намотана на латунную гильзу, изолированную миканитом и залитую вместе с сердечником компаундом на основе эпоксидной смолы.
Стальной кожух электромагнита имеет на наружной стороне резьбу для ввинчивания магнита в корпус объединенного регулятора частоты вращения вала дизеля.
Тяговый электромагнит ЭТ-54Б (рис. 124, б) представляет собой катушку с втяжным якорем, имеющим усеченно-конический конец.
Таблица 14
Обмотка намотана на латунную гильзу, изолированную миканитом. Концы обмотки припаяны к выводам штепсельного разъема. Магнито-провод (кожух, сердечник, фланец) и обмотка со штепсельным разъемом залиты компаундом на основе эпоксидной смолы. Ход якоря регулируется винтом.
Технические данные электромагнитов приведены в табл. 14.










