12.3. Аппараты управления, защиты и контроля
Эти электрические аппараты служат для дистанционного или автоматического управления агрегатами тепловоза — двигателем, главным генератором, вспомогательными машинами и т.д., контроля за их работой и защиты их от режимов работы, отклоняющихся от нормальных. К этим аппаратам относятся контроллер машиниста, различные реле, регулятор напряжения и т.д.
Контроллер машиниста служит для замыкания отдельных цепей управления. При помощи рукоятки контроллера машинист может изменять частоту вращения коленчатого вала дизеля, направление движения тепловоза и т. п. Контроллеры подразделяются на контроллеры с ручным управлением и контроллеры с ручным и электропневматическим управлением.
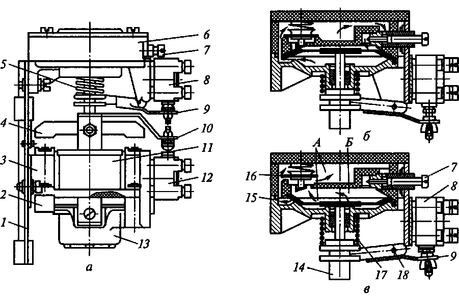
На тепловозах ТЭ1, ТЭ2, ТЭЗ, ТЭМ1, ТЭМ2, ТЭ10, 2ТЭ10Л установлены однотипные контроллеры, отличающиеся друг от друга только числом позиций и кулачковых элементов. Устройство этих контроллеров рассмотрим на примере контроллера КВ-0801, представленного на рис. 12.11.

Рис. 12.11. Контроллер машиниста КВ-0801:
1 — дно корпуса; 2 — главный барабан; 3 — корпус; 4, 29 — угольники; 5, 20, 31 — рычаги; 6 — главный вал; 7 — кронштейн; 8 — реверсивный вал; 9 — верхняя крышка; 10 — реверсивная рукоятка; 11 — главная рукоятка; 12 — изоляционные стойки; 13 — тяга; 14 — реверсивный барабан; 15, 21, 22, 32 — пружины; 16, 19— храповики; 17— фиксатор; 18, 27— ролики; 23— подвижной контакт; 24, 25 — серебряные пластины; 26 — неподвижный контакт; 28 — пластмассовая шайба; 30 — гибкое соединение
Верхняя крышка 9 и дно корпуса 1 контроллера связаны между собой угольниками 4. В корпусе 3 установлен главный вал 6, один конец которого опирается на дно, а второй проходит через крышку. На верхнем конце вала находится главная рукоятка 11, имеющая девять положений: холостой ход и восемь рабочих. Она может поворачивать только шайбы главного барабана и служит для изменения частоты вращения вала дизеля. На нижней части вала находится главный барабан 2. На верхнюю часть вала надет реверсивный барабан 14. Он вращается на главном валу и приводится в действие посредством рычага 5 и тяги 13 от реверсивного вала 8.
Верхний конец реверсивного вала выведен над крышкой. На него надета головка, а в пазы реверсивного вала вставлена реверсивная рукоятка 10 с положениями «Вперед», «Назад» и нейтральное, предназначенная для изменения направления движения тепловоза. Нижний конец реверсивного вала вращается в отверстии кронштейна 7, неподвижно закрепленного на корпусе контроллера. С левой и
правой стороны от барабанов установлены изоляционные стойки 12. На левой стойке укреплены неподвижные контакты, состоящие из стальной планки и серебряной пластины 25. Подвижные контакты правой стойки состоят из угольника 29 и рычага 31, на конце которого укреплен контакт 23 с серебряной пластиной 24. В средней части рычага на оси установлен ролик 27. Рычаг под действием пружины 32 прижимается роликом к шайбе 28 главного барабана. Отвод тока от подвижного контакта выполняется с помощью гибкого соединения 30 на контактный винт угольника 29. Нажатие на контакт осуществляется притирающей пружиной 22. Последовательность замыкания контактов главного барабана зависит от расположения вырезов в шайбах, которые определяются схемой тепловоза. Контакты одной шайбы реверсивного барабана замыкаются только в положении «Вперед», другой — только в положении «Назад». Фиксация главного барабана на каждом положении осуществляется посредством храповика 19 и главного вала, во впадины которого заходят стальные ролики 18, укрепленные на двух рычагах 20. Рычаги 20 при помощи пружин 21 прижимают ролики 18 ко впадинам храповика 19. Фиксация реверсивного барабана выполняется храповиком 16, укрепленным на реверсивном валу, и фиксатором 17, прижимаемым пружиной 15.
На тепловозах 2ТЭ10М, 2ТЭ10В, 2ТЭ116 установлены контроллеры, отличающиеся от контроллеров типа КВ-0801 тем, что в них применяется контактная система мостикового типа и управление главным барабаном осуществляется штурвалом, поэтому отсутствует зубчатая передача.
На тепловозах ТЭМ2, предназначенных для работы машиниста без помощника, устанавливаются контроллеры с ручным и электропневматическим приводами, позволяющими применять дистанционное управление.
На тепловозах используют реле управления серии Р-45М, все элементы которых, кроме панелей и катушек, взаимозаменяемы. На рис. 12.12, а представлено реле управления типа Р-45М, состоящее из магнитной системы клапанного типа; пальцевого 7 и мостикового 8 контактов, установленных на панели 1. К магнитной системе реле относится ярмо 2, сердечник с катушкой 3, подвижной якорь 4. Реле заземления Р-45Г2 отличается от других типов реле серии Р-45 наличием токовой катушки вместо катушки напряжения и механической защелки, удерживающей якорь во включенном состоянии. Ток срабатывания реле заземления регулируется затягиванием пружины 5.
Реле управления ТРПУ-1 (рис. 12.12, б) состоит из скобы (маг-нитопровода) 19, катушки 77 с сердечником 18, якоря 16, замыкающих и размыкающих контактов. При прохождении тока по катушке якорь притягивается к сердечнику, и через траверсу 14 происходит замыкание или размыкание контактов. После снятия

Рис. 12.12. Реле управления:
а — типа Р-45М; б — типа ТРПУ-1; / — панель; 2 — ярмо; 3, 17 — катушки; 4, 16 — якорь; 5, 21 — пружины; 6 — болт регулировочный; 7 — пальцевый контакт; 8 — мостиковый контакт; 9 — пластмассовый корпус; 10 — кожух; 11 — подвижная пластина замыкающего контакта; 12 — подвижная пластина размыкающего контакта; 13 — неподвижные пластины контактов; 14 — траверса; 15 — угольник; 18 — сердечник; 19 — скоба; 20 — винт
напряжения пружина 21 устанавливает якорь в исходное положение, при этом замыкающие контакты размыкаются. Ход якоря ограничивается угольником 15.
Дифференциальное реле РД-3010 (рис. 12.13) автоматически управляет контакторами ослабления возбуждения тяговых электродвигателей в зависимости от тока и напряжения на зажимах тягового генератора или выпрямительной установки.
Магнитная система реле состоит из ярма 17, выполненного в виде скобы, сердечников 19, 22 и якоря 20, поворачивающегося вокруг оси 3, установленной на стойке 11. Якорь при обесточенных катушках прижимается пружиной 15 к упорному винту кон-тактодержателя 13. На нижней полке ярма установлена катушка напряжения 18, на верхней полке — токовая катушка 23, на которую подается сигнал, пропорциональный току тягового генератора. На катушку напряжения подается сигнал, пропорциональный напряжению тягового генератора. Реле имеет один замыкающий контакт с двойным разрывом: подвижные контакты /установлены на якоре, неподвижные 6— на изоляционной колодке 5. Контактная система закрыта прозрачным кожухом 4. Реле срабатывает под воздействием электромагнитного усилия, создаваемого катушкой напряжения, которому противодействует усилие токовой катушки и пружины. При уменьшении тока в катушке напряжения

Рис. 12.13. Дифференциальное реле РД-3010:
1 — изоляционная панель; 2 — контактный зажим; 3 — ось; 4 — кожух; 5 — изоляционная колодка; 6 — неподвижные контакты; 7 — подвижные контакты; 8 — контактная пружина; 9 — заполнитель; 10 — винт; //, 12 — стойки; 13 — контактодержатель; 14— шпилька; 15 — пружина; 16— болт; 17— ярмо; 18 — катушка напряжения; 19, 22 — сердечники; 20 — якорь; 21 — немагнитная напайка; 23 — катушка токовая; 1 — 6 — номера клемм на панели прибора
и увеличении тока в токовой катушке до определенных значений якорь 20 отпадает, и контакты размыкаются.
Реле ограничения тока (рис. 12.14) устанавливается на маневровых тепловозах ТЭМ2, ТЭМ1 и др. и служит для ограничения тока тягового генератора.
На изоляционной панели 1 установлено электромагнитное реле с высоким коэффициентом возврата и резистор 12 с двумя ступенями. Реле имеет две катушки: напряжения 16 и токовую 17, надетые на сердечник. Катушка напряжения крепится непосредственно к панели. Токовая катушка выполнена в виде одного витка из медной шины, концы которого припаяны к массивным медным выводам 13, укрепленным на изоляционной планке 14. Подвижная система реле состоит из облегченного рычага 7 с немагнитной планкой 8 и плунжерного якоря. Реле имеет жесткий двусторонний подвижный контакт. Для облегчения работы контактов применен дугогасительный контур, состоящий из резистора и двух конденсаторов. При максимальном токе тягового генератора ток в токовой катушке наибольший, и ее усилие, преодолевая усилие пружины 9, поворачивает рычаг вокруг неподвижной оси, размыкая контакты. В зависимости от соотношения токов в катушке реле подвижный контакт занимает одно из пяти возможных положений, благодаря чему регулируется ток возбуждения.
Рис. 12.14. Реле ограничения тока ПР-27АЗ:
/ — панель; 2, 4 — неподвижные контакты; 3 — подвижной контакт; 5 — кожух; 6 — конденсатор; 7 — рычаг; 8 немагнитная планка; 9 — пружина; 10 — изоляционная колодка; 11 — контактные зажимы; 12 — резистор; 13 — выводы токовой катушки; 14 — изоляционная планка; 15— сердечник; 16— катушка напряжения; 17 — токовая катушка; 18 — ось

Реле боксования, в качестве которых используются реле типа РК, предназначены для автоматической защиты тяговых электродвигателей тепловоза от разносного боксования. На тепловозах 2ТЭ10Л , 2ТЭ10В, 2ТЭ10М, 2ТЭ116 реле боксования объединены в один блок, получивший название блок боксования. На рис. 12.15 представлен блок боксования ББ-320А, состоящий из реле РК-221 и РК-231, соединенных шпильками, пропущенными через панель 3 и закрытых кожухом.

Рис. 12.15. Блок боксования ББ-320А:
/ — реле РК-221; 2 — реле РК-231; 3 — панель; 4 — неподвижный контакт; 5 — {замыкающий контакт; 6 — рычаг; 7 — ярмо; 8 — регулировочная пружина; 9 — якорь; 10 — втягивающая катушка
Реле РК-221 представляет собой электромагнитный аппарат плунжерного типа с разомкнутой магнитной системой. Втягивающий якорь (плунжер) 9 укреплен на поворотном рычаге 6 из немагнитного материала. Контактная система реле имеет один размыкающий и один замыкающий контакты перекидного типа. Высокая чувствительность реле, необходимая для срабатывания в начале боксования, достигается путем облегчения массы, уменьшения трения, тщательной балансировки подвижной системы, а также уменьшения усилия возвратной пружины.
В электрических цепях тепловозов используются пневматические, электромагнитные и полупроводниковые реле времени. В качестве пневматических реле времени применяются реле типа РВП (рис. 12.16).
Реле типа РВП используют для управления работой маслопро-качивающего насоса двигателя дизеля, ограничения времени прокрутки вала дизеля при пуске и управления переходом на ослабление возбуждения тяговых электродвигателей.
Принцип действия реле основан на обеспечении выдержки времени за счет замедленного поступления воздуха через регулиро-

Рис. 12.16. Электропневматическое реле времени РВП (а), схемы пневматической поставки при включении (б) и выключении (в):
1 — основание; 2 — электромагнитный привод; 3 — ярмо электромагнита; 4 — якорь электромагнита; 5, 17 — пружины; 6 — пневматическая приставка; 7 — регулировочный винт; 8, 12 — микровыключатели; 9, 10 — рычаги; — катушка электромагнита; 13 — возвратная пружина; 14 — шток; 15 — диафрагма; 16 — клапан; 18 — ось; А, Б — воздушные полости
вочное отверстие из одной воздушной полости в другую. При подаче напряжения на катушку 11 якорь 4, преодолевая усилие возвратной пружины 13, притягивается к ярму 3 магнитной системы. Рычаг 10, нажимая на штифт микровыключателя 12, переключает его контакты мгновенного действия. Одновременно якорь освобождает шток 14, который под действием собственной массы и пружины 17 начинает опускаться вниз вместе с диафрагмой 15. Движению подвижной системы препятствует возникающее в полости Б разряжение, которое компенсируется поступлением воздуха из полости А через регулируемое отверстие. За счет изменения степени открытия входного отверстия регулировочным винтом 7 изменяется скорость поступления воздуха из полости А в полость Б, т. е. время выдержки реле времени. Через определенное время после подачи напряжения на катушку диафрагма вместе со штоком опускается вниз на такую величину, что рычаг 9 нажимает на штифт микровыключателя 8, переключая его контакты. Когда напряжение с катушки снято, якорь под действием возвратной пружины занимает верхнее положение, отжимая шток и диафрагму в крайнее верхнее положение, при этом воздух из полости Б свободно выходит в полость А через клапан 16.
Электромагнитное реле времени типа РЭВ-800 (рис. 12.17), применяют для задержки отключения поездных контактов после сня-

Рис. 12.17. Реле времени РЭВ-800:
1,6 — шпильки; 2 — пластинки неподвижных контактов; 3, 21 — изоляционные колодки; 4, 20 — планки; 5 — возвратная пружина; 7 — угольник; 8 — демпфер; 9 — болт; 10 — алюминиевое основание; — катушка; 12 — сердечник; 13 — немагнитная прокладка; 14 — отжимная пружина; 15, 19 — гайки; 16 — якорь; 17 — скоба; 18 — пластина; 22 — узел подвижного контакта
тия возбуждения возбудителя и тягового генератора, для ступенчатого восстановления нагрузки тягового генератора после прекращения боксования, а также для обеспечения последовательного срабатывания реле переходов.
Выдержка времени обеспечивается за счет наведения ЭДС самоиндукции в алюминиевых демпфере и основании. Выключение катушки приводит к появлению вихревых потоков в них и задерживает спадание магнитного потока в магнитопроводе, что приводит к задержке отпадания якоря. Все узлы реле смонтированы на алюминиевом основании 10, имеющем два отверстия для крепления к корпусу аппаратной камеры. Неподвижная часть магнитопровода состоит из сердечника 72 и скобы 17. На сердечник надета катушка 11, на скобу — демпфер 8, выполненный в виде гильзы. К скобе прикреплены угольник 7 и пластина 18, образующие опору якоря 16, вокруг которой осуществляется его вращение. На якоре укреплена планка 20, несущая изоляционную пластмассовую колодку 21 с подвижными контактами 22. Пластинки неподвижных контактов 2 зафиксированы шпильками 1 на изоляционной пластмассовой колодке 3, которая укреплена на основании 10 планкой 4. Возврат якоря 16 в отключенное состояние осуществляется пружиной 5, опирающейся на угольник 7. Грубую регулировку выдержки времени производят изменением толщины немагнитной прокладки 13, а плавную — затяжкой отжимной пружиной 14 при помощи гайки 15. Контактный узел реле позволяет путем переборки деталей получить различные комбинации контактов.
Полупроводниковое реле времени типа ВЛ-31 (рис. 12.18), применяется для управления контактором маслопрокачивающего насоса.
Реле имеет один переключающий контакт без выдержки времени; один замыкающий и один размыкающий контакты с выдержкой времени. Конструкция реле обеспечивает визуальный отсчет выдержки времени без снятия оболочки. Выдержка времени отсчитывается с момента подачи напряжения питания.
При подаче напряжения на выводы 1 и 2 срабатывает реле Р1. Триггер Т устанавливается в положение, при котором реле Р2 обесточено. Конденсатор С заряжается через резистор Б., с этого момента начинается отсчет времени. Когда напряжение на конденсаторе достигает уровня опорного напряжения, снимаемого с делителя на резисторах Ш и К1, открывается диод Д, импульсы генератора ГИ проходят на вход триггера Т и устанавливают его в положение, при котором подается напряжение на реле Р2. Реле Р2 срабатывает и переключает выходные контакты. Выдержка времени заканчивается. При снятии напряжения питания реле возвращается в исходное состояние. Выдержка времени регулируется ступенчато путем изменения сопротивления резистора Л, который выполнен в виде набора резисторов.

Рис. 12.18. Полупроводниковое реле времени BJI-31:
PI, Р2 — реле; С, С1 — конденсаторы; Д, Д1, Д2 — диоды; ГИ — генератор импульсов; T — триггер; R, Rl, R2 — резисторы; 1— 12 — номера клемм на
панели прибора
Реле давления масла РДК-3 представлено на рис. 12.19. Оно служит для защиты дизеля от пониженного давления масла в системе смазки и охлаждения. Реле состоит из корпуса, в нижней части которого расположен сильфон 7. Шток 8 сильфона упирается в рычаг 1, один конец которого касается кнопки микропереключателя 6, а ко второму крепится пружина 2. Второй конец пружины закреплен на пробке 3, в которую ввернут регулировочный винт 4. При повышении давления масла выше установленного по шкале значения сильфон сжимается, шток давит на рычаг, который, преодолевая усилие пружины, поворачивается

Рис. 12.19. Кинематическая схема реле давления масла РДК-3:
/ — рычаг; 2 — пружина; 3, 5 — пробки; 4 — винт ходовой; 6 — микровыключатель; 7 — сильфон; 8 — шток; Р — давление масла

против часовой стрелки. Рычаг освобождает кнопку микровыключателя, контакты которого замкнутся. При понижении давления шток сильфона опустится вниз, рычаг под действием пружины повернется по часовой стрелке, нажмется кнопка микровыключателя, контакты которого разомкнутся. Реле настраивают путем изменения затяжки пружины вращением ходового винта, который после настройки стопорится пробкой 5.
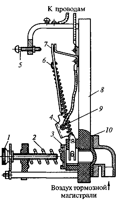
Реле давления воздуха АК-11Б (рис. 12.20) предназначено для автоматического управления пуском компрессора в зависимости от давления сжатого воздуха в главных резервуарах.
Под действием давления мембрана 10, изготовленная из листовой морозостойкой резины, прогибается и давит на шток 3, который, преодолевая усилие сжатой пружины 2, перемещает рычаг 4. Поворачиваясь вокруг оси, рычаг и пружина перебрасывают планку с подвижным контактом 7 от неподвижного контакта на винт-контакт 5, вследствие чего происходит размыкание контактов. При снижении давления воздуха в главных резервуарах усилием пружины шток возвращается в исходное положение, вновь замыкая контакты. Давление замыкания регулируется винтом 1, а давление размыкания — винтом 5.
Комбинированное температурное реле РКД2 (рис. 12.21) предназначено для защиты дизеля от превышения допустимой температуры в водяной и масляной системах охлаждения. Реле изготовлено на базе двух универсальных чувствительных элементов температуры, которые вмонтированы в корпус.
Термобаллон 12, сильфон 3 и капиллярная трубка 1 представляют собой герметически замкнутую термосистему, заполненную жидкостью с большим коэффициентом объемного расширения. При повышении температуры в системе охлаждения увеличивается давление в термосистеме и сильфон, растягиваясь и преодолевая сопротивление пружины 5, перемещает толкатель 4, который
Рис. 12.20. Реле давления воздуха АК-11Б:
/ — регулировочный винт; 2 — регулировочная пружина; 3 — шток; 4 — рычаг; 5 — винт-контакт; 6 — пружина; 7 — подвижный контакт; 8 — панель; 9 — ось рычага; 10 — мембрана
нажимает на кнопку микровыключателя 8, переключая его контакты. При снижении температуры в системе охлаждения сильфон под действием пружин сжимается, а толкатель отходит от кнопки микровыключателя, производя обратное переключение контактов.
Реле уровня воды ДРУ-1 (рис. 12.22) служит для контроля нижнего уровня воды в расширительном баке системы охлаждения дизеля.
Принцип работы реле основан на изменении положения поплавка 2 под воздействием выталкивающей силы воды в расширительном баке. При снижении уровня воды поплавок опускается, и рычаг 16 освобождает кнопку микровыключателя 11. Контакты микровыключателя переключаются и замыкают цепь сигнальной лампы, установленной на пульте управления машиниста. При повышении уровня воды поплавок поднимается, и рычаг нажимает на кнопку микровыключателя, контакты которого размыкаются и разрывают цепь сигнальной лампы. Уровень срабатывания реле регулируют болтом 13, ввернутым в рычаг поплавка. Для настройки необходимо опустить поплавок вниз так, чтобы рычаг уперся в верхний срез кронштейна 15,

Рис. 12.21. Температурное реле РКД2:
Г— капиллярная трубка; 2 — корпус реле; 3 — сильфон; 4 — толкатель; 5 — пружина; б — стопорный винт; 7 — штуцер; 8 — микровыключатель; 9, 10, 11 — выводы; 12 — термобаллон; 13 — накидная гайка
Рис. 12.22. Реле уровня воды ДРУ-1:
1 — ограждение; 2 — поплавок; 3 — сильфон; 4 — водяной бак; 5, 8 — фланцы; 6, 12 — крышки; 7 — кольцо пружинное; 9 — корпус; 10 — стопорный винт; И — микровыключатель; 13 — регулировочный болт; 14 — уплотнение; 15 — кронштейн; 16— рычаг

затем, вворачивая болт, добиться переключения контактов микропереключателя, после чего довернуть болт еще на треть оборота и в этом положении зафиксировать его контргайкой.
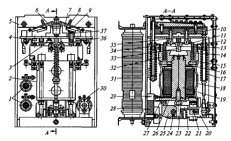
Вспомогательные генераторы, обеспечивающие заряд аккумуляторных батарей и питание всех электрических цепей тепловоза, кроме силовых, в процессе работы постоянно связаны с коленчатым валом дизеля; частота их вращения находится в переменном режиме. Для поддержания напряжения вспомогательных генераторов постоянным применяют регуляторы напряжения. Принцип их работы основан на изменении тока возбуждения генераторов. На рис. 12.23 представлен регулятор напряжения ТРН-1. Магнитная система регулятора состоит из сердечника 19, наконечника 16, корпуса 32, стальной плиты 26 и стакана 18.
Стакан имеет шесть круглых отверстий для охлаждения неподвижной катушки 27 и два прямоугольных — для доступа к наконечнику при настройке регулятора. Корпус, стакан и плита скреплены между собой шпильками 2. Сердечник притянут к плите болтом 23. Корпус через изоляционную втулку крепится к основанию 5. Дополнительно магнитная система крепится к основанию через изоляционную колодку 28 с помощью угольников 29, жестко связанных с плитой. Подвижная катушка наматывается на латунный каркас, который крепится к шайбе 11. Катушка состоит из двух обмоток — напряжения 14 и токовой 15. Подвижная катушка подвешивается на четырех плоских пружинах и может перемещаться в зазоре между наконечником и корпусом. На подвижной контактной колодке 10 установлена алюминиевая планка, к которой прикреплены контактные пластинки. Концы контактной колодки связаны со шпильками цилиндрических пружин 17, вторые концы пружин прикреплены винтами к корпусу. С обеих сторон от контактной колодки расположены изоляционные колодки 7, на которых размещены контакты 9, соприкасающиеся с пластинками контактной колодки. Контактное нажатие пальцев обеспечивается пружинами 8. Контактные пальцы соединены проводами с секциями регулирующих резисторов 31. Для предотвращения воздействия резких толчков и тряски на контактную систему подвижная система снабжена противовесом, состоящим из груза 25, рамки 20 и пружины 22. При перемещении подвижной системы рамка, связанная со шпилькой передней цилиндрической системы, поворачивается вокруг оси 21. Груз, связанный с подвижной системой через пружину, может поворачиваться вокруг оси 24. Кроме указанного регулятор имеет резисторы обратной связи 1, предназначенные для гашения механических колебаний подвижной системы в переходных режимах, регулировочный реостат 30 с ползуном и конденсаторы для улучшения дугогашения.
К недостаткам регуляторов типа ТРН-1 и других конструкций, основанных на изменении сопротивления в цепи обмотки воз-

Рис. 12.23. Регулятор напряжения ТРН-1:
1 — резисторы обратной связи; 2 — шпилька; 3 — регулировочный болт; 4 — перегородка; 5— основание; 6, 7, 28— изоляционные колодки; 8— пружина; 9 — контакты; 10 — подвижная колодка; 11 — шайба; 12 — кольцо; 13 — диск; 14 — обмотка напряжения; 75— токовая обмотка; 16 — наконечник; 77— цилиндрическая пружина; 18 — стакан; 19 — сердечник; 20 — рамка; 21, 24 — оси; 22 — пружина противовеса; 23 — болт; 25 — груз; 26 — плита; 27 — неподвижная катушка; 29 — угольник; 30 — реостат «Корректировка напряжения»; 31 — резистор СР; 32 — корпус; 33 — упор; 34 — скоба; 35 — бонка; 36, 37 — винты
буждения, относится наличие вибрирующих контактов и подвижных частей, в результате чего эти регуляторы требуют постоянного ухода и частых ремонтов в эксплуатации. Регуляторы, выполненные на базе полупроводниковых приборов, лишены этих недостатков.
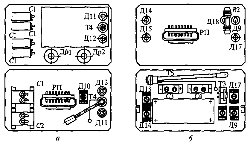
На тепловозах 2ТЭ10Л, 2ТЭ10В, 2ТЭ10М, ТЭМ2 устанавливается бесконтактный регулятор напряжения БРН-ЗВ. Он служит для поддержания напряжения вспомогательного генератора постоянным. Регулятор имеет блочную конструкцию, состоящую из основания, левой и правой панелей. Закрыт регулятор металлическим кожухом, имеющим вентиляционные отверстия. На левой панели (рис. 12.24, а) смонтированы силовые элементы: тиристор Т4; конденсаторы СІ, С2; диоды Д10, ДІЇ, Д12; дроссели Др1, Др2. На правой панели (рис. 12.24, б) смонтированы элементы измерительного органа (на печатной плате); транзистор ТЗ; стабилитрон Т5; резистор Л2; конденсаторы СЗ, С4; диоды Д9, Д14, Д15, Д17, Д18.
На основании смонтированы резисторы Я6, Ю; переходные разъемы, с помощью которых левая и правая панели соединяют-

Рис. 12.24. Панели регулятора напряжения БРН-ЗВ:
а — левая; б — правая; С1—С4 — конденсаторы; Д9— Д12, Д14, Д15, Д17, Д18 — диоды; Л2 — резистор; Др1, Др2 — дроссели; ТЗ — транзистор; Т4 — тиристор;
Т5 — стабилитрон
ся с остальными элементами регулятора и между собой, а также с разъемом, которым регулятор соединяется с электрической цепью тепловоза. По функциональному назначению в регуляторе условно можно выделить:
• измерительный орган, предназначенный для определения отклонения напряжения вспомогательного генератора выше установленного значения, собранный по мостовой схеме, в которой стабилизированное напряжение на стабилитроне сравнивается с напряжением между зажимом и движком потенциометра, меняющимся с изменением напряжения вспомогательного генератора;
• регулирующий орган, предназначенный для регулирования длительности протекания тока в обмотке возбуждения вспомогательного генератора в зависимости от величины напряжения; представляющий собой мультивибратор, собранный на двух тиристорах.
На тепловозах 2ТЭ116 устанавливается тиристорный регулятор напряжения РНТ-6. Он предназначен для поддержания в заданных пределах напряжения стартер-генератора, работающего в генераторном режиме, при изменении в широких пределах его частоты вращения и нагрузки. По функциональному назначению регулятор РНТ-6, как и регулятор напряжения БРН-ЗВ, делится на регулирующий и измерительный органы. В измерительном органе происходит сравнение регулируемого напряжения с эталонным. Регулирующий орган преобразует поступающий с измерительного органа сигнал в серию импульсов, коэффициент заполнения которых пропорционален значению этого сигнала.
Таблица 12.4

Продолжение табл. 12.4

Продолжение табл. 12.4

Окончание табл. 12.4

Наиболее характерные неисправности аппаратов управления, контроля и защиты, а также способы определения и устранения повреждений приведены в табл. 12.4.










