9.1. Масляная система и ее оборудование
Масло дизеля предназначено:
• для уменьшения сопротивления от трения рабочих поверхностей;
• смывания с деталей продуктов износа и нагара;
• охлаждения деталей или части их, подверженных температурным нагрузкам.
Масляная система и ее оборудование должны:
• подавать масло в достаточном количестве к трущимся частям дизеля;
• поддерживать определенный температурный режим масла;
• обеспечивать необходимую чистоту масла.
Соблюдение перечисленных требований и к маслу, и к системе повышают экономичность и надежность дизеля. Масляная система тепловозов подразделяется на внутреннюю и внешнюю.
Внутренняя масляная система (рис. 9.1) сконструирована с целью подведения масла в достаточном количестве ко всем трущимся и тегоюнапряженным деталям дизеля.
Внешняя масляная система (рис. 9.2) включает в себя масляные насосы, охлаждающие устройства, фильтры и соединяющие их трубопроводы. Перед пуском дизеля, для того чтобы заполнить его систему маслом и подвести смазку ко всем трущимся частям до начала работы, включают маслопрокачивающий агрегат, состо-
Рис. 9.1. Внутренняя система смазки и масляного охлаждения поршня дизеля:
1 — подвеска коренного подшипника; 2 — коленчатый вал; 3 — трубка для перетока масла от коренного подшипника к шатунному; 4— подвод масла из коллектора к коренному подшипнику; 5 — шатунный подшипник; 6— шатун; 7— поршень; 8 — поршневой палец



Рис. 9.2. Принципиальные схемы внешних масляных систем тепловозных дизелей:
а — с одним насосом; б, в — с двумя насосами; 1 — фильтр тонкой очистки масла; 2 — дизель; 3 — фильтр грубой очистки масла; 4 — масляный насос; 5 — охлаждающие устройства — радиатор или теплообменник
ящий из насоса и электродвигателя (рис. 9.3). При прокачке масло из масляной ванны дизеля насосом подается в фильтр грубой очистки и далее в дизель по основному контуру циркуляции.
Все масляные насосы на тепловозах шестеренного типа. Конструкция главного масляного насоса представлена на рис. 9.4. Рабочими элементами масляных насосов являются косозубые шестерни, выполненные как единое целое с валами. В косозубом зацеплении рабочих шестерен насоса появляются осевые силы. Разгрузочное устройство компенсирует эти силы. Давление масла в нагнетательной полости ограничивается предохранительным клапаном насоса, который регулируется на давление 0,55 МПа.
Характерными неисправностями масляных насосов являются: уменьшение подачи; падение давления в нагнетательной полости; трещины и износ корпусов, подшипниковых планок, крышек, втулок; разрушение подшипников. Падение давления и подачи насоса является следствием увеличенного бокового зазора между зубьями шестерен и торцевого зазора между шестернями и корпусными деталями.
При проведении ТО-3, ТР-1 и ТР-2 прослушивают насосы при работающем дизеле, (посторонний шум свидетельствует о ненормальной работе); осматривают доступные части насосов и их привод; убеждаются в надежности крепления частей насоса и деталей привода. Убеждаются в отсутствии утечек масла у маслопрокачи-

Рис. 9.3. Насос маслопрокачивающий:
1 — электродвигатель; 2 — кольцо; 3, 5 — полумуфты; 4 — муфта; 6 — обойма; 7 — сальник; 8 — втулка; 9 — ведущее зубчатое колесо; 10 — заглушка; 11 — крышка; 12 — ведомое зубчатое колесо; 13 — корпус; 14 — штуцер; 15 — плита;
16 — прокладка
вающего насоса, надежности крепления и исправности соединительной муфты. В случае снятия насоса для проверки на стенде и установки его на место, проверяют соосность валов насоса и электродвигателя.
При проведении ТР-3 и всех видов КР масляные насосы снимают, разбирают, ремонтируют и испытывают на стендах на производительность и давление в нагнетательной полости при различной частоте вращения.
Масляные фильтры подразделяются на фильтры грубой и тонкой очистки. Для грубой очистки масла в настоящее время применяют сетчатые дисковые фильтры вместо пластинчато-щелевых (рис. 9.5). Секция фильтра состоит из набора двусторонних сетчатых дисковых элементов, установленных на центральной трубе. Масло, проходя через элементы снаружи (через ячейки 0,14 мм), очищается, поступает в центральную трубу и далее по назначению.
Сетчатые дисковые фильтры обладают большой поверхностью на единицу объема и поэтому имеют меньшие размеры по сравнению с пластинчато-щелевыми. Однако их трудно очистить от загрязнений без разборки фильтра.
Фильтр тонкой очистки с бумажными элементами (рис. 9.6) представляет собой сварной цилиндрический корпус с двойным дном. Сквозь перегородку проходят семь пустотелых стержней. На каждый стержень установлено по четыре фильтрующих элемента.

Рис. 9.4. Главный масляный насос:
/ — пружины предохранительного клапана; 2 — корпус предохранительного клапана; 3 — поршень; 4 — ведущая шестерня; 5, 6 — планки; 7 — поршень разгрузочного устройства; 8 — крышка; 9 — роликовые подшипники; 10, 12 — косозубые шестерни; 11 — литой чугунный корпус; Н — нагнетательная полость (сообщается с полостью М); П — полость для отвода масла на слив
Элемент состоит из картонной ленты с отверстиями, свернутой спирально и обтянутой с обеих сторон согнутыми вдвое двумя полосами фильтровальной бумаги. Весь элемент для жесткости охвачен картонной полоской.
Масло через входной патрубок поступает в корпус фильтра, где просачивается через бумажные поверхности элементов. Загрязне-

Рис. 9.5. Фильтр грубой очистки масла:
I — клапан; 2 — патрубок; 3 — фильтрующий элемент; 4 — труба; 5 — корпус; 6,
II — болты; 7 — крышка; 8— пружина; Р— клапан; 10— опора; а — отверстие;
б — полость
ния крупнее 3,0 мкм задерживаются. Очищенное масло поступает в нижнюю полость фильтра.
Для предупреждения чрезмерного перепада давлений между полостями неочищенного и очищенного масла, что может разрушить бумажные элементы, установлен перепускной клапан, отрегулированный на давление 0,25 МПа. Бумажные элементы не подлежат очистке и после загрязнения (пробег 50 тыс. км) на ТР-1 заменяются на новые.
Рис. 9.6. Бумажный фильтр тонкой очистки масла:
1 — входной патрубок; 2 — картонная полоска; 3 — фильтровальная бумага; 4 — пустотелые стержни; 5 — перепускной клапан; 6 — картонная лента с отверстиями; 7 — сварной цилиндрический корпус; 8 — фильтрующий элемент; 9 —
перегородка
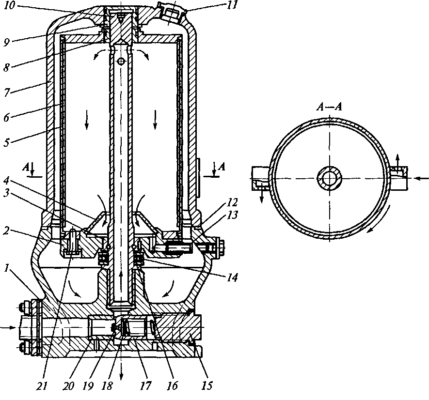
Центробежный очиститель масла (рис. 9.7) представляет собой центрифугу, в которой масло проходит через вращающийся с большой частотой (более 6000 об/мин) ротор. Взвешенные в масле частицы под действием центробежных сил выделяются в виде плотного слоя на внутренней поверхности ротора. Очищенное масло сливается в поддон дизеля. Ротор вращается вокруг центрального стержня за счет реактивного момента, создаваемого истечением масла из сопел.
Уход за центробежным очистителем масла в эксплуатации, при проведении ТО-3 и текущем ремонте заключается в удалении от-


Рис. 9.7. Центробежный очиститель масла:
/ — кронштейн; 2 — крышка; 3, 8, 9, 20 — втулки; 4 — отбойник; 5 — корпус; 6— прокладка; 7— колпак; 10— ось; 11 — пробка; 12, 16 — кольца; 13 — сопло; 14— шарикоподшипник; 15— штуцер; 17— клапан; 18— пружина; 19— шайба;
21 — болт
ложений из внутренней полости корпуса ротора. После очистки и промывки деталей ротор собирают согласно нанесенным цифровым меткам. При несоблюдении этого условия нарушается балансировка ротора, что может привести к разрушению центрифуги. После сборки через отверстие в колпаке проверяют легкость вращения ротора на оси. Вращение должно быть без заклинивания. Затем отверстие закрывают пробкой.
Давление в системе смазки можно контролировать по манометру на пульте управления. Кроме того, в системе устанавливаются реле, контролирующие давление масла и при снижении его ниже определенного уровня. Реле прекращают процесс пуска дизеля, снимают нагрузку или останавливают дизель. Причины падения давления могут быть разными: разжижение масла топливом или вследствие высокой температуры; утечки по зазорам в
подшипниках и неплотным соединениям; повышенная загрязненность фильтров; низкая подача масляных насосов и т. п. При низких давлениях в масляной системе на ТО и ТР необходимо выяснить причины и устранить их.










