8.4. Объединенный регулятор частоты вращения и мощности
Всережимный, изодромный объединенный регулятор центробежного типа с гидравлическим усилителем (серводвигателем), с собственной масляной системой, с электрогидравлической сис-I емой управления частотой вращения, с устройством для автомагического регулирования мощности дизель-генератора и со стоп-устройством по импульсу от системы защиты дизеля устанавливается на дизелях 10Д100, 14Д40, 11Д45, 5Д49 и др.
Этот регулятор (рис. 8.12) состоит из измерителя частоты вращения; серводвигателя — усилителя сигнала частоты вращения коленчатого вала, обратной связи регулятора частоты вращения;

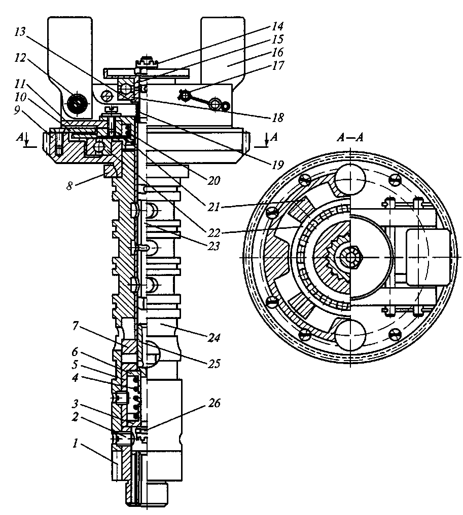
Рис. 8.12. Схема объединенного регулятора дизеля 5Д49:
1 — ванна для масла регулятора; 2 — рычажная передача; 3 — вал; 4 — серводвигатель индуктивного датчика; 5 — индуктивный датчик (ИД); 6 — тяга; 7 — золотник серводвигателя ИД; 8 — регулировочный винт траверсы; 9 — регулировочный винт остановки дизеля; 10 — поршень серводвигателя всережимной пружины; 11 — плунжер; 12 — золотник серводвигателя; 13 — грузы измерителя частоты вращения; 14 — поршни аккумуляторов; 15 — масляный насос регулятора; 16 — букса; 17 — золотник управления частотой вращения; 18 — сектор согласования поршней; 19 — втулка подвижная; 20 — всережимная пружина; MPI — МР6 — электромагнитные датчики
серводвигателя нагрузки, обратной связи регулятора нагрузки и индуктивного датчика.
Измеритель частоты вращения использует центробежную силу инерции груза, вращающегося вокруг оси, поэтому его называют центробежным. Центробежный измеритель частоты вращения вместе с золотниковой частью вращается в центральном отверстии корпуса регулятора. Золотниковая часть (рис. 8.13) представляет собой буксу с размещенным внутри золотником. В нижнюю часть буксы запрессована золотниковая втулка, которая внутренними шлицами соединяется с приводным валом регулятора. На наружные шлицы втулки насажена ведущая шестерня масляного насоса.

Рис. 8.13. Золотниковая часть регулятора:
1, 9 — зубчатые колеса; 2 — винт; 3, 15 — тарелки; 4, 19 — пружины; 5 — втулка; 6 — прокладка; 7 — золотник; 8 — кольцо; 10, 13 — фланцы; 11 — траверса; 12, 18, 22 — шарикоподшипники; 14, 26 — гайки; 16 — грузы; 17 — валик; 20 — муфта; 21 — кулачковая шайба; 23 — плунжер; 24 — букса; 25 — хвостовик
На верхнюю часть буксы напрессована шестерня, на которой закреплены два груза, которые выполнены в виде угловых рычагов, качающихся на игольчатых подшипниках своих осей. Концы рычагов через тарелки и шариковый подшипник упираются в пружину измерителя. Верхний конец пружины упирается в поршень серводвигателя управления, а верхняя часть золотника головкой соединяется с опорной тарелкой пружины.
Серводвигатель управления принимает сигнал настройки, подаваемый машинистом, и осуществляет затяжку пружины. Число
возможных настроек (затяжек) пружины равно числу позиций контроллера, поэтому пружину называют всережимной.
Затяжку пружины усиливают при необходимости увеличения частоты вращения вала дизеля. При заданной настройке и установившейся частоте вращения центробежные силы грузов уравновешиваются усилием затяжки всережимной пружины. При изменении настройки (затяжки) пружины равновесие грузов нарушается, и они начинают сходиться при усилении или расходиться при ослаблении, заставляя перемещаться золотник вниз или вверх, В результате этого золотник подает сигнал регулирования, и поршень серводвигателя занимает новое положение. Шток поршня серводвигателя одним концом соединен системой тяг и рычагов с рейками топливных насосов, другим — через коромысло и рычаг связан с поршнем серводвигателя управления. Движение поршня вверх под действием давления масла, поступающего через золотник из аккумуляторов, увеличивает подачу топлива и наоборот. Изменение подачи топлива осуществляется перемещением реек топливных насосов, которые связаны рычагами со штоком сервомотора.
Изодромная обратная связь ограничивает движение поршня серводвигателя, обеспечивая плавное изменение процесса регулирования. Процесс регулирования изменившегося режима работы дизеля завершается тогда, когда серводвигатель установит режим топливных насосов на подачу, соответствующую новому режиму. Регулятор мощности (нагрузки) дизеля состоит из золотникового устройства (измерительный орган), обратной связи и серводвигателя с индуктивным датчиком. Золотниковое устройство управляет подачей масла в серводвигатель, изменяя индуктивность в системе регулирования возбуждения тягового генератора. При уменьшении нагрузки на дизель, например при отключении компрессора, регулятор снижает подачу топлива и одновременно изменяет индуктивность на увеличение возбуждения тягового генератора. Вследствие увеличения нагрузки на дизель генератором, регулятор увеличивает подачу топлива до первоначального уровня.
Электрогидравлическое управление частотой вращения осуществляется контроллером машиниста, обеспечивая в определенной последовательности питание электромагнитов MPI, МР2, МРЗ, и МР4. Электромагниты перемещают золотник, который обеспечивает, с помощью подачи масла, соответствующее перемещение поршня серводвигателя, чем и достигается изменение; порций топлива в цилиндры дизеля, а следовательно, и частоты вращения коленчатого вала.
Механизм вывода индуктивного датчика в положение минимального возбуждения состоит из электромагнита МР5 и золотника. В случае затяжного боксования тепловоза на магнит МР5 поступает электропитание, и он перемещает золотник вниз. Верхний рабочий поясок золотника перекрывает подачу масла из ак-
кумулятора и соединяет полость над поршнем серводвигателя с ванной регулятора. Масло из верхней полости серводвигателя сливается, и поршень вдвигает сердечник в катушку. дизель разгружается, и тепловоз прекращает боксование.
Стоп-устройство дизеля (МР6, блокировочный магнит) предназначено для автоматической и дистанционной остановки дизеля. При отсутствии питания оно открывает канал для слива масла в ванну из-под поршня серводвигателя. При этом рейки топливных насосов выключают подачу топлива, и дизель останавливается.
Регуляторы относят к устройствам, для которых требуется особо тщательное изготовление, сборка деталей, тонкая регулировка при настройке и особое внимание при обкатке и испытаниях. В процессе эксплуатации и ТО-2 необходимо следить за уровнем масла в регуляторе. При необходимости его добавляют до уровня, установленного меткой маслоуказателя.
При проведении ТО-3 производится смена масла сразу же после остановки дизеля на каждом пятом ТО-3, т.е. через 50 ООО км пробега тепловоза. Проверяется состояние тяг от регулятора до реек топливных насосов высокого давления.
При проведении ТР-1 кроме работ, выполняемых при ТО-3, дополнительно проверяется работа рычажного механизма предельного выключателя и проверяется частота вращения коленчатого вала дизеля по позиции контроллера. При отклонениях частоты вращения свыше допустимых производится регулировка.
При проведении ТР-2 выполняются работы, предусмотренные при ТР-1 и дополнительно снимается и разбирается серводвигатель регулятора. Производится замена резиновых угшотнительнъгх колец.
При проведении ТР-3 регулятор снимают с дизеля, разбирают, осматривают состояние деталей и при необходимости ремонтируют.
При капитальных ремонтах регулятор подвергается восстановительному ремонту в полном объеме.
Контрольные вопросы
.1. Какие типы топливных систем применяются на дизельных локомотивах?
2. Какие способы очистки топлива применяются в топливной системе?
3. Чем регулируется давление впрыска топлива в цилиндр дизеля?
4. Как регулируется порция топлива, подаваемого в цилиндр?
5. Какие типы регуляторов применяются на тепловозных дизелях?
6. На чем основан принцип работы регулятора частоты вращения?
Глава 9
УСТРОЙСТВО И РЕМОНТ ВСПОМОГАТЕЛЬНЫХ АГРЕГАТОВ дизеля










