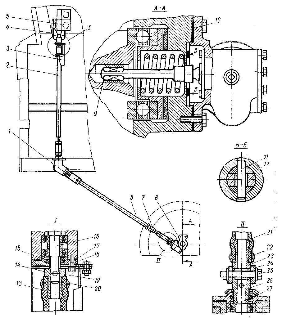
VI.8. Привод скоростемера
Привод скоростемера (рис. 98) предназначен для передачи вращательного движения от оси колесной пары к скоростемеру, находящемуся в кабине машиниста на опоре кронштейна 4. Червячный редуктор 8 привода устанавливают на правой по ходу движения тепловоза буксовой крышке первой колесной пары и соединяют с осью стальным валиком 9. Хвостовик валика квадратного сечения вставляют по ходовой посадке во втулку, запрессованную в центровое отверстие оси; другой конец валика соединяют с червяком редуктора и фиксируют кольцом 12 и штифтом 11.
Вращательное движение от червячного редуктора передается через телескопический вал 6 промежуточному редуктору 1, а от него скоростемеру 5 через телескопический вал 2 и валик 16 кронштейна 4 скоростемера. Валик 16 вращается в двух радиальных шариковых подшипниках. Для предотвращения вытекания смазки из подшипниковой камеры в верхней и нижней частях валика установлены уплотнительные войлочные кольца 75. Сверху в подшипниковой камере просверлено заправочное отверстие, через которое подается смазка ЖРО для смазывания подшипников. Верхний конец валика опоры кронштейна скоростемера является посадочным местом приводного вала скоростемера. На нижний конец валика 76 насажен и закреплен штифтом 79 наконечник 14, соединенный с наконечником телескопического вала 2 резиновым рукавом 13.
Телескопический вал 6 состоит из внутренней и наружной труб. Во внутреннюю трубу вставлены и прихвачены электрозаклепками наконечник и две втулки,, служащие направляющими для квадратного конца валика наружной трубы. В наконечнике наружной трубы устанавливают уплотнительное кольцо, скользящее по наружной поверхности внутренней трубы во время движения тепловоза. Поверхности скольжения этого телескопического соединения предохраняет от пыли и влаги резиновый чехол 7. К наружной трубе ддя смазывания соединения приварена бонка с резьбовым отверстием, закрываемым пробкой. Максимальное, осевое перемещение половин вала телескопического соединения, возникающее при движении тепловоза с наибольшими вертикальными колебаниями в кривой радиусом 125 м, когда происходит наибольший разворот тележек относительно кузова, составляет ±100 мм от номинального положения.
Рис. 98. Привод скоростемера: / — промежуточный редуктор; 2. 6 — телескопические валы; 3 — ограждение; 4 — кронштейн скоростемера; 5 — скоростемер; 7 — чехол; * — червячный редуктор; 9, 16, 27 — валики; 10, 17 — прокладки; //, 19 — штифты; 12, 24 — кольца; 13, 21 — рукава; 14, 23 — наконечники; 15 — уплотнителыюе кольцо; 18 — крышка опоры кронштейна скоростемера; 20, 22 — хомуты; 25 — болт; 26 — втулка
Телескопический вал 2 по своей конструкции аналогичен телескопическому валу 6.
Червячный редуктор (рис. 99) с передаточным числом 10,5 крепится к крышке буксы тремя болтами. В корпусе 13 редуктора имеется червяк 22, вращающийся в двух шариковых подшипниках 23. Расточки в корпусе под подшипники червяка закрываются крышками 20 и 75. В крышке 75 выходного вала установлено уп-лотнительное кольцо 16, которое должно плотно прилегать к валу червяка по всей окружности. Вал 8 червячного колеса устанавливают в корпусе в двух шариковых подшипниках одной размерности с подшипниками вала червяка. Червячное колесо 10 насажено на вал 8 со шпонкой 9. На выходной конец вала червячного колеса насажен наконечник 7, который крепится на валу штифтом 2. После постановки штифта кромки отверстия раскернивают с обеих сторон. Прокладками 27, 77 и 5, размещаемыми под подшипниковыми крышками, обеспечивают осевой люфт червячного вала в пределах 0,05—0,15 мм и осевой люфт верхнего подшипника на валу червячного колеса не более 0,1 мм. Положение червячного колеса относительно оси червяка регулируют постановкой прокладок 6 между подшипниковым гнездом 7 и фланцем корпуса. Боковой зазор зубчатого зацепления находится в пределах 0,15—0,48 мм.
Полость корпуса редуктора и шариковые подшипники заполняют смазкой ЖРО. Добавляют смазку через отверстия, закрываемые пробками 77 и 14. Для периодического осмотра червячного колеса на корпусе предусмотрен лючок, закрытый крышкой 19.
Промежуточный редуктор (рис. 100) с передаточным числом 1 передает вращение от телескопического вала червячного редуктора к телескопическому валу скоростемера через пару конических прямозубых валов-шестерен 5 с межосевым углом 135°, модулем 5 мм по наибольшему диаметру и числом зубьев 17. Конические шестерни выполняют неразъемными совместно с валами и устанавливают в подшипниковые гнезда 8. Каждая зубчатая вал-шестерня вращается в двух шариковых подшипниках 10, установленных на валу по напряженной посадке. Между подшипниками имеется дистанционная втулка 13. Втулка 6, насаженная на вал с натягом 0,01—0,032 мм до упора во внутреннее кольцо наружного подшипника, препятствует осевому перемещению подшипников. Подшипниковые стаканы закрываются крышками 1 и 7. В крышках находятся уплотни-тельные кольца 2, пропитанные осевым маслом. В верхней крышке предусмотрена кольцевая канавка, в которую заходит отогнутый край защитной шайбы, предохраняющей уплотни-тельное кольцо от засорения.
Наконечники 3 насаживают на хвостовики валов-шестерен в горячем состоянии: верхний — до упора в защитную шайбу, нижний — до упора во втулку 6. Дополнительно наконечники крепятся на валах штифтами 4 Отверстия под штифты сверлят и обрабатывают разверткой после насадки наконечников. После постановки штифта кромки отверстий раскернивают с обеих сторон в двух местах.
Положение подшипников в осевом направлении регулируют установкой прокладок 75 между фланцами стаканов и крышек; при этом должен быть обеспечен зазор не более 0,038 мм между упором крышки и торцом наружной обоймы наружного подшипника. Регулировка зубчатого зацепления производится установкой прокладок 14 под фланцы подшипниковых стаканов. С этой целью на фланцах подшипниковых стаканов предусмотрены по два резьбовых отверстия Мб для удобства извлечения стаканов в сборе с зубчатыми колесами из корпуса редуктора.
Для осмотра зубчатых колес в корпусе имеется люк, закрываемый крышкой 77, которая крепится тремя болтами. Два резьбовых отверстия в корпусе, закрываемые пробками, служат для добавления смазки в подшипниковые узлы при плановых видах ремонта. Полости редуктора заполняют смазкой ЖРО в количестве 0,25 кг.
Рис. 100. Промежуточный редуктор: 1, 7, И — крышки; 2 — уплотнительное кольцо; 3 — наконечник; 4 — штифт; 5 — вал-шестерня; 6, 13 — втулки; 8 — гнездо подшипника; 9 — корпус редуктора; 10 — подшипник; 12, 14, 15 — прокладки










