VI.7. Рычажная передача тормоза тележки
Тормозная рычажная передача служит для передачи усилий о* поршней тормозных цилиндров на колеса локомотива и равномерного распределения этих усилий между тормозными колодками. Тележки тепловоза оборудованы пневматическим, индивидуальным для каждого колеса колодочным тормозом с двусторонним нажатием чугунных гребневых тормозных колодок на колеса. На каждое колесо приходится свой тормозной цилиндр № 553 диаметром 8", действующий через рычажную передачу с общим передаточным • числом 7,8.
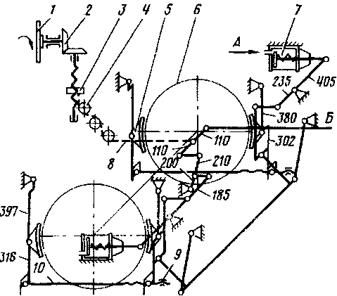
Схема рычажной передачи тормоза для колесной пары (в данном случае второй) показана на рис. 95; остальные колесные пары имеют аналогичную передачу. При подаче воздуха в тормозной цилиндр 7 шток его выдвигается и тормозные колодки 5 посредством рычажной передачи прижимаются к колесу 6. Все тормозные цилиндры работают синхронно. Две колесные пары (вторая и третья) только передней тележки могут быть заторможены ручным тормозом. Он приводится в действие вращением штурвала 1, установленного на левой стороне задней стенки- кабины машиниста. Вращение по часовой стрелке приводит к затормаживанию. Тормозное усилие на колодки при ручном тормозе передается через зубчатую пару 2 и винтовую передачу 3, соединенную цепью 8, проходящей через направляющие ролики 4 с рычажной передачей второй и третьей колесных пар передней тележки. Основные параметры передачи ручного тормоза определяются из условия удержания тепловоза на уклоне 30 °/00 усилием на маховике 300—350 Н (30—35 кгс).
Порядок и направление перемещения рычагов очевидны из схемы (цифры означают длину рычагов) и рассматриваться не будут.
Рис. 95. Схема рычажной передачи тормоза:
/ — штурвал ручного тормоза; 2 — коническая зубчатая пара; 3 — винтовая передача; 4 — направляющий ролик; 5 — тормозная колодка; 6 — колесо; 7 — тормозной цилиндр; 8 — цепь; 9 — регулятор выхода штока тормозного цилиндра; 10 ■— продольная регулируемая тяга; А — подвод воздуха; Б — тяга к третьей оси
По мере износа тормозных колодок необходимо регулировать выход штоков тормозных цилиндров, который должен быть в пределах 55—120 мм. Для уменьшения выхода штока следует укоротить продольную тормозную тягу 10 регулятором 9. Для этого в регуляторе (рис. 96) отводят скобу 8 и навинчивают на тягу 2 защитную трубу 1 и гайку 5 (вначале трубу, а потом гайку), устанавливая требуемый выход штока. При выходе штока 55 мм зазор между бандажом колеса и тормозной колодкой при полностью отпущенном тормозе должен быть 7 мм. После регулировки гайку 5 поворачивают так, чтобы две ее противоположные грани могли быть охвачены скобой 8. Пружина 6 должна удерживать скобу в положении контровки гайки 5.
Подвески тормозных колодок (рис. 97) левого и правого колес с одной и той же стороны каждой колесной пары соединены между собой поперечными соединительными балками — триангелями — для Придания рычажной передаче тормоза необходимой поперечной жесткости, предотвращающей сползание колодок с бандажа, и обеспечения синхронной работы тормозов.
Характеристика тормоза тележки
- Число тормозных цилиндров на тележку, шт.............................. 6
- Усилие, кН (тс), развиваемое штоком тормозного цилиндра при давлении воздуха 373 кПа (3,8 кгс/см2) ......................................... 9,96 (0,996)
- К. п. д. рычажной передачи ........................................................ 0.9
- Расчетное нажатие колодок на ось, кН (тс) ................................ 126,224 (12,62)
- Расчетный тормозной коэффициент ............................................ 0,56
- Установочный выход штока тормозного цилиндра, мм, при зазоре между колодкой и бандажом 7 мм ................. 55
- Наибольший эксплуатационный выход штока тормозного цилиндра, мм ......................................... 120
- Передаточное число привода ручного тормоза при к. п. д., равном 0,2003 .................................. 257
- Передаточное число рычажной передачи при действии ручным тормозом на одну колодку ..................................... 4,14
- Суммарное нажатие при действии ручным тормозом на два тормозных колеса тепловоза, кН <тс) ...................... 194 (19,4)
- Тормозной коэффициент при действии ручным тормозом ........... 0,144
- Расчетный тормозной путь при действии автоматического тормоза, м ................................... 785
Рис. 96. Регулятор выхода штока тормозного цилиндра: ; — защитная труба; 2 — тяга; 3 — втулка; 4 — палец; 5 — гайка; 6 — пружина; 7 — рычаг,8 — скоба; 9 — шплинт
Рис. 97. Подвеска тормозной колодки: / — рычаг; 2 — подвеска; 3 — кронштейн; 4 — башмак; 5 — колодка; 6 — чека; 7 — болт; 8 — пружина; 0 — гайка
Обеспечение наибольшее тормозной эффективности при эксплуатации подвижного состава — важнейшая задача безаварийного движения на транспорте. Для выполнения этих условий тормозная сила колесных пар не должна превышать максимально возможную силу сцепления колес с рельсами.
С целью повышения эффективности, надежности и долговечности тормозной системы тепловоз дополнительно оборудован электродинамическим тормозом (ЭДТ), при действии которого тяговые электродвигатели переводятся в генераторный режим. Возникающий при этом момент сопротивления приводит к появлению тормозной силы в точках контакта колес тепловоза с рельсами. ЭДТ пользуются при высокой скорости движения, постепенно снижая ее до 40 км/ч. Дальнейшее уменьшение скорости вплоть до полной остановки обеспечивается пневматическим тормозом. Такая комбинированная тормозная система способствует снижению износа тормозных колодок и бандажей колесных пар.










