35.10. Экипажная часть
При осмотре крепления рукавов подвода воздуха к тяговым электродвигателям, чехлов опорно-возвращающего устройства, поводков, крышек и осевых упоров букс, крышек и тяг гасителей колебаний, кожухов зубчатой передачи, моторно-осевых подшипников, польсте-ров на всех видах технического обслуживания проверьте наличие на месте болтов, гаек, шайб и шплинтов. Проверьте надежность крепления болтов, гаек обстукиванием легкими ударами молотка. Ослабшие соединения подтяните и застопорите. Проверяя состояние подвесок тяговых электродвигателей, пружин рессорного подвешивания, убедитесь в отсутствии изломов витков пружин, трещин в витках, в накладках обойм. При"обнаружении изломов, трещин детали замените.
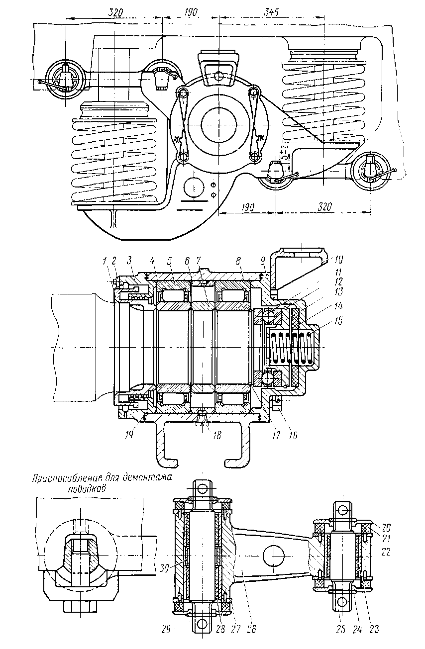
Для осмотра фрикционного гасителя колебаний снимите кожух 3 (рис. 172), измерьте толщину накладок 8, диаметр цилиндрической поверхности поршня 4. При разборке снимите с гасителя крышку 5, поршень с тягой 12, вкладыши 6 и 21. Измерьте толщину накладок 8, зазор между тягой 12 и обоймой 9, высоту сухаря 10, высоту пружин 7, наружный диаметр поршня 4, ширину шпоночного паза вкладыша 21. Осмотрите наружную цилиндрическую поверхность поршня, при наличии местных выработок прошлифуйте. Осмотрите шаровую поверхность сухарей и обойм, в случае обнаружения задиров и местных выработок зачистите. Детали, имеющие браковочные размеры, трещины и изломы, замените.
Рис. 172 Рессорное подвешивание:
1 — фрикционный гаситель колебаний; 2 — пружинный комплект, 3 — кожух, 4 — поршень, 5— крышка, в, 21 — вкладыши, 7 — пружина, 8 — накладка, 9 — обойма, 10 ■— сучарь, //, 15 — прокладки, 12 — тяга, 13 — шайба; 14 — гайка, 16 — опора пружины верхняя, 17 — пружина ірочіїяя. 18 — пружина наружная; 19 — пружина внутренняя, 20 — опора пружины нижняя
При осмотре песочной системы проверьте состояние и крепление песочных труб, отрегулируйте установку их или насадок шланга так, чтобы они отстояли от головки рельса на 50 — 65 см и не касались бандажей и тормозной передачи. Проверьте подачу песка под колеса. При необходимости прочистите форсунки песочниц и отрегулируйте подачу песка. Регулируйте подачу песка унифицированных форсунок ОНЗ-64 в пределах 700 -± 200 г/мин под каждую колесную пару. Регулировку произведите специальным болтом, для уменьшения подачи песка болт необходимо ввертывать, для увеличения — вывертывать.
Проверьте состояние тормозных колодок, рычажной и воздушной систем тормоза, руководствуясь требованиями действующей Инструкции по ремонту и испытанию тормозного оборудования локомотивов и моторвагонных поездов. Осмотрите тормозные колодки и при необходимости замените. Для замены колодок: разберите тягу, отодвиньте колодки с башмаками в стороны от колеса и удалите болты, удерживающие чеки колодок; извлеките чеки колодок, захватив головку каждой чеки ломиком или специальной вилкой, одновременно ударяя ручным молотком по ее нижнему концу; выньте тормозные колодки, поставьте новые, соберите тягу и отрегулируйте выход штоков тормозных цилиндров.
При осмотре тяговой передачи убедитесь в отсутствии трещин, предельного износа зубьев. При необходимости измерьте износ. Снятые нижние части кожухов зубчатых передач очистите, осмотрите и в случае обнаружения трещин, а также при неисправности уплотнений кожуха отремонтируйте.
При промежуточной ревизии букс: осмотрите буксы и крышки с наружной стороны для выявления трещин; проверьте состояние уплотнений букс (нет ли утечки смазки из корпуса буксы со стороны лабиринта и передней крышки); снимите осевые упоры и осмотрите буксу внутри в соответствии с требованиями Инструкции по содержанию и ремонту роликовых подшипников локомотивов и моторвагонно-го подвижного состава, ЦТ/2361, 1965 г.
Проверьте состояние деталей и поверхностей осевых упоров, при обнаружении изломов, трещин детали отремонтируйте или замените. Проверьте качество консистентной смазки в соответствии с действующей инструкцией ЦТ/2635 по применению смазочных материалов на локомотивах и моторвагонном подвижном составе. Смазку добавляйте через специальное отверстие, расположенное снизу корпуса буксы. При вскрытиях букс и проводимых при этом работах строго следите за тем, чтобы в буксу не были занесены грязь, песок, влага и посторонние предметы. В случае полной замены смазки буксу разберите, промойте детали, внутреннюю полость заправьте свежей смазкой и соберите.
Проверьте щупом уровень смазки в масляных ваннах моторно-осевых подшипников, который должен быть заключен между риской маслоуказателя 17 и нижней кромкой заправочного отверстия. При недостаточном количестве смазки добавьте ее через отверстие 18 (рис. 173). Конденсат или отстой, а также лишнее количество смазки в масляной ванне слейте через сливное отверстие, вывернув пробку на нижней части корпуса подшипника.
В зимнее время года с целью предотвращения замерзания фитилей и появления льда в масляных ваннах периодически заправляйте моторно-осевые подшипники горячим маслом с температурой не более 100° С и последующим его сливом через спускную пробку. Качество осевого масла контролируйте по действующей Инструкции по применению смазочных материалов на локомотивах и моторвагонном подвижном составе.
двигателя" width="464" height="336">
Рис. 173. Польстер тягового электродвигателя:
1 — корпус подшипника; 2 — паронитовая прокладка; 3 — крышка; 4 — пластинчатые пружины; 5 — направляющие; 6 — стержень; 7 — корпус польстера; 8 — ось; 9 — трубка; 10 — коробка с пакетом фитилей; 11 — фиксатор; 12 — пружина; 13, 15 — болты; 14 — рычаг; 16 — проволока; 17 — маслоуказатель; 18 — заправочное отверстие; 19 — пробка; 20 — скоба
При неудовлетворительном качестве осевого масла, а также при обнаружении попадания в него смазки из тягового редуктора снимите польстер, промойте фитили в чистом индустриальном или осевом масле и смените смазку в моторно-осевых подшипниках. Для промывки фитили выньте из коробки, разберите, промойте в индустриальном или осевом масле, отожмите, обрежьте нитки, выступающие по торцу фитиля, и снова промойте. Допускается промывка фитилей в керосине с полной просушкой и пропиткой в осевом масле (см. с. 368).
Проверьте затяжку болтов крепления польстера. Осмотрите при снятии польстера через окно вкладыша состояние шейки оси колесной пары. При обнаружении задиров произведите выкатку и ремонт колесной пары. Осмотрите состояние шейки оси колесной пары и замерьте диаметральный зазор через окно вкладыша при снятой крышке моторно-осевого подшипника и вынутом пакете фитилей. Контролируйте зазор щупом по всей длине вкладыша (см. рис. 173). Для более точного замера пользуйтесь наборным щупом. Щуп должен проходить на дуге не менее 100 мм от продольной кромки окна вкладыша. При обнаружении задиров колесную пару выкатите и отремонтируйте.
Разборка бесчелюстной тележки. Подготовьте тепловоз к выкатке тележек: отсоедините брезентовые рукава каналов охлаждения электродвигателей, очехление опорно-возвращающих устройств и привод ручного тормоза, разъедините трубопроводы песочной и тормозной систем, отсоедините кабели тяговых электродвигателей. Слейте смазку из опорно-возвращающих устройств и корпусов моторно-осевых подшипников тяговых электродвигателей. Сожмите пружинные комплекты рессорного подвешивания технологическими болтами (рис. 174).
Рис 174 Букса поводковая
1 — кольцо лабириитиое, 2 — планка, 3— крышка задняя, 4 — корпус буксы, 5, 8 — ролико подшипники 6, 7 — кольца дистанционные, 9 — крышка передняя, 10 — кронштейн, // — ша рикоподшипник упорный 12 — кольцо, 13 — упор 14 — амортизатор 15 — пружина 16 — болт 17 — кольцо 18 — пробка дчя пополнения консистентной смазки в буксе 19—нигка шелковая 20 —шайба наружная 21 — торцовый амортизатор, 22 — штифт 23 — втулка 24 — кольцо упорное разъемное 25 — валик короткий 26 — поводок 27 — шайба внутрен няя, 28 — втулка резиновая 29 — валик длинный, 30 — кольцо дистанционное разьемное
Поднимите на домкратах раму и кузов тепловоза до выхода шкворня из гнезда шкворневой балки и выкатите тележки. Установите выкаченную тележку на специальный стенд для разборки. Застопорите буксы колесных пар от проворачивания и осевого смещения. Снимите соединительные брезентовые рукава с каналов охлаждения тяговых электродвигателей и очехление опорно-возвращающих устройств.
Отсоедините предохранительные тросы, расшплинтуйте и снимите винтовые тяги рычажной передачи тормоза // (рис. 175), отверните гайки и снимите предохранительные скобы 10. Отверните болты и снимите кожуха 3 (см. рис. 172) гасителей колебаний, крышки 5, пружины 7 и вкладыши 6. Расшплинтуйте, отверните гайки 14, отсоедините тяги 12 от крышек букс и выведите поршни 4 с тягами из корпусов гасителей колебаний. Отсоедините тяги от поршней. При помощи отжимного болта выведите вкладыши 21 из кронштейнов гасителей.
Рис. 175. Схема рычажной передачи тормоза:
1, 12 — рычаги подвесок тормозных ко.шдок; 2 — тормозная колодка; 3 — тормозной цилиндр; -/—балансир ручного тормоза; 5 — стяжка; 6"— верхняя вилка; 7— триантель; 8 — горизонтальный балансир; 9 — шток тормозного цилиндра; 10 — скоба; // — тяга
Расконтрите и выверните болты крепления нижних поводков к раме и буксам, а также болты крепления верхних поводков к буксам. Выведите при помощи приспособления (см. рис. 174) поводки из гнезд рамы и букс. Поднимите раму тележки, переставьте ее на стенд для окончательной разборки. Отверните болты крепления верхних поводков к раме тележки, выведите поводки из гнезд.
Расконтрите и выверните болты крепления опорно-возвращающих устройств. Снимите опорно-возвращающие устройства с рамы тележки. Последовательной разборкой шарнирных узлов снимите все детали рычажной передачи тормоза. Разберите соединения тормозного трубопровода и отсоедините его от рамы тележки и тормозных цилиндров. Гайки крепления отверните и снимите тормозные цилиндры. Расшплинтуйте и выньте валики узла подвески тяговых двигателей, выньте стержни пружинной подвески. Комплект пружин сожмите, снимите подвеску, после чего отверните гайки стяжных болтов и полностью разберите подвеску.
Разборка колесно-моторного блока. Расшплинтуйте и отверните гайки стяжных болтов кожуха тяговой передачи. Расконтрите и выверните болты крепления кожуха к остову тягового электродвигателя и снимите нижнюю и верхнюю половинки кожуха. Расшплинтуйте п отверните гайки стяжных болтов хомута уплотнения моторпо-осевого подшипника. Снимите хомут. Расконтрите, выверните болты и снимите корпуса моторно-осевых подшипников с нижними вкладышами.
Снимите колесную пару и верхние вкладыши моторно-осевых подшипников с электродвигателя. Отсоедините стопорную планку 2 (см. рис. 174) поводковой буксы, снимите буксу с оси колесной пары. Спрессуйте с оси колесной пары кольцо шарикоподшипника //и кольца внутренние роликоподшипников 5 и 8, кольцо лабиринтное / и кольцо дистанционное 7.
Если на тепловозе установлен тяговый редуктор с упругой ведомой шестерней, то перед разборкой проверьте наличие клейм взаимного расположения деталей шестерни. Снимите отражательное кольцо 22 (см. рис. 6). Выведите стопорное кольцо 23, отогните планку 20, выверните болты 21, снимите шайбы 19. Снимите стопорное кольцо со стороны колеса и кольцо 13. Выведите стопорное кольцо упругих элементов из канавок с наружной стороны тарелки (вид Б—Б). Снимите выжимными болтами тарелку со стороны тягового электродвигателя. Выньте ролики. Выведите стопорные кольца 18 упругих элементов (вид А—А). Сдвиньте на ось зубчатый венец 16 с упругими элементами. Выньте упругие элементы из венца.
Разборка буксы. Расконтрите и выверните болты, крепящие крышку заднюю к корпусу буксы. Снимите крышку заднюю, кольцо подшипника наружное 5 (см. рис. 174), кольцо дистанционное 6, кольцо подшипника наружное 8. Расконтрите и отверните болты, крепящие крышку переднюю 9 к корпусу буксы. Отсоедините крышку переднюю от корпуса буксы. Снимите сепаратор и кольцо подшипника //. Сожмите пружину 15, выньте кольцо 12, снимите упор 13, амортизатор 14 и пружину 15.
Разборка смазочного устройства моторно-осевого подшипника польстерной системы. Отверните болт 13 крепления крышки польсте-ра (см. рис. 173), снимите крышку 3 и прокладку 2. Отведите вверх рычаг польстера 14 и установите его на фиксатор И. Выньте коробку с пакетом фитилей. Снимите скобу20, крепящую фитили к коробке, и выньте пакет фитилей.
Разборка опорно-возвращающего устройства. Расконтрите и отверните болты 6 (рис. 176). Снимите крышку 4, выньте гнездо 1, верхнюю опорную плиту 2 и обойму 7 с роликами 10. Отверните болты // и отсоедините нижнюю спорную плиту 9 от корпуса 3.
Сборка бесчелюстной тележки. Испытайте комплекты пружин под прессом. Подберите для каждой тележки комплекты пружин с разницей по высоте под нагрузкой не более 3 мм. При невозможности подобрать такие комплекты пружин выравняйте их по высоте в пределах 3 мм с помощью прокладок. Количество прокладок должно быть не более двух с суммарной высотой не более 15 мм.
Сборка буксовых узлов на оси колесной пары. Нагрейте в масле до t = 150° С кольцо лабиринтное 1 (см. рис. 174) и установите его до упора на шейку оси. Натяг при этом в соединении должен быть в пределах 0,03 -т- 0,105 мм. Нагрейте в масле внутренние кольца роликоподшипников 5 и d? и кольца шарикоподшипника // до температуры, не превышающей 100 — 120° С. После остывания лабиринтного кольца смажьте шейку оси тонким слоем авиационного или дизельного масла. Затем установите в горячем состоянии внутреннее кольцо подшипника 5, наденьте свободно дистанционное кольцо 7 и наденьте кольцо подшипника 8.
Натяг внутренних колец должен быть в пределах 0,035 — 0,065 мм. Подбивайте их по мере остывания до упора втулкой из мягкого материала, чтобы после остывания между ними не было торцовых зазоров. Местный зазор допускается до 0,06 мм. Установите кольцо 17 и кольцо шарикоподшипника упорного /У на проточку оси. Соберите отдельно
на стенде крышку заднюю З с корпусом буксы 4. Проложите между их торцами в два ряда шелковую нить.
Опустите поочередно в корпус буксы: кольцо наружное подшипника 5, кольцо дистанционное 6 и кольцо наружное подшипника 8. Зазор между посадочной поверхностью корпуса буксы и кольцами наружными роликовых подшипников должен быть не более 0,09 мм. Разница в радиальных зазорах подшипников буксы должна быть не более 0,03 мм.
Наденьте собранный корпус буксы на шейку оси и закрепите стопорную планку 2. Установите в переднюю крышку 9 букс крайних колесных пар амортизатор 14, пружины 15, упор 13. Сожмите пружину и установите в проточку кольцо 12. Нагрейте в масле до 100— 120° С кольцо подшипника упорного // и установите его на упор 13. Натяг в соединении должен быть 0,003 — 0,046 мм. Поставьте сепаратор с шариками, проложите в два ряда шелковую нитку по фланцу крышки. Свободное пространство в корпусе буксы заполните смазкой ЖРО ТУ32 ЦТ520 73 в количестве 2,5 кг. Соедините крышку в сборе с корпусом буксы, затяните крепежные болты 16 и застопорите их от проворачивания попарно вязальной проволокой.
Установка ведущей шестерни на вал тягового электродвигателя. Проверьте по краске плотность прилегания сопрягаемых поверхностей вала электродвигателя и шестерни. Общая площадь прилегания должна быть не менее 75% площади каждой из сопрягаемых поверхностей. Нагрейте шестерню до температуры 120 — 160° С, но не свыше 200° С. Установите шестерню на вал электродвигателя; наверните гайку крепления шестерни и после остывания затяните ее усилием 50 кгс на плече 1000 мм. Предохранительную шайбу загните в прорези шестерни в двух местах. Осевой натяг между посадочными поверхностями шестерни и вала должен быть 1,1 — 1,35 мм. Рекомендуемый натяг 1,25 мм.
Сборка колесно-моторного блока. Перед сборкой колесно-моторного блока убедитесь в том, что зубчатая пара тягового редуктора не была распарована. Замена одного из элементов зубчатой пары разрешается только в случае выхода его из строя. Упругую ведомую шестерню собирайте в порядке, обратном разборке. Перед сборкой промойте детали в бензине или в обезвоженном керосине. При сборке шестерни следите за совпадением клейм взаимного расположения деталей. Установите тяговый электродвигатель корпусами моторно-осевых подшипников вверх.
Смажьте осевым маслом и уложите в расточку остова электродвигателя вкладыши моторно-осевых подшипников, затем смажьте шейки оси колесной пары осевым маслом и опустите ее на вкладыши. Уложите на ось верхние вкладыши, установите и закрепите болтами крышки моторно-осевых подшипников.
Установите нижнюю половину кожуха тягового редуктора, регулируя ее положение по отношению редуктора прокладками. При этом зазор между стенками кожуха и торцами шестерен должен быть не менее 8 мм. Установите с теми же зазорами верхнюю половину кожуха. Затяните болты и зашплинтуйте болты крепления половин кожуха.
Затяните болты крепления кожуха к остову тягового двигателя и застопорите проволокой, при этом зазор между кромками отверстия и цилиндрической поверхностью колесного центра должен быть не менее 0,75 мм. Установите хомут уплотнения моторно-осевого подшипника. Перед постановкой полуколец хомута опустите их в осевое масло ГОСТ 610—72, подогретое до * = 50 -г- 60° С.
Сборка смазочного устройства моторно-осевого подшипника. Наберите пакет фитилей ламповых хлопчатобумажных 200 X 160 мм с двумя войлочными прокладками 157 X 190 X 8 мм. Просушите пакет при температуре 60 — 70° С в течение 2 — 3 ч, пропитайте в масле осевом ГОСТ 610—72 при температуре 50 — 60° С в течение 2 — 3 ч. Установите собранный пакет в коробку и прошейте двумя скобами 20 (см. рис. 173). По варианту I концы скоб загните внутрь, обрежьте нитки. Выступание элементов скобы относительно плоскости коробки не более 3 мм. Допускается установка вместо лампового фитиля каркасного войлока из трех пластин толщиной 13 мм по варианту II, изготовленного по специальным ТУ ЦНИИШерсти. Набивка польстера должна быть плотной без ослабления фитилей. Выступание хлопчатобумажных фитилей относительно войлока — не более 2 мм, утопание фитилей не допускается.
Очистите от загрязнений, промойте керосином и прозрите безворс-ными салфетками польстер и полость ванны осевого подшипника. Отведите рычаг пружины вверх и вставьте коробку с фитилями в корпус польстера. Отпустите рычаг и убедитесь, что он без заеданий и перекосов упирается в заплечики коробки. Коробку с фитилями устанавливайте в корпус так, чтобы зазор между стенкой корпуса и заплечиками коробки был не менее 2 мм, зазор между стенками окна вкладыша и коробки не менее 4 мм. Проверьте рукой подвижность коробки и исправность ее установки. Установите прокладку, крышку, закрепите крышку болтами, вверните щуп.
После окончательной сборки колесно-моторного блока заправьте смазкой тяговый редуктор и моторно-осевые подшипники в соответствии с картой смазки тепловоза. Обкатайте колесно-моторный блок на испытательном стенде.
Установка поводков на раму тележки. Заведите верхние поводки в зевы кронштейнов рамы тележки, затяните крепежные болты и застопорите их от проворачивания к кронштейну вязальной проволокой.
Установка пружинной подвески тяговых электродвигателей. Установите пружину между обоймами, сожмите комплект стяжными болтами до размера между наружными поверхностями обойм 304 мм. После этого поставьте подвески тяговых электродвигателей в кронштейны рамы тележки, вставьте направляющие стержни и зафиксируйте их валиками. Зашплинтуйте валики. Отверните гайки стяжных болтов до обеспечения зазора между гайкой и обоймой не менее 5 мм.
Сборка и установка опорно-возвращающего устройства. Соберите нижнюю плиту 9 (см. рис. 176) с корпусом 3 и установите на раму тележки. Закрепите корпус опоры к раме тележки. Проверьте корпус опоры на герметичность керосином. Появление керосина на наружных поверхностях после 40-минутного испытания не допускается.
Промойте все детали опорно-возвращающего устройства в чистом керосине и смажьте трущиеся поверхности осевым маслом 3 или Л ГОСТ 610—72. Наденьте на ролики 10 обоймы 7 и установите их в корпус. Уложите на ролики верхнюю опорную плиту 2 с гнездом 1. Поставьте, прокладку и крышку 4 и закрепите их болтами к корпусу.
Сборка воздушного трубопровода и рычажной передачи тормоза. Смажьте шарнирные звенья рычажной передачи синтетическим солидолом ГОСТ 4366—64, манжеты тормозных цилиндров смазкой ЖТ (4а) ЦТЦ № 04—58. Установите на кронштейны рамы тележки тормозные цилиндры и закрепите их.
Привалочная поверхность тормозных цилиндров должна равномерно соприкасаться с поверхностью кронштейна. Допускаются местные зазоры не более 0,2 мм на радиусе 30 мм от оси шпилек крепления тормозного цилиндра. Местные зазоры по остальной привалочной поверхности не более 0,5 мм.
Установите рычаги подвесок тормозных колодок 1 и 12 (см. рис. 175), горизонтальные балансиры 8, верхние вилки 6, стяжки 5, триан-гели 10. Элементы рычажной передачи с кронштейнами рамы тележки и элементы рычажной передачи между собой соединяйте валиками с постановкой шайб и шплинтов (винтовые тяги 11 и скобы 10 устанавливаются после опуска рамы тележки на колесные пары). Установите трубопроводы тормозной системы на раму под скобы поддержек. Соедините трубопроводы между собой и со штуцерами тормозных цилиндров. Закрепите скобы поддержек.
Сборка рамы тележек с колесно-моторными блоками. Установите колесные пары в сборе с электродвигателями на стенд. Поддомкратьте электродвигатели и выставьте их под углом 17° к горизонтальной плоскости. Застопорите буксы от проворачивания и установите на них комплекты пружин в сборе с опорами и пластинами.
При сборке установите меченые прокладки на прежние места. Устанавливайте в рессорном подвешивании каждой секции наружные и внутренние пружины следующих групп:
Наружные Внутренние
I I ИЛИ II
II I, II ИЛИ III
III II ИЛИ III
Номер группы установите по размерам пружин под статической нагрузкой по табл. 34.
Таблица 34
Опускайте раму тележки на колесные пары, одновременно домкратами опускайте носики тяговых электродвигателей до входа зева кронштейна электродвигателя в кронштейн подвески на раме тележки. Проверьте правильность посадки на место пружин-рессорного подвешивания. Заведите верхние поводки в зевы букс и закрепите предварительно болтами.
Выверните технологические болты. Установите нижний поводок в гнездо буксы и закрепите предварительно болтами. Заведите второй валик поводка в гнездо рамы тележки. Закрепите окончательно поводки и застопорите болты от проворачивания вязальной проволокой. Зазор между хвостовиком поводка и дном паза должен быть не менее 1 мм. Установите скобы 10 и тяги 11.
Отрегулируйте предварительно зазор между тормозными колодками и бандажом. Зазор должен быть 7 ± 2 мм. Проверьте гнездо шкворня на плотность керосином. После выдержки в течение 20 мин появление керосина на наружную поверхность не допускается. Снимите крышки технологические с нагнетательного канала электродвигателей. Установите сетки и соединительные фланцы, а также соединительные брезентовые рукава на каналы охлаждения тяговых электродвигателей и очехление опорно-возвращающих устройств.
Сборка фрикционного гасителя колебаний. Смажьте смазкой 1-ЛЗ ГОСТ 12811—67 трущиеся поверхности обойм 9 (см. рис. 172) и сухарей 10 (попадание смазки на трущиеся поверхности поршней 4 и накладок 8 не допускается). Соберите поршни 4 с тягами 12, установите на тяги обоймы 9, сухари 10, прокладки И, шайбы 13. Затяните гайки 14 верхних сферических шарниров тарированным ключом с моментом 4+1 кгс/м и зашплинтуйте.
В корпусах на раме тележки установите фиксирующие шпонки и вкладыши 21. Заведите сверху через отверстие в корпусах собранные узлы поршня и соедините тяги 12 с кронштейнами буксы аналогично соединению тяг с поршнем. Поставьте вкладыши 6, пружины 7, крышки 5, кожуха 3 и закрепите болтами. Застопорите болты крепления от проворачивания (попарно) вязальной проволокой.










