ГЛАВА VIII ВСПОМОГАТЕЛЬНЫЕ СИЛОВЫЕ МЕХАНИЗМЫ
29. Установка и привод вспомогательных силовых механизмов
От нижнего коленчатого вала дизеля отбирается мощность на привод вспомогательных силовых механизмов, установленных со стороны тягового генератора и со стороны холодильной камеры. От верхнего коленчатого вала дизеля мощность отбирается через редуктор на привод колеса вентилятора охлаждения тягового генератора.
Со стороны тягового генератора установлены: двухмашинный агрегат 1 (рис. 147), тормозной компрессор 3, вентилятор охлаждения тяговых электродвигателей передней тележки 5, передний распределительный редуктор 6. Вращение от вала тягового генератора передается через пластинчатую муфту 7 на ведущий вал распределительного редуктора и далее через пластинчатую муфту 4 на тормозной компрессор. От ведущего вала распределительного редуктора через пару цилиндрических и пару конических шестерен вращение передается на вал привода колеса вентилятора охлаждения тяговых электродвигателей. От нижнего ведомого вала редуктора через валопровод 2 вращение передается на вал двухмашинного агрегата.
Редуктор 6 установлен на трех литых опорах: со стороны вентилятора 5— на двух, с противоположной — на одной. Перед установкой на тепловоз редуктор крепят технологическими болтами диаметром 22 мм к опоре, затем производится центровка. Между опорными поверхностями редуктора и опор устанавливают наборы регулировочных прокладок, размер которых определяется при центровке редуктора. Число прокладок не должно превышать 6 шт. Толщина пакета прокладок под каждой лапой редуктора не более 10 мм. Разность по толщине пакетов в направлении, перпендикулярном оси тепловоза, не должна превышать 3 мм. Ограничение толщины пакета прокладок вызвано необходимостью обеспечения надежного крепления редуктора, так как в процессе эксплуатации происходит обминание прокладок и ослабление крепления редуктора. После центровки опоры редуктора приваривают к настильному листу рамы тепловоза, технологические болты заменяют штатными крепежными болтами диаметром 20 мм и окончательно их затягивают. При затянутых болтах щуп 0,05 мм не должен доходить до стержня болта. Положение рудук-тора фиксируется двумя коническими штифтами.
Тормозной компрессор установлен на сварном фундаменте, который приваривается к раме тепловоза после центровки компрессора с валом переднего распределительного редуктора. Технологические болты крепления компрессора к фундаменту заменяют постоянными диаметром 22 мм, окончательно крепят и штифтуют. При центровке компрессора применяют регулировочные прокладки. Число прокладок и толщина пакета прокладок ограничены так же, как для переднего распределительного редуктора.
Двухмашинный агрегат установлен под полом в специальном углублении (поддоне) рамы тепловоза и крепится к ней четырьмя болтами диаметром 30 мм. Установка двухмашинного агрегата и центровка производятся на болтах диаметром 34 мм. После центровки технологические болты заменяют постоянными, окончательно крепят и фиксируют двумя коническими штифтами.
Пластинчатая муфта. Для соединения вала переднего распределительного редуктора с валом тягового генератора и с валом компрессора служит пластинчатая муфта (рис. 148), состоящая из двух полумуфт 8, скрепленных между собой болтами 7. К полумуфтам болтами 6 прикреплены фланцы 5. Болты затянуты и попарно зашплинтованы оттожженной проволокой. К фланцам с обеих сторон муфты крепятся пакеты дисков 2. Каждый пакет состоит из 22 дисков, штампованных из листовой стали толщиной 0,5 мм. Через отверстия, смещенные на 60° относительно крепления пакетов дисков к фланцам муфты, пакеты крепят с одной стороны муфты к фланцам редуктора, с другой — к фланцу компрессора или генератора. Фланцы редуктора посажены на вал на конусно-прессовой посадке, при этом предусмотрена возможность их демонтажа маслосъемником. Фланцы компрессора и генератора посажены на конусные хвостовики валов со шпонками и закреплены гайками. Пакеты дисков прикреплены к фланцам болтами 4 с обжимными гайками /. Под голоВки болтов установлены сферические шайбы 3, позволяющие изгибаться дискам при погрешности в центровке сопрягаемых валов. Таким образом, пластинчатые муфты за счет упругой деформации самих дисков обеспечивают относительный поворот соединяемых валов при их несоосности. Применение в пластинчатой муфте полумуфт 8 и фланцев 5 вместо устанавливаемой ранее неразъемной траверсы дает возможность замены вышедших из строя дисков муфты без демонтажа редуктора.
Привод двухмашинного агрегата. На хвостовик вала б привода (рис. 149) напрессован фланец 5, а с другой стороны подвижно на шлицевом соединении установлен фланец 8. На конце хвостовика имеется проточка, в которую уложено уплотнительное кольца 7. Пи сборке полость А заполняют консистентной смазкой. Кольцо 7 препятствует вытеснению смазки из шлицевого соединения во время работы. Для добавления смазки во фланце 8 предусмотрено коническое отверстие с резьбой, закрытое пробкой 10. К фланцам двухмашинного агрегата и распределительного редуктора фланцы привода 5 и 8 подсоединены болтами через пакеты дисков.
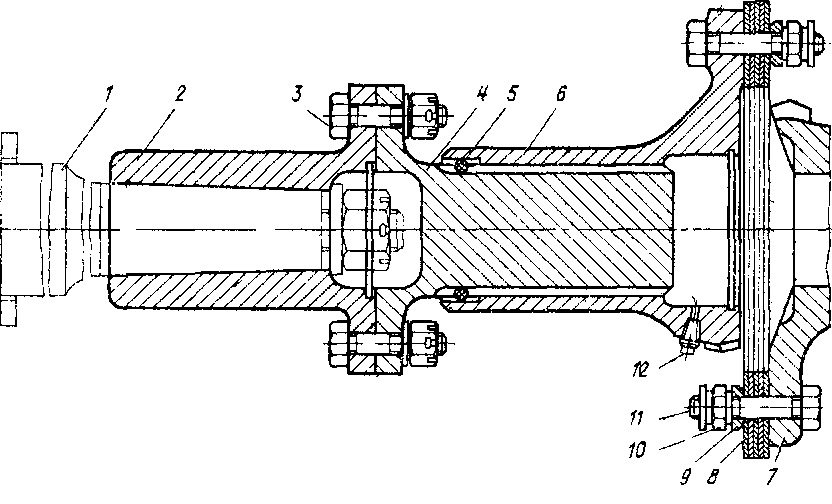
Рис 147. Расположение силовых механизмов со стороны тягового генератора. 1—двухмашинный агрегат, 2—валопровод, 3—тормозной компрессор, 4, 7—муфты пластинчатые, 5—вентилятор охлаждения тяговых электродвигателей передней тележки, 6—редуктор распределительный передний
Со стороны холодильной камеры (рис. 150) расположены: задний распределительный редуктор <3, вентилятор охлаждения тяговых электродвигателей задней тележки 4, синхронный подвозбудитель 5, корпус подшипников 8, промежуточная опора 10, гидропривод вентилятора холодильной камеры 13, подпятник вентиляторного колеса 15 и колесо вентилятора 12. Задний распределительный редуктор соединен с валом дизеля 1 через промежуточный вал 2 и пластинчатую муфту 21. От ведомого вала распределительного редуктора через валопровод 19, промежуточную опору и валопровод 17 вращение передается к гидроприводу 13 и далее через карданный вал Г4 к валу подпятника, на котором установлено колесо вентилятора. Вентилятор охлаждения тяговых электродвигателей задней тележки 4 получает вращение через конструктивные элементы заднего распределительного редуктора аналогично описанному для вентилятора охлаждения тяговых электродвигателей передней тележки. Требования к установке заднего распределительного редуктора на тепловозе аналогичны приведенным для переднего распределительного редуктора.
Винт 16 служит для регулировки натяжения ремня путем смещения основания 6, а винт 20— для регулировки совпадения торцов шкива опоры 10 и корпуса подшипников 8.
Промежуточный вал. Один из фланцев вала (рис. 151) имеет шлицевый хвостовик, другой — шлицевую втулку. Шлицевое соединение эвольвентиое с модулем 2, 5 и числом зубьев 30. Уплотнение хвостовика с втулкой и смазывание шлицевого соединения аналогичны приведенным для привода двухмашинного агрегата. С дизелем промежуточный вал соединен йшстью призонными болтами диаметром 16 мм через фланец, посаженный в горячем состоянии на конусный хвостовик вала дизеля с осевым натягом 0,6—0,11 мм. К заднему распределительному редуктору промежуточный вал подсоединен через пакет дисков 8.
Рис. 148. Муфта: 1—гайка обжимная; 2—пакет дисков; 3—шайба сферическая; 4, 6, 7—болты; 5—фланец; 8,— полумуфта; 9—шайба
Рис. 149. Привод двухмашинного агрегата: 1—фланец двухмашинного агрегата; 2—диск; 3—шайба сферическая; 4—болт; 5, 8—фланцы; 6—вал, 7—кольцо; 9— фланец переднего распределительного редуктора; 10—пробка; 11—ганка обжимная
Рис 150 Расположение силовых механизмов со стороны холодильника 1—вал дизеля, 2—вал промежуточный, 3—редуктор распределительный задний, 4—вентилятор охлаждения тяговых электродвигателей задней тележки, 5—синхронный подвозбуднтель, б—основание, 7, 9—ограждения, 8—корпус подшипников, 10—опора промежуточная, //, 19—валопроводы, 12—колесо вентилятора, 13—гидропривод вентилятора, 14—карданный вал, 15—подпятник, 16, 20—винты регулировочные, 17, 18—фундаменты, 21—муфта пластинчатая
дизеля" width="399" height="242">
Рис 151 Соединение вала редуктора с валом дизеля 1—вал дизеля, 2—фланец, 3—болт, 4—фланец, 5—кольцо, 6— фланец, 7—фланец редуктора, 8—пакет дисков, 9—шайба сфериче скйя, 10—гайка обжимная, 11—болт, 12—пробка
Рис 152 Валопровод
Валопроводы, через которые передается вращение от редуктора к промежуточной опоре и далее от опоры к гидроприводу, одинаковы по конструкции. Вал валопровода (рис. 152) представляет собой трубу, в которую с двух сторон запрессованы и приварены хвостовики. На один хвостовик вала напрессован фланец 3, подогретый до температуры 230 °С, другой хвостовик вала имеет шлицы, с помощью которых он соединяется с фланцем 1. Смазка шлицевого соединения и уплотнение полости смазывания аналогичны приведенным для привода двухмашинного агрегата. К фланцам редуктора и Промежуточной опоры валопроводы подсоединяют болтами через пакеты дисков. Каждый пакет состоит из 22 дисков. С обеих сторон пакетов под головки болтов и лапы фланцев установлены сферические шайбы, назначение которых приведено при описании муфты.
Опора промежуточная. Промежуточная опора (рис. 153) служит опорой валопроводов и передает вращение валу синхронного подвозбудителя. Опора имеет корпус 5 цилиндрической формы с приливами (лапами) для крепления на фундаментах. Внутренняя поверхность корпуса расточена под роликовые подшипники 7, на которые опирается вал 2. Подшипники закрыты крышками 8 с уплотнительными кольцами 9. Зазор Д между крышкой и наружным кольцом роликового подшипника в пределах 0,3— 0,6 мм. Обеспечивается зазор набором прокладок 4. Посадку внутренних колец подшипников и втулки 10 производят с предварительным подогревом их до температуры 90—100 °С. С двух сторон вала установлены фланцы. Осевой натяг X фланцев в холодном состоянии в пределах 2,05.—5,45 мм. Для обеспечения натяга допускается подшлифовка торцов фланца. Выступание или западание торцов вала относительно поверхности В не должно превышать 1,5 мм. На фланце, установленном со стороны распределительного редуктора, напрессован шкив /, через который передается вращение на синхронный подвозбудитель. Полость А, образованная корпусом опоры и крышками, при сборке заполняется смазкой ЖРО. Для добавления смазки предусмотрено отверстие, закрытое пробкой 6.
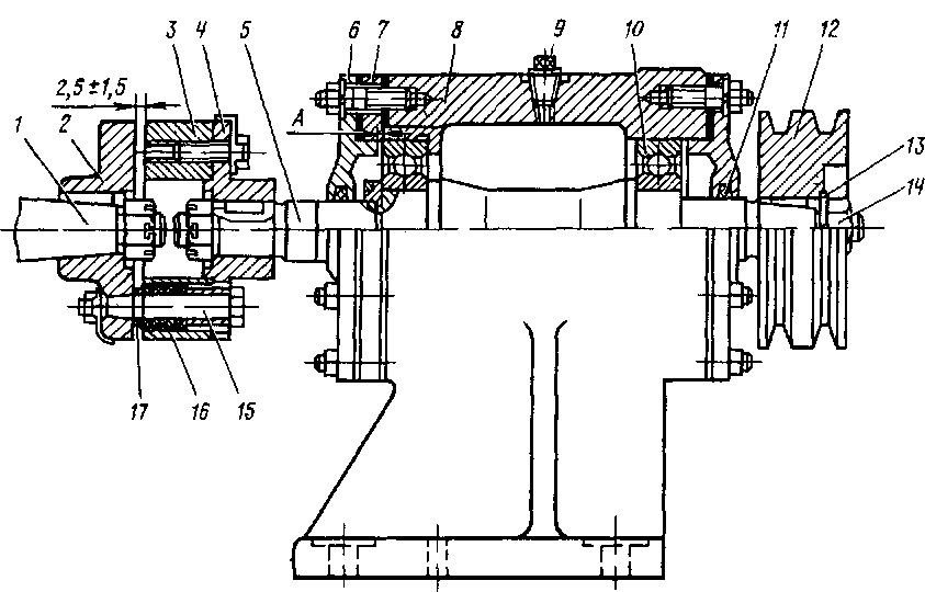
Корпус подшипников. Для передачи вращения от промежуточной опоры к валу синхронного подвозбудителя служит корпус подшипников (рис. 154). Шкив 12 получает вращение от шкива промежуточной опоры через клиноременную передачу. Установлен шкив на конусный хвостовик вала со шпонкой и закреплен гайкой 14. На другой хвостовик вала установлена полумуфта 4. Вал 5 опирается на шариковые подшипники 10, установленные в корпусе 8. Подшипник со стороны полумуфты фиксируется от осевого перемещения иа валу и в корпусе с помощью колец, стакана 7 и крышки 6. Зазор А должен быть 0,1—0,3 мм и регулируется прокладками между стаканом 7 и крышкой 6. Полости подшипников закрыты крышками с уплотнительными кольцами //, которые предотвращают выдавливание смазки во время работы узла. Подшипники смазывают аналогично смазыванию роликоподшипников промежуточной опоры. Крепится корпус подшипников к одному основанию с синхронным подвозбудителем. Вал 5 корпуса подшипников соединен с валом / синхронного подвозбудителя посредством муфты. Муфта состоит из двух полумуфт 2 и 4, посаженных на конусные хвостовики валов и закрепленных гайками. Между полумуфтами установлено кольцо 3, которое крепится к полумуфте 4 болтами, а с полумуфтой 2 соединено через пальцы 15 с упругими втулками 16. Зазор между полумуфтами должен быть 2,5±1,5 мм. Корпус подшипников и синхронный подвозбудитель при установке на основание крепят технологическими болтами диаметром 14 мм, которые после центровки заменяют постоянными болтами М12.
Рис 154 Корпус подшипников с муфтой 1 — вал синхронного подвозбудителя, 2, 4—полумуфты, 3—кольцо, 5—вал, 6—крышка, 7—стакан, 8—корпус, 9—пробка, 10—шариковый подшипник, 11—кольцо уплотнительное, 12—шкив, 13—шайба, 14—ганка, 15—палец, 16—втулка упругая, 17—втулка распорная










