23. Контакторы, реверсор, электропневматические вентили
Поездные контакторы ПК-753Б6. Электропневматический контактор типа ПК-753Б6 предназначен для включения и отключения тяговых электродвигателей тепловоза. Основанием контактора служит панель 1 (рис. 124) из стеклопластика, к которой прикреплены все узлы. На панели укреплен кронштейн, представляющий собой сложную, отлитую из латуни деталь, к которой припаяна дугогасительная катушка из медного профиля, намотанного на ребро. Внутри катушки расположен изолированный от нее стальной сердечник.
Катушка с сердечником помещены внутри дугогасительной камеры, имеющей стальные полюсы и в целом представляют собой электромагнит, который обеспечивает при коммутации контактора эффективное гашение электрической дуги. В стенки камеры встроены ситалловые вставки, предохраняющие стенки от разрушающего действия электрической дуги.
На основании укреплен пневматический привод (рис. 125). Подвижной контакт через гибкое соединение электрически связан с выводом. К крышке крепится включающий электропневматический вентиль 5 (см. рис. 124). На рычаге закреплена изоляционная колодка с вспомогательными контактами. При включении электропневматического вентиля воздух из воздушной магистрали тепловоза попадает в цилиндр пневматического привода, вызывая перемещение штока и связанных с ним контактов контактора. Технические данные контактора приведены в табл. 22.
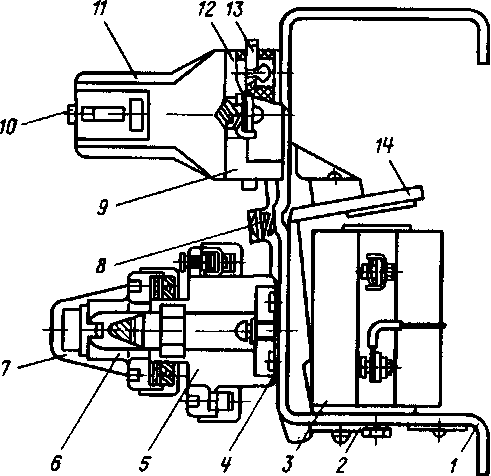
Контактор групповой ПКГ-565. Аппарат (рис. 126) представляет собой многополюсный контактор с шестью главными контактными элементами мостикового типа и двумя вспомогательными групповыми контактами 9. Силовые контактные элементы (подвижные 5 и неподвижные 7) закреплены на изоляционных контактодержателях; подвижные — на подвижном штоке, неподвижные — на сварных рамах. Шток перемещается под воздействием пневматического диафрагменного привода 8 (для замыкания контактов) и возвратной пружины (для размыкания контактов). Приводом управляет электропневматический вентиль.
Технические данные контактора приведены в табл. 23.
Электромагнитный контактор КПВ-604. Контактор КПВ-604 подключает пусковые цепи тягового генератора к аккумуляторной батарее на период пуска дизеля. Контактор (рис. 127) собран на основной скобе 23 магнитопро-вода, установленной на изоляционной асбоцементной панели 1. Пусковая цепь коммутируется главными контактами (подвижными 16 и неподвижными 15).
Рис 124. Контактор электропневматический ПК-753Б6 1—панель, 2—камера дугогасительная, 3— система контактная, 4—привод пневматический, 5—вентиль электропневматнческий
Рис 125. Пневматический привод: 1—крышка, 2—шток, 3—пружниа, 4— прокладка, 5—поршень, 6—манжета, 7-— цилиндр
Таблица 22
Таблица 23
При подаче напряжения на катушку 24 к ее сердечнику 22 притягивается якорь 20, на котором закреплена скоба 7, несущая подвижный контакт. Неподвижный контакт закреплен на нижней части скобы магнитопровода совместно с выводом дугогасительной катушки 10. Второй конец этой катушки является контактным зажимом. Дугогасительная система (катушка, скоба, камера) позволяет гасить электрическую дугу главных контактов. Помимо главных контактов, контактор имеет четыре вспомогательных 2, расположенных справа и слева от втягивающей катушки.
Рис 126 Контактор ПКГ-565 1—электропневматнческий вентиль, 2—уголок, 3—кронштейн, 4—шток, 5—подвижные контакты, 6—контактодержатель, 7—неподвижные контакты, 8—днафрагменный привод, 9—контакты вспомогательных цепей
Рис. 127. Электропневматический контактор КПВ-604: 1—панель; 2—вспомогательные контакты; 3— нажимная пластина; 4—призма; 5, 18— пружины; 6—гибкое соединение; 7, 9, 21— скобы; 8—пластмассовая колодка; 10—дугогаснтельная катушка; 11—сердечник; 12—полюс; 13—дугогаснтельная камера; 14—пружина плоская; 15— неподвижный контакт, 16—подвижной контакт; 17—дугогаснтельный рог; 19—возвратная пружина; 20—якорь; 22—сердечник; 23—скоба маг-ннтопровода; 24—втягивающая катушка
Рис. 128. Контактор электромагнитный серии МК:
1—скоба; 2, 6, 12, 13—колодки; 3—магнитная система; 4—пластина; 5—система контактов вспомогательной цепн; 7, 10—траверсы; 8—пружина; 9—система контактов главной цепн; 11—камера дугогаснтельная; 14—якорь
Контакторы типа КПВ-604 предназначены для пуска электродвигателей постоянного тока, имеющих большие пусковые токи, в то же время в режиме редких включений контактор допускает коммутацию четырехкратного номинального тока. Эти параметры позволяют использовать контактор в цепи пуска.
Техническая характеристика контактора КПВ-604
- Номинальное напряжение главных контактов, В.......... 220
- Номинальный ток главных контактов, А............ 250
- Мощность, потребляемая катушкой, Вт............. 50
- Напряжение номинальное катушки, В............ 48
- Сопротивление катушки при 20 °С, Ом............. 40,8
- Число витков катушки.................. 3000
- Диаметр провода, мм....... ........... 0,6
- Марка провода............... .... ПЭВ-1
Контакторы электромагнитные типы МК. Для коммутации цепей возбуждения тягового генератора и питания электродвигателей собственных нужд используют контакторы типов МК1, МКЗ, МК4. Конструктивно контакторы аналогичны. Все элементы конструкции собираются на скобе / (рис. 128). Якорь 14 вращается на призмах. Призмы поджимаются пружинами 8. Главная контактная система 9 состоит из контактной колодки 12 с неподвижными контактными скобами и дугогасительными катушками, траверсы 10 с контактными мостиками и дугогасительной камерой //. В колодке 12 установлены колодки 13, предназначенные для фиксации и удержания дугогасительной камеры.
Вспомогательная контактная система 5 состоит из контактных колодок 6 с закрепленными на них скобами неподвижных контактов и траверсы 7 с подвижными контактными мостиками. Регулировка растворов и провалов производится специальными регулировочными пластинами 4 и перемещением колодки 2 ограничителя хода якоря. Технические данные контакторов приведены в табл. 24.
Таблица 24
Переключатель (реверсор) ППК-8063. Переключатель переключает в обесточенном состоянии обмотки возбуждения тяговых электродвигателей для изменения направления движения тепловоза (меняя направление вращения якорей тяговых электродвигателей). Аппарат представляет собой многополюсный кулачковый переключатель с электропневматическим приводом. Он имеет 12 кулачковых элементов с двусторонним расположением контактных групп и две группы вспомогательных контактов.
Таблица 25
Таблица 26
Рис 129 Переключатель (реверсор) типа ППК-8060 1—вал, 2—подвижные контакты, 3—пневматический привод, 4—неподвижные кон такты, 5—качающиеся рычаги; 6—изолированные стойки, 7—кулачковые шайбы, 8—кронштейн
Рис. 130 Вентили электропневматические а—вентиль ВВ-1, б—вентиль ВВ-32, /—катушка, 2—клапан верхний, 3—клапан нижний, 4—корпус, 5—якорь
Рис. 131. Тяговые электромагниты: а—электромагнит ЭТ-52Б; б — электромагнит ЭТ-54Б; /—гайка; 2—вннт, 3—кожух; 4—якорь; 5—катушка; 6—шток; 7—штепсельный разъем
Кулачковый элемент состоит из среднего контактодержателя с двумя подвижными 2 (рис. 129) пальцевыми контактами, имеющими один общий вывод, двух контактодержате-лей с неподвижными контактами 4 и кулачковой шайбы 7. Контакто-держатели и кулачковые шайбы изготовлены из высокопрочного изоляционного материала.
Каждая кулачковая шайба управляет двумя элементами: верхним и нижним. Контактодержатели закреплены на шести металлических стойках 6. Кулачковые шайбы закреплены на валу /, который поворачивается под воздействием пневматического диафрагменного привода 3.
Приводом управляют электропневматические вентили. Переключатель снабжен устройством для ручного переключения. Технические данные переключателя приведены в табл. 25.
Электропневматические вентили и тяговые электромагниты ВВ-1, ВВ-3, ВВ-32, ЭТ-52Б, ЭТ-54Б. На тепловозе установлены электропневматические вентили ВВ-1 (рис. 130, а) на дизеле, которые используются для ускорения пуска дизеля, ВВ-3 на контакторах ПК-753Б, групповом контакторе ослабления возбуждения ПКГ-565; ВВ-32 (рис. 130, б) — на реверсивном переключателе ППК-8063, клапане песочницы КЛП-32 и для отключения ряда топливных насосов.
Электропневматические вентили предназначены для дистанционного управления пневматическими приводами аппаратов или устройств тепловоза. Все вентили включающие, т. е. при подаче напряжения на катушку клапаны открывают «проход» воздуха через аппарат к механизму.
Вентиль ВВ-1 (см. рис. 130, а) имеет электромагнит и пневматическую систему. Катушка вентиля намотана на каркасе. Вентиль ВВ-3 аналогичен вентилю ВВ-1, но отличается способом подсоединения воздухопровода. Вентиль ВВ-32 (см. рис. 130, б) состоит из тех же деталей. Все вентили имеют устройства для ручного включения. Технические данные вентилей приведены в табл. 26.
Тяговый электромагнит ЭТ-52Б (рис. 131, а) предназначен для работы в качестве электромагнитного привода регулятора дизеля.
Магнитная система электромагнита прямоходовая, якорь 4 имеет конический шток 6, катушка 5 намотана на латунную гильзу, изолированную миканитом и залитую вместе с сердечником компаундом на основе эпоксидной смолы.
Стальной кожух электромагнита $ Имеет на наружной стороне резьбу для ввинчивания магнита в корпус регулятора частоты вращения вала дизеля.
Таблица 27
Тяговый электромагнит ЭТ-54Б (рис. 131, б) имеет штепсельный разъем 7, с помощью которого подключается аппарат. Оба магнита имеют винт для регулирования хода штока. Технические данные приведены в табл. 27.










