![]() |
|
Глава 11. ТЕХНИЧЕСКОЕ ОБСЛУЖИВАНИЕ УСТРОЙСТВ ЭЛЕКТРИЧЕСКОЙ
ЦЕНТРАЛИЗАЦИИ
11.1. Виды работ по техническому обслуживанию устройств электрической централизации
Основными видами работ по техническому обслуживанию устройств электрической централизации являются [5]:
- периодическая проверка взаимозависимостей стрелок и сигналов в соответствии с установленными ПТЭ требованиями;
- осмотр, регулировка, чистка, покраска, проверка исправности действия устройств;
- измерение электрических параметров и характеристик элементов устройств ЭЦ и приведение их к установленным нормам;
- замена приборов на отремонтированные и проверенные в ремонтно-технологических участках (РТУ);
- восстановление исправного действия устройств ЭЦ при отказах;
- выполнение работ по повышению надежности и безопасности устройств ЭЦ.
Основным методом технического обслуживания и ремонта устройств ЭЦ является планово-предупредительный. Регламент выполнения работ по отдельным видам устройств приведен в «Инструкции по техническому обслуживанию устройств сигнализации, централизации и блокировки (СЦБ)» [5] и определяется соответствующими технологическими картами, утвержденными Департаментом сигнализации, централизации и блокировки МПС РФ [6].
Техническое обслуживание и ремонт устройств ЭЦ, как правило, должен производиться в технологические перерывы без нарушения графика движения поездов в соответствии с «Инструкцией по обеспечению безопасности движения поездов при производстве работ по техническому обслуживанию и ремонту устройств СЦБ» [4]. В необходимых случаях нормальное пользование устройствами ЭЦ прекращается путем их временного выключения в установленном порядке [4].
Выключение действия устройств ЭЦ может производиться с сохранением и без сохранения пользования сигналами.
При выключении с сохранением пользования сигналами отдельных стрелочных и бесстрелочных изолированных участков (далее секций), централизованных стрелок или других устройств сохраняется возможность открытия светофоров по маршрутам, в которые входят выключенные устройства. При этом при задании маршрута проверяется контроль положения и замыкания всех ходовых и охранных стрелок и свободность всех ходовых и негабаритных секций, входящих в маршрут, кроме выключенных.
Проверка фактического
положения, закрепления выключенных стрелок и свободности секций производится
порядком, установленном в ТРА станции. После такой проверки прием и
отправление первого поезда по стрелке, выключенной с сохранением пользования
сигналами, производится при запрещающем показании входного, маршрутного или
выходного светофора, а последующих поездов по разрешающим показаниям этих
светофоров со скоростью не более
Выключение стрелок и секций с сохранением пользования сигналами производится электромехаником СЦБ с согласия старшего электромеханика и по разрешению дежурного инженера дистанции сигнализации и связи, а при их отсутствии по разрешению начальника дистанции сигнализации и связи или его заместителя.
Выключение производится на срок:
- до 8ч с разрешения начальника станции, а на участках с диспетчерской централизацией с разрешения поездного диспетчера;
- свыше 8ч (до 5 суток включительно) с разрешения начальника отделения железной дороги, а при отсутствии отделений в составе железной дороги с разрешения главного инженера железной дороги;
- свыше 5 суток с разрешения начальника железной дороги.
Запрещается выключать стрелку с сохранением пользования сигналами при нарушении механической связи между остряками.
Запрещается выключать с сохранением пользования сигналами рельсовые цепи путей приема поездов и секции поездных маршрутов, в которых они являются первыми за входными, маршрутными и выходными светофорами.
Выключение стрелок и секций с сохранением пользования сигналами должно производиться в соответствии с техническими решениями, утвержденными Департаментом сигнализации, централизации и блокировки МПС России. Перечень схем выключения стрелок и секций с сохранением пользования сигналами должен быть определен для каждой станции на основе указанных технических решений и утвержден начальником дистанции сигнализации и связи.
При выключении устройств без сохранения пользования сигналами возможность открытия светофоров и замыкания поездных маршрутов, в которые входят выключенные устройства исключается. На пульте управления (табло) ЭЦ контролируется положение всех стрелок и секций, кроме выключенных. Движение поездов по маршрутам, в которые входят выключенные устройства, производится при запрещающих показаниях входных, маршрутных и выходных светофоров. При этом проверка фактической свободности пути или секции, положения и закрепления каждой стрелки в маршруте производится в порядке, установленном для этих случаев в «Инструкции по движению поездов и маневровой работе на железных дорогах Российской Федерации»[3] и в ТРА станции.
11.2. Макет выключения стрелки из зависимости
Выключение стрелки из зависимости с сохранением пользования сигналами производится путем подключения электромехаником вместо электропривода, контролирующего положения стрелки, специального релейного устройства макета (рис. 11.1), который обеспечивает возможность открытия светофоров по маршрутам, в которые входит выключаемая стрелка.
Макет содержит: макетный шланг; блок питания БПШ; реле КМ контроля подключения макета к линейным проводам выключаемой стрелки; реле КК контроля замыкания контактов пускового реле при установке макета, реле КСВ контроля индивидуального управления стрелкой; реле МПК и ММК контрольные реле макета, имитирующие плюсовое или минусовое положение стрелки, выключенной из зависимости; реле МПП - противоповторное реле подключения макета, фиксирующее возврат коммутатора макета в среднее положение.
Выключении стрелки из централизации с сохранением пользования сигналами выполняется в строгом соответствии с [4] в следующем порядке.
Электромеханик СЦБ (ШН), имея разрешение на выключение стрелки и согласовав с дежурным по станции (ДСП) время начала работ, делает запись в Журнале осмотра путей, стрелочных переводов, устройств СЦБ, связи и контактной сети (форма ДУ-46, далее «Журнал осмотра»). В этой записи указывается номер стрелки (стрелок), цель и способ выключения, а также необходимость закрепления остряков и запирание стрелки.
ДСП на основании записи ШН устанавливает стрелку с пульта в требуемое положение, а затем дает указание работнику службы пути о закреплении остряков стрелки (и подвижного сердечника крестовины) и работнику службы перевозок о запирании стрелки (и подвижного сердечника крестовины) на закладку и навесной замок.
Получив сообщение от работника службы перевозок о том, что стрелка (и подвижный сердечник крестовины) закреплена и заперта в требуемом положении, ДСП надевает на стрелочную рукоятку (кнопки) пульта управления колпачок (колпачки) красного цвета и подписывается под текстом записи ЩН в Журнале осмотра. Наличие этой подписи является для ШН разрешением приступить к работе по выключению стрелки.
ШН вынимает штепсельные дужки клеммной панели стрелки, подключающие линейные провода к напольному кабелю, а затем подключает макет стрелки. Подключение макета к пусковым и контрольным цепям управления стрелкой производится макетным шлангом, один конец которого подключается к клеммной панели стрелки статива кроссирования, а другой к клеммной панели макета.
В результате переменный ток, поступавший из контрольной цепи стрелки, подключенной к макету, через клеммы 1-7 или 3-5 подается в одну из обмоток трансформатора в блоке БПШ макета. Вторичная обмотка трансформатора нагружена выпрямительным мостом, к выходу которого подключено реле контроля макета КМ (АНШМ2-310). Реле срабатывает. На табло ДСП начинает мигать красная лампа в шильдике макета стрелки. В релейном помещении также включается контрольная лампа. Если рукоятка коммутатора макета находится в среднем положении, включается и блокируется реле МПП (РЭЛ2М-1000).
Для проверки правильности подключения макета ДСП поворачивает рукоятку коммутатора макета в положение, в котором «зашили» стрелку и переводит выключенную стрелку в это же положение в режиме индивидуального управления. Если до этих манипуляций положение стрелки и макета совпадали, то ДСП необходимо вначале нажать кнопку перевода стрелки в противоположное положение и далее, не отпуская кнопки СВ данной стрелки, нажать кнопку перевода стрелки в положение, в котором закреплена стрелка.
При этом в макете через фронтовой контакт реле СВ включается реле КСВ (РЭЛ2-2400). В схеме управления стрелкой срабатывает управляющая цепь схемы управления СЭП и подается напряжение в рабочую цепь. От этого напряжения в схеме макета через фронтовой контакт реле КСВ включается реле КК (АШ2-110/220). Контакты реле КК и МПП замыкают цепь контрольного реле макета МПК или ММК, что зависит от положения коммутатора макета РКМ. Реле МПК (ММК) своими контактами включает контрольную лампу в шильдике макета на табло ДСП и подключает диоды VD1, VD2, имитирующие наличие выпрямительного столбика в контрольной цепи схемы управления СЭП. При плюсовом положении макета диоды VD1 и VD2 подключаются к клеммам 1-7, а при минусовом
- к клеммам 3-5. Этим достигается соответствие положения коммутатора макета и полярности общего контрольного реле схемы СЭП.
Убедившись, что стрелочная контрольная лампа и лампа управления макетом загораются одинаковым зеленым или желтым светом в соответствии с положением коммутатора макета, ДСП дает указание работнику службы перевозок опустить курбельную заслонку электропривода вниз до упора. ШН отключает индикацию положения стрелки и делает вторую запись в Журнале осмотра о правильности выключения стрелки и выключении (изъятии) контрольных ламп. Под этой записью расписывается ДСП с указанием времени начала работ на стрелке.
С подключением макета дужкой на кроссовом стативе размыкается цепь ФН. В результате чего в установленном поездном маршруте реле ФМ не срабатывает, чем исключается взаимозависимость сигнальных показаний. Например, в схемном узле входного светофора по цепи 1М не срабатывают реле ЗС и МГС.
11.3. Схемы контроля кратковременных отказов напольных устройств
Схемы контроля кратковременных отказов напольных устройств позволяют фиксировать кратковременное выключение путевых реле стрелочных секций, приемо-отправочных путей и участков удаления в установленном поездном маршруте, отмену окончательно замкнутого поездного маршрута, а также кратковременную потерю контроля ходовых и охранных стрелок и кратковременную занятость негабаритных участков в установленном маршруте любой категории. Кроме этого, фиксируется отмена поездного маршрута дежурным по станции при занятом участке приближения.
Таким образом, фиксируются такие неисправности устройств и действия дежурного по станции, которые приводят к перекрытию разрешающего показания поездных светофоров.
Для контроля кратковременной потери шунта и отмены окончательно замкнутого поездного маршрута по плану станции строится специальная цепь фиксации неисправностей ФН (рис. 11.2).
При установке поездного маршрута контактом начального реле в цепь подается полюс питания М. В цепь ФН параллельно включены контрольные реле стрелочных секций и путевых участков СПК (ПК), которые с момента замыкания маршрута и до вступления поезда в данную секцию фиксируют кратковременную потерю шунта. После кратковременного выключения путевого реле, а также и реле МСП (МП) включается вспомогательное реле ВСП (ВП), замыкая своим контактом цепь включения реле СПК (ПК), которое срабатывает и самоблокируется. Фронтовым контактом последнего замыкается цепь включения контрольной лампы на специальном щитке в релейном помещении.
Со стороны конца поездного маршрута в цепь ФН включаются реле фиксации установки маршрута ФМ (РЭЛ2М-1000), контакты которых подготавливают цепи включения контрольных реле К (РЭЛ2-2400), фиксирующих кратковременное выключение путевых реле приемоотправочных путей (например реле К1П) и участков удаления (реле ЧКЖ). Контактами этих реле также включаются контрольные лампы.
Для фиксации отмены окончательно замкнутого поездного маршрута служат реле КОТ (РЭЛ2-2400).
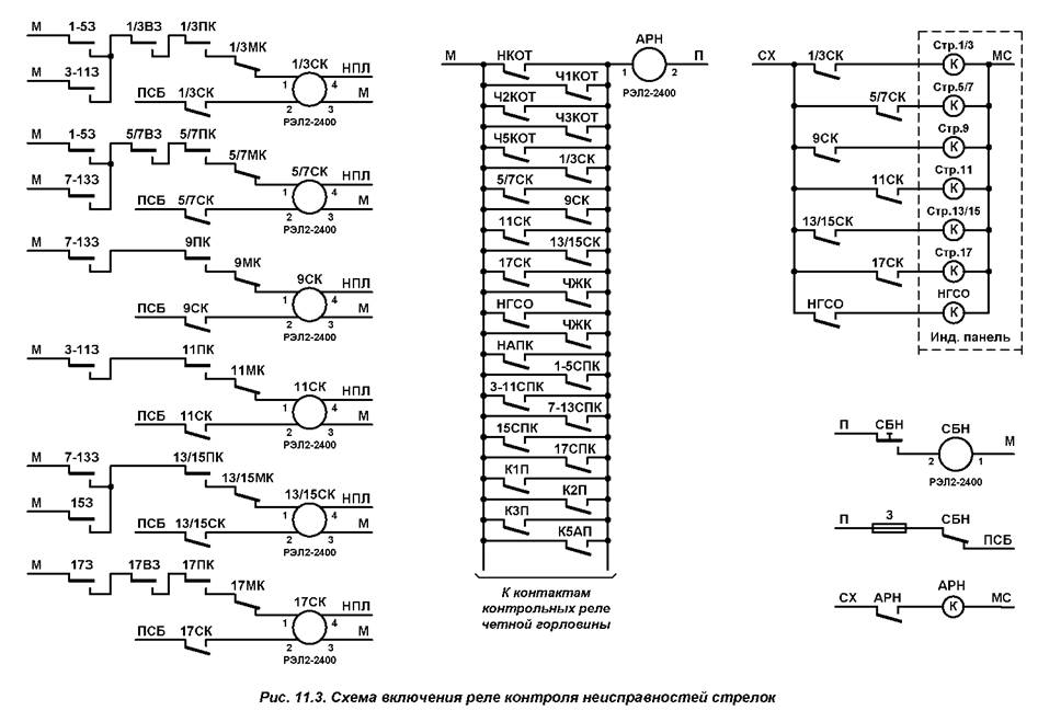
Контроль кратковременных отказов в схемах управления СЭП осуществляют реле СК (рис. 11.3), которые включаются, когда стрелочная секция замкнута в маршруте и в это время пропадает контроль положения стрелки или происходит выключение путевого реле негабаритной стрелочной секции или потеря контроля охранной стрелки.
Для исключения ложного срабатывания при переключении источников питания все контрольные реле подключены к лучевому полюсу ПЛ. Блокировка контрольных реле происходит по шине ПСБ, питание с которой снимается нажатием пломбируемой кнопки СБН.
При срабатывании любого контрольного реле включается реле АРН (РЭЛ2-2400), включающее своим контактом лампочку АРН на табло ДСП.
Одновременно на табло у ДСП загорается красная лампа неисправности АРН. Сброс контрольных реле и восстановление схем осуществляется путем кратковременного нажатия пломбируемой кнопки СБН.
Для исключения срабатывания контрольных реле при переключении фидеров питания или перегорании лучевых предохранителей на обмотку включения контрольного реле подается питание ПЛ.
При выключении стрелки из зависимости дужкой на стативе цепь ФН размыкается. Поэтому фиксация неисправностей устройств будет проходить только до стрелки, установленной на макет.


