Головной вагон. Электрическое и пневматическое оборудование размещено под кузовом головного вагона, в кабине машиниста в шкафах и на крыше.
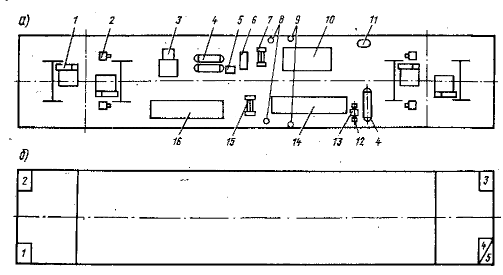
На раме под кузовом вагона подвешены ящик с аккумуляторной батареей 12 (рис. 15, а); блок резисторов 11 (1БС.016), ящик 16 (1Я-072.1) с контакторами высоковольтных вспомогательных цепей, электрокомпрессор 5; преобразователь 17; электровоздухораспределитель 14 и воздухораспределитель 15; воздушные резервуары — два главных 19 вместимостью по 170 л и три резервуара 6 вместимостью по 78 л, один уравнительный резервуар 2 на 20 л и один вспомогательный резервуар 13 на 12 л.
На рамах тележек установлены тормозные цилиндры 3. Под кузовом вагона также находятся фильтр 4 для очистки воздуха, засасываемого компрессором, два маслоотделителя 18, обогреватель 20 сливной трубы, два свистка /, два ти-фона 21, мусоросборник 9, розетки 7 деповского питания, вакуумные патрубки 10 и патрубки 8 водоснабжения, используемые при механизированной уборке вагона.
В шкафу 1 (рис. 15, б) размещены электропневматический клапан автостопа, кран двойной тяги, вентиль замещения электропневматического торможения пневматическим, два разобщительных крана, фильтр, электрический звонок,

Рис. 15. Расположение оборудования (а) и шкафов (б) головного вагона электропоезда ЭР2Р
штепсельные разъемы. На каркасах шкафа / и шкафа для одежды ШО около наружных дверей установлены блоки ДВ с выключателями дверей, кнопками звуковой сигнализации и лампами сигнализации закрытого положения дверей; рядом размещены пульты радиооповещения «ТОН».
На крыше вагона установлены антенна и резисторы прожектора, на торцовой стене вагона — розетки и штепселя междувагонных соединений.
В шкафу 2 размещен блок 1Б. 253 с аппаратами управления поездом, вентиляцией и электропневматическим торможением; в шкафу 3 — усилитель и устройство питания из комплекта аппаратуры «ТОН», приемопередатчик и блок питания из комплекта радиостанции, блоки питания, управления и регистрации из комплекта скоростемера ЗСЛ2М. В шкафу 4 находятся дешифратор и усилитель из комплекта аппаратов локомотивной сигнализации. В шкафу 5 установлен блок 1БА. 256 с аппаратами управления освещением, отоплением и вентиляцией, в шкафу 6 —■ блок 1БА. 255 с амперметром и вольтметром заряда батареи и регуляторами напряжения и частоты преобразователя.
В шкафу 7 установлены блок 1БА.254 с аппаратами управления и переключателем заряда батареи и трансформатор управления зарядом батареи и питания цепей напряжением 110 В. Рядом со шкафом / в канале Ж смонтирован электрокалорифер для обогрева кабины. Шкаф для одежды ШО расположен слева от двери кабины; он открывается со стороны тамбура. Над ним находится шкафчик для термосов и продуктов, двери его открываются вовнутрь кабины.
Моторный вагон. Все основное электрическое и пневматическое оборудование размещено под кузовом вагона: по два тяговых двигателя / (рис. 16, а) и два тормозных цилиндра 2 на каждой тележке, ящик 10 (1ЯК-013) с силовыми контакторами, ящик 14 (1Я.070) с контакторами отопления и реверсивно-тор-мозным переключателем, ящик 16 (ТЯ.071) с реостатным контроллером, главным разъединителем, автоматический быстродействующий выключатель 3, силовой индуктивный шунт 6 (ШІИ.001), блок 7 шунтирующих резисторов (1БС.022), блок 15 резисторов ослабления возбуждения (1БС.048), электровоздухораспределитель 12, воздухораспределитель 13, воздушные резервуары 4 вместимостью по 78 л и // на 12 л, а также мусоросборник 5. С левой и правой стороны расположены вакуумные патрубки 8 и патрубки 9 водоснабжения, используемые при механизированной уборке вагона.

Рис. 16. Расположение оборудования (а) и шкафов (б) моторного вагона электропоезда ЭР2Р

В шкафу / (рис. 16, б) расположены блок 1Б.250 с аппаратами управления вспомогательным компрессором, выключатели ПВУ-2 и ПВУ-4, вспомогательный компрессор, в шкафу 2— блок 1Б.249 с аппаратами управления торможением.
В шкафу 3 размещены блок 1Б.248 с электронными устройствами управления торможением, амперметры для измерения токов в режимах тяги и реостатного торможения, вольтметр для измерения напряжения тяговых двигателей, в шкафу 4 — амперметр для измерения тока тяговых двигателей в режимах тяги и рекуперативного торможения, счетчики, шунты и добавочные резисторы. В шкафу 5 установлена колонка ручного тормоза.
На крыше вагона смонтированы токоприемник, два разрядника РМВУ-3,3, конденсаторный и индуктивный фильтры от радиопомех и 16 блоков пускотор-мозных резисторов. Разрядники и фильтры установлены на общей раме, которая прикреплена к крыше на амортизаторах; для обеспечения безопасности в случае разрушения разрядников предусмотрены ограждения.
Провода для соединения токоприемников при их параллельной работе проложены в трубе вдоль крыши, перемычка междувагонного соединения прикреплена болтами к кронштейнам по концам крыши.
Ввод проводов высокого напряжения от пускотормозных резисторов осуществляется по желобу на чердак и далее в торцовый шкаф 1, а от токоприемника к главному разъединителю — по трубе, проложенной в боковой стене вагона.
Лестница для подъема на крышу находится на лобовой стене и имеет электрическую блокировку безопасности. На лобовой и торцовой стенах вагона установлены розетки и штепселя междувагонных соединений.
Прицепной вагон. Под кузовом вагона размещены аккумуляторная батарея 11 (рис. 17), преобразователь 16, электрокомпрессор 3, ящик 15 (1Я.072) с контакторами вспомогательных цепей высокого напряжения, блок 9 демпферных резисторов (1БС.016), электровоздухораспределитель 13, воздухораспределитель 14, по два тормозных цилиндра / на каждой тележке, два главных резервуара 18 по 170 л каждый, три резервуара 4 по 78 л, резервуар 12 на 12 л, два маслоотделителя 17, обогреватель сливной трубы 19 и мусоросборник 8, фильтр 2 и ящик для колодок 10.
С левой и правой стороны расположены розетки 5 деповского питания, а также вакуумные патрубки 7 и патрубки 6 водоснабжения.
В лобовых шкафах установлены колонка ручного тормоза, блок 1Б.251 с аппаратами управления освещением, отоплением и вентиляцией. В торцовых шкафах размещены блок 1БА.255с амперметром и вольтметром заряда батареи и регуляторами напряжения и частоты преобразователя, трансформатор управления зарядом батареи и питания цепей напряжением ПО В, а также блок 1БА.254 с переключателем заряда батареи и аппаратами управления преобразователем и поездом.
На лобовой и торцовой стенах вагона смонтированы дозеткд и штепселя междувагонных соединений.
Глава И
МЕХАНИЧЕСКАЯ ЧАСТЬ
|
|